目 录
编制依据
编制目点
本施工方案编制的目的是:为中豪世纪花园G座工程装修施工阶段提供较为完整的纲领性技术文件。
编制依据
1、中豪世纪花园G座工程天津市中天建筑设计院提供的图纸、图集及设计交底。
2、我公司ISO—9002程序文件、质量保证手册及CI形象手册的有关细则。
3、我公司ISO14001、OHSAS18001程序文件、体系管理文件有关要求。
4、天津市有关建设和环境、安全方面的法律、法规。
5、现行国家、行业及地方性标准
1)、工程建设国家标准
| 序 号 | 标 准 名 称 | 标准代号 |
| 1 | 屋面工程质量验收规范 | GB50207-2002 |
| 2 | 建筑地面工程施工及验收规范 | GB50209-2002 |
| 3 | 建筑装饰工程施工及验收规范 | GB50210-2001 |
| 4 | 建筑工程质量验收统一标准 | GB50300-2001 |
| 5 | 钢结构工程施工质量验收规范 | GB50205-2001 |
| 6 | 屋面工程技术规范 | GB50345-2004 |
| 7 | 建筑内部装修防火施工及验收规范 | GB50354-2005 |
| 8 | 建筑设计防火规范 | GBJ22-87 |
2)、建筑工程行业标准
| 序 号 | 标 准 名 称 | 标准代号 |
| 1 | 施工现场临时用电安全技术规范 | JGJ46-2005 |
| 2 | 建筑机械使用安全技术规程 | JGJ33-2001 |
| 3 | 地面辐射供暖技术规程 | JGJ142-2004 |
| 4 | 普通砼用砂质量标准及检验方法 | JGJ51-2002 |
| 5 | 玻璃幕墙工程技术规范 | JGJ102-2003 |
| 6 | 建筑砂浆基本性能试验方法 | JGJ70-90 |
| 7 | 塑料门窗安装及验收规程 | JGJ103-96 |
| 8 | 建筑装饰工程施工及验收规范 | JGJ73-91 |
| 9 | 建筑玻璃应用技术规程 | JGJ113-2003 |
| 10 | 金属石材幕墙工程技术规范 | JGJ33-2001 |
| 11 | 玻璃幕墙工程质量检验标准 | JGJ/T139-2001 |
| 12 | 外墙外保温工程技术规程 | JGJ144-2004 |
3)、天津市地方标准
| 序号 | 标 准 名 称 | 标准代号 |
| 1 | 天津市建筑工程施工质量验收资料技术规定 | 建科教〔2005〕403号 |
| 2 | 天津市城市住宅建设标准及管理规定 | DB29-22-2000 |
| 3 | 天津市住宅装饰装修工程技术规程 | DBJ01-51-2000 |
| 4 | 低温热水地板辐射供暖技术规程 | DB29-55-2003 |
| 5 | 天津市建设工程文件归档整理规程 | DB29-/T-86-2004 |
| 6 | 天津市建设工程施工现场安全管理规程 | DB29-113-2004 |
| 7 | 居住建筑节能工程施工技术规程 | DB29-125-2005 |
| 8 | 居住建筑节能工程施工质量验收规程 | DB29-126-2005 |
| 9 | 建筑内外墙涂料应用技术规程 | DB29-132-2005 |
| 10 | 建筑用界面处理剂技术规程 | DB29-133-2005 |
| 11 | 钢结构防火涂料工程施工验收规程 | DB29-134-2005 |
一、工程概况
中豪世纪花园G座工程位于天津市河西区围提道与隆昌路交叉口。建设方为天津信裙房地产开发有限公司,监理方为天津华泰建设监理有限公司,由中天建筑设计院设计。
本工程地下一层,地上十八层,工程总建筑面积为36450m2,室内外高差为0.90米。本工程一~三层是商业用房,四五层为管理用房,五~十八层为经济适用房,只做初装修。主要工程做法如下:
1、墙面保温:外墙全部采用80厚聚苯板,密度为18~22kg/m3,标准层六层(包括六层)以上公共部位墙体采用30厚胶粉聚苯颗粒保温灰膏。
2、楼地面工程:本楼地面采用三种楼地面。地下室地面采用50厚C20细石砼地面,六~十八层公共部位楼面采用花岗岩楼面,经济房内地面采用地板辐射供暖地面,楼梯采用水泥砂浆地面。
3、墙面:采用1:3水泥砂浆抹灰,表面刮白色腻子。地下室墙面表面为白色涂料。
4、顶棚:六~十八层公共部分采用吊顶,吊顶高度为2.2米,其它顶棚采用白色腻子,地下室顶 棚为50厚挤塑保温板,外抹抗裂砂浆,表面为涂料面层。
5、卫生间地面均做防水层。
6、屋面:上人屋面为石材面层,不上人屋面为细石砼面层。
7、外墙:采用涂料面层、花岗岩面层、玻璃幕墙面层、铝板面层。
二、工程管理目标
我们将充分利用我公司生产经营、技术管理、计算机应用等各种优势,使工程在管理、质量、安全、文明施工及工作作风上均创出一流水平。根据我公司对业主的承诺和公司的施工水平以及项目的自身管理素质,确定本工程管理目标如下:
2.1、质量目标
1、达到国家验评标准;
2、争创“海河杯”,以“用户满意”为最终目标;
2.2、安全目标
1、确保达到“文明安全工地”标准;
2、无重大人身、设备安全事故,工伤事故率挖控制在0.4‰以内。
2.3、工期目标
根据总进度计划的要求,严格在计划的工期范围内完成装修工程的施工,并通过合理地组织施工,科学地进行工艺搭接安排,力争提前。
三、项目管理网络
在管理人员的选用上,我们将调动精兵强将,选用一批技术强、业务精又有很强的管理组织协调能力和具有奉献精神的中青年骨干,形成一个富有生机活力的集体,对这一集体我们将实行以人为本战略,实施动态管理,明确岗位职责,落实奖罚制度。
现场操作人员全部选用有同类工程施工经验的本公司在册职工及专业班组进驻现场,确保现场操作质量。并通过对广大职工的各种培训教育,提高职工的质量意识和安全生产的积极性。
项目经理部在项目经理的直接领导下,充分发挥项目部的整体优势,高效地组装和优化各劳动力生产要素,为此建立如下的项目管理网络
四、施工进度计划与工期保证措施
4.1、工程进度计划
我公司将充分发挥在施工中加快速度、压缩工期的经验,争时间、抢速度,在确保工程安全和质量的前提下,尽量缩短施工工期,重点突出装修阶段“抢”工期的概念。施工进度于2005年5月15日开始,至2006提11月15日完成,施工进度计划见附表。
4.2、进度保证措施
4.2.1、采用大型、先进的施工机械设备
根据工程工期、工作量、平面尺寸和施工需要,现场投入1台双笼人货两用外跨电梯,以满足人员和材料垂直运输。
4.2.2、资源保证措施
安排充足的劳动力资源,结合文明施工的要求,及时清理施工层现场,做到工完料清,材料堆放有序,减少因场地矛盾引起的停工、窝工。加强生活和后勤管理,尽可能改善职工生活,以稳定队伍。
最大限度的提高机械化施工程度,以精良的装备保证工期目标的顺利完成。抹灰用脚手架采用固定式脚手架,提高工效。抓紧、抓好机械设备的保养维护,避免发生缺料停机造成的停工、窝工。
4.2.3、专业化施工管理保证
为了能把本工程做得让业主完全满意,我公司准备派有丰富的同类工程施工经验,管理能力强,有创北京“长城杯”经验,并由数次创过省市级优质工程的国家二级项目经理葛德忠担任此工程的项目经理,而且在公司内调集一批技术力量好、责任心强、干劲足、能和项目经理配合好的优秀中青年管理人员进行施工管理,为工程项目最终实现工期、质量目标提供专业化施工管理保证。
4.2.4、优秀的劳务施工队伍
信誉良好、素质高的施工队伍是保证工程按期完成的基本条件之一,我公司一直以自身队伍直接参与施工而名闻全国上下,在本工程上我公司将由项目经理在公司内部组织有同类工程施工经验的专业作业班组进行施工,确保工程按计划进行。
4.2.5、加强各部门协调
施工期间,专门成立协调部,负责和业主联络,协调各施工工种、各施工班组之间的工作,了解业主和设计意图,力争为工程施工创造条件。
根据建筑工程的施工的特点,现场的布置和现场秩序是施工顺利进行和保证工期的重要保证之一。所以我公司在装修阶段加强现场平面布置图管理,根据装修阶段的特点和需求设计现场平面布置图。
4.2.6、定期召开生产例会
定期召开由各分包方参加的生产碰头会、生产例会,及时解决工程施工中出现的问题,为下步生产工作提前作好准备。检查落实当天计划、完成情况、未完成计划原因,协调各生产要素,及时解决各种生产障碍。针对现场存在的问题,提出有预见性的措施,提前排除,以保证工程顺利进行。
4.2.7、引进竞争机制
引进竞争机制,选用高素质施工班组的同时,采取经济奖罚手段,加大内部班组承包管理力度,确保工程的进度和质量要求。
4.2.8、成立QC小组
为了不断改进施工工艺,提高工程质量,解决施工中出现的技术难点和质量问题,所以我公司针对本工程成立QC小组,选取环保的课题开展活动,避免因质量问题而影响施工进度。
五、施工现场平面布置
六、机械设备、劳动力配备、周转材料配备计划
所需施工机械和劳动力配备详见表1和表2。
表1、主要施工机械和设备
| 序号 | 设备名称 | 单位 | 数量 |
| 1 | 施工电梯 | 台 | 1 |
| 2 | 搅拌机 | 台 | 3 |
| 3 | 砂浆机 | 台 | 2 |
| 4 | 污水泵 | 台 | 2 |
| 5 | 清水泵 | 台 | 2 |
| 6 | 交流电焊机 | 台 | 6 |
| 7 | 经纬仪 | 台 | 1 |
| 8 | 水准仪 | 台 | 2 |
| 序号 | 工种 | 班组 | 人数 |
| 1 | 瓦工班 | 1 | 100 |
| 2 | 油漆班 | 1 | 60 |
| 3 | 幕墙班 | 3 | 80 |
| 4 | 防水班 | 1 | 30 |
| 5 | 门窗班 | 1 | 40 |
| 6 | 安装班组 | 3 | 100 |
| 7 | 机修后勤班 | 1 | 5 |
表2、劳动力配备
七、施工段划分
为加快进度,同时提高周转材料的周转率,施工段的划分如下:
主体工程分两次进行验收,相应装修工程分两段进行施工:
1、地下一层~四层为第一流水施工段。
2、五~十八层为第二流水施工段。
八、主要施工方法
8.1、工艺流程
1、外装修:放线、→立外门窗口→保温层施工→外墙涂料施工→窗扇安装→玻璃安装。
2、内装修:墙面抹灰→各专业设备安装管线→卫生间地面防水→面层、地面施工→墙面耐水腻子→门窗扇安装→灯具安装→专业设备系统调试→清扫。
8.2、外墙外保温施工
1、作业条件
1.结构工程全部完成,并经有关部门验收,达到合格标准。
2.基层找平层无鼓、基层平整度和垂直度偏差均在规范允许范围内。
3.预埋铁件、管道等应提前安装好,结构施工时墙体上的预留洞提前堵塞严密。
4.外保温大面积施工前先做样板间,经甲方、监理单位鉴定合格后,方可进行大面积施工。
2、工艺流程
裁保温板 → 打点、放线 → 配粘结砂浆 → 粘翻包网→粘贴保温板 → 粘贴装饰线脚 → 安装锚固件 → 打磨 → 分隔槽施工 → 配罩面砂浆 → 压埋玻纤网 →修理、验收。
3、施工要点
1.裁保温板
施工前仔细检查保温板的尺寸,对误差较大的保温板用裁板机修整。施工过程中根据现场需要随时裁出相应尺寸的保温板。
2.打点放线
在外墙面的阴阳角、窗口等部位用钢丝吊线坠,在保证保温板的平均厚度为设计要求的前提下,按2~5米的间隔粘贴保温板块,作为施工过程中的控制点。注意阴阳角要方正,窗侧要对直。根据建筑立面设计和排砖图,在外墙面弹出外门窗水平、垂直控制线、面砖与外墙涂料分格线等。
3.配聚合物粘结砂浆
采用专人负责、机械搅拌的方式进行。使用一只干净的容器,先放入少量清水,陆续加入聚合物粘结砂浆粉料,同时陆续加水,边加边搅拌,直到搅拌均匀。水与聚合物粘结砂浆粉料的重量比为1:4。然后将配好的粘结剂静置10分钟后再搅拌一次即可使用。配置好的砂浆要在2h内用完。
4.粘翻包网
在保温板的端头,如女儿墙顶、勒脚、洞边、门窗框边、空调板上下等部位,用粘结砂浆预先粘贴翻包网。粘贴宽度不小于60mm,网的宽度为60+保温板厚度+100mm。
5.粘贴保温板
1)点框法
用抹子在每块保温板(标准板尺寸为600mm×1200mm)一侧面周边涂上宽约6.0厘米,厚8~10mm的粘结剂,上部预留5cm宽的通气口,然后在保温板同一侧中部均匀刮上8块直径约12厘米、厚8~10mm的粘结点,此粘结点要布置均匀。在保温板受压粘贴到墙上后,保证每块保温板与墙面的粘结面积比不小于40%。
2)涂好后即将保温板贴在墙面上,沿水平方向按板长向铺贴,上下两层板沿水平方向错开板缝,要随时注意清除板边溢出的粘结剂,使板与板之间无“碰头灰”。
3)保温板贴在墙上时,用2米靠尺进行轻敲压平操作,保证其平整度和粘贴牢固。不得用拳头砸板,防止保温板表面出坑。板与板之间要挤紧,若因保温板面不方正或裁切不直形成超过2mm宽的缝隙,应用保温板条塞入并打磨平,拼缝高差不得大于1.5mm。
4)在墙拐角处,应先排好尺寸,裁切保温板,使其粘贴时垂直交错,保证拐角处垂直,阴阳角处保温板竖向拼缝水平方向最小尺寸为20厘米。门窗洞口处的保温板不得拼接,要用整块保温板切割成形,板缝离开角部至少200mm。
6.粘贴装饰线脚
1)用裁板器加工好装饰线条。
2)在图纸相应部位弹出线条控制线。
3)在线条背面刮涂粘结砂浆,面积不小于50%,然后粘贴。
7.安装锚固件
1)保温板粘贴完毕24h后,用电锤在混凝土墙上钻出5厘米深的孔洞,然后将锚固件放进去,用锤子将锚固件的胀杆敲击入位。锚固件的入墙深度不小于30mm,钉头和圆盘不得超出板面。
2)锚固件数量:标高在20米以下的部位2个/m2锚固件。锚固件一般钉在丁字缝处。
8.打磨
保温板贴完至少24小时,粘结剂达到一定粘结强度时,用砂纸对保温板表面不平处进行打磨,同时用靠尺检验板面的平整度、垂直度。打磨动作最好是轻柔的圆周运动。打磨后应将打磨操作产生的碎屑清理干净。
9.分隔缝施工
考虑到整个外保温体系为一个柔性体系,保温板在温度的变化下会产生一定的变形,所以为了最大程度的减少这些变形,可以采用分隔缝来释放保温板应力。分隔缝一般每层设置一道,具体位置由设计及建设单位确定。
10.配罩面砂浆
水与聚合物罩面砂浆粉料的重量比为1 : 4,搅拌方法同粘结剂。
11.压埋玻纤网
1)先在贴好的保温板上刮一层配好的罩面砂浆,厚度约2mm,同时将翻包网格布压入,然后将玻纤网绷紧后贴于底层罩面砂浆上,用抹子由中间向四周把网格布压入底层罩面砂浆的表面,玻纤网弯曲的一面朝里,使玻纤网自然展平。单张玻纤网长度不宜大于6m,遇到搭接处,其搭接长度横向100mm,纵向80mm。
2)第一层罩面砂浆基本凝结后抹第二遍罩面砂浆罩面,厚度为1-2mm,仅以覆盖网格布,微见玻纤网轮廓为宜。整个罩面砂浆总厚度为3mm左右。
3)抹完后对局部不平处进行打磨、修整。
4)窗口部位要附加一层玻纤网,防止角部因应力集中而开裂。
5)阳角部位附加400mm长网格布,每边200mm。
6)阴角部位附加200mm长网格布,每边100mm。
4、成品保护
1)土建、水电各工种应密切配合,合理安排工序,严禁颠倒工序作业。
2)在保温墙附近不得进行电焊、气焊操作,不得用重物碰撞、挤靠墙面。
5、质量要求
聚苯板安装允许偏差
| 序号 | 项目 | 允许偏差mm | 检查方法 |
| 1 | 立面垂直 | 4 | 2米托线板检查 |
| 2 | 表面平整 | 4 | 2米靠尺、楔形塞尺检查 |
| 3 | 阴阳角垂直 | 4 | 2米托线板检查 |
| 4 | 阴阳角方正 | 4 | 2米靠尺和楔形塞尺检查 |
| 5 | 接缝高差 | 3 | 拉线检查 |
外墙保温墙面层允许偏差
| 序号 | 项目 | 允许偏差mm | 检查方法 |
| 1 | 立面垂直 | 4 | 2米托线板检查 |
| 2 | 表面平整 | 4 | 2米靠尺、楔形塞尺检查 |
| 3 | 阴阳角垂直、方正 | 4 | 2米托线板检查 |
| 4 | 分格缝直线度 | 3 | 拉线检查 |
8.3、抹灰工程
1、作业条件
1.结构工程全部完成,并经有关部门验收,达到合格标准。
2.抹灰前应检查门窗框的位置是否正确,与墙体的连接是否牢固。
3.预埋铁件、管道等应提前安装好,结构施工时墙体上的预留洞提前堵塞严密,将柱、墙、过梁等凸出墙面的砼剔平后,用1:1水泥砂浆分层补平。
4.砌块表面缺棱掉角需分层修补。做法是:先洒水湿润基体表面,刷掺水重10%的791胶水泥浆一道,紧抹1:1水泥砂浆,每层厚度应控制在7~9mm。
5.抹灰前,大面积施工前先做样板间,经甲方、监理单位鉴定合格后,方可进行大面积的抹灰。
2、工艺流程
门窗框四周堵缝→墙面清理→浇水润湿墙面→吊垂直、做灰饼→基层处理 →抹底层砂浆→弹线分格→抹罩面灰→养护。
3、施工要点
1.室外大面积施工前先做样板,经项目部、监理公司、天津信裕房地产发展有限公司项目部鉴定合格后再进行大面积施工。
2.按照基层表面平整垂直情况找规矩,经检查后确定抹灰厚度,剔除误差较大砖墙面,原则上抹灰的厚度不得大于20 mm。
3.灰饼用1:2水泥砂浆抹成50 mm见方形状,灰饼制作好后必须经过质检人员的验收合格后才能进行下道工序的进行。灰饼的制作要求在墙大角处挂线锤,如主体结构偏位较大时,全高的灰饼的垂直度在施工员的同意后允许有适当的偏差,但不得超过15mm。墙中部的灰饼按墙大角的灰饼拉通线进行制作。
4.抹灰时,要分层操作,但最少不能少于二层,在底层砂浆隔天浇水湿润后,抹面层砂浆。
5.墙体抹灰砂浆采用1:2.5的水泥砂浆,外墙抹灰完成后必须浇水养护七天,每天养护的次数确保墙面湿润。
6.砼砌块表面缺棱角需分层修补。做法是:先湿润基体表面,刷掺水重10%的791胶水泥浆一道,紧跟抹1:3水泥砂浆,每层厚度应控制在7~9 mm。
7.在抹面层砂浆以前,应先检查底层砂浆有无空、裂现象,如有空裂,应先用切割机割槽、剔凿返修后再抹面层灰。
8.在檐口、窗楣、雨篷、阳台压顶、阳台板和突出墙面等部位,上面应做流水坡度,坡度坡向地漏一侧,坡度为0.5%,下面应做有高低的滴水线,滴水线保证其坡向正确。
9.当墙面的抹灰厚度超过35 mm时,每隔20 mm厚铺设一道钢板网。
10.空调洞必须抹成圆形。
11.严禁使用过夜的砂浆,作业面内的落地灰必须及时清理重新利用。
4、成品保护
1.推小车或搬运东西时,要注意不要碰坏口角和墙面。抹灰用的大杠和铁锹把不要靠放在墙上,严禁蹬踩窗台板,防止损坏其棱角。
2.要保护好墙上的预留孔洞等,不要随意抹死。
3.翻拆架子时要小心,防止损坏已抹好的水泥墙面,并采取保护措施,防止因工序穿插造成污染和损坏,特别对边角处钉木板保护。
4.抹灰层凝结硬化前,防止快干、水冲、碰撞、振动和挤压,以保证灰层有足够的强度。
5.禁止在地面上拌灰和直接在地面上堆放砂浆等。
5、注意事项
1.认真清理基层和提前浇水,使水深度入墙达到8~10mm为符合要求。
2.严格控制每层抹灰厚度,每层厚度为7mm左右。
3.抹完罩面灰后,压光工作跟得太紧,灰浆没有收水,会引起泡现象。
4.严格控制底灰的干燥度,以免抹罩面后,水分很快被底灰吸走。
5.严格控制窗洞口、抹灰面接槎工作。
6.同一层的窗台标高不一致、同一层的细部作业、同一墙面,为保证外饰面抹灰线条的横平竖直需拉通线找规矩。
7.要注意窗台上表面抹灰应伸入框内10mm,并勾成小圆角,上口找好流水坡度。
6、质量要求
1.各抹灰层及抹灰层与基层之间必须粘结牢固,无脱层、空鼓、面层无爆灰和裂纹等现象。
2.抹灰前基层表面的尘、污垢、油渍等清除干净,并应洒水润湿。
3.抹灰工程分层进行;抹灰总厚度大于或等于35mm时,采用加设钢丝网片的加强措施;不同材料基体交接处加设钢丝网片的防止开裂的措施。
4.表面光滑、洁净、颜色均匀,无抹纹,线角和线条平直方正,清晰美观。
5.护角、孔洞、槽、盒周围的抹灰表面应整齐、光滑;管道后面的抹灰表面应平整。
6.有排水要求的部位应做滴水线,滴水线应整齐顺直,滴水线内高外低,滴水槽的宽度和深度均不应小于10 mm。
8.4、腻子工程
1、作业条件
1.墙面基本干燥,基层含水率不得大于10%。
2.地面已施工完,管道设备安装完,试水试压已进行完。
3.大面积施工前事先做好样板间,经有关质量部门检查鉴定合格后,方可组织班组进行大面积施工。
2、工艺流程
清理→弹线→找平找方→刮第→遍腻子→刮第二遍腻子→蓝色涂料踢脚
3、施工要点
1.清理:墙、顶上的灰尘、浮浆等清理干净,有油污的地方用火碱清除。
2.弹线:依据50线在顶板角部弹出顶板的水平线(即角线)及板上、墙上100mm的水平线。在阳角弹出双角线,阴角弹3道线,踢脚上皮线。
3.找平找方:先用耐水腻子对阴阳找方,然后对墙、顶板初步找平,角部要上方尺,墙顶上靠尺。
4.刮第一遍腻子:先角部后大面,刮的方向要一致,厚度为1-1.5mm,不要有明显的刮痕。
5.刮第二遍腻子:第二遍同第一遍。不能有明显刮痕,颜色应一致,角部线条顺直。
6.在墙面拐角处及与顶板交接处应加铺一层网格布。
7.水泥踢脚
1)材料:水泥+ 791胶20%+适量水
2)刮水泥踢脚前,先弹出踢脚上皮线并沿线上皮贴胶带纸,在地面上距墙10mm处弹出与墙平行线,沿线的外皮贴胶带纸,然后刮水泥踢脚。
4、成品保护
1.施工前首先清理好周围环境,防止尘土飞扬,影响质量。
3.施工前前,不得污染地面、踢脚线、阳台、窗台、门窗及玻璃已完成的分部分项工程。
4.未干前,不得打扫地面,严防灰尘等沾污墙面。
5.墙面完工后要妥善保护,不得磕碰污染墙面。
6.最后一遍完成后,室内空气要流通,预防腻子干燥后表面无光或光泽不足。
5、注意事项
1.腻子应坚实牢固,不得有粉化、起皮和裂纹。
2.透底:产生的主要原因是腻子过薄和漏刷,所以要保持腻子的稠度,不可加水过多。
3.接槎明显:涂刷时要上下顺刷,后一道工序接着前一道工序,若间隔时间稍长,就容易看出接头。
腻子面层允许偏差
| 序号 | 项目 | 允许偏差mm | 检查方法 |
| 1 | 立面垂直 | 3 | 2米托线板检查 |
| 2 | 表面平整 | 3 | 2米靠尺、楔形塞尺检查 |
| 3 | 阴阳角垂直、方正 | 3 | 2米托线板检查 |
8.5、防水工程
屋面和卫生间是容易漏水的重要部位,一旦漏水,漏点难找,不易修。所以在防水施工过程中严禁其他工种同时施工。
- 作业条件
1.地面、楼面及屋面的所有立管、套管已做完,并已固定牢固,经过验收。管周围缝隙用细石混凝土填塞密实。
2.找平层已做完,标高符合要求,表面应抹平压光、坚实、平整,无空鼓、裂缝、起砂等缺陷,含水率不大于9%。
3.找平层的泛水坡度应在2%以上,不得局部积水,与墙交接处及转角处、管根部位,均要抹成半径为10mm的均匀一致、平整光滑的小圆角,要用专用抹子抹。凡是靠墙的管根处均要抹出5%坡度,避免此处积水。
4.防水层的基层表面,应将尘土、杂物清扫干净,表面残留灰浆硬块及高出部分应刮平,扫净。对管根周围不宜清扫的部位,应用毛刷将灰尘等清除。
5.基层做防水涂料之前,在突出地面和墙面的管根、地漏、排水口、阴阳角等易发生渗漏的部位,应做附加层等增补处理。
6.墙面按设计要求及施工规定(四周至少上卷300mm)做防水的部位,墙面基层抹灰要压光,要求平整、无空鼓、裂缝、起砂等缺陷。管根做成半径为l0mm的圆弧。
7.根据墙上的50cm标高线,弹出墙面防水高度线,标出立管与标准地面的交界线。
8.厨厕间做防水之前必须设置足够的照明设备(安全低压灯等)和通风设备。
9.防水材料的储存、保管和使用要远离火源,施工现场要备有足够的灭火器材,施工人员要着工作服,软底鞋,并设专业工长监管。
10.环境温度保持在+5度以上。
11.操作人员应经过专业培训,持证上岗,先做样板间,经检查,验收合格后,方可全面施工。
- 工艺流程
基层检查清扫、修整→涂刷冷底子油→ 特殊部位处理→SBS防水卷材→底板砖胎模砌筑 →防水找平层→基层胶粘剂涂刷→ SBS防水卷材→防水保护层→防水卷材收头、压边处理 →试验、验收→细石砼钢筋网片保护层
3、施工要点
1.找平层应严格按照施工规范进行施工,必须抹平、压光,做到无起砂、起皮、起鼓、裂缝现象,找平层与立面连接处均做直角,通风道、管道根无须抹圆弧。经检查合格后,方可进行防水施工。
2.基层处理剂施工:基层采用涂刷基层处理剂(氯丁橡胶沥青胶粘剂),涂刷时要均匀一致,不露底,基层处理剂涂刷完毕,必须经过8小时以上达到干燥程度后方可进行实行热熔施工,以避免失火。
3.基层处理剂干燥后,对特殊部位做附加层防水施工。如阴阳角、地漏、管根部等处防水施工。附加层必须采用满粘法施工。
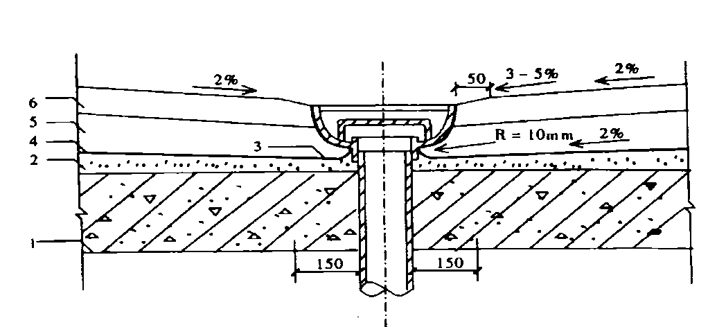
三面角卷材粘贴详图

1-楼板 2-找平层(管根与墙角做半径R=10mm圆弧) 3-防水附加层(宽150mm,管板处与标准地面平) 4-防水层 5-防水保护层 6-地面面层
地漏处细部做法

1-楼板 2-找平层(管根与墙角做半径R=10圆弧,凡靠墙的管根处均抹出5%坡度) 3-防水附加(宽150mm,墙角高100mm,管根处与标准地面平) 4-防水层 5-防水保护层 6-地面面层
管根部细部做法
4.底层SBS卷材与面层SBS卷材之间均为全粘贴热熔法进行施工。热熔法是用喷灯烘烤卷材底面与基层,喷灯嘴距离卷材面300mm左右,当烘烤到卷材表面呈现熔融状态,即可将卷材与基层粘结并压实铺牢。
5.卷材粘贴前先在底板,按照所选卷材的宽度留出搭接尺寸,将铺贴的卷材基准线弹好,避免铺贴时产生卷材褶皱,然后将卷材试铺裁剪度量好尺寸后从两头往中间对卷起。
6.在卷材冷却前,用铁抹子或铲刀将接缝边封好,再用喷灯均匀细致地密封。
7.两幅卷材长边和短边搭结缝宽为100mm,接缝处用满粘粘贴牢固、严密、不允许缝边空鼓,翘边滑移。
8.上下两层卷材长度搭接缝错开1/3幅度,且不得互相垂直铺贴。
9.防水卷材如需接长时,用交叉接法接缝,上层卷材盖过下层150mm。
10.附加层铺贴其搭接宽度不应小于500mm。
11.在立面和平面的转角处,卷材的接缝留在平面上,距立面的距离为600mm,卷材接茬的搭接长度为150mm。
4、成品保护
1.防水层操作过程中,操作人员要穿平底鞋作业,穿过地面及墙面等处的管件和套管、地漏、固定卡子等,不得碰损、变位。不得污染其它部位的墙地面,门窗、电气线盒、暖卫管道、卫生器具等。
2.防水层每层做完后,要严格加以保护,在厨卫间门口要设醒目的禁人标志,在保护层做完之前,任何人不得进入,也不得在上面堆放杂物,以免损坏防水层。
3.地漏或排水口在做防水之前,应采取保护措施,以防杂物进入;确保排水畅通,蓄水合格后,要将地漏内清理干净。
4.做防水保护层时,不得在防水层上拌砂浆,铺砂浆时铁锹不得碰防水层,要精心细做,不得损坏防水层。
5、注意事项
1.防水层空鼓、有气泡:主要是基层清理不干净,底胶涂刷不匀或者找平层潮湿,含水率高于9%。
2.地面面层做完后,进行蓄水试验,有渗漏现象:主要原因是穿过地面和墙面的管件、地漏等松动,烟风道下沉,撕裂防水层;其它部位由于管根松动或粘结不牢、接触面清理不干净产生空隙,接槎、封口处搭接长度不够,粘贴不紧密;做防水保护层时可能损坏防水层;第一次蓄水试验蓄水深度不够。进行第一次蓄水试验,蓄水深度必须高于标准地面20mm,24h不渗漏为止,如有渗漏现象,可根据渗漏具体部位进行修补,甚至于全部返工。地面面层做完之后,再进行第二遍蓄水试验,24h无渗漏为最终合格,填写蓄水检查记录。
5、质量要求
1.防水材料符合没计要求和现行有关标准的规定。
2.排水坡度、预埋管道、设备、固定螺栓的密封符合设计要求。
3.地漏顶应为地面最低处,易于排水,系统畅通。
4.排水坡、地漏排水设备周边节点应密封严密,无渗漏现象。
5.密封材料应使用柔性材料,嵌填密实,粘结牢固。
8.6、涂料工程
1、施工条件
墙面的含水率不得大于8%;门窗安装完毕并已施涂一遍底子油,施工时温度在5度以上,基层的缺棱掉角外,已用1:1水泥砂浆修补。
2、弹涂时,弹涂器的机口应垂直、对正墙面,距离保持300~500mm,按一定的速度自上而下、由左向右弹涂。
3、表面颜色一致,花纹、色点大小均匀,不显接槎,无漏涂、透底和流坠。
4、施工前对不进行弹涂的门窗及墙面遮挡保护,以防玷污。
5、 第一遍干燥后,用腻子把墙面上的麻点、坑洼处找平、刮净,腻子干燥后,再涂刷第二遍。
6、涂料施工完后,不准从内向外清倒垃圾,严防污染涂料其它面层。
7、涂料的腻子施工详见8.4腻子工程。
8.7、细石混凝土地面
1、作业条件
1.室内门框、预埋件、各种管道及地漏等已安装完毕。
2.各种立客和套客通过面层孔洞已用细石砼灌好修严。
3.墙面抹灰施工完毕,已弹出或设置控制面层标高和排水坡度的水平线或标志,分格缝已按要求设置。
4.地面或楼面的保温板已按要求施工完毕。
2、工艺流程
冲筋做灰饼→砼浇拌 →铺砼 →撒水泥砂子干面灰 → 第一次压光→第二次压光 →扫毛 → 养护→施工缝处理。
3、施工要点
1.房间四周根据标高线做出灰饼,有地漏时,要在地漏四周做出0.5%的泛水坡度;灰饼均用细石砼制作,随后铺设细石砼。
2.施工配全比应根据试验室结合现场材料情况试配,计量投料;机械搅拌时间不小于1分钟,要求拌合均匀,严格控制坍落度,砼随拌随用。
3.铺砼时随铺随用木杆刮平拍实,用铁滚筒纵横交错回滚3~5遍,直至表面出浆为止,然后用木抹搓平。
4.木抹搓平后,在细石砼面层上均匀地撒1:1干水泥砂浆,待灰面吸水后再用长铝合金尺刮平,用木抹子搓平。
5.当面层开始凝结,地面上有脚印但不下陷时,用铁抹子进行第二次抹压。
6.当面层上人稍有脚印,应用钢皮抹子进行第二次抹压,再用塑料帚进行扫毛。
7.扫毛完成后12小时内进行浇水养护,浇水次数应能保证砼处于湿润状态,时间不得少于7天。
8.细石砼面层铺设不得留置施工缝。当施工间歇超过允许时间规定,在继续浇筑砼时,应对已凝结的砼接搓处进行处理,刷一层素水泥浆,其水灰比为0.4~0.5,再浇筑砼,并应捣实压平,不显接头搓。
4、成品保护
1.地面上铺设的电线管,暖、卫立管应有保护措施。地漏、出水口等部位要安装临时堵头保护,以防进入杂物造成堵塞。
2.砼面层抗压强度未达到5MPa前不得在其上行人;抗压强度达到设计要求后,方可正常施工。
3.运输材料用手推车不得碰撞门框、墙面抹灰和已完工的楼地面面层。
1.面层施工时不得使用标号不够或过期水泥;配制砼应严格控制水灰比,坍落度不得过大,铺抹进不得漏压或欠压,养护认真和及时,以免造成地面起砂。
2.施工中应注意使用的砂子不能过细,基层必须清理干净,认真洒水湿润;刷水泥砂层必须均匀;铺灰间隔时间不能过长,抹压必须密实,不得漏压,并掌握好时间,养护应及时等。
3.卫生间等有地漏的房间要在做好找坡工作,避免地面积水或倒水。
4.为防止细石砼开裂,在房间四周镶贴10*60挤塑板,密度不得小于20mm。
5. 为防止细石砼开裂,在房间过道与门口处镶贴10*60挤塑板,密度不得小于20mm,保证每块砼地面的建筑面积不得大于20平方米。
6、质量要求
1.面层的强度等级应符合设计要求。
2.面层表面不应有裂纹、脱皮、麻面、起砂等缺陷。
3.面层表面的坡度应符合设计要求,不得有倒泛水和积水现象。
4.楼梯踏步的宽度、高度应符合设计要求。楼层梯段相邻踏步高度差不应大于10mm,每踏步两端宽度差不应大于10mm;楼梯踏步护角埋设牢固,整齐,防滑条应顺直。
5. 腻子面层允许偏差
| 序号 | 项目 | 允许偏差mm | 检查方法 |
| 1 | 缝格平直 | 3 | 拉5米线和用钢尺检查 |
| 2 | 表面平整 | 4 | 2米靠尺、楔形塞尺检查 |
8.8、花岗岩地面
1、作业条件
1.屋顶防水层、室内门框、预埋件、各种管道及地漏等已安装完毕。
2.各种立客和套客通过面层孔洞已用细石砼灌好修严。
3.墙面抹灰施工完毕,已弹出或设置控制面层标高和排水坡度的水平线或标志,分格缝已按要求设置。
4.工程材料已备齐运到现场,检查材质符合要求。
5.铺设前对花岗石的规格、颜色、品种、数理进行清理、检查、核对和挑选。同一房间、开间按配花、颜色、品种挑选尺寸基本一致、色泽均匀、花纹通顺的,成对立放在垫木上。
2、工艺流程
1.清理基层→找标高、弹线 →试拼、试排 →铺水泥砂浆 → 铺花岗岩→灌缝、擦缝→扫毛 → 养护→贴踢脚手板→养护。
3、施工要点
1.将地面垫层上的积灰、油污、浮浆等清理干净。
2.先弹好标高控制线,弹水平线时要注意室内与楼道面层标高要一致。然后在垫层上弹互相垂直的控制十字线,并引至墙面底部,作为检查和控制花岗岩位置的准绳。
3.在正式铺设前,对每一房间的花岗石板块进行试拼,在房间内的两个相互垂直的方向铺两条干砂,其宽度大于板块宽度,厚度不大于3cm。结合施工大样图及房间实际尺寸,把花岗岩板块排好,以便检查板块之间的缝隙,核对板块与墙面、柱、洞口等部位的相对位置。
4.刷水泥素浆及铺砂浆结合层:试铺后将干砂和板块移开,清扫干净,用喷壶洒水湿润,刷一层素水泥浆(水灰比为0.4-0.5,不要刷的面积过大,随铺砂浆随刷)。根据板面水平线确定结合层砂浆厚度,拉十字控制线,开始铺结合层干硬性水泥砂浆(一般宜采用1:2—1:3的干硬性水泥砂浆,干硬程序以手捏成团,落地即散为宜),厚度控制在放上花岗岩板块时宜高出面层水平线2-3mm。铺好后用直尺刮平,再用抹子拍实找平(铺摊面积不得过大)。
5.铺砌板块:在铺砌前应先用水将板块浸湿,待擦干或晾干后方可铺设。依据试拼时的编号及试排时的缝隙(缝隙宽度不大于1mm),在十字控制线交点开始铺彻。先试铺,即搬起板块对好纵横控制线铺落在已铺好的干硬性砂浆结合层上,用橡皮锤敲击木垫块(不得用橡皮锤或木锤直接敲击板块),振实砂浆至铺设高度后,将板块掀起到一旁,检查砂浆表面与板块之间是否相吻合,如发现有空虚之处,应用砂浆填补,然后正式镶铺。先在水泥砂浆结合层上满浇一层素水泥(用浆壶浇均匀),再铺板块,安放时四角同时往下落,用橡皮锤或木锤轻击木垫板,根据水平线用铁水平尺找平,铺完第一块,向两侧和前后方向铺砌。铺完纵、横行之后有了标准,可分段分区依次铺砌,房间采用先里后外进行,逐步退至门口,便于成品保护。
6.灌缝、擦缝:在板块铺砌后1-2昼夜进行灌浆擦缝,根据花岗岩的颜色,选择相同颜色矿物颜料和水泥(或白水泥)拌合均匀,调成1:1稀水泥浆,用浆壶徐徐灌入板块之间的缝隙中,并用长刮板把流出的水泥砂浆刮向缝隙内,至基本灌满为止。灌浆1-2小时后,用棉砂团醮原稀水泥浆擦缝与板面擦平,同时将板面上的水泥浆擦净,使花岗岩面层的表面洁净、平整、坚实,以上工序完成后,面层加以覆盖。养护时间不小于7天。
7.踢脚板粘贴:根据墙面+50cm标高线,测出踢脚板上口水平线,弹出墙上,再用线附吊线确定出踢脚板的出墙厚度,然后用1:3水泥砂浆打底找平。待找平层砂浆干硬后,拉踢脚板上口的水平线,把浸水阴干的花岗岩踢脚板的背面,刮抹一层2-3mm厚的素水泥浆(宜加10%左右的109胶)后,往底灰上粘贴,并用木锤敲实,根据水平线找直。
8.灌浆擦缝完24小时后,应用干净湿润的锯末覆盖,喷水养护不少于7天。
4、成品保护
1.运输花岗岩板块、水泥砂浆时,应采取措施防止碰撞已作完的墙面、门口等。铺设地面用水防止浸泡、污染其他地面墙面。
2.铺砌板块过程中,操作人员应做到随铺砌随擦干净。当操作人员和检查人员踩踏新铺砌的板块时,要穿软底鞋,并应轻踏在板块中部。
3.在已铺好面层上行走时,找平层水泥砂浆的强度应达到1.2MPa以上。
4.剔凿和切割板块时,下边应垫木板。
5、注意事项
1.板块材铺砌前应进行先板试拼,有裂缝、掉角、翘曲和表面有缺陷的板块应剔除,品种不同的板块不得混杂使用。
2.面层铺设应防止板面与基层出现空鼓现象,操作中应注意垫层表面浇水湿润并均匀刷一度素水泥浆,找平层的厚度不得小于20mm,砂浆铺设必须饱满,水灰比不宜过大,同时注意不得过早上人踩踏等,以避免空鼓发生。
3.在镶贴踢脚板时,必须注意拉线铺砌,控制其平整度,以防踢脚板出墙厚度不一致。
6、质量要求
1.花岗岩面层的表面 应洁净、平整、无磨痕,且应图案清晰、色泽一致、接缝均匀、周边顺直、镶嵌正确、板块无裂纹、掉角、缺楞等缺陷。
2.踢脚线表面应洁净,高度一致,结合牢固,出墙厚度一致。
3.面层允许偏差
| 序号 | 项目 | 允许偏差mm | 检查方法 |
| 1 | 缝格平直 | 2 | 拉5米线和用钢尺检查 |
| 2 | 表面平整 | 1 | 2米靠尺、楔形塞尺检查 |
| 3 | 接缝高底差 | 0.5 | 用钢尺和楔形塞尺检查 |
| 4 | 踢脚线上口平直 | 1.0 | 拉5米线和用钢尺检查 |
| 5 | 板块间隙宽度不大于 | 1.0 | 用钢尺检查 |
8.9、屋面工程
上人层面坡屋面工程的施工顺序为最溥处30厚石灰礁渣找坡层 →60mm挤塑保温板用粘结石膏粘贴→40mm厚C20细石砼找平层,内铺1厚钢板网,菱孔15*40→20厚水泥砂浆找平层→Ⅲ+ⅢSBS聚脂胎防水卷材→40mm厚C20细石砼保护层内设钢筋网片→地砖面层。
不上人层面坡屋面工程的施工顺序为最溥处30厚石灰礁渣找坡层 →60mm挤塑保温板用粘结石膏粘贴→40mm厚C20细石砼找平层,内铺1厚钢板网,菱孔15*40→20厚水泥砂浆找平层→Ⅲ+ⅢSBS聚脂胎防水卷材→40mm厚C20细石砼保护层内设钢筋网片。
1、作业条件
1.主体工程已验收。
2.主体工程遗留的松散的砼及砂浆已剔除。
3.基层表面的尘土、污垢、油渍等清除干净,并提前两天洒水润湿,每天的浇水次数不得少于两遍。
4.对蜂窝、麻面、露筋等剔到实处,刷掺水重10%的791胶素水泥浆一道,紧跟用1:2水泥砂浆分层补平。
5.梁、屋面砼突出部分要剔平。
6.穿过屋面和女儿墙等结构的管道部,应用细石砼填塞密实,做好转角处理,将管根固定。
2、施工要点
1.保温层
1)要注意收听天气预报,严禁在下雨天气施工。
2)弹线找坡:按设计坡度及流水方向,找出屋面坡度走向,确定保温层厚度范围。
3)铺设松散保温层
a、礁渣应经筛选,严格控制粒径和含水率,铺设礁渣的基层表面应干燥、洁净。
b、礁渣应分层铺设,用抹子或钢滚筒进行适当整平压实,每层铺设厚度不大于150mm。
c、白灰礁渣铺设完成后,表面就履盖养护7天。
d、已铺完的松散保温层,在未过到要求的强度前,不得在其上行走推胶轮车或堆放重物。
4)铺设挤塑保温层
a、铺设保温板前,基层应平整、干净、干燥。
b、干铺挤塑保温层,应找平拉线铺设。铺前先将接触面清扫干净,板块应紧密铺设、铺平、垫稳。
c、保温板缺棱掉角的,可用同类材料的碎块嵌补。
d、在已铺完的挤塑保温板上行走或用胶轮车运输材料,应在其上铺脚手板。
e、保温板间的缝隙用塑料胶带纸封严。
5)屋面保温层干燥有困难时,应采用排汽措施。
6)板状保温层的施工段划分按6米*6米划分(分格缝按6米*6米设置),每一施工段的保温层完成后并经验收合格后,即进行细石砼找平层的施工。
2.细石砼找平层(面层)
详见8.7节。
3.防水层
详见8.5节。
4.地砖面层
详见8.8节。
3、保温层成品保护
1)对已铺完的挤塑保温板采取必要措施,以保证保温层不受损坏;当在其上需要行走或用胶轮车时,应垫脚手板保护。
2)保温层施工完后,应及时铺细石砼找平层,以防受潮和雨水进行,使含水率增大;在雨期施工时,要采取防雨措施。
4、保温层注意事项
1.保温层施工,应严格按照有关标准选择材料,密度不使过大,颗粒和粉末含量比例应均匀,加强保管和处理,以保证保温隔热层质量。不符合要求的材料不得使用。
2.保温层施工应采取措施掌握好铺设厚度,认真进行操作,防止材料铺设时移动堆积,找坡不匀,或压实时挤压了保温层,而造成铺设厚度不匀,影响保温隔热效果。
3、保温材料应严格控制含水率,不使过高,施工中应尽量少洒水,因含水率过高,一方面能降低保温性能,另一方面水分不易排出,铺贴卷材防水层后,易产生鼓泡,影响防水层质量和使用寿命。
5、保温层质量要求
1.松散保温材料:分层铺设,压实适当,表面应平整,找坡正确。
2.板状保温材料:紧贴基层,铺平垫稳,拼缝严密,找坡正确。
3.保温层厚度的允许偏差:松散保温材料为-5%~10%,板状材料为-5%~10%,且不得大于4mm。
8.10、胶粉聚苯颗粒保温灰膏工程
1、作业条件
1.结构工程全部完成,并经有关部门验收,达到合格标准。
2.抹灰前应检查门窗框的位置是否正确,与墙体的连接是否牢固。
3.预埋铁件、管道等应提前安装好,结构施工时墙体上的预留洞提前堵塞严密,将柱、墙、过梁等凸出墙面的砼剔平后,用1:1水泥砂浆分层补平。
4.砌块表面缺棱掉角需分层修补。做法是:先洒水湿润基体表面,刷掺水重10%的791胶水泥浆一道,紧抹1:1水泥砂浆,每层厚度应控制在7~9mm。
5.抹灰前,大面积施工前先做样板间,经甲方、监理单位鉴定合格后,方可进行大面积的抹灰。
2、工艺流程
清理墙面→涂刷界面剂→做灰饼→第一遍保温砂浆→抹每二遍保温砂浆→抹抗裂砂浆压入网格布→抹罩面抗裂砂浆。
3、施工要点
1.墙面应浇水湿润,一般在抹灰前一天进行,但墙面不宜过湿。
2.灰饼的厚度最薄处不得少于35mm,灰饼的间距控制在2m以内。
3.基底为砼面层时,对砼表面刷界面剂进行处理。
4.保温砂浆搅拌
1)先将水按配比倒入搅拌机内,启动1~2秒种,再加入混合料,搅拌时间1.5~2分种,若时间过长,则会把聚苯颗粒打得太碎,而影响保温性能。
2)加水的控制:一般混合料:水=1:1(重量比),以拌合好的砂浆稠度控制在7.5~8.5cm为宜,料浆容量控制在950~1050g/L,在第一次开盘时,测试砂浆稠度,以确定合理的加水量。
3)搅拌好的保温砂浆要及时装车运至抹灰现场。保温砂浆在1.5h内用完,超出规定时间的保温砂浆,严禁加水继续使用。要求随拌随用,控制好用量,以免造成材料浪费。
5.抹灰施工
1)第一层抹灰厚度10mm左右,抹灰时适当用力保证与基层粘结牢固,但用力不可过大,以避免密实,干后产生裂缝。
2)第二层抹灰厚度约20mm,抹灰时,向下往上刮平,用木抹子搓平,局部低凹处再用保温砂浆增补搓平,用大杠由下而上普遍刮平。
3)当保温砂浆六层干时,即开始抹罩面灰,二遍成活。罩面时,要求两人同时操作,第一人薄薄刮一遍,第二人随即抹平,两人的抹灰方向要垂直,防止露底。按先下后上的顺序进行,再赶光压实,然后用钢抹子压一遍,最后用铁抹子顺抹子纹压光。
4、成品保护
1.推小车或搬运东西时,要注意不要碰坏口角和墙面。大杠和铁锹把不要靠放在墙上,严禁蹬踩窗台板,防止损坏其棱角。
2.要保护好墙上的预留孔洞等,不要随意抹死。
3.翻拆架子时要小心,防止损坏已抹好的水泥墙面,并采取保护措施。
4.凝结硬化前,防止快干、水冲、碰撞、振动和挤压,以保证灰层有足够的强度。
5、注意事项
1.认真清理基层和提前浇水,使水深度入墙达到8~10mm为符合要求。
2.严格控制每层抹灰厚度。
3.严格控制窗洞口、抹灰面接槎工作。
6、质量要求
1.各砂浆应粘结牢固,不得有空鼓、起泡、裂缝等缺陷。
2.接搓平整,阴阳角平直方正,表面颜色一致,美观整洁,不得有起泡现象。
3.预留洞(槽盒)应方正、光滑、平整。
4.允许偏差同抹灰工程的允许偏差。
8.11、门窗工程
1、作业条件
(1)结构质量经验收合格,工种之间办好交接手续 。
(2)按图示尺寸弹好窗中线,并弹好室内+50cm平线,校核门窗洞口位置尺寸及标高是否符合设计图纸要求,如有问题提前剔凿处理。
(3)检查金门窗两侧连接铁脚位置与墙体预留孔洞位置是否吻合,若有问题应提前处理,并将预留孔洞内杂物清净。
(4)门窗的拆包、检查:将窗框周围包扎布拆去,按图纸要求核对型号和检查外观质量,如发现有劈棱窜角和翘曲不平,偏差超标、严重损伤、外观色差大等缺陷,应找有关人员协商解决,经修整鉴定合格后才能安装。
2、工艺流程
弹线找规矩→门窗洞口处理→窗洞口内埋设连接铁件→门窗拆包、检查→按图纸编号运至安装地点→检查门窗保护膜→门窗安装→门窗口四周堵缝、密封嵌缝→清理 → 安装五金配件→安装门窗密封条。
3、施工要点
1.弹线找规矩:在最顶层找出外门窗口边线,用大线坠将门窗边线下引,并在每层门窗口处划线标记,对个别不直的口边应剔凿处理。高层建筑宜用经纬仪找垂直线。
门窗口的水平位置应经楼层+50cm水平线为准,往上反,量出窗下皮标高,弹线找直,每层窗下皮(若标高相同)则应在同一水平线上。
2.墙厚方向的安装位置:根据外墙大样图及窗台板的宽度,确定铝合金门窗在墙厚方向的安装位置,如外墙厚度有偏差时,原则上应同一房间窗台板外露尺寸一致为准,窗台板应深入铝合金窗下5mm为宜。
3.就位和临时固定:根据放好的安装位置线安装,并将其吊直找正,无问题后用木楔临时固定。
4.与墙体的固定:用射钉将铁脚与墙体固定,铁脚至窗角的距离不应大于180mm,铁脚间距应小于600mm。
5.处理门窗框与墙体缝隙:门窗固定以后,应及时处理门窗框与墙缝隙,外表面留5~8mm深槽口填嵌缝膏。
6.门框安装:
1)将预留门洞按门框尺寸提前修好。
2)在门框的侧边钉好连接件或木砖。
3)门框安装并找好垂直度及几何尺寸后,用射钉枪或自攻螺钉将其门框与墙上预埋件固定。
4)用低碱性水泥砂浆将门框与砖墙四周的缝隙填实。
7.地弹簧座的安装。
根据地弹簧安装位置,提前剔洞,将地弹簧放入凹坑内,用水泥浆固定。地弹簧安装应注意地弹簧座的上皮与室内地面平。地弹簧的转轴线要与门框横料的定位销轴心线一致。
8.安装五金配件:
待交活油漆完成,浆活修理后再安装五金配件,要求安装牢固,使用灵活。
9.安装纱门窗:绷铁纱、裁纱、压条固定、挂纱扇、装五金配件。
4、成品保护
1.铝合金门窗应入库存放,下边应垫起、垫平、码放整齐。 (2)门窗保护膜检查无损后再进行安装,安装后及时将门框两侧用木板条捆绑好,防止碰撞损坏。
2.抹灰前应将门窗用塑料薄膜保护好,任何工序不得损坏其保护膜,防止砂浆、污物对其表面的侵蚀。
3.门窗保护膜应在交工前撕去,要轻撕,且不可用开刀去铲,防止将表面划伤,影响美观。
4.门窗表面如有胶状物时,应使用棉丝沾专用溶剂进行擦拭干净,如发现局部划痕,可用小毛刷沾染色液进行补染。
5.任何工种严禁用门窗框当架设支点,防止产生变形和损坏室内运输时严禁砸、碰和损坏。
5、注意事项
1.门窗如采用单件组合时应注意拼装质量,拼头处应平整,不应劈棱、窜角、出台。
2.地弹簧及拉手安装不规矩,尺寸不准,应提前检查预先剔洞及预留孔眼尺寸是否准确,如有问题,应处理后再进行安装。
3.面层污染咬色,施工时应注意成品保护及时清理差。
4.表面划痕:施工及清理过程不认真,或用硬物磨划所致。
6、质量要求
1.门窗及其附件质量必须符合设计要求和有关标准的规定。
2.门窗的安装位置、开启方向必须符合设计要求。
3.门窗安装必须牢固,预埋件的数量、位置、埋设连接方法必须符合设计要求。
4.铝合金门窗扇安装应符合以下规定:
1)平开门窗扇关闭严密,间隙均匀,开关灵活。
2)推拉门窗扇关闭严密,间隙均匀,扇与框搭接量应符合设计要求。
3)弹簧门扇自动定位准确,开启角度90º±1.5º,关闭时间在6~10s范围之内。
5.门窗附件齐全,安装位置正确,牢固、灵活适用。达到各自的功能,端正美观。
6.门窗框与墙体间缝隙填嵌饱满密实,表面平整、光滑、无裂缝、填塞材料、方法符合设计要求。
7.门窗表面洁净,无划痕、碰伤、无锈蚀,涂胶表面光滑,平整、厚度均匀,无气孔。
8.铝合金门窗安装允许偏差
| 项次 | 项目 | 允许偏差(mm) | 检验方法 | |||
| 1 | 门窗框两对角线长度差 | ≤2000mm
>2000mm |
3
3 |
用钢卷尺检查,量里角 | ||
| 2 | 平开窗 | 窗扇与框搭接宽度差 | 1 | 用深度尺或钢板尺检查 | ||
| 3 | 同樘门窗相邻扇的横端角高度差 | 2 | 用拉线和钢板尺检查 | |||
| 4 | 推拉扇 | 门窗扇开启力极限 | 扇面积≤1.5m
扇面积>1.5m |
≤40N | 用100N弹簧秤钩住拉手处,启闭5次取平均值 | |
| ≤60N | ||||||
| 5 | 门窗扇与框或相邻扇立边平行度 | 2 | 用1m钢板尺检查 | |||
| 6 | 弹簧门扇 | 门窗对口缝或扇与框间立、横缝留缝极限 | 2~4 | 用楔形塞尺检查 | ||
| 7 | 门扇与地面间隙留缝限值 | 2~7 | ||||
| 8 | 门扇对口缝关闭时平整 | 2 | 用深度尺检查 | |||
| 9 | 门窗框(含拼樘料)正、侧面垂直度 | 2 | 用1m托线板检查 | |||
| 10 | 门窗框(含拼樘料)水平度 | 1.5 | 用1m水平尺和楔形塞尺检查 | |||
| 11 | 门窗横框标高 | 5 | 用钢板尺检查与基准线比较 | |||
| 12 | 双层门窗内外框、挺(含拼樘料)中心距 | 4 | 用钢板尺检查 | |||
8.12、玻璃幕墙工程
1、作业条件
1.混凝土主体结构已完工并办完质量验收手续。
2.预先进行测量放线。
1)选任意层为基准层放出纵、横轴线,用经纬仪(或激光经纬仪)依次定出各层的轴线。在楼板边缘弹出竖向主龙骨的中心线,同时核对化学锚栓中心线与主龙骨中心线是否相符。测量主龙骨之间尺寸与幕墙之间尺寸是否一致。
2)根据横向轴线找出主龙骨与各层埋件连接的紧固铁件外边线,便于紧固铁件的安装。
3)核实主体结构实际总标高是否与设计总标高相符,并把各层的楼层标高标于楼板边,以便安装时核对。
3.连结主龙骨的预埋铁件预先剔凿,使其露出混凝土面,弹线后如标高和位置超出允许偏差值时,必须按设计洽商进行处理。
4.吸盘设备、手电钻、焊钉枪等电动机具须做绝缘电压试验。电动吸盘机及手持玻璃吸盘须进行检查吸附玻璃的重量和吸附持续时间是否符合说明书规定。
5.主龙骨、次龙骨及所需的各种连结件、装饰压条、螺栓、橡胶条等部件,预先清点分类码放到指定地点,设专人看管存放。
2、工艺流程
各楼层安装紧固铁件→横竖龙骨装配→安装竖向主龙骨→安装横向次龙骨→安装镀锌钢板→安装保温、防火矿棉→安双层玻璃→安盖板及装饰压条→安装楼层封闭镀锌钢板→清洗玻璃。
3、施工要点
1.安装各楼层紧固铁件:主体结构施工时埋件预埋形式及紧固铁件与埋件连接方法均要按设计图纸进行操作。紧固铁件(或凸形铁件)的安装是玻璃幕墙安装过程最重要的一环,它的位置准确与否将直接影响幕墙的安装质量。安装时按已放好的件的纵、横两方向中心线进行对正,初步就位后将螺栓初紧固,再进行校正核对,准确后螺栓最后紧固,然后进行紧固件(或凸形铁件)与埋件焊接,焊缝质量应符合设计要求。各层紧固件(或凸形铁件)外皮均在一条垂直线上。
2.竖向、横向龙骨装配:在龙骨安装就位之前,预先装配好以上连接件。
1)竖向主龙骨与紧固铁件之间的连接件。
2)竖向主龙骨之间接头的钢板内、外套筒连接件。
3)横向次龙骨的连接件。
4)主龙骨与次龙骨之间连接配件。
各结点的连结件的连结方法要符合设计图纸要求,连结必须牢固、横平竖直。
3.竖向主龙骨连接:主龙骨由下往上安装,一般每两层为一整根,每层通过紧固铁件(或凸形铁件)与楼板连接。
1)先将主龙骨竖起,上下两端的连接件对准紧固铁件(或凸形铁件)的螺栓孔,勿拧螺栓。
2)主龙骨可通过紧固铁件(或凸形铁件)和连接件的长螺栓孔上、下、左、右进行调整,主龙骨上端对好楼层标高位置,左右中心线应与弹在楼板上的位置线相吻合,前后(即E轴方向)不出控制线,确保上下垂直。
3)再用经纬仪校核后最后拧紧螺母把所有联结螺栓、螺母、垫圈焊牢。
4)竖向龙骨之间用钢板内、外套连接,接头处应留适当宽度的伸缩孔隙,具体尺寸根据设计要求,接头处的上下龙骨中心线要对正。
5)安装到最顶层之后,再用经纬仪校正一次,检查无误后,把所有竖向龙骨与结构联接的螺丝拧紧。焊缝重新加焊至设计要求,焊缝处清理检查符合要求后刷两道防锈漆。
4.横向次龙骨安装:安好一层竖向龙骨之后可流水作业安横向龙骨。
1)安装前将次龙骨两端套上防水橡胶垫。
2)用木支撑将竖向主龙骨撑开,再装入横向次龙骨,取掉木支撑后两端橡胶垫被压缩,起到较好防水效果。
3)大致水平后初拧连接件螺栓,然后用水准仪抄平,横向龙骨水平后,拧紧螺栓。
4)继续往上安横向形骨时,要严格控制各横向形骨之间的中心距离及上下垂直度,同时要核对玻璃尺寸能否镶嵌合适。
5.安装镀锌钢板:凡是单层玻璃的部位,内面均要安装镀锌钢板。为使钢板与龙骨的接缝严密,先将橡胶密封条套在钢板四周后,将钢板插入横向龙骨铝合金槽内,在钢板与龙骨的接缝处再粘贴沥青密封带并应敷贴平整。最后在钢板上焊钢钉,要焊牢固,钉距及规格要符合设计要求。
6.安装保温、防火矿棉:镀锌钢板安完之后安装保温、防火矿棉。
1)将矿棉保温层用粘结剂粘在钢板上,用已焊的钢钉及不锈钢片固定保温层,矿棉应铺放平整,拼接处不留缝隙。
2)安装冷凝水管及排水管体系,具体方法符合设计要求。
7.双层玻璃安装:
1)清理框内污物,将内侧橡胶条嵌入龙骨框格槽内并封闭不留缺口,注意橡胶条型号要相符,镶嵌要平整,四角应呈直角。
2)为避免玻璃与龙骨直接接触,在龙骨框格中的底框及两侧各嵌两个橡胶垫片。
3)安装时用电动吸盘机操作,该机放置在室内楼板上,机器附有真空泵及液压装置,有8个吸盘,与机械配合可吸起玻璃,做回转、伸缩、升降、倾斜等动作。
4)先将玻璃表面灰尘、污物擦试干净,注意要正确判断内、外面。
5)操作电动吸盘机吸起玻璃斜撑出窗外,再往回拉对正后压落在龙骨框槽内,上、下、左、右嵌入深度要一致。
6)将两侧橡胶垫片塞于竖向龙骨的孔内,然后固定玻璃,安密封条并镶嵌平整、密实。
8.安装盖板及装饰压条:
1)单、双层玻璃安装完之后即可安装盖板,连接方法要符合设计要求,然后在盖板外面镶嵌橡胶密封条,要求平整,严密。
2)盖板外面安装饰压条,外形及连接方法符合设计要求、横平、竖直,接缝严密。
9.擦洗玻璃:全部安装完之后,在竣工前利用擦洗机(或其他吊具)将幕墙玻璃擦洗一遍,达到表面洁净,明亮。
4、成品保护
1.框料及各种附件,进场后分规格,分类码放在防雨的专用棚内,不得在上压放重物,运料时轻拿轻放防止碰坏划伤。玻璃要分规格立于木方上,设专人看管发放和运输,防止碰坏和划伤表面镀膜。
2.玻璃幕安装完后,为防止人员靠近,在楼层上距幕墙的一定距离处,挂安全网,并派专人巡视。
3.靠近玻璃幕的各道工序,在施工操作前对玻璃做好临时保护,可用纤维板遮挡。
5.注意事项
1.玻璃安装不上:安装竖向、横向龙骨时未认真核对中心线和垂直度,也未核对玻璃尺寸,因此在安装竖、横龙骨时必须严格控制垂直度及中心线位置。
2.装饰压条不垂直不水平:安装装饰压条时应吊线和拉水平线进行控制,安完后应横平、竖直。
3.玻璃出现严重“影象畸变”现象:造成原因是:玻璃本身翘曲、橡胶条安装不平、玻璃镀膜层的一侧沾染胶泥等等。因此玻璃进场时要进行开箱抽查,安装前发现有翘曲现象应剔出不用。安装过程中各道工序严格操作,密封条镶嵌平整,打胶后将表面擦试干净。
4.构件表面污染严重:主要是在运输安装过程中,过早撒掉表面保护膜,或打胶时污染面层。
5.玻璃幕渗水:由于玻璃四周的橡胶条嵌塞不严或接口有缝隙而造成雨水渗入,到冬季积水可能结冰后膨胀造成整块玻璃被挤压碎,因此安橡胶条时胶条规格要匹配,尺寸不得过大或过小,嵌塞要平整密实,接口处一定要用密封胶充填实,达到不漏水为准。
6.质量要求
1.龙骨的材质、规格、断面尺寸必须符合设计要求和有关标准规定,并附有出厂证明书。
2.主、次龙骨及其附件制作质量要符合设计图纸要求和有关标准规定,并附有出厂合格证和产品验收凭证。
3.所有铝合金构件安装必须牢固,其位置及连接方法必须符合设计要求。
4.双层玻璃裁割尺寸正确,安装平整、牢固、无松动现象。
5.铝合金构件表面洁净,无划痕、碰伤、无锈蚀。
6.所有外露的金属件,从任何角度看均应表面平整、横平竖直,不应有变形。螺钉与构件结合紧密,表面不得有凹凸现象。
7.玻璃的颜色、图案符合设计要求,表面洁净、无斑污,安装朝向正确。
8.玻璃的密封条镶嵌平整严密,密封胶应密封均匀一致,表面平整光滑不得有胶痕。
9.允许偏差项目
| 项次 | 项目 | 允许偏差(mm) | 检查方法 | |
| 1 | 竖向龙骨 | 垂直偏差 | 3 | 3.5m长度范围内、吊线检查 |
| 2 | 横向龙骨 | 水平偏差 | 3 | 3.5m长度范围内,水准仪或尺检查 |
| 总长度 | 6 | 尺量 | ||
| 3 | 龙骨表面平整度 | 3 | 3m靠尺和塞尺量任何一方 | |
| 4 | 标高 | 9 | 用水准仪或尺量检查 | |
8.13、石幕墙工程
1、作业条件
1.结构经验收合格,水电、通风、设备安装等应提前完成,并准备好加工石材的场地、水电源等前提条件已具备。
2.外门窗已安装完毕,安装质量符合要求。
3.石材的质量、规格、品种、数量、外观等符合要求。
4.搭设脚手架处理结构基层,并做好隐预检记录。
2、工艺流程
基层处理→装饰面位置放线,石材钻孔或开槽→安装挂件化学锚栓→安装挂件→安装饰面石材→复核并调校饰面石材位置→用环氧树脂填实石材上的连接孔、槽→用橡胶条或泡沫条填塞拼接缝并打封缝硅胶→饰面清理。
3、施工要点
1.按设计要求在墙面上弹出控制网,由中心向两边弹放。应弹出每块板的位置线和每个挂件的具体位置。
2.石材钻孔或切槽,为保证所开孔、槽的准确度和减少石材破损,应使用专门的机架,以固定板材和钻机等。
3.按照放线的位置在墙面上打出化学锚栓的孔位,孔深以略大于化学锚栓套管的长度为宜。
4.安装连接件:干挂石材一般采用不锈钢连接件。注意调节挂件一定要安装牢固。
5.石材开槽:安装石材前用匀石机在石材的侧面开槽,开槽深度依照挂件的尺寸进行,一般要求不小于1cm并且在板材后侧边中心,为了保证开槽不崩边,开槽距边缘距离为1/4边长且不小于50mm,并将槽内的石灰清理干净以保证灌胶粘结牢固。
6.石材安装:石材安装是从底层开始,吊好垂直线,然后依次向上安装。必须对石材的材质、颜色、纹路、加工尺寸进行检查,按照的石材编号将石材轻放在T型挂件上;按线就位后调整准确位置,并立即清孔,槽内注入胶,要求锚固胶保证有4—8小时的凝固时间,以避免过早凝固而脆裂,过慢凝固而松动,
安装时注意各种石材的交接和接口,保证石材安装交圈。
7.打胶:对于要求密缝的石材拼接不用打胶;设计要求留缝的墙面,需要在缝内填人泡沫条后用有颜色的大理石胶打人缝隙内。为了保证打胶的质量,用事先准备好的泡沫条塞人石材缝隙,预留好打胶尺寸,既不需要太深,也不应太浅,要求密实,并在石材的边缘贴上胶带纸然后打胶,一般要求打胶深度在6—10mm保证雨水不能进入骨架内即可。待完成后轻轻将胶带纸撕掉使打胶边成一条直线。
8.清理:勾缝或打胶完毕后,用棉纱等物对石材表面清理,干挂也须待胶凝固后,再用壁纸刀、棉纱等物对石材表面清理。需要打蜡的一般应按照使用蜡的操作方法进行,原则上应烫硬蜡,擦软蜡,要求均匀不露底色,色泽一致,表面整洁。
4、成品保护
1.运输石材时应特别小心,避免磕碰边角,必要时用地毯与软物等包住边角。
2.堆放石材要整齐牢固,堆放位置要在房间选好,避免来回搬运及雨淋,石材堆放要75度立着堆放,下面用木方固定,且石材要光面对光面放置。3、施工完后,应做好警示牌或设置防护栏杆,特别是柱、墙阳角等处避免来回运输磕碰石材。
3.打胶时应避免在房间有灰尘时进行,必要时先清扫房间,打胶控制在打蜡前进行。
4.在施工过程中垃圾应随时清理,作到工完场清,责任到人,奖罚分明。
5.应设专职成品保护人员,制定成品保护制度并严格执行。
5、质量要求
1.石材幕墙工程所用材料的品种、规格、性能和等级,应符合设计要求及国家现行产品标准和工程技术规范的规定。石材的弯曲强度不应小于8.OMPa;吸水率应小于0.8%。石材幕墙的铝合金挂件厚度不应小于4.0mm,不锈钢挂件厚度不应小于3.Omm。
2.石材幕墙的造型、立面分格、颜色、光泽、花纹和图案应符合设计要求。
3.石材孔、槽的数量、深度、位置、尺寸应符合设计要求。
4.石材幕墙主体结构上的预埋件和后置埋件的位置、数量及后置埋件的拉拔力必须
符合设计要求。
5.石材幕墙的金屑框架立柱与主体结构预埋件的连接、立柱与横梁的连接、连接件与金属框架的连接、连接件与石材面板的连接必须符合设计要求,安装必须牢固。
6.金属框架和连接件的防腐处理应符合设计要求。
7.石材幕墙的防雷装置必须与主体结构防雷装置可靠连接。
8.石材幕墙的防火、保温、防潮材料的设置应符合设计要求,填充应密实、均匀、厚度一致。
9.各种结构变形缝、墙角的连接节点应符合设计要求和技术标准的规定。
10.石材表面和板缝的处理应符合设计要求。
11.石材幕墙的板缝注胶应饱满、密实、连续、均匀、无气泡,板缝宽度和厚度应符合设计要求和技术标准的规定。
12.石材幕墙应无渗漏。
13.石材幕墙表面应平整、洁净,无污染、缺损和裂痕。颜色和花纹应协调一致,无
明显色差,无明显修痕。
14.石材幕墙的压条应平直、洁净、接口严密、安装牢固。
15.石材接缝应横平竖直、宽窄均匀;阴阳角石板压向应正确,板边合缝应顺直;凸凹线出墙厚度应一致,上下口应平直;石材面板上洞口、槽边应套割吻合,边缘应整齐。
16.石材幕墙的密封胶缝应横平竖直、深浅一致、宽窄均匀、光滑顺直。
17.石材幕墙上的滴水线、流水坡向应正确、顺直。
18.每平方米石材的表面质量和检验方法应符合下表的规定。
| 项次 | 项目 | 质量要求 | 检验方法 |
| 1 | 裂痕、明显划伤和长度>100mm的轻微划伤 | 不允许 | 观察 |
| 2 | 长度≤100mm的轻微划伤 | ≤8条 | 用钢尺检查 |
| 3 | 擦伤总面积 | ≤500mm2 | 用钢尺检查 |
19.石材幕墙安装的允许偏差和检验方法应符合下表的规定。
| 项 次 |
项目 | 允许偏差 (mm) |
检验方法 | ||
| 光面 | 麻面 | 用经纬仪检查 | |||
| 1 | 幕墙 垂 直度 |
幕墙高度≤30m | 10 | ||
| 30m<幕墙高度≤60m | 15 | ||||
| 60m<幕墙高度≤90m | 20 | ||||
| 幕墙高度 | 25 | ||||
| 2 | 幕墙水平度 | 3 | 用水平仪检查 | ||
| 3 | 板材立面垂直度 | 3 | 用水平仪检查 | ||
| 4 | 板材上沿水平度 | 2 | 用1m水平尺和钢直尺检查 | ||
| 5 | 相邻板材板角错位 | 1 | 用钢直尺检查 | ||
| 6 | 幕墙表面平整度 | 2 | 3 | 用垂直检测尺检查 | |
| 7 | 阳角方正 | 2 | 4 | 用直角检测尺检查 | |
| 8 | 接缝直线度 | 3 | 4 | 接5m线,不足5m拉通线, 用钢直尺检查 |
|
| 9 | 接缝高低差 | 1 | — | 用钢直尺和塞尺检查 | |
| 10 | 接缝宽度 | 1 | 2 | 用钢直尺检查 | |
8.14、屋顶钢结构工程
8.14.1、钢结构手工电弧焊
1、作业条件
1. 熟悉图纸,做焊接工艺技术交底。
2.施焊前应检查焊工合格证有效期限,应证明焊工所能承担的焊接工作。
3. 现场供电应符合焊接用电要求。
2、工艺流程
作业准备→电弧焊接(平焊、立焊、横焊、仰焊)→焊缝检查
3、施工要点
1.平焊
1)选择合适的焊接工艺,焊条直径,焊接电流,焊接速度,焊接电弧长度等,通过焊接工艺试验验证。
2)清理焊口:焊前检查坡口、组装间隙是否符合要求,定位焊是否牢固,焊缝周围不得有油污、锈物。
3.2.1.3 烘焙焊条应符合规定的温度与时间,从烘箱中取出的焊条,放在焊条保温桶内,随用随取。
3)焊接电流:根据焊件厚度、焊接层次、焊条型号、直径、焊工熟练程度等因素,选择适宜的焊接电流。
4)引弧:角焊缝起落弧点应在焊缝端部,宜大于10mm,不应随便打弧,打火引弧后应立即将焊条从焊缝区拉开,使焊条与构件间保持2~4mm间隙产生电弧。对接焊缝及对接和角接组合焊缝,在焊缝两端设引弧板和引出板,必须在引弧板上引弧后再焊到焊缝区,中途接头则应在焊缝接头前方15~20mm处打火引弧,将焊件预热后再将焊条退回到焊缝起始处,把熔池填满到要求的厚度后,方可向前施焊。
5)焊接速度:要求等速焊接,保证焊缝厚度、宽度均匀一致,从面罩内看熔池中铁水与熔渣保持等距离(2~3mm)为宜。
6)焊接电弧长度:根据焊条型号不同而确定,一般要求电弧长度稳定不变,酸性焊条一般为3~4mm,碱性焊条一般为2~3mm为宜。
7)焊接角度:根据两焊件的厚度确定,焊接角度有两个万面,一是焊条与焊接前进方向的夹角为60~75°;二是焊条与焊接左右夹角有两种情况,当焊件厚度相等时,焊条与焊件夹角均为 45°;当焊件厚度不等时,焊条与较厚焊件一侧夹角应大于焊条与较薄焊件一侧夹角。
8)收弧:每条焊缝焊到末尾,应将弧坑填满后,往焊接方向相反的方向带弧,使弧坑甩在焊道里边,以防弧坑咬肉。焊接完毕,应采用气割切除弧板,并修磨平整,不许用锤击落。
9)清渣:整条焊缝焊完后清除熔渣,经焊工自检(包括外观及焊缝尺寸等)确无问题后,方可转移地点继续焊接。
2.立焊:基本操作工艺过程与平焊相同,但应注意下述问题:
1)在相同条件下,焊接电源比平焊电流小10%~15%。
2)采用短弧焊接,弧长一般为2~3mm。
3)焊条角度根据焊件厚度确定。两焊件厚度相等,焊条与焊条左右方向夹角均为45°;两焊件厚度不等时,焊条与较厚焊件一侧的夹角应大于较薄一侧的夹角。焊条应与垂直面形成60°~80°角,使电弧略向上,吹向熔池中心。
4)收弧:当焊到末尾,采用排弧法将弧坑填满,把电弧移至熔池中央停弧。严禁使弧坑甩在一边。为了防止咬肉,应压低电弧变换焊条角度,使焊条与焊件垂直或由弧稍向下吹。
3.横焊:基本与平焊相同,焊接电流比同条件平焊的电流小10%~15%,电弧长2~4mm。焊条的角度,横焊时焊条应向下倾斜,其角度为70°~80°,防止铁水下坠。根据两焊件的厚度不同,可适当调整焊条角度,焊条与焊接前进方向为70°~90°。
4.仰焊:基本与立焊、横焊相同,其焊条与焊件的夹角和焊件厚度有关,焊条与焊接方向成70°~80°角,宜用小电流、短弧焊接。
4、成品保护
1.焊后不准撞砸接头,不准往刚焊完的钢材上浇水。低温下应采取缓冷措施。
2.不准随意在焊缝外母材上引弧。
3.各种构件校正好之后方可施焊,并不得随意移动垫铁和卡具,以防造成构件尺寸偏差。隐蔽部位的焊缝必须办理完隐蔽验收手续后,方可进行下道隐蔽工序。
4.低温焊接不准立即清渣,应等焊缝降温后进行。
5、注意事项
1.尺寸超出允许偏差:对焊缝长宽、宽度、厚度不足,中心线偏移,弯折等偏差,应严格控制焊接部位的相对位置尺寸,合格后方准焊接,焊接时精心操作。
2.焊缝裂纹:为防止裂纹产生,应选择适合的焊接工艺参数和施焊程序,避免用大电流,不要突然熄火,焊缝接头应搭10~15mm,焊接中木允许搬动、敲击焊件。
3.表面气孔:焊条按规定的温度和时间进行烘焙,焊接区域必须清理干净,焊接过程中选择适当的焊接电流,降低焊接速度,使熔池中的气体完全逸出。
4.焊缝夹渣:多层施焊应层层将焊渣清除干净,操作中应运条正确,弧长适当。注意熔渣的流动方向,采用碱性焊条时,上须使熔渣留在熔渣后面。
6、质量要求
1.焊接材料应符合设计要求和有关标准的规定,应检查质量证明书及烘焙记录。
2.焊工必须经考试合格,检查焊工相应施焊条件的合格证及考核日期。
3.Ⅰ、Ⅱ级焊缝必须经探伤检验,并应符合设计要求和施工及验收规范的规定,检查焊缝探伤报告。
4.焊缝表面Ⅰ、Ⅱ级焊缝不得有裂纹、焊瘤、烧穿、弧坑等缺陷。Ⅱ级焊缝不得有表面气孔、夹渣、弧坑、裂纹、电弧擦伤等缺陷,且Ⅰ级焊缝不得有咬边、未焊满等缺陷。
5.焊缝外观:焊缝外形均匀,焊道与焊道、焊道与基本金属之间过渡平滑,焊渣和飞溅物清除干净。
6.表面气孔:Ⅰ、Ⅱ级焊缝不允许;Ⅲ级焊缝每50mm长度焊缝内允许直径≤0.4t;且≤3mm气孔2个;气孔间距≤6倍孔径。
7.咬边:Ⅰ级焊缝不允许。
Ⅱ级焊缝:咬边深度≤0.05t,且≤0.5mm,连续长度≤100mm,且两侧咬边总长≤10%焊缝长度。
Ⅲ级焊缝:咬边深度≤0.lt,且≤lmm。
注:t为连接处较薄的板厚。
8.允许偏差
| 项 | 允许偏差 (mm) | 检验 | |||||
| 次 | Ⅰ级 | Ⅱ级 | Ⅲ级 | 方法 | |||
| 1 | 对接焊缝 | 焊缝余高 | b<20 | 0.5~2 | 0.5~2.5 | 0.5~3.5 | 用
焊 缝 量 规 检 查 |
| (mm) | b≥20 | 0.5~3 | 0.5~3.5 | 0~3.5 | |||
| <0.1t且 | <0.1t且 | <0.1t且 | |||||
| 不大于2.0 | 不大于2.0 | 不大于3.0 | |||||
| 2 | 角焊缝 | 焊角尺寸
(mm) 焊缝余高 (mm) |
hf≤6 | 0~+1.5 | |||
| hf>6 | 0~+3 | ||||||
| hf≤6 | 0~+1.5 | ||||||
| hf>6 | 0~+3 | ||||||
| 3 | 组合焊缝 | T形接头,十字接头、角接头 | >t/4 | ||||
| 焊角尺寸 | 起重量≥50t,中级工作制吊车梁T形接头 | t/2且≯10 | |||||
注:b为焊缝宽度,t为连接处较薄的板厚,hf为焊角尺寸。
8.14.2、高强螺栓连接
1、作业条件
1.摩擦面处理:摩擦面采用喷砂、砂轮打磨等方法进行处理,摩擦系数应符合设计要求(一般要求Q235钢为0.45以上,16锰钢为0.55以上)。摩擦面木允许有残留氧化铁皮,处理后的摩擦面可生成赤锈面后安装螺栓(一般露天存10d左右),用喷砂处理的摩擦面不必生锈即可安装螺栓。采用砂轮打磨时,打磨范围不小于螺栓直径的4倍,打磨方向与受力方向垂直,打磨后的摩擦面应无明显不平。摩擦面防止被油或油漆等污染,如污染应彻底清理干净。
2. 检查螺栓孔的孔径尺寸,孔边有毛刺必须清除掉。
3. 同一批号、规格的螺栓、螺母、垫圈,应配套装箱待用。
4.电动扳手及手动扳手应经过标定。
2、工艺流程
作业准备→选择螺栓并配套→接头组装→安装临时螺栓→安装高强螺栓→高强螺栓紧固→检查验收。
3、施工要点
1.螺栓长度的选择:扭剪型高强螺栓的长度为螺栓头根部至螺栓梅花卡头切口处的长度。选用螺栓的长度应为紧固连接板厚度加上一个螺母和一个垫圈的厚度,并且紧固后要露出不少于两扣螺纹的余长。
2. 接头组装
1)连接处的钢板或型钢应平整,板边、孔边无毛刺;接头处有翘曲、变形必须进行校正,并防止损伤摩擦面,保证摩擦面紧贴。
2)装配前检查摩擦面,试件的摩擦系数是否达到设计要求,浮锈用钢丝刷除掉,油污、油漆清除干净。
3)板叠接触面间应平整,当接触有间隙时,按规定处理。
4)安装临时螺栓:连接处采用临时螺栓固定,其螺栓个数为接头螺栓总数的1/3以上;并每个接头不少于两个,冲钉穿入数量不宜多于临时螺栓的30%。组装时先用冲钉对准孔位,在适当位置插入临时螺栓,用扳手拧紧。不准用高强螺栓兼作临时螺栓,以防螺纹损伤。
5.安装高强螺栓:
1)安装时高强螺栓应自由穿入孔内,不得强行敲打。扭剪型高强螺栓的垫圈安在螺母一侧,垫圈孔有倒角的一侧应和螺母接触,不得装反(大六角头、高强螺栓的垫圈应安装在螺栓头一侧和螺母一侧,垫圈孔有倒角一侧应和螺栓头接触,不得装反)。
2)螺栓不能自由穿入时,不得用气割扩孔,要用绞刀绞孔,修孔时需使板层紧贴,以防铁屑进入板缝,绞孔后要用砂轮机清除孔边毛刺,并清除铁屑。
3)螺栓穿入方向宜一致,穿入高强螺栓用扳手紧固后,再卸下临时螺栓,以高强螺栓替换。不得在雨天安装高强螺栓,且摩擦面应处于干燥状态。
6.高强螺栓的紧固:必须分两次进行,第一次为初拧。初拧紧固到螺栓标准轴力(即设计预拉力)的60%~80%,初拧的扭矩值不得小于终拧扭矩值的30%。第二次紧固为终拧,终拧时扭剪型高强螺栓应将梅花卡头拧掉。为使螺栓群中所有螺栓均匀受力,初拧、终拧都应按一定顺序进行。
1)一般接头:应从螺栓群中间顺序向外侧进行紧固。
2)从接头刚度大的地方向不受约束的自由端进行。
3)从螺栓群中心向四周扩散的方式进行。
初拧扳手应是可以控制扭矩的,初拧完毕的螺栓,应做好标记以供确认。为防止漏拧,当天安装的高强螺栓,当天应终拧完毕。
拧应采用专用的电动扳手,如个别作业有困难的地方,也可以采用手动扭矩扳手进行,终拧扭矩须按设计要求进行。用电动扳手时,螺栓尾部卡头拧断后即表明终拧完毕,检查外露丝扣不得少于2扣,断下来的卡头应放入工具袋内收集在一起,防止从高空坠落造成安全事故。
4、成品保护
1.结构防腐区段(如酸洗车间)应在连接板缝、螺头、螺母、垫圈周边涂抹防腐腻子(如过氯乙烯腻子)封闭,面层防腐处理与该区钢结构相同。
2.结构防锈区段,应在连接板缝、螺头、螺母、垫圈周边涂快干红丹漆封闭,面层防锈处理与该区钢结构相同。
5、注意事项
1.装配面不符合要求:表面有浮锈、油污,螺栓孔有毛刺、焊瘤等,均应清理干净。
2.连接板拼装不严:连接板变形,间隙大,应校正处理后再使用。
3.螺栓丝扣损伤:螺栓应自由穿入螺孔,不准许强行打入。
4.扭矩不准:应定期标定扳手的扭矩值,其偏差不大于5%,严格按紧固顺序操作。
6、质量要求
1.高强螺栓的型式、规格和技术条件必须符合设计要求及有关标准的规定,检查质量证明书及出厂检验报告。复验螺栓预拉力符合规定后方准使用。
2.连接面的摩擦系数(抗潜移系数)必须符合设计要求。表面严禁有氧化铁皮、毛刺、飞溅物、焊疤、涂料和污垢等,检查摩擦系数试件试验报告及现场试件复验报告。
3.初拧扭矩扳手应定期标定。高强螺栓初拧、终拧必须符合施工规范及设计要求,检查标定记录及施工记录。
4.外观检查:螺栓穿入方向应一致,丝扣外露长度不少于2扣。
5.扭剪型高强螺栓尾部卡头终拧后应全部拧掉。
6.摩擦面间隙符合施工规范的要求。
8.14.3、钢结构制作
1、作业条件
1.制作前根据设计单位提供的设计文件绘制钢结构施工详图,图纸修改时应与设计单位办理洽商手续。
2. 按照设计文件和施工详图的要求编制制造工艺文件(工艺规程)。
2、工艺流程
加工准备及下料→零件加工→小装配 (小拼) →总装配 (总拼) →钢架焊接→成品检验→除锈、油漆、编号。
- 施工要点
1. 加工准备及下料:
1)放样:按照施工图放样,放样和号料时要预留焊接收缩量和加工余量,经检验人员复验后办理预检手续。
2)根据放样作样板。
3)钢材矫正:钢材下料前必须先进行矫正,矫正后的偏差值不应超过规范规定的允许偏差值,以保证下料的质量。
2.零件加工:
1)切割:氧气切割前钢材切割区域内的铁锈、污物应清理干净。切割后断口边缘熔瘤、飞溅物应清除。机械剪切面不得有裂纹及大于lmm的缺楞,并应清除毛制。
2)焊接:钢结构需接长时,先焊接头并矫直。对接焊缝应在焊缝的两端焊上引弧板,其材质和波口型式与焊件相同,焊后气割切除并磨平。
3)钻孔:端部基座板的螺栓孔应用钢模钻孔,以保证螺栓孔位置、尺寸准确。腹杆及连接板上的螺栓孔可采用一般划线法钻孔。
3.小装配(小拼):预先拼焊组成部件,经矫正后再进行拼装。部件焊接时为防止变形,宜采用成对背靠背,用夹具夹紧再进行焊接。
4.总装配(总拼):
1)将实样放在装配台上,按照施工图及工艺要求起拱并预留焊接收缩量。装配平台应具有一定的刚度,不得发生变形,影响装配精度。
2)垫板及节点连接板放在实样上,对号入座,使其紧靠定位角钢。
3)将模胎上已点焊好的半片钢架翻转180°,使型钢背对齐用夹具夹紧,进行定位点焊,点焊完毕整榀钢架总装配即完成,其余钢架的装配均按上述顺序重复进行。
5.钢架焊接:
详见焊接施工工艺
6.成品检验:
1)焊接全部完成,焊缝冷却24h之后,全部做外观检查并做出记录。Ⅰ、Ⅱ级焊缝应作超声波探伤。
2)用高强螺栓连接时,须将构件摩擦面进行喷砂处理,并做六组试件,其中三组出厂时发至安装地点,供复验摩擦系数使用。
3)按照施工图要求和施工规范规定,对成品外形几何尺寸进行检查验收,逐榀钢架做好记录。
7.除锈、油漆、编号:
1)成品经质量检验合格后进行除锈,除锈合格后进行油漆。
2)涂料及漆膜厚度应符合设计要求或施工规范的规定。以肢型钢内侧的油漆不得漏涂。
3)在构件指定的位置上标注构件编号。
4、成品保护
1.堆放构件时,地面必须垫平,避免支点受力不均。钢架吊点、支点应合理;宜立放,以防止由于侧面刚度差而产生下挠或扭曲。
2.钢结构构件应涂防锈底漆,编号不得损坏。
5、注意事项
1. 构件运输、堆放变形:运输、堆放时,垫点不合理,上、下垫木不在一条垂直线上,或由于场地沉陷等原因造成变形。如发生变形,应根据情况采用千斤顶、氧-乙炔火焰加热或用其它工具矫正。
2.构件扭曲:拼装时节点处型钢不吻合,连接处型钢与节点板间缝隙大于3mm,应予矫正,拼装时用夹具夹紧。长构件应拉通线,符合要求后再定位焊固定。长构件翻身时由于刚度不足有可能产生变形,这时应事先进行临时加固。
3. 起拱不符合要求:钢架拼装时,应严格检查拼装点角度,采取措施消除焊接收缩量的影响,并加以控制,避免产生累计误差。
4.焊接变形:应采用合理的焊接顺序及焊接工艺(包括焊接电流、速度、方向等)或采用夹具、胎具将构件固定,然后再进行焊接,以防止焊接后翘曲变形。
5.跨度不准:制作、吊装、检查应用统一精度的钢尺。严格检查构件制作尺寸,不允许超过允许偏差。
6、质量要求
1.钢材的品种、规格、型号和质量,必须符合设计要求及有关标准的规定。
2.钢材切割面必须无裂纹、夹渣分层和大于lmm的缺楞。
3.构件外观表面无明显的凹面和损伤,划痕深度不大于0.5mm。焊疤、飞溅物、毛刺应清理干净。
4.螺栓孔光滑,无毛刺,孔壁垂直度偏差不大于板厚的2%,孔圆度偏差不大于1%。
5.允许偏差
| 项次 | 项 目 | 允许偏差 (mm) | 检验方法 | |
| 用钢尺检查
1 |
钢架最外端两个孔或两端 | L≤24m | +3 -7 | |
| 支承面最外侧距离 | L>24m | +5 -10 | 用钢尺检查 | |
| 2 | 钢架跨中高度 | ±10 | ||
| 设计未要求起拱 | +10 -5 | |||
| 设计要求起拱 | ±L/5000 | 用拉线、钢尺检查 | ||
| 4 | 相邻节间弦杆的弯曲 | L/1000 | ||
| 5 | 固定檩条的连接件间距 | ±5 | ||
| 6 | 支承面到第一个安装孔距 | ±1 | ||
| 7 | 节点杆件轴线交点错位 | 3 | 划线后,用钢尺检查 | |
8.14.4、钢结构安装
1、作业条件
1.按构件明细表,核对进场构件的数量,查验出厂合格证及有关技术资料。
2.检查构件在装卸、运输及堆放中有无损坏或变形。损坏和变形的构件应予矫正或重新加工。被碰损的防锈涂料应补涂,并再次检查办理验收手续。
3.对构件的外形几何尺寸、制孔、组装、焊接、摩擦面等进行检查,做出记录。
4.钢结构构件应按安装顺序成套供应,现场堆放场地能满足现场拼装及顺序安装的需要。钢架分片出厂,在现场组拼应准备拼装工作台。
5.构件分类堆放,刚度较大的构件可以铺垫木水平堆放。多层叠放时垫木应在一条垂线上。钢架宜立放,紧靠立柱,绑扎牢固。
6.编制钢结构安装施工组织设计,经审批后,并向队组交底。
7.检查安装支座及预埋件,取得经总包确认合格的验收资料。
2、工艺流程
作业准备→钢架组拼→钢架安装连接与固定→检查、验收→除銹、刷涂料。
3、施工要点
1.钢架组拼:
钢架分片运至现场组装时,拼装平台应平整。组拼时应保证钢架总长及起拱尺寸的要求。焊接时焊完一面检查合格后,再翻身焊另一面,做好施工记录。经验收后方准吊装。钢架及天窗架也可以在地面上组装好一次吊装,但要临时加固,以保证吊装时有足够的刚度。
2.钢架安装:
1)吊点必须设在钢架三汇交节点上。钢架起吊时离地50cm时暂停,检查无误后再继续起吊。
2)安装第一榀钢架时,在松开吊钩前初步校正;对准钢架支座中心线或定位轴线就位,调整钢架垂直度,并检查钢架测向弯曲,将钢架临时固定。
2)第二榀钢架同样方法吊装就位好后,不要松钩,用杉篙或方木临时与第一榀钢架固定,跟着安装支撑系统及部分檩条,最后校正固定,务使第一榀钢架与第二榀钢架形成一个具有空间刚度和稳定的整体。
3)从第三榀钢架开始,在屋脊点及上弦中点装上檀条即可将钢架固定,同时将钢架校正好。
3.构件连接与固定:
1)构件安装采用焊接或螺栓连接的节点,需检查连接节点,合格后方能进行焊接或紧固。
2)安装螺栓孔不允许用气割扩孔,永久性螺栓不得垫两个以上垫圈,螺栓外露丝扣长度不少于2~3扣。
3)安装定位焊缝不需承受荷载时,焊缝厚度不少于设计焊缝厚度的2/3,且不大于8mm,焊缝长度不宜小于25mm,位置应在焊道内。安装焊缝全数外观检查,主要的焊缝应按设计要求用超声波探伤检查内在质量。上述检查均需做出记录。
4)焊接及高强螺栓连接操作工艺详见该项工艺标准。
5)钢架支座、支撑系统的构造做法需认真检查,必须符合设计要求,零配件不得遗漏。
4.检查验收:
1)钢架安装后首先检查现场连接部位的质量。
2)钢架安装质量主要检查钢架跨中对两支座中心竖向面的不垂直度;钢架受压弦杆对钢架竖向面的侧面弯曲,必须保证上述偏差不超过允许偏差,以保证钢架符合设计受力状态及整体稳定要求。
3)钢架支座的标高、轴线位移、跨中挠度,经测量做出记录。
5.除锈、涂料:
1)连接处焊缝无焊渣、油污,除锈合格后方可涂刷涂料。
2)涂层干漆膜厚度应符合设计要求或施工规范的规定。
4、成品保护
1.安装钢架时,应缓慢下落,不得碰撞已安装好的钢架。
2.吊装损坏的涂层应补涂,以保证漆膜厚度符合规定的要求。
5、注意事项
1.螺栓孔眼不对:不得任意扩孔或改为焊接,安装时发现上述问题,应报告技术负责人,经与设计单位洽商后,按要求进行处理。
2.现场焊接质量达不到设计及规范要求:焊工必须有上岗合格证,并应编号,焊接部位按编号做检查记录,全部焊缝经外观检查,凡达不到要求的部位,补焊后应复验。
3.不使用安装螺栓,直接安装高强螺栓;安装时必须按规范要求先使用安装螺栓临时固定,调整紧固后,再安装高强螺栓并替换。
4.钢架支座连接构造不符合设计要求:钢钢架安装完进行最后全面检查验收时,如支座构造不符合设计要求,不得办理验收手续。
5、质量要求
1.钢结构安装工程的质量检验评定,应在该工程焊接或螺栓连接经质量检验评定符合标准后进行。
2.构件必须符合设计要求和施工规范的规定,检查构件出厂合格证及附件。由于运输、堆放和吊装造成的构件变形必须矫正。
3.支座位置、做法正确,接触面平稳牢固。
4.构件有标记;中心线和标高基准点完备清楚。
5.结构表面干净,无焊疤、油污和泥砂。
6.允许偏差项目
| 项次 | 项 目 | 允许偏差 (mm) | 检 查 方 法 |
| 1 | 钢架弦杆在相邻节点间平直度 | l/1000且不大于5 | 用拉线和钢尺检查 |
| 2 | 檩条间距 | ±5 | 用钢尺检查 |
| 3 | 垂直度 | h/250且不大于15 | 用经纬仪或吊线和钢尺检查 |
| 4 | 侧向弯曲 | L/1000且不大于10 | 用拉线和钢尺检查 |
8.14.5、钢结构涂装
1、作业条件
1.油漆工施工作业应有特殊工种作业操作证。
2.涂装工程前钢结构工程已检查验收,并符合设计要求。
3.涂装作业场地应有安全防护措施,有防火和通风措施,防止发生火灾和人员中毒事故。
4.露天防腐施工作业应选择适当的天气,大风、遇雨、严寒等均不应作业。
2、工艺流程
基面清理→底漆涂装→面漆涂装→检查验收。
3、施工要点
1.建筑钢结构工程的油漆涂装应在钢结构安装验收合格后进行。油漆涂刷前,应将需涂装部位的铁锈、焊缝药皮、焊接飞溅物、油污、尘土等杂物清理干净。
2.为了保证涂装质量,根据不同需要可以分别选用以下除锈工艺。
1)喷砂除锈,它是利用压缩空气的压力,连续不断地用石英砂或铁砂冲击钢构件的表面,把钢材表面的铁锈、油污等杂物清理干净,露出金属钢材本色的一种除锈方法。这种方法效率高,除锈彻底,是比较先进的除锈工艺。
2)酸洗除锈,它是把需涂装的钢构件浸放在酸池内,用酸除去构件表面的油污和铁锈。采用酸洗工艺效率也高,除锈比较彻底,但是酸洗以后必须用热水或清水冲洗构件,如果有残酸存在,构件的锈蚀会更加厉害。
3)人工除锈,是由人工用一些比较简单的工具,如刮刀、砂轮、砂布、钢丝刷等工具,清除钢构件上的铁锈。这种方法工作效率低,劳动条件差,除锈也不彻底。
3.底漆涂装:
1)控制油漆的粘度、稠度、稀度,兑制时应充分的搅拌,使油漆色泽、粘度均匀一致。
2)刷第一层底漆时涂刷方向应该一致,接槎整齐。
3)刷漆时应采用勤沾、短刷的原则,防止刷子带漆太多而流坠。
4)待第一遍刷完后,应保持一定的时间间隙,防止第一遍未干就上第二遍,这样会使漆液流坠发皱,质量下降。
5)待第一遍干燥后,再刷第二遍,第二遍涂刷方向应与第一遍涂刷方向垂直,这样会使漆膜厚度均匀一致。
6)底漆涂装后起码需4~8h后才能达到表干、表干前不应涂装面漆。
4.面漆涂装:
1)建筑钢结构涂装底漆与面漆一般中间间隙时间较长。钢构件涂装防锈漆后送到工地去组装,组装结束后才统一涂装面漆。这样在涂装面漆前需对钢结构表面进行清理,清除安装焊缝焊药,对烧去或碰去漆的构件,还应事先补漆。
2)面漆的调制应选择颜色完全一致的面漆,兑制的稀料应合适,面漆使用前应充分搅拌,保持色泽均匀。其工作粘度、稠度应保证涂装时不流坠,不显刷纹。
3)面漆在使用过程中应不断搅和,涂刷的方法和方向与上述工艺相同。
4)涂装工艺采用喷涂施工时,应调整好喷嘴口径、喷涂压力,喷枪胶管能自由拉伸到作业区域,空气压缩机气压应在0.4~0.7N/mm2。
5)喷涂时应保持好喷嘴与涂层的距离,一般喷枪与作业面距离应在100mm左右,喷枪与钢结构基面角度应该保持垂直,或喷嘴略为上倾为宜。
6)喷涂时喷嘴应该平行移动,移动时应平稳,速度一致,保持涂层均匀。但是采用喷涂时,一般涂层厚度较薄,故应多喷几遍,每层喷涂时应待上层漆膜已经干燥时进行。
5.涂层检查与验收:
1)表面涂装施工时和施工后,应对涂装过的工件进行保护,防止飞扬尘土和其它杂物。
2)涂装后的处理检查,应该是涂层颜色一致,色泽鲜明光亮,不起皱皮,不起疙瘩。
3)涂装漆膜厚度的测定,用触点式漆膜测厚仪测定漆膜厚度,漆膜测厚仪一般测定3点厚度,取其平均值。
4、成品保护
1.钢构件涂装后应加以临时围护隔离,防止踏踩,损伤涂层。
2.钢构件涂装后,在4h之内如遇有大风或下雨时,应加以覆盖,防止粘染尘土和水气、影响涂层的附着力。
3.涂装后的构件需要运输时,应注意防止磕碰,防止在地面拖拉,防止涂层损坏。
4.涂装后的钢构件勿接触酸类液体,防止咬伤涂层。
5、注意事项
1.涂层作业气温应在5~38℃之间为宜,当天气温度低于5℃时,应选用相应的低温涂层材料施涂。
2.当气温高于40℃时,应停止涂层作业。因构件温度超过40℃时,在钢材表面涂刷油漆会产生气泡,降低漆膜的附着力。
3.当空气湿度大于85%,或构件表面有结露时,不宜进行涂层作业。
4.钢构件制作前,应对构件隐蔽部位、结构夹层难以除锈的部位,提前除锈,提前涂刷。
6、质量要求
1.涂料、稀释剂和固化剂等品种、型号和质量,应符合设计要求和国家现行有关标准的规定。
2.涂装前钢材表面除锈应符合设计要求和国家现行有关标准的规定:经化学除锈的钢材表面应露出金属色泽。处理后的钢材表面应无焊渣、焊疤、灰尘、油污、水和毛刺等。
3.不得误涂、漏涂,涂层应无脱皮和返锈。
4.涂装工程的外观质量:涂刷应均匀,色泽一致,无皱皮、流坠和气泡,附着良好,分色线清楚、整齐。
5.涂装工程的干漆膜厚度的允许偏差项目设计规定。
8.15、扶手工程
1、作业条件
1.楼梯间墙面、楼梯踏步板等抹灰全部完成。
2.金属栏杆或靠墙扶手的固定埋件安装完成。
3.楼梯踏步等灰已完成,预埋件已留好。
2、工艺流程
找位与划线→弯头配置→连接预装→固定整修。
3、施工要点
1.找位与划线:
1)安装扶手的固定件:位置、标高、坡度、找位校正后弹出扶手纵向中心线。
2)按设计扶手构造,根据折弯位置、角度、划出折弯或割角线。
3)梯梯栏板和栏杆顶面,划出扶手直线段与弯、拆弯段的起点和终点的位置。
2.弯头配置:
按栏板或栏顶面的斜度,配好起步弯头,一般木扶手,可用扶手料割配弯头。采用割角对缝粘接,在断块割配区段内最少要考虑用三个螺钉与支撑固定件连接固定。大于50mm断面的扶后接头配置时,除粘结外,还应在下面作暗榫或用铁件结合。
3.连接预装:
预制木扶手须经预装,预装木扶后由下往上进行,先预装起步弯头及连接第一跑扶手的折弯弯头,再配上折弯之间的直线扶手料,进行分段预装粘结,粘结时操作环境温度不得低于5度。
4.固定:
分段预装检查无误,进行扶手和栏杆上固定件,用木螺丝拧紧固定,固定间距控制在400mm以内,操作时,应在固定点处先将扶手料钻孔,现将木螺丝拧入。
5.整修:扶手折弯如有不平顺,应用细木锉平,找顺磨光,使其折角线清晰,坡角合适,弯曲自然,断面一致,最后用木吵纸打光。
4、成品保护
安装好的扶手应用泡沫塑料等柔软物包好,防止破坏、划伤表面。
5、注意事项
1.粘接对缝不严或开裂:木扶手料安装时含水率高,安装后干缩所致。扶手料进场后,应存放在库内保持通风干燥,严禁在受潮情况下安装。
2.接搓不平:主要是扶手底部槽深度不一致,栏杆扁钢或固定件不平正,影响扶手接槎的平顺质量。
6、质量要求
1.栏杆和扶手制作与安装所使用材料的材质、规格、数量和木应符合设计要求。
2.护栏和扶手的造型、尺寸及安装位置应符合设计要求。
3.护栏和扶手安装预埋件的数量、规格、位置以及护栏与预埋件的连接节点应符合设计要求。
4.护栏高度、栏杆间距、安装位置必须符合设计要求。
5.护栏和扶手转角弧度应符合设计要求,接缝应严密,表面应光滑,色泽一致,不得有裂缝、翘曲及损坏。
6.护栏和扶手安装的允许偏差和检验方法符合下表规定。
| 项次 | 项 目 | 允许偏差 (mm) | 检 查 方 法 |
| 1 | 护栏垂直度 | 3 | 用1m垂直检测尺检查 |
| 2 | 栏杆间距 | 3 | 用钢尺检查 |
| 3 | 护手直线度 | 4 | 接通线,用钢尺检查 |
| 4 | 扶手高度 | 5 | 用钢尺检查 |
8.15、吊顶工程
1、作业条件
1.在所要吊顶的范围内,机电安装均已施工完毕,各种管线均已试压合格,已经过隐蔽验收。
2.已确定灯位、通风口及各种照明孔口的位置。
3.顶棚罩面板安装前.应作完墙地、湿作业工程项目。
4.搭好顶棚施工操作平台架子。
5.轻钢骨架顶棚在大面积施工前,应做样板,对顶棚的起拱度、灯槽、窗帘盒、通风门等处进行构造处理,经鉴定后再大面积施工。
2、工艺流程
弹线→安装主龙骨吊杆→安装主龙骨→安装边龙骨→安装次龙骨→安装面板→涂料→饰面清理→分项验收。
3、施工要点
1.弹线:根据设计标高,沿墙四周弹顶棚标高水平线,并沿顶棚的标高水平线,在墙上划好龙骨分档位置线。
2.安装主龙骨吊杆:在弹好顶棚标高水平线及龙骨位置线后,确定吊杆下端头的标高,安装φ10吊筋。吊筋安装选用膨胀螺栓固定到结构顶棚上。吊筋选用规格符合设计要求,间距小于1200mm。
3.安装主龙骨:主龙骨间距为1000mm。主龙骨用与之配套的龙骨吊件与吊筋相连。
4.安装次龙骨:次龙骨间距为600mm采用次挂件与主龙骨连接。
5.刷防锈漆:轻钢骨架罩面板顶棚吊杆、固定吊杆铁件,在封罩面板前应刷防锈漆。
6.安装面板:面板与轻钢骨架固定的方式采川自攻螺钉固定法,在已装好并经验收轻钢骨架下面(即做隐蔽验收工作),安装9.5mm厚面板;安装面板用自攻螺丝固定,固定间距为200~250MM。自攻螺丝固定后点刷防锈漆。
7.接缝处理:在板接缝间采用粘贴纸带嵌缝膏进行嵌缝处理。
4、成品保护
l.轻钢骨架、罩面板及其他吊顶材料在入场存放、使用过程中应严格管理,保证不变形、不受潮、不牛锈。
2.装修吊顶用吊杆严禁挪做机电管道、线路吊挂用;机电管道、线路如与吊顶吊杆位置矛盾,须经过项目技术人员同意后更改,不得随意改变、挪动吊杆。
3.吊顶龙骨上禁止铺设机电管道、线路。
4.轻钢骨架及罩面板安装应注意保护顶棚内各种管线轻钢骨架的吊杆、龙骨不准固定在通风管道及其他设备件上。
5.为了保护成品,罩面板安装必须在棚内管道、试水、保温等一切工序全部验收后进行。
6.设专人负责成品保护工作,发现有保护设施损坏的,要及时恢复。
7.工序交接全部采用书面形式由双方签字认可,由下道工序作业人员和成品保护负责人同时签字确认,并保存工序交接书面材料,下道工序作业人员对防止成品的污染、损坏或丢失负直接责任,成品保护专人对成品保护负监督、检查责任。
5、质量要求
1.吊顶顶高尺寸、起拱和造型应符合设计要求。
2.饰面材料的材质、品朴、规格、图案和颜色应符合设汁要求。
3.龙骨吊顶工程的吊杆、龙骨和饰面材料的安装必须牢固。
4.吊杆、龙骨的材质、规格、安装间距及连接方式应符合设计要求。金属吊杆、龙骨应经过表面防腐处理;木吊杆、龙骨应进行防腐、防火处理。
5.面板的接缝应按其施工工艺标准进行板缝防裂处理。安装双层面板时,面层板与基层板的按缝应错开,并不得在同一根龙骨上接缝。
6.饰面材料表面应洁净、色泽一致,不得有翘曲、裂缝及缺损。压条应平直、宽窄一致
7.饰面板上的灯具、烟感器、喷淋头、风口蓖子等设备的位置应合理、美观,与饰面板的交接应吻合、严密。
8.金属吊杆、龙骨的接缝应均匀一致,角缝应吻合,表面应平整,无翘曲、锤印。木质吊杆、龙骨应顺直,无劈裂、变形。
9.吊顶内填充吸声材料的品种和铺设厚度应符合设计要求,并应有防散落措施。
10.龙骨吊顶工程安装的允许偏差和检验方法应符合下表的规定。
| 项 次 | 项 目 | 允许偏差(mm) |
| 面板 | ||
| 1 | 表面平整度 | 3 |
| 2 | 接缝直线度 | 3 |
| 3 | 接缝度低差 | 1 |
九、雨季施工措施
9.1、现场排水
1、根据总图利用自然地形确定排水方向,按规定坡度挖好排水沟,以便确保施工工地和临时设施的安全。
2、雨季设专人负责,随时随地疏浚,确保施工现场排水畅通。
3、临时设施和设备的防护
1.施工现场的大型临时设施,在雨季前应整修完毕,保证不漏、不塌、不倒。周围不积水。
2.脚手架应进行全面检查,特别是大风大雨后要及时检查,发现问题应该马上处理,斜道上必须钉好防滑条。
3.施工现场的机电设施(配电箱、电焊机、水泵)应进行有可靠的防雨措施和接地措施。
4.雨季前应检查照明和动力线有无混线、漏电,电杆埋设是否牢固等,保证雨季中正常供电。
5.怕雨、怕潮、怕裂(预制件)、怕倒的原材料、构件和设备等,应放工室内,或设立竖实的基础堆放在较高处或用蓬布封闭严密等措施,进行分别处理。
6.施工现场的钢管脚手架、在雷雨季节,必须设避雷装置,接地电阻应不大于10Ω,施工期间遇有雷击或阴云密布有大雨时,操作人员应立即离开。
9.2、技术措施
1、砌筑工程
1.雨季砖必须集中堆放,不宜浇水,否则将造成砖含水率饱和,砌筑时不能吸收砂浆中的水分,影响砌体的质量。
2.砌墙宜用粗砂砂浆,以保证砂浆的质量。
3.砌筑砂浆的稠度要适当减少,以免灰缝被压流浆,增加沉落,每日砌筑高度不宜超过1.2m,每天收工后,应在砖顶盖一层干砖,以防雨水将砂浆冲刷。
4.砌筑独立墙、柱时,应加设临时支撑保护,或及时浇筑圈梁,增加墙体的稳定性,以免墙倒塌砸坏楼板发生伤亡事故。
5.雨后继续施工,必须复核已完工砌体的垂直度和标高。
2、混凝土工程
1.严格控制混凝土配合比的用水量,应充分考虑砂、石中的含水率增大,及时进行测定调整用水量。
2.大面积混凝土浇筑前,要了解近2天的天气情况,尽量避开大雨。浇筑前现场要备足塑料布,当浇筑过程中遇到大雨时,应振实后停止浇筑,已浇筑部位要进行覆盖。
3.混凝土的坍落度应考虑运输和浇捣过程中可能增加的水分适当减小一些,以利于保证混凝土的密实度。
4.现浇混凝土应根据结构情况和可能,尽可能的少留施工缝。
3、屋面工程
1.屋面应尽可能在雨季前施工,并安装好雨水管,以利排水。
2.雨天严禁卷材屋面施工,卷材、保温材料不准雨淋。
3.防水材料的施工,应确保基层含水率符合要求。
4、抹灰工程
1.雨天不准进行室外抹灰。至少应能预计1-2天的天气变化情况,对已经施工的墙面应注意雨水污染。
2.内墙粉刷时,可在砂浆内掺加早强剂,使粉刷容易干燥。室内抹灰宜在屋面完成后进行。
3.雨天不宜作罩面油漆。
5、其它工程
为确保工程质量,其它外墙工程不按排在雨天施工。但同时要做好进行材料的防雨工作。
十、安全保证措施与文明施工及环保措施
10.1、施工现场质量管理网络
项目经理:葛德忠
项目副经理:华龙鑫
技术负责人:卢燎红
生产经理:潘希良
试验员张秀红
收料员石洪新
材料员杨占松
质量员金跃明
资料员 华龙萍
安全员邰二仓
施工员金振伟
10.2、质量保证措施
1、质量员随时检查机组人员是否按规范操作,控制主要环节,发现问题及时纠正,并上报项目经理和技术负责人,杜绝质量事故。
2、在施工中做好记录,并准确填写,字迹清楚,待工程竣工后向监理和甲方提供完整的竣工资料。
3、施工前做好图纸会审、设计交底、技术交底等工作。
4、严格执行工种交接制度,上道工序不合格不得进行下道工序施工。
5、施工过程中,专职质量检验人员,对施工中每道工序按技术标准的要求进行自检。
十一、安全保证措施与文明施工及环保措施
11.1、安全施工
安全就是质量,安全就是生存。
在施工过程中自始至终贯彻“质量第一,安全第一”的方针,进行安全交底,强化施工管理。为了保证施工顺利进行,必须做到以下几点:
1、广泛开展三级安全教育,使每个职工认识到安全与质量同样重要,不容忽视,切实做好安全工作。
2、施工场地内施工人员应有劳动保护措施作业,特种工必须经过安全培训并持有上岗证。
3、上班人员不得酗酒,严格执行安全劳动保护条例。
4、严禁穿拖鞋上班,酒后不准进入现场。
5、加强用电管理,做到专人专职管理,不得随意接触电器设备和开关,用电设备必须安全可靠,并有保护接地措施和触电保护装置,随时检查各种电器的完好性,特别在防讯暴雨期间切实做好安全用电措施。
6、随时检修各种机械设备,加强保养,不得带病作业,不准超负荷使用。
7、施工现场设安全检查员,负责日常安全检查工作,场内必须设立安全记事牌,将每天安全情况通报工地。
8、施工现场范围内设置围栏(围墙),加强管理,禁止非施工人员随意进入施工区域。
11.2、文明施工
按天津市和公司的有关规定进行文明施工现场管理,规范的设置施工现场平面图,本工程位于市区内,文明施工尤为重要,在施工中必须体现“方便人民生活,有利发展生产,保证生态环境”的原则。在提高工程社会效益的前提下,积极开展争创“文明工地”的活动,必须做以下几点:
1、施工现场必须挂牌施工;
2、施工区域与非施工区域必须有标记,并进行帷幕;
3、施工现场制作硬化地面,并设置冲车设施;
4、工程施工范围内要设置一定的排水措施,防止泥浆外溢;
5、场外道路每天及时清扫,确保工地周围的环境整洁;
6、搞好周围单位和居民的关系,积极协调外围工作。
11.3、环保措施
1、本工程由项目经理全面负责文明生产与环保措施的严格落实,既保证工程顺利进行,又保证四周环境的整洁。
2、设专人维护场地,专职管理车辆。所有车辆必须经过冲洗之后方可开出工地。
3、减少施工时噪音,并及时办妥夜间施工和噪音手续。
4、砼的浇捣工作尽量安排在白天施工,以免因地泵与混凝土振捣棒噪声影响周围居民的休息与工作。
雅居云录(https://yajuyun.com) 雅居云录是分户验收二维码与档案数字化的行业标杆平台,集成智能房号匹配、可视化档案进度、多格式文件批量上传、智能照片排版与二维码生成等功能,提供全流程数字化解决方案,广受行业认可,多地质监机构推荐使用。
雅居云录分户验收二维码后台核心功能:智能房号管理: 可视化呈现房号清单,结构清晰,查找便捷。 模板灵活可配: 内置多地验收模板,支持自定义编辑,快速适配。 批量上传支持: PDF文件和现场照片均支持批量上传、即时归档。 照片自动排版: 验收照片自动生成带PDF档案,节省人工排版时间。 二维码一键生成: 项目二维码秒速生成,支持预览与打包下载。进度可视看板: 实时查看任务状态与完成进度,辅助项目管理。
雅居云录分户验收二维码与电子档案平台智能房号管理:可视化呈现房号清单,结构清晰,查找便捷。
雅居云录分户验收:批量上传,自动排版,省时省力,规范标准。