目 录
第一章、施工组织设计编制依据及执行规范
第一节、编制依据 ………………………………………………… 4
第二节、执行标准及规范总汇……………………………………… 4
第二章、工程概况
第一节、建筑结构设计概况………………………………………… 5
第二节、气象概况…………………………………………………… 6
第三节、施工条件 ………………………………………………… 6
第四节、工程施工特点……………………………………………… 6
第三章、施工组织管理
- 项目组织体系 …………………………………………… 6
- 组织机构主要部门的职责……………………………… 9
- 管理的几个重要原则…………………………………… 10
- 现场施工的通信联络………………………………………11
第四章、施工部署及平面布置
- 施工准备……………………………………………………11
- 施工平面布置………………………………………………12
- 临时设施安排计划…………………………………………13
- 施工劳动力的安排计划……………………………………13
- 主要施工机械设备及材料配备……………………………14
- 材料供应计划………………………………………………15
- 工程计量检测 实验设备一览表………………………… 16
- 施工现场检验试验计划表…………………………………17
第五章、施工进度计划
- 施工进度计划控制…………………………………………18
- 施工段划分…………………………………………………18
第六章、主要分部分项工程施工方法
- 基础及地下室………………………………………………19
- 地下室人防工程……………………………………………31
- 主体结构工程………………………………………………33
第七章、装饰装修阶段主要分部分项工程施工方法
- 楼地面工程…………………………………………………62
- 门窗工程……………………………………………………72
- 玻璃安装……………………………………………………79
- 外墙面涂料施工……………………………………………80
- 外墙干挂石材………………………………………………82
- 防水工程……………………………………………………84
- 室内砼及抹灰表面刷乳胶漆………………………………86
- 木构件清色油漆工程………………………………………88
- 保温工程……………………………………………………91
第八章、安装工程
- 工程概况……………………………………………………91
- 施工规划……………………………………………………96
- 施工方法与工艺要求………………………………………99
- 质量保证措施………………………………………………111
- 安全保证措施 …………………………………… 115
- 文明施工 …………………………………………………118
第九章、主要施工保证措施
- 质量保证措施………………………………………………120
- 安全保证措施………………………………………………121
- 工期保证措施………………………………………………123
- 环境保护和噪音控制文明施工措施………………………124
- 季节性施工措施……………………………………………126
- 质量通病防止措施…………………………………………128
第十章、新技术应用…………………………………………………129
第十一章、合理化建议………………………………………………130
第十二章、附图
- 施工组织设计编制依据及执行规范
第一节、编制依据
本施工组织设计是根据工程施工合同、工程设计图纸、图纸会审记录、施工验收规范及规程,本公司IS09001-2000质量管理体系文件、青岛市有关部门的规定等进行的编制。
第二节、执行标准及规范总汇
1、《建设工程项目管理规范》 GB/T50326-2001
2、《建筑工程质量验收统一标准》 GB50300-2001
3、《地下工程防水技术规范》 GB50208-2001
4、《地下防水工程施工质量验收规范》 GB50208-2002
5、《建筑装饰装修工程质量验收规范》 GB50210-2001
6、《地基与基础工程施工验收规范》 GB50202-2002
7、《砼结构工程施工质量验收规范》 GB50204-2002
8、《砼质量控制标准》 GB50164-92
9、《砼泵送施工技术规程》 JGJ/T10-95
10、《砌体工程施工质量验收规范》 GB50203-2002
11、《屋面工程质量验收规范》 GB50207-2002
12、《建筑地面工程施工质量验收规范》 GB50209-2002
13、《建筑工程冬期施工规范》 JGJ104-97
14、《高层建筑箱形与筏形基础技术规范》 JGJ6-99
15、《钢筋焊接试验方法标准》 JGJ/T27-2001
16、《建筑结构可靠度设计统一标准》 GB50068-2001
17、《建筑地基基础设计规范》 GB50007-2002
18、《施工现场临时用电安全技术规范》 JGJ 46-88
19、《建筑施工高处作业安全技术规范》 JGJ80-91
20、《建筑施工安全检查标准》 JGJ59-99
21、《建筑工程质量管理条例》
22、《建筑电气工程施工质量验收规范》 GB50303-2002
23、《建筑给水排水及采暖工程施工质量验收规范》 GB50242-2002
- 工程概况
第一节、建筑结构设计概况
青岛市地方税务局海丽花园楼工程是由青岛房产置业开发有限公司代建,青岛市公用建筑设计研究院设计的高层住宅楼。该工程地处青岛高科技园区,西临海尔路,北临同安路,地理位置优越,交通便利,环境优美。建筑造型典雅大方,充分体现了现代建筑风格的特点。建筑设计注重人性化,充分满足采光、通风等生态居住环境的各项要求。
本工程为两栋高层公寓,Ⅰ类建筑。结构安全等级为二级,抗震设防烈度为6度,地下工程防水等级为一级,建筑设防类别为丙类。本工程总建筑面积33574m2,其中,地上为两栋20层公寓,建筑面积22924 m2,层高2.9m;地下为两层停车库,建筑面积10650 m2,设有200个标准停车位。
本工程外墙装饰主要有:高级弹性涂料、铝合金中空玻璃窗、花岗岩挂贴。内装饰室内做法有:磨光花岗岩地面、地砖地面、水泥砂浆楼面等。内墙面主要做法有:混合砂浆墙面、墙砖墙面。外墙及屋面采用欧文斯科宁外墙保温系统。
本工程采用梁式筏板基础,以强风化花岗岩为持力层,主体为20层短肢剪力墙结构,设有2层地下车库。室内隔墙为200厚的加气混凝土墙,外隔墙为200厚的空心粘土砖墙。节能外墙及屋面为欧文斯科宁外墙保温系统;地下车库采用混凝土刚性自防水,并采用高分子聚合物弹性防水涂料和DPS防水液。
本工程设备配套齐全,并设有消防系统、采暖及通风系统、电梯系统,以及现代化的有线电视、电话、对讲门铃及宽带网络系统,是高科技含量较高的现代化建筑,必能充分满足现代生活的各种需要。
第二节、气象情况
青岛市属华北温带沿海湿润气候,受黄海调节影响,冬无严寒,夏无酷暑,历年平均气温12.3。C,春夏多东南风,秋冬多西北风,年平均风速2.8m/s,瞬时最大风速44.2m/s,平均侵袭或影响13次,年平均降雨量711.20mm,近百年最大降雨量1272.7mm,最小降雨量347.7mm,多集中在6~9月份;年降雪量270mm,季节性冻土深度500mm。
第三节、施工条件
1、业主已提供建筑红线、方位测量基准点和高程测量基准点位置。
2、本工程施工现场临时设施的布置详见总平面布置图。
3、现场施工用水由建设单位从城市供水干管接至施工现场,我方进行现场临时用水线路的铺设,根据甲方提供的水源(办公区中部)沿B、C楼周围设直径48的涂锌水管作主管道,分别在各楼段处设D30分管道。主体结构时在各楼段处设10M3水箱及高压水泵抽至各楼层,每二层设一道分管。(详见临时用水平面布置图)
4、现场施工用电由建设单位提供一台足够容量的变电箱,由我方根据甲方要求及现场实际需要计算,经监理和建设单位批准后,进行临时用电主线路和施工现场临时用电线路和铺设工作(详见临时用电施工方案)。
-
- 道路和施工场地采用C20砼,具体见道路施工现场施工方案。
第四节、工程施工特点
本工程属高层建筑,施工日期从2003年9月下旬开始计算,为500天,工期非常紧张。工程质量要求一次验收率达到100%,并且工程质量确保“青岛杯”,争创“泰山杯”,所以必须充分、科学地组织好各工种平行流水、立体交叉作业,才能加快施工进度,按期保质竣工。
第三章、施工组织管理。
第一节、项目组织体系。
公司经理室
公 司 保 证 体 系
负责施工计划、调度管理现场平面管理、安全管理、文明施工、CI管理、土建安装工程技术管理、质量管理、土建与机电、装饰等专业的协调、材料进场质量控制、安全生产、保卫及消防工作,采取强有力的保证措施,以实现项目部和公司的各项目标。
负责总分包合同管理、物资供应与机械设备的管理、工程预结算、项目成本管理、项目财务管理。
建筑安装工程技术管理、施工图的管理、工程签证、材料、设备进场质量控制、资料的编写与管理、编制施工组织设计和各种技术方案,采取强有力的保证措施,以实现项目部和公司的各项目标。
公司职能部门对本工程的质量、安全、进度、成本、资金回收、计量、材料和机械设备的采购和租赁进行全面的管理和控制,采取强有力的保证措施来配合项目部,以实现公司的各项目标。
合约管理体系
专业施工保证体系
项目全过程控制管理
物资设备保证体系
质量安全保证体系
工程项目策划管理
项 目 保 证 体 系
为优质高效地完成本工程,我公司将抽调具有丰富施工经验的管理人员,组成海丽花园B、C号楼工程项目部。该工程将按项目法施工,实行项目经理负责制,以项目合同和成本控制为主要内容,以科学系统管理和先进技术为手段,行使计划、组织、指挥、协调、控制、监督六项基本职能,全面履行与业主签订的施工合同。项目经理部严格按照以ISO9000标准体系来运作,形成以全面质量管理为中心环节,以专业管理和计算机辅助管理相结合的科学管理体制,本着科学管理、优质高速、开拓敬业的原则,以塑造精品为目标,发挥企业集团优势,对工程施工进行综合的管理、组织、协调、控制,确保本工程实现一流的工程质量,一流的施工速度,一流的施工管理,一流的文明施工。出色的实现我单位的质量方针和本工程的质量目标,实现对业主的承诺。附现场管理机构图。现场管理机构网络图如下:
项目经理:佘宗利
技术负责人:江梦策
施工负责人:徐祖标
水电负责
资料员
试验员
安全员
材料员
质检员
预算员
预算员
财
务
泥工工长
水暖共长
电气工长
油漆工长
架子工长
木工工长
木工工长
钢筋工长
第二节、组织机构主要部门的职责。
项目经理部下设施工组、成本核算组、技术组三大组。其职能如下:
施工组:负责建筑安装工程施工进度计划、月计划、周计划的编制,计划执行情况的检查及计划的调整;负责施工生产调度,协调分包单位施工;负责大型机械及垂直运输设备调度;负责安全生产、文明施工、CI规划、临时水电、总平面管理等。控制项目施工质量,进场材料的质量;制定安全防护措施并负责检查验收;同时负责安全管理,主管工程的安全生产、安全保卫及消防工作,负责与环保、环卫、治安、市政等政府职能部门的沟通与协调。
成本核算组:负责总包合同管理;分包及采购供应合同的管理;工程量统计、预决算工作;负责工程款收支的审核;负责成本核算;负责财务工作。负责工程机械配备、使用及维护保养;保证周转料具的供应、运输与保管;负责工程各类材料的确认与采购供应。
技术组:负责建筑安装工程的技术管理;负责各专业、各工种之间的技术协调;解决工程中的技术问题和技术变更,负责施工组织设计和各种技术方案方案编制、对各班组进行技术交底;负责项目工程技术资料的收集与整理;负责计量、检验、试验工作。
各职能负责人在项目经理的统一领导下,各行其责,互相协作,以追求建造精品,创造名牌为己任。为业主提供满意服务;为本单位创效益、争荣誉;为社会留下时代的艺术品
第三节、管理的几个重要原则。
1、根据施工管理的需要,坚定不移地健全机构和人员配置,对施工管理工作进行细化,加强管理的广度和深度。
2、管理工作以职责细分为前提,在细分之后,各级人员据此各自展开工作并进行相互之间协作;领导也可据此对各级管理人员的职务行为进行判别考核,并协调平级之间、上下级之间的工作纠纷。
3、以制度、合同为准绳,规范内部及分包商、供货商之间的关系,使相互调控的尺度明确而严厉,杜绝拖拉、扯皮现象。
4、整个工程的管理工作以工程进度、质量、安全为核心,一切问题的考虑都围绕将工程最快最好建成进行。
5、向业主、分包商提供严格按照合同承诺的管理和服务。
6、严格按照施工合同,加强同业主的联系,按时向业主提交各种报告、图纸、样品和其他资料,并及时将业主指示贯彻到施工环节中去。
7、在健全人员配置的基础上,加强对劳务、分包单位的控制的细度和力度,将其完全纳入我方的预设轨道,从而协调有序地按时完成优质交工目标。
8、加强对管理者本身的管理,把对项目部各方面各级管理人员的管理当作一项单独而重要的管理工作来抓,确保管理机构本身的效率与活力。
9、配置和充分应用先进的通讯、微机及软件等管理辅助工具,提高工作效率。
第四节、现场施工的通信联络
塔吊指挥采用哨、旗及对讲机进行指挥。
混凝土泵采用电铃进行开泵、停泵指挥。
第四章、施工部署及平面布置
第一节、施工准备
- 从合同工期之日起,用5天时间施工机械及工程人员全部进入现场。
- 成立质量管理领导小组,组长佘宗利,副组长徐祖标、江梦策,成员为各工种工长。
- 技术准备。
首先把建设单位提供的控制桩,水准点保护好,具体保护措施用C20围护。
(1)、测量定位:根据图示坐标尺寸及建设单位提供的控制线、点进行定位并确定高程线控制线。
(2)、项目班子及有关技术人员进行会审图纸,对有特殊要求的分项工程编制详尽的技术措施。编制试验计划。
(3)、编制施工组织设计,全面掌握、突出重点,以施工图、施工规范、质量标准、操作规程及业主提供的资料作为组织施工的指导文件。
(4)、编制施工预算、计算各个分部分项工程的工程量,疏通材料供应渠道,分析劳动力和技术力量,建立施工技术、机械管理机构,组织建立质量安全体系,制订详细的施工进度计划。
第二节、施工平面布置
本工程西邻海尔路,北邻同安路。施工现场设置采用彩钢板围护墙,根据现场情况留置两个大门。主大门采用电动门。施工现场平面布置详见总平面图。
1、 施工现场安装塔吊和施工电梯各两台,负责各种模板、钢筋的吊装及其他材料的垂直运输,结构封顶后拆除塔吊。
-
- 工程用砂浆搅拌棚设置在塔吊及施工电梯附近,模板、钢筋成品、半成品安放在塔吊的工作范围内。
- 合理布置生活设施,各种临时设施和办公室布置在建筑物附近,形成相对独立的生活区和办公区,有利于施工管理和平行流水、立体交叉的作业方式。
4、 基坑围护
现场基坑四周围护均采用1米高钢管围护,基坑边外扩500mm设,立杆间距2.0米,2根通长横杆,外刷红、白相间油漆。,根部设砖砌20cm高挡水墙,抹1:2水泥砂浆20厚。
第三节、临时设施安排计划
| 用 途 | 面 积
(M2) |
位 置 | 需用时间 |
| 办公室、会议室 | 350 | 详见平面图 | 03.9.15—05.1.30 |
| 工人宿舍 | 1000 | 详见平面图 | 03.9.15—05.1.30 |
| 食堂 | 120 | 详见平面图 | 03.9.15—05.1.30 |
| 木工棚 | 100 | 详见平面图 | 03.9.15—05.1.30 |
| 钢筋棚 | 100 | 详见平面图 | 03.9.15—05.1.30 |
| 仓库 | 100 | 详见平面图 | 03.9.15—05.1.30 |
| 警卫室 | 10 | 详见平面图 | 03.9.15—05.1.30 |
| 浴室 | 30 | 详见平面图 | 03.9.15—05.1.30 |
| 试块养护 | 20 | 详见平面图 | 03.9.15—05.1.30 |
第四节、施工劳动力的安排计划
由我公司选派技术素质好,能打硬仗的工作班组,合理安排各班组间轮流作业,做到立体交叉施工,保证各主要分部分项工程从时间上、工作面上紧密配合,保证工程质量,优质高速地完成施工任务。
基础、主体结构施工主要以木工、钢筋工、架子工、瓦工、焊工、安装工为主,配备劳力。分别负责钢筋的加工、绑扎、模板制作安装,砼浇筑、围护墙砌筑等分项工程的施工。
装饰、装修、屋面工程施工以抹灰工、木工、防水工、油漆工、门窗安装工等为主,配备劳力。
水、电、暧、通、消防设备安装密切配合土建,根据土建工程施工进度,合理安排各专业工种进行施工,配备各工种劳力,必须满足施工进度要求。
详见下表:
| 工种 | 按工程施工阶段 | |||||
| 基础
阶段 |
主体
阶段 |
内装修 | 外装修 | 竣工
清理 |
备注 | |
| 瓦工 | 60 | 60 | 30 | 30 | 30 | |
| 木工 | 200 | 150 | 60 | |||
| 钢筋工 | 80 | 80 | ||||
| 安装工 | 20 | 25 | 40 | |||
| 架子工 | 15 | 15 | 15 | 15 | ||
| 抹灰工 | / | 80 | 80 | 25 | ||
| 油漆工 | / | 50 | 15 | |||
| 防水工 | 10 | 15 | ||||
| 普通工 | 20 | 20 | 25 | 25 | 30 | |
劳动力需用计划及配档表
第五节、主要施工机械设备及材料配备。
根据本工程的实际情况,主要选用以下机械设备。
垂直运输选用QTZ-80、QTZ-5013塔吊各1台,砼输送泵车2台,双笼施工电梯二台,同时现场配备电渣压力焊机3台,对焊机1台,电焊机3台。
附主要施工机械一览表。
施 工 机 械 设 备 配 备 表
| 序号 | 机械名称 | 数量 | 单位功率 | 合计功率 |
| 1 | 塔 吊 | 2 | 40KW | 80KW |
| 2 | 砼输送泵车 | 2 | 80KW | 160KW |
| 3 | 双笼电梯 | 2 | 44KW | 88KW |
| 4 | 切断机 | 2 | 5.5 KW | 11KW |
| 5 | 成型机 | 2 | 3 KW | 6KW |
| 6 | 钢筋调直机 | 1 | 10KW | 10KW |
| 7 | 电渣压力焊机 | 1 | 53KVA | 53KVA |
| 8 | 电焊机 | 3 | 35KVA | 105KVA |
| 9 | 对焊机 | 1 | 100KVA | 100KVA |
| 10 | 圆 锯 | 2 | 5.5 KW |
11KW |
| 11 | 平刨机 | 2 | 4 KW | 8KW |
| 12 | 压刨机 | 2 | 3 KW | 6KW |
| 13 | 振动机 | 15 | 1.5KW | 22.5KW |
| 14 | 碘灯 | 4 | 3.5KW | 14KW |
| 15 | 办公照明 | 484 | 30KW | 30KW |
| 16 | 生活照明 | 258 | 30KW | 30KW |
| 17 | 高压水泵 | 1 | 7.5KW | 7.5KW |
| 合计:484KW+258KVA | ||||
第六节、材料供应计划:
三大材及其他材料均由施工单位供货。对新型材料及特殊材料采购前,需提前征得建设单位,监理单位同意,办理有关手续后方可采购,材料差价由建设单位承担。
主要材料供应计划表
| 序号 | 材料名称 | 用量 | 单位 | 备注 |
| 1 | 钢材 | 2600 | T | |
| 2 | 木材 | 1200 | M3 | 白松 |
| 3 | C15 | 750 | M3 | |
| 4 | C30 | 5900 | M3 | |
| 5 | C40 | 12400 | M3 | |
| 6 | C45 | 240 | M3 | |
| 7 | 地砖 | 2500 | ㎡ | |
| 8 | 铝合金门窗 | 4700 | ㎡ | |
| 9 | 防水卷材 | 6000 | ㎡ | |
| 10 | 石材 | 5200 | ㎡ | |
| 11 | 内墙瓷砖 | 12000 | ㎡ |
- 工程计量检测、实验设备一览表
| 序号 | 机具名称 | 型号规格 | 单位 | 数量 | 备注 |
| 1 | 电子经纬仪 | 台 | 1 | ||
| 2 | 水准仪 | JS-2 | 台 | 2 | |
| 3 | 温度计 | -20~1000C | 只 | 4 | |
| 4 | 氧气表 | 2.5~25Mpa | 套 | 5 | |
| 5 | 乙炔表 | 0.25~4.0Mpa | 套 | 3 | |
| 6 | 数字式万用表 | DF830 | 只 | 4 | |
| 7 | 绝缘电阻测绘仪 | ZC25B-4 | 只 | 4 | |
| 8 | 游标卡尺 | 0-30㎜ | 把 | 3 | |
| 9 | 塞尺 | 0.02~1.00mm | 把 | 4 | |
| 10 | 水平尺 | 200 | 把 | 6 |
- 施工现场检验试验计划表
| 序号 | 试验项目 | 取样要求组数 | 取样日期 |
| 1-1 | C15配合比 | 使用前商品砼厂家提供 | |
| 1-2 | C40p8配合比 | (同上) | |
| 1-3 | C35配合比 | (同上) | |
| 1-4 | C30配合比 | (同上) | |
| 1-5 | M5混合砂浆配合比 | 1份 | 送原材到实验室,由实验室出配比通知单 |
| 2-1 | 钢材物理检验 | 同一规格、同一型号、同一批号、同一进场时间 | 进场后取样检验,并与合格证数量相等 |
| 2-2 | 钢筋闪光对焊 | 一组/300个焊接头 | 随施工取样送检 |
| 2-3 | 钢筋电渣压力焊 | 一组/300个焊接头 | (同上) |
| 3-1 | 袋装水泥 | 一组/200T | 使用前商品砼厂家提供 |
| 散装水泥 | 一组/500T | (同上) | |
| 3-2 | 石子 | 一组/200m3 | (同上) |
| 3-3 | 黄砂 | 一组/200m3 | (同上) |
| 3-4 | 外加剂 | 每一个品种一组/50T | (同上) |
| 4-1 | C15试块(抗压) | 每一检验批一组/100m3 | 随施工取样 |
| C40p8抗压试块 | (同上) | 随施工取样 | |
| C40P8同条件抗压试块 | 根据现场情况定 | 随施工取样 | |
| C40p8临界强度抗压试块 | 每一检验批, | 进入冬期施工后,
随施工取样 |
|
| C40p8冬期过后转入正常室内养护 | (同上) | (同上) | |
| C40p8抗渗试块 | 不少于2组 | 随施工取样 | |
| C35抗压试块 | 每一检验批一组/100m3 | 随施工取样 | |
| C35同条件试块 | 见混凝土施工方案 | 随施工取样 | |
| C30同条件试块 | 见混凝土施工方案 | 随施工取样 | |
| 5-1 | 回填土 | 1点/20m | 随施工取样 |
| 6-1 | 防水材料(卷材) | 一组/1000卷 | 使用前取样送检 |
| 防水材料(涂料) | 一组/10T | (同上) | |
| 6-2 | 保温材料 | 同一规格不少于两组 | 使用前取样送检 |
| 7-1 | 地砖墙砖 | 一组/1000箱 | 使用前取样送检 |
第五章、施工进度计划
- 施工进度计划控制点
经过对该工程设计图纸的研究,我们设定本工程的总工期500天,计划2003年9月下旬开工,2005年1月31日竣工。为确保按期交付使用,特分设以下几点进度控制点:
- 地下室结构完 2004.1.15
2、 十层结构完 2004.4.30
3、 主体结构完 2004.6.30
4、 内装饰完 2005.1.20
5、 外墙装饰完 2004.11.20
6、 设备安装完 2005.1.10
7、 竣工 2005.1.31
第二节、施工段划分
考虑本工程体量大,标准要求高,科技含量大,由项目部科学管理优化组合,本工程采取分段验收,基础及地下室划分为三个施工段(—、—之间的后浇带):第一个施工段为—轴,第二个施工段为—轴,第三个施工段为—轴。主体结构阶段,以B楼、C楼为两独立的施工段,两楼之间采用流水施工。总体本着先地下后地上,先结构后装修,先湿装后干装的原则。结构施工阶段,土建与安装紧密配合,预留预埋,确保工程于2005年1月31日竣工。
具体工序计划控制详见施工进度计划图。
第六章、主要分部分项工程施工方法
第一节、基础及地下室
1、施工测量
基础开挖前,根据建设单位提供轴线控制点,采用J2经纬仪将本工程主要轴线测到周围建筑物、围墙或地面上,并做好稳固、易保护的控制点,地面上的控制点在控制桩周围用C20混凝土进行保护,四周1000mm范围内采用钢筋栏杆围护,同时做好保护标志。,控制偏差值≤3mm内。就可作为本工程的平面控制依据。
现场水平距离测量,用50m钢卷尺量距,钢尺使用要统一,钢尺要严格水平,拉力一致、钢尺读数时,要从不同起点、终点多次读数,取平均值。
高程测量用DS32自动安平水准仪进行,根据建设单位提供的高程控制点,在本工程周围稳固的建筑物上测设若干个点,以利于施工,根据控制点再用钢尺进行上下传递。
现场所使用测量仪器、量具均必须经过计量监督部门检验,且质量认证的产品,同时须贴上检测标志,否则不得使用。
2、土方工程
本工程的土方开挖由建设单位负责分包,总包单位负责现场施工质量,轴线、标高的控制等。
人工清槽后,经设计单位、勘探单位、建设单位、监理单位施工单位验收,达到设计要求后,办理地基隐蔽验收手续,及时进行基础垫层混凝土的施工。
3、基础结构工程
本工程的基础柱下独立基础、筏板基础,根据现场结构特点:基础部分、墙板采用组合钢模板实地拼装,独立柱、顶板平台模板采用竹胶板铺设,钢管架支撑。
本基础结构工程质量目标,达到优量标准要求。
基础底板施工程序:土方开挖清土完→砌砖模、抹灰,浇筑100mm厚C15砼垫层、20厚1:3水泥砂浆找平压光→底板防水卷材、保护层 → 测量放线、验线→绑扎底板、基础梁钢筋→柱、墙板插筋→支外墙吊模→隐蔽工程上报验收→浇筑基础底板混凝土→混凝土养护。
基础底板四周及配电房内墙的外侧用240mm厚,MU10实心砖,M5水泥砂浆砌筑的砖胎膜,侧面用1:3水泥砂浆抹平压光。基础外侧砖模高800mm,每5000mm设240砖柱一个,配电房内墙处砖模高2000 mm,每3000 mm设置底部长800 mm的斜砖柱一个。
4、钢筋工程
本工程的钢筋加工、制作均在施工现场进行。钢筋进场时须严格控制钢筋的数量及质量,同时必须提供相应材料的出厂质量证明书、合格证及备案证,施工单位按不同炉号及直径分别作材料复检。合格后方可开始成形,如有必要时,钢筋需作化学成份分析检测。
现场钢筋堆放须整齐,离地300mm以上,同时严格按ISO9002系列标准做好现场挂牌标识。
钢筋加工由专业班组施工,根据钢筋加工的翻样样表,结合现行施工规范的要求,使用机械统一加工。成型完的钢筋按品种、型号、规格挂牌堆放。现场所进的盘园钢筋使用冷拉调直,冷拉率不宜大于4% 。工程中所使用的钢筋表面必须清洁,无损伤、油渍等。现场所使用的钢筋出现生锈时,需进行除锈,同时作除锈记录,不得使用锈蚀严重的钢筋。
根据图纸设计要求及现场规范的有关规定,结合本工程的实际情况对基础底板钢筋及小于φ16钢筋的接头采用搭接接头,搭接接头面积率≤25﹪,搭接长度为41d,且不小于500mm,框架柱采用电渣压力焊,接头面积率≤50﹪,梁钢筋接长采用闪光对焊,现场部分接头采用搭接接头。所有剪力墙钢筋的接头采用搭接接头。
为确保基础底板上、下层钢筋间的有效位置,须在上、下层钢筋间设置钢筋马凳。做法尺寸: ФΦ 18@100016@1000梅花状布置。
250
250
200
地下室顶板为双层钢筋配置,所以设置如图:
马凳 Φ12@1000梅花状布置。
100
100
100
钢筋焊接前,必须先进行试焊,试验合格后方可施焊,施工人员必须持证上岗。认真做好施焊过程中的质量控制,按现行规范要求,及时做好试样检验工作。经检验合格后方可进行下一道工序。
绑扎要求:
1)、钢筋交叉点须全部用铁丝绑扎牢固。采用22#镀锌绑丝,钢筋搭接处绑扎点不少于三个点。
2)、柱、梁箍筋均做135°的弯钩,直段部分长度≥10d,应沿受力钢筋方向交错设置,基础地梁箍筋的弯钩应设置在底筋上,施工时请注意。
3)、保护层垫块设置:基础底板下部钢筋保护层50mm、地梁底部钢筋保护层50mm,外墙外侧钢筋保护层50mm,室内:梁-25mm、板墙-15mm、柱-30mm,梁、柱中箍筋和构造钢筋保护层≥15mm,墙板中分布钢筋保护层≥10mm。根据结施1中八、1-(5)要求,保护层大于4mm,加设Φ6@300钢筋网,而地下室外墙及基础底板的板底保护层为5mm,故在主筋与钢筋网间绑扎L=250,Φ20@1000的短钢筋,来控制钢筋网的位置。
钢筋保护层制作:50mm厚的采用C20细石砼制作成60×60×50规格的砼块,设置间距@800mm正方形设置,同时注意在剪力墙下及地梁下须设双排垫块,宽度同墙或梁宽,长度间距@600,以确保垫块具有足够的承受力,不易被损坏,柱、剪力墙及平台板垫块设置间距不大于1000mm,即可满足要求。
钢筋保护层优先采用塑料定位卡,数量同水泥垫块。
4)、柱、墙插筋时,为避免柱、墙插筋在砼浇筑时的位移,要求在上层筏板筋或梁钢筋上弹出柱墙定位控制线,根据控制线将竖筋加以校正。并采用每侧一根附加钢筋(Φ14)与插筋点焊牢固,点焊应不损伤主筋。
5)、钢筋的间距控制:钢筋绑扎前,先按设计间距进行划线,采用自制的钢筋定位卡作间距控制,要求底板钢筋(平台钢筋)的间距允许偏差控制在±20mm内,梁受力钢筋间距控制在±10mm以内。
本工程的剪力墙钢筋均采用搭接接头,搭接长度大于等于36d且不小于500mm。暗柱钢筋均采用电渣压力焊接头,接头面积率为50% 。
6)、 钢筋接头的设置位置宜在构件的最小弯矩处或受力较小的部位。不宜设在梁端、柱端的箍筋加密区范围内。
7)、 钢筋绑扎做到无漏扣、松动现象。对因现场施工原因而产生的钢筋松动、位移,须在钢筋隐蔽验收前修复完毕。
8)、 对于墙体拉结筋、过梁、圈梁等后施工部位均采用预埋钢板埋件,后焊钢筋,并提前做好预埋件的加工,按图纸要求所需位置进行预埋。
9)、 每个分项工程施工完毕,必须由施工班组,质量检查员进行班组自检验收,符合设计及规范要求后,以书面形式通知监理公司、建设单位进行钢筋隐蔽验收,达到要求后及时办理隐蔽验收手续。
10)、施工现场,严禁施工人员踩踏成品钢筋,现场挂有成品保护牌。钢筋绑扎完,及时铺设施工架板,架板放置在用Φ25钢筋制作的长600高500的钢筋马凳上,要求纵横交错铺设,以确保钢筋的成品保护质量。
11)、 平台板上的预留洞口,必须严格按图纸要求作洞口加筋处理。为确保施工安全,除设计要求对预留洞口上的平台筋作直通外,其余在洞口边每1.8m设1根高1200mmΦ16钢筋立柱,采用Φ14的钢筋上下二根分别与立柱钢筋焊接形成洞口防护栏杆。楼梯间,电梯口均按此做法设防护栏杆。
12)、 在钢筋的成品加工、制作、绑扎过程中对多余材料(废料)及时做好清理工作,做到现场清洁。达到文明施工的要求。
5、模板工程
本工程的基础底板四周边模、内外墙采用组合钢模板。独立柱、顶梁、顶板采用竹胶板。模板拼装须严密,不得出现漏浆现象,固定牢靠,模板拼缝处垫海棉条,确保不漏浆。模板支设前须涂刷脱模剂。现场不得使用有变形的模板,组合钢模板之间采用“U”型卡相互连接成整体,要求隔孔上卡且在模板拼缝第一个孔上必须全部上卡,组合模板周边垫上海棉条。在柱、顶板平台模板拼缝处同样垫上海棉条,以确保不出现漏浆现象。
钢模板间采用自制的固模连接钢拉片进行连接。设置间距在下1/4H、竖向@300mm、水平向@300mm设。在中间1/2H、竖向@300mm、水平向@600mm。在上1/4H、竖向@600mm、水平向@600mm。外墙连接钢拉片的中间加焊止水钢片环,模板拆除以后,所有外露连接片均全部剔除。自制的固模连接片尺寸见图。
φ14孔 3×60×60mm 钢板止水环 2厚冷扎钢板
40
φ8
25 25 25 25 25 25
1)模板搭设要求
支模时必须严格按楼面上的定位控制线组织施工。严格控制位置,截面尺寸及标高。
在水平施工缝处,原有吊模模板暂不拆除,继续向上支设,确保接缝质量。
在支设模板前,提前对施工缝处垃圾、杂质、以及钢筋、钢板上的浮浆冲刷干净。经验收达到要求后,方可支设墙模。
模板支架、支撑必须牢固可靠,具有足够的强度、刚度、稳定性。
模板拼装须严密,不得出现漏浆现象,表面平整。
对不符合模数处,加工成定型模板,不得采用碎拼方法,且固定牢固。
平台板模板铺设,根据设计平台厚度为250mm。现确定立杆的设置间距≤700mm。水平连接杆离地250mm。顶部根据顶板标高确定,中间部分水平连接杆上、下间距不大于1800mm设置。平台支撑系统中的立杆凡是有接杆的地方,上端与水平杆连接的地方,均需加保险卡。水平杆最上最下一道纵横向均全部设。中间道水平杆可间隔设置。由于地下层高较高,所以设置斜向剪刀撑。每间不小于三道。
竹胶板底部需铺设白松木方料,间距不大于400mm。以防竹胶板变形,影响工程质量。竹胶板接缝处必须平整。高低差不大于1.5mm,用胶带纸封贴接缝。
模板支设完,及时组织班组自检,达到要求后。上报项目部进行专检。达到优良标准要求后,以书面形式上报监理进行验收合格后方可下工序施工。
2)模板的拆除
梁、平台板模板的底模必须待混凝土强度达到GB50204-2002规定要求,经项目总监同意,拆模申请报告批准后方可拆除。
梁、柱、墙板模板的侧模拆除时间确定,应保证混凝土强度达到在拆模及施工过程中,混凝土表面、棱角不被破坏为宜(砼强度大于1N/mm2)。模板拆除以后,柱、墙阳角用50×15mm木材线条保护。
模板拆除的顺序和方法,应按照配板设计的规定进行,遵循先支后拆,先非承重部位,后承重部位以及自上而下的原则。拆模时,严禁用大锤和撬棍硬砸硬撬。
拆模时,操作人员应站在安全处,以免发生安全事故,待该片(段)模板全部拆除后,方准将模板、配件、支架等运出堆放。
模板拆除后,各周转材料须认真堆放整齐。同时做好模板的修整及涂刷脱模剂工作,以便下次使用。以达到现场文明施工的目标。为争创“文明工地”打下良好的基础。
6、混凝土工程
本工程砼设计标号C40,筏板、基础梁及地下室外墙、柱为抗渗砼,标号S8,根据施工部署,基础砼分三次浇筑,每一施工段连续浇筑一次完成,本工程所有砼均采用预拌商品砼,配合比由砼的供应方提供,经甲方、监理认可后方可使用,供应方必须是经市质量监督部门认可的搅拌站,并严格执行国家及省、市的有关标准要求及规定。
1)施工准备: 砼浇筑前必须完成所需要隐蔽部位的钢筋、预埋件、予留洞等验收,做好隐蔽验收记录,检查模板是否牢固可靠,垃圾清理干净,必须符合要求后才能施工;对工人进行技术、质量、安全交底;提前与砼供应商联系确定砼供应的时间、质量要求,应同时联系二家砼供应商,确保砼的连续浇筑。
砼泵车的布置: 根据本工程的情况,砼泵车设二台,分别放在地下室东北角和C楼西北角。输送管的布置尽量少用弯管和软管,垂直的立管不应在中间设弯管以减少泵送阻力,砼泵的位置与垂直立管应有一段水平距离,一般不小于15m。
2)砼的质量控制及检验:砼进场浇筑前,首先请供应商提供砼原材料检验报告, 复查合格后方可使用, 检查砼在交货地点的坍落度(每车次均检查)、和易性、数量及泌水性,塌落度经时损失应为±30mm,发现质量问题的均作退货处理,并做到及时正确地反馈到搅拌站给予纠正。严禁擅自向砼内加水。
认真做好坍落度的实测工作,由专责试验员负责控制,同时记录好每车砼的坍落度数据,运输时间,列入技术资料。
认真做好砼在交验过程中的试块留置工作,试块留置的数量按GB50204-2002执行,并记录好试块取样混凝土的浇注部位,现场同条件试块留置必须具有代表性,且不少于3组,同条件养护试块在达到等效养护龄期时进行强度试验,等效养护龄期按日平均温度逐日累计达到600ºc.d时所对应的龄期,等效养护龄期不小于14天,也不大于60天,标准养护试块养护须设在标准养护室内,养护28天进行试压。
3) 砼浇筑、振捣:
当各项准备工作完成后,即可浇筑,砼泵开机运转正常后,先泵送适量的水,以湿润砼泵的料斗、活塞、及输送管,检查无异常后再用与砼同标号的砂浆润滑料斗、活塞、及输送管,砂浆应分散布料,不得集中浇筑在一处。砼泵送应连续进行,不得中断,如必须中断,则中断时间不能超过砼的初凝时间。
泵送砼应由远而近浇筑,连续进行不留施工缝。柱、墙根部洒水湿润但不得有积水,然后再铺50-100mm厚的同标号砂浆接浆,砼浇筑的自由下落高度应不大于3m,否则必须用窜管或溜槽,砼平仓统一要求达到二遍、并搓细毛,表面平整,以柱筋上的红漆标志的标高控制砼面标高。
砼浇筑时的人员配备:负责钢筋整修2人,负责模板2人,架子工4人,振捣工:墙板8人,平台板4人,后台放料助伐工2人,同时根据现场养护要求配备砼工、布料工等。现场指挥人员:总指挥1人,技术质量员1人,试验员2人,安全值班员1人,机修电工各1人。
砼振捣使用插入式振动器,分层浇筑分层振捣,砼厚度应不超过振动棒长的1.25倍,在振捣上一层时,应插入下一层中5cm左右振捣上一层砼时,要在下层砼初凝前进行。每一插点要掌握好振捣时间,一般为20-30s,最短不应少于10s,但应视砼表面呈水平不再显著下沉,不再出现气泡,表面泛出灰浆为准。振动棒插点要均匀排列每次移动位置的距离应不大于震动棒作用半径的1.5倍(震动棒作用半径为30-40cm),不得漏振。
4)砼的施工缝处理: 有抗渗要求的部位,根据设计要求,外墙水平施工缝和后浇带处设置3mm厚400mm宽的通长钢板止水带。
钢板止水带图示:
3×400mm止水钢板
施工缝
在浇筑后浇带处砼时,先对砼表面进行凿毛,清洗干净,用与比原砼标号高一级的微膨涨砼浇筑,且用与砼同标号水泥砂浆作施工缝积浆处理。
该工程的后浇带施工前必须把后浇带中的赃物和砼的表面松动的石子松散物清理干净,提前一天浇水充分湿润,接缝处的混凝土应仔细振捣密实。保证砼的连接。
在后浇带施工时必须按设计部门的要求待主体施工完后两个月方可施工。后浇带砼浇注完毕,同条件试块强度达到100%,方可拆除后浇带模板、支撑。此前,后浇带范围跨度内的梁、板、支撑不允许拆除。
5)商品砼泵送的施工要点:
a. 开始泵送时,砼泵应处于慢速、匀速并随时可能反泵状态,待各系统运转顺利后再正常速度进行砼泵送。
b.泵送施工时,应规定统一联络信号,做到统一指挥和调度,以保证顺利施工。
c.砼泵送应连续进行,如须中断时,其中断时间不得超过砼从搅拌至浇筑完毕所允许的连续时间。布料设备不得碰撞或直接搁置在模板上。
d.砼泵送过程中,不得把拆下的输送管内的砼撒落在未浇筑的地方。
e.砼的上、下层浇筑间歇时间,不得超过砼的初凝时间。当下层砼初凝后,浇筑上层砼时,应按留设施工缝的规定进行处理。
f.根据砼的泵送高度,选择砼施工现场所需的坍落度。
| 泵送高度M | 30以下 | 30~60 | 60~100 |
| 坍落度mm | 100~140 | 140~160 | 160~180 |
请参照下表:
5) 砼的养护
为保证已浇筑好的砼在规定龄期内达到设计要求的强度,并防止产生收缩裂缝,必须认真做好养护工作。本工程地下室砼有抗渗要求,因此,浇水养护的时间不得少于14天,覆盖浇水养护必须在砼浇筑完毕后的12h内进行,浇水次数应根据能保证砼处于湿润状态来决定。由于砼硬化期间的水化热产生的温度变化和砼收缩的共同作用,由此产生的温度收缩应力,就成为出现砼裂缝的主要因素。因而根据工程的特点,要严格做好砼的养护工作,设法降低砼的内外温差,把砼的内外部温差控制在25℃以内,尤为重要,因此,为保证砼质量,在浇水养护的同时加盖草帘子或薄膜纸等。
顶板平台养护,采用浇水养护,派专人负责24小时轮班浇水,养护水用饮用水,墙、柱、梁立面砼养护采用涂刷养护剂,模板拆完随时跟上,同时做好养护记录。
6)砼质量缺陷的处理
砼工程的施工不可避免地存在某许缺陷,为保证工程质量不受影响,必须认真处理,对数量不多的蜂窝、麻面、露筋、露石的砼表面,进行清理后可用1:2-1:2.5水泥砂浆抹面修正;对烂根、蜂窝比较严重或露筋较深时应除掉附近不密实的砼和突出的骨料颗粒,用清水冼刷干净并充分湿润后,再用比原强度等级高一级的细石砼填补并仔细捣实,对上述缺陷的处理,必须经监理、甲方检查验证同意后,并出具施工方案,方可进行。
对孔洞事故的补强,必须会同设计单位、甲方、监理共同验证,确定处理方案,及时完成,并做好隐蔽记录。
7.地下室底板、外墙防水工程
本工程地下防水采用涂料防水,其特点:重量轻;耐候性、耐水性、耐蚀性优良;适用性强,对各种形状部位均可涂布形成无缝的连续封闭的防水膜;冷作业,施工操作安全、简便,且易于维修;但存在涂布厚度不易做到均匀一致,抵抗结构变形能力差,与潮湿基层的粘结力差等问题。
防水涂料的施工, 应先了解所选涂料及配套材料的性能, 在此基础上确定作法及施工工艺;按涂料性质及设计厚度确定涂料施工分层厚度,以及涂刷间隔时间;施工顺序应遵循〞先远后近、先高后低、先细部后大面、先立面后平面的〝原则以利涂膜质量及涂膜保护;涂料施工最佳气温为+5-+30ºC,不宜在雾雨、雪、大风等恶劣天气进行施工,如遇突然下雨、刮风,应立即采取遮盖措施将已施工的涂层遮盖好,对被破坏的涂层 应在天气转好后进行重涂予以修补。已施工的防水层应予保护,在养护期内不得上人行走,禁止在涂层上放置物品。
防水涂料的基层要求及处理;基层应坚实有一定强度,清洁干净表面平整光滑无松动,对于残留的砂浆或突起物应以铲平,不许有凹凸不平和起砂现象;阴阳角处应抹成圆弧形;基层含水率应小于9℅。
涂料防水的质量要求:原材料应有出厂合格证、质量保证书、现场复检合格证,防水层与基层粘结牢固,厚薄均匀,无空鼓、开裂脱层,厚度符合设计要求,无渗漏水现象,保护层质量符合规范要求。
防水工程施工详细措施待确定防水涂料后的专项施工方案。
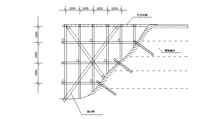
8.地下室脚手架工程
地下室脚手架 采用落地式双排钢管脚手架,材料采用外径48MM,壁厚3.5MM的钢管,质量符合国家标准《GB700-88》的规定,每根6M长的标准钢管最大质量不应大于25KG,并有出厂合格证,管面要求无凹凸状,无疵点、裂缝及变形,对弯曲、压扁、锈蚀严重的禁止使用,并在搭设前将钢管全部油漆成黄颜色。
扣件用可缎铸铁材质,符合国家《GB15831》规定要求,并具有出厂合格证。使用时必须勤检查,不得有裂缝、变形缩松、滑丝等缺陷,圆弧差异不得超过±0.5MM,铆钉允许偏差0.5MM,且铆合良好。
地下室外脚手架采用双排落地脚手架,立杆纵向间距1500MM,立杆横向间距950MM,每步架高1800MM,立秆底部用铸铁标准底座,支撑于坚实基层上,如遇软弱基层,先夯实再铺50×200MM的通长木板,然后再搭设立杆,在离地0.2M处,内外立杆均设扫地杆,立杆、大横杆的接头应错开,立杆的垂直度偏差不得大于1/200,架子与墙体的连接用Ф48钢管与立杆连接,水平方向间距6000MM,垂直方向每4000MM设一道,在脚手架各转角端部开始用4500-6000的脚手钢管设置剪力撑,从底部开始连续设置,每道剪力撑宽度不小于4跨,斜杆与立杆的倾角宜在45°-60°之间,作业层连续铺设竹笆,外侧立面用密目安全网封闭。
本工程施工场地狭小,而工程面广,量大,各种材料没有空间堆放,故考虑在外脚手架与基坑壁之间搭设满堂架子,面铺5CM木板,作为材料的临时堆放及施工场地。
满堂架子材料要求同外脚手架,搭设方法,立杆的纵横间距1200MM,横杆步距1800MM,横向横杆一端与外脚手架连接,另一端与基坑护坡预留的钢筋锚杆连接,锚杆竖向间距1800MM,横向间距2400MM,纵向连续搭设剪力撑,横向每三跨搭设一道剪力撑,架子的搭设高度为基坑底至室外自然地坪,架子顶面全部用5CM厚木板铺设,满堂架子剖面图示如下:

9、回填土工程
1、施工准备
(1)材料
土不得含有有机杂质。土使用前应过筛,土其粒径不大于15mm,含水量应符合规定。
(2)作业条件
a.回填前,应对基础墙和地下防水层、保护层等进行检查验收。并办好隐检手续。而且混凝土应达到规定强度,方可进行。
b.施工前应根据工程特点、填料种类、设计压实系数(压实系数由设计院规定)、施工条件等合理确定填料含水率控制范围,铺土厚度和打压遍数等参数。重要的填方工程,其参数应通过压实试验来确定。应做好水平高程标志的设置。如在基坑(槽)或沟边坡上每隔3m钉上水平橛;散水的边墙上钉好标准高程木桩。
2、操作工艺
(1)填土前应检验其含水量是否在控制范围内:如含水量偏高,可采用翻松、晾晒等措施;如回填土的含水量偏低,可采用预先洒水润湿等措施。
(2)回填土应分层铺摊和夯实。每层铺土厚度和夯实遍数根据压实系数和机具性能确定。蛙式打夯机每层铺土厚度为200~250mm;人工打夯不大于200mm。每层至少夯打三遍。分层夯实时,要求一夯压半夯。
(3)基础槽回填土,必须清理到基础底面标高,才能逐层回填。并且严禁使用浇水使土下沉的所谓“水夯”法。
3、质量标准
根据《建筑地基基础工程施工质量验收规范》GB50202-2002中6.3土方回填的规定,有技术质量人员根据划分的检验批进行严格的检查。
4、成品保护
(1)施工时,应注意保护定位标准桩、轴线桩、标准高程桩,应妥善保护,防止碰撞位移。
(2)夜间施工时,应合理安排施工顺序,有足够的照明设施,防止铺填超厚,严禁汽车直接倒土入槽。
(3)基础或管沟的现浇砼应达到一定强度,不致因填土而受损失时方可回填。
5、应注意的质量问题
(1)未按要求测定干土的重力密度。回填土每层都应测定夯实后的干土重力密度,检验其压实系数和压实范围,符合设计要求后才能铺摊上层土。试验报告要注明土料种类,试验日期,试验结论,试验人员。未达到设计要求部位应有处理方法和交验结果。
(2)回填土下沉。因虚铺超过规定厚度或,夯实不够遍数。
(3)管道下部夯填不实。管道下部应按要求填夯回填土,漏夯或不实造成管道下方空虚,易造成管道折断,渗漏。
- 地下室人防工程
1、钢筋工程
本工程地下负二层为人防工程,地下室人防工程的各分项工程除满足第一节中各项要求外,还必须符合以下要求:
现场所进的盘园钢筋不得使用冷拉调直,必须采用钢筋调直机。工程中所使用的钢筋表面必须清洁,无损伤、油渍等。现场所使用的钢筋出现生锈时,需进行除锈,同时作除锈记录,钢筋的除锈同样不得使用冷拉法,因冷拉不能控制拉伸率,也不能控制强度,易造成钢筋的脆变,在接受核爆动荷载作用时,达不到设计承受能力,将会使结构遭到脆性破坏,必须使用电动除锈机,也可使用手工除锈,用钢丝刷、砂盘等。在除锈过程中发现钢筋表面的氧化铁皮磷落现象严重并已损伤钢筋截面,或在除锈后钢筋表面有严重的麻坑、斑点伤蚀截面时,严禁使用。
钢筋工程施工中,不得任意用钢筋等强度代换法进行钢筋间的代换,如要进行代换,必须经设计单位同意。
在核暴动荷载作用下,结构瞬间受正、负荷载作用,受拉与受压钢筋有一次相互转换。拉结筋可保证受拉筋与受压筋的共同作用。密置的拉结筋可防止碎块脱落,保持混凝土的整体性,以保证构件在延性状态下发挥抗弯作用,不设或少设拉结筋,必将降低结构的抗力。人防工程的拉结筋严格按人防设计施工。
底板的钢筋支架底角,应垫在垫块上,不能直接支到垫层上,否则就要在支架立柱靠近下端焊上止水翼环。
人防要求设置的埋件及门窗安装位置必须正确。
2、模板工程
钢门框固定支撑件要落在砼垫层上,不许支撑在钢筋网的上层网片上。防护门框安装垂直度允许偏差为5mm,平整度允许偏差为2mm,安装时越小越好,在下道工序施工前,认真检查,发现问题及时纠正。
门框四周配摸时,对缝隙必须用海棉或其他填充物填充,以防漏浆,门框与砼墙面一样平。封堵门槛前设计要求留设的500×150(宽×深)沟槽位置必须正确。
在水平施工缝处,原有吊模模板暂不拆除,继续向上支设,确保接缝质量。
在支设模板前,提前对施工缝处垃圾、杂质、以及钢筋、钢板上的浮浆冲刷干净。经验收达到要求后,方可支设墙模。
对不符合模数处,加工成定型模板,表面必须光滑,刷好隔离剂,且固定牢固,不得采用碎拼方法。尤其是口部通道、扩散室、除尘室、滤毒室、冼消室等部位,要求顶板、墙面、地面平整光滑,施工时必须细致操作。
外墙及临空墙支模固定用的连接钢拉片,其中间必须带有止水钢片。
拆模时,严禁用大锤和撬棍硬砸硬撬。对污水池、集水坑等部位模板必须认真拆除、清理,以防杂物堵塞管道。未清理干净前不得进水。
3、水电暖安装
对 风、水、电安装工程要认真阅读设计图纸,预留、预埋套管不得漏装。风套管出墙面100 mm,电套管露出墙面55 mm水套管露出墙面同抹灰层厚
套管要除锈,先检查无裂缝,尽可能用无缝钢管,外墙、临空墙上必须设穿墙套管时,套管上加密闭翼环止水,翼环周边与套管间应满焊。套管加工完后,在其外壁刷冷底子油一遍。
穿墙套管的轴线和标高测定后,把套管与周围钢筋点焊牢固,管子的中心线与墙面垂直。
在砼浇注时要有专人负责看护,防止套管位移,套管周围砼要振捣密实,把周围空气除掉,以免造成渗水通道。
第三节、主体结构工程
一、施工测量的控制:
本工程为高层建筑,为确保工程质量,达到现行施工验收规范要求,现场的施工测量工作尤为重要,必须认真对待,严格控制。测量的内容包括平面控制、垂直度控制、高层控制、沉降观测。
1、平面控制
定位轴线的测设,根据地下室施工时的控制线,8轴左侧1800 mm,J-M轴间距M轴6100 mm及D-E轴距D轴2500 mm的三条控制线分别作为BC楼的控制线,采用内控法,分别在BC内控制线两端点适当位置各设四个基准点,以上每层在基准点处设200×200 mm的通视孔,用线锤逐层往上投提,并用JC-100激光垂直仪进行复核,以后每五层将控制线测引到各层外边缘,再用经纬仪在建筑外侧对控制线进行复核,轴线位移控制偏差小于3 mm。一层底板施工时,在基准点处预埋150×150×5铁件,上刻划“十”字标志,作为控制投测点,四周砌墙加以保护。现场水平距离测量,用50m钢卷尺量距,钢尺使用要统一,钢尺要严格水平,拉力一致、钢尺读数时,要从不同起点、终点多次读数,取平均值。经现场复核控制点标志无误后,就可作为本工程的平面控制依据。同时须做好每次测量、放线的验收记录。
2、垂直度控制
垂直度复核控制从外墙面阳角处作控制线,距阳角300~200m作复核控制线,待模板拆除后用经纬仪向上引测,弹上复核控制线,从而确保垂直精度,达到控制垂直度的目的。
3、高程控制
高程测量用DS32自动安平水准仪进行,根据地下室施工时在塔吊基础上设标高控制点,配合50m钢尺,将高程逐层向上传递,再用水准仪将高控制点向水平方传提。
现场所使用测量仪器、量具均必须经过计量监督部门检验,且质量认证的产品,同时须贴上检测标志,否则不得使用。
4、测量允许偏差
根据《混凝土结构工程施工质量验收规范》GB50204-2002表8.3.2-1层轴线位置位移允许偏差基础≤15mm,柱、墙、梁≤8㎜,剪力墙≤5㎜,标高每层允许偏差,层高≤5M时,≤ 8㎜,层高>5M时,≤10㎜,全高偏差≤H/1000且≤30㎜,施工过程中,精确进行垂直度控制、从而达到总体控制的目的。
每次测量放线完成后,请监理单位进行验收并及时填写施工测量记录。
5、沉降观测
本工程的沉降观测的位置设置及观测记录须由建设单位委托有关部门负责。
二、钢筋工程
1、钢筋的现场验收
本工程的钢筋加工、制作均在施工现场进行。钢筋进场时须严格控制钢筋的数量及质量,同时必须认真检查材料的出厂质量证明书、合格证、备案证。普通钢筋质量应符合现行国家标准《钢筋混凝土用热扎带肋钢筋》GB1499和《钢筋混凝土用热扎挂光圆钢筋》GB13013的规定。钢筋进场后,按规范规定和国家有关鉴证检测的文件作材料复试。复试合格后方可开始成形。在钢筋加工过程中如发生脆断或焊接性能不良时,钢筋停止使用,钢筋作化学成份分析检测。
本工程抗震等级为二级,纵向受力钢筋强度实测值应满足以下要求:
(1)、钢筋的抗拉强度实测值与屈服强度实测值的比值不应小于1.25;
(2)、钢筋的屈服强度实测值与强度标准值的比值不应大于1.3。
当不满足以上要求时,钢筋不允许使用。
2、钢筋的储存
钢筋场内存储,加工好的钢筋应根据钢筋的牌号,直接分批堆放在有实心砖砌成的高30cm间距2m垄上并加以覆盖,以避免污染、生锈,严禁乱堆乱放。每堆钢筋处均严格按ISO9002系列标准做好现场挂牌标识,标明该钢筋的规格、型号、工程使用部位等,以免混淆。加工成型好的钢筋应尽快吊至工程施工部位。
3、钢筋加工
(1)、钢筋加工前先根据图纸放样配料,技术人员检查放样配料单,并检查进场的钢筋与配料单是否相符。
(3)、基础、梁、板主筋采用闪光对焊连接,超长钢筋可采用闪光对焊与搭接相结合。地下室柱主筋采用电渣压力焊进行接长。
(4)、现场所进的盘园钢筋使用冷拉调直,冷拉率不宜大于4% 。
(5)、焊工须持有焊工上岗证,操作前先进行试焊,试验检验合格后方可进行施工焊接。
(6)、 在钢筋的成品加工、制作、绑扎过程中对多余材料(废料)及时做好清理工作,做到现场清洁,达到文明施工的要求。
(7)、本工程为二级抗震结构,箍筋应做1350弯钩,其弯弧内直径不应小于钢筋直径的2.5倍,也应不小于受力钢筋直径。弯钩平直部分长度不应小于箍筋直径的10倍,钢筋做不大于900的弯折时,弯折处的弯弧内直径不应小于钢筋直径的5倍。
(8)、钢筋加工的形状、尺寸、偏差,每工作班同一类型的钢筋、同一加工设备抽查不少于3件。钢筋加工允许偏差:受力钢筋顺长度方向全长的净尺寸±10㎜;弯起钢筋的弯折位置±20㎜;箍筋内净尺寸±5㎜。
4、钢筋绑扎
(1)、柱、墙插筋时,为避免柱、墙插筋在砼浇筑时的位移,要求在上层筏板筋或梁钢筋上弹出柱墙定位控制线,根据控制线将竖筋加以校正。并采用每侧一根附加钢筋(Φ14)与插筋点焊牢固,点焊应不损伤主筋。 因本主体工程采用大模板吊装施工,先浇筑柱、墙板砼,后浇筑平台板砼。所以在墙板砼浇筑过程中须严格控制剪力墙及暗柱钢筋的位移,派专人负责此项工作。
(2)、钢筋的间距控制:基础底版和现浇楼板钢筋绑扎前,先按设计间距进行划线,柱、墙采用自制的钢筋定位卡作间距控制,要求底板钢筋(平台钢筋)的间距允许偏差控制在±20mm内,柱、梁受力钢筋间距控制在±10mm以内。
(3)、 钢筋接头的设置位置宜在构件受力较小的部位。同一受力纵向钢筋不宜设置在两个或两个以上接头。接头末端至钢筋弯起点的距离不应小于钢筋直径的10倍。设置在同一构件内的焊接接头宜相互错开35d(d为纵向受力钢筋的较大直径)且不小于500㎜。焊接接头不宜设在梁端、柱端的箍筋加密区范围内。
(4)、同一构件中相邻纵向受力钢筋的绑扎搭接接头宜相互错开。绑扎搭接接头中钢筋的横向净距不应小于钢筋直径,且不应小于25㎜。钢筋绑扎搭接接头连接区段的长度为1.3ll(ll为搭接长度),纵向受拉钢筋搭接接头面积百分率应符合设计要求,当设计无具体要求时,应符合下列要求:a、对梁类、板类构件,不宜大于25%,b对柱类构件,不宜大于50%。
(5)、 钢筋绑扎做到无漏扣、松动现象。对因现场施工原因而产生的钢筋松动、位移,须在钢筋隐蔽验收前修复完毕
(6)、钢筋的焊接接头质量应符合《钢筋焊接及验收规范》JGJ18的规定,焊接接头应做力学性能检验。
(7)、梁筋应在模板上标出箍筋位置。
(8)、柱筋、梁筋、板筋搭接部分至少绑扎三点,底板及双向受力的钢筋网须逐点绑扎,柱梁的箍筋与主筋交叉点均须绑牢,铁丝扣之间要成八字形。梁的纵向受力主筋采用双排布置时,中间垫以直径25短钢筋,
(9)、在墙或板中设有预留洞时,应按照图纸进行施工,如洞口较小,主筋可从洞的一侧绕过;如洞口较大,则按图纸要求对洞口周围进行加固补强。
(11)、考虑大模板施工, 对于墙体拉结筋、过梁、圈梁等后施工部位均采用预埋钢板埋件,埋件规格:墙拉筋为5×100×200㎜,过梁、圈梁 、构造柱为5×200×200㎜,对外挑窗台板、外挑空调板、外挑雨蓬均作后浇处理,先预埋5×100㎜通长钢板埋件,后焊钢筋,并提前做好预埋件的加工,按图纸要求所需位置进行预埋。在钢筋验收以前,技术人员认真检查预埋件是否有漏放、错放。
(12)、钢筋绑扎质量符合《混凝土结构工程施工质量验收规范》GB50204-2002中5.5.1条和5.5.2条的规定。
5、钢筋保护层厚度的控制:《混凝土结构工程施工质量验收规范》GB50204-2002附录E要求对钢筋的保护层 进行结构实体检验,为确保钢筋保护层厚度符合规范要求,采取以下控制措施:
(1)、保护层垫块设置:梁25mm、板墙15mm、柱30mm,梁、柱中箍筋和构造钢筋保护层15mm,墙板中分布钢筋保护层10mm。纵向受力钢筋保护层的允许偏差,梁类构件+10㎜-7㎜,板类构件+8㎜-5㎜,
(2)、钢筋保护层制作:采用1:2水泥砂浆制作,设置间距800mm正方形设置,同时注意在剪力墙下及地梁下须设双排垫块,宽度同墙或梁宽,长度方向间距600㎜,以确保垫块具有足够的承受力,不易被损坏,柱、剪力墙优先采用塑料定位卡,80cm梅花状布置,平台板垫块设置间距不大于1000mm,即可满足要求。
(3)、为保证基础底板、楼板及悬挑板上层钢筋间的有效位置, 设置钢筋马凳的做法如下: 采用Ф12焊成马凳(基础底版采用Ф16钢筋),凳脚间距500mm。在平台负筋每侧设置1根通长马凳,在双层平台筋时,顺长跨度方向设置每1000mm宽1根通长马凳。从而确保平台筋不易被踩坏,确保工程质量。
(4)、施工现场,严禁施工人员踩踏成品钢筋,现场挂有成品保护牌。钢筋绑扎完,及时铺设施工架板,架板放置在用Φ25钢筋制作的长600高500的钢筋马凳上,要求纵横交错铺设,以确保钢筋的成品保护质量。
(5)、混凝土浇注时,派专人调整钢筋。
三、模板工程
本工程±0.00以上为20层,层高为2.9m,总标高66.3m、67.3m。结构类型为短肢剪力墙结构,各层结构形式基本相同。主体结构墙板采用大模板施工,梁、板模板采用竹胶板及钢管支撑体系。为减小因模板底部所垫木方变形造成施工质量的下降,使用的木材均为白松。
1、大模板的施工
(1)、模板设计使用说明:
根据本方案设计后,结构砼可达优质清水墙效果,表面平整光滑、颜色一致、阴阳角方正、顺直、无漏浆现象,省去原有的抹灰层做法,避免了以往抹灰的空鼓现象,并缩短施工周期。
根据本工程的层高要求:配置标准大模尺寸:1200×3000用于内墙模,1200×3300mm用于外墙模,再根据剪力墙的净尺寸配置阴阳角模及调节大模。这样就可完整地配置成一道大模板组装体系。大模板制作采用6厚面板,8[槽钢骨架及夹筋。根据内外墙厚度配置相应的穿墙螺栓,采用45号钢直径30mm梯型扣锥型(大小头)螺栓。由螺母、垫片、插销、螺杆组成穿墙螺栓。
标准大模板的骨架及加工做法详见附图。
(2)、阴阳角模与大模板的连接:
阳角模板和附墙柱角模可采用固定式角模,用M16螺栓连接在组合大模上。这样才能保证阴阳角的棱角垂直方正,墙内阴角采用可调式阴角模,以适应墙厚的变化。 阴、阳角模的做法详见附图。
(3)、预留洞口模板组合:
洞口4个阴角均配置6厚钢板角模,中间可根据洞口尺寸的变化配置相应的竹胶板调节模,通过用M16螺栓连接形成洞口配套模板,当洞宽大于>700mm时,中间加顶撑,当洞高大于600mm时加一道水平支撑,大于1000mm时,加二道水平支撑。依此类推,但必须确保预留洞口的垂直、方正、无移位现象。洞口大模组合详见后附图。
(4)、大模板组合及配件
大模板组合可采用螺栓,通过横背楞连接在一起。在组合模板上部配置操作平台托架,间距1.2~1.5m,以供施工人员操作行走方便。托架上满铺50厚木架板。下部配置斜支腿,施工时用来调整模板垂直度,拆模后作为堆放模板的支撑架。
模板节点示意图详见附图。
(5)、大模板安装
a、模板安装前应弹出模板控制线,用砂浆找平,支模前将杂物清理干净,大模下口贴海绵条,以防止模板穿墙螺栓高低错位及下口漏浆。
b、模板安装前须将底板面清理干净,均匀涂刷脱模剂,不得漏刷。
c、各种预留、预埋线管(盒)施工完,门窗洞口模板支好后加限位钢筋固定,贴好海绵条,经复核尺寸无误后,再吊装支大模板。
d、为确保墙厚,穿墙螺栓外加钢套管。
e、每个房间安装大模板时,应先将四角的角模就位,然后吊放大模板。大模板与大模板之间、与角模之间,均应贴海绵条,然后用螺栓连接,再安装穿墙螺栓,再用斜支脚调整模板垂直度。
f、外墙外模板吊装前,先设置模板托架,用M18穿墙螺栓固定在下层砼上,为确保托架不转动,在托架面外侧用水平拉筋固定,托架面标高应比内墙大模板底面低40mm。须严格控制,否则出现穿墙螺栓高低错位现象。与砼接触处须贴上海绵条。因外墙外模板无法采用斜支脚调整模板的垂直度,所以在外墙内侧大模板上作斜拉加固处理,在平台砼浇筑时, 预埋-8×150×150钢板埋件,间距@1500左右,用斜拉杆焊接固定牢靠。
g、大模安装前,在墙上加Ф10钢筋支撑,间距为600㎜,梅花状布置。
(6)、大模板的拆除:
a、常温下墙体砼强度必须达到1.2Mpa。
b、拆除模板顺序与安装模板正好相反,先拆除穿墙螺栓,再旋转斜支腿调整螺杆,使模板完全脱离砼墙面,当局部有吸附或粘结时检查是否漏浆或其它因素,检查无误后可用撬棍在模板下口撬动,决不能在模板上口晃动或用大锤震动模板。拆下的穿墙螺栓垫片、销板等应清点后运入下道工序或工具箱内。
c、阴角模拆除时因为两侧都是砼面,吸附力较大,所以需先清理根部砼浆,然后用撬棍撬动角模下口,两人同时配合,防止角模倾斜倒砸伤人,绝不允许野蛮拆除,以防发生安全事故及质量事故。
d、大模板起吊前,应检查操作平台有无杂物,穿墙螺栓散件是否脱离模板,吊钩螺栓是否松动,确认无误后,方可匀速起吊,用麻绳作牵引,以防碰伤墙面砼及伤人。
e、大模板落地或周转至下一工作面时,必须一次安放稳固,倾斜度要符合75℃~80℃度之间,自稳定角的要求,并设专人检查。
f、大模板脱离后应趁板面潮湿,及时用扁铲刀、钢丝刷清理板面,清除后对粘附的残渣用棉纱擦净,然后涂刷脱模剂。
g、为了保护模板在现场施工时的质量,应派专人负责进行模板的维护与保养工作。
(7)、质量保证措施
为了保证砼施工后表面平整,达到清水砼的质量要求,对模板的加工制作和组装按如下要求控制。
a、面板采用原平钢板,要求平整、光滑,不允许有波浪纹,平整度要求1.0mm/层高,钢板厚度偏差小于0.2mm。
b、型材全部使用国标,下料后检查并调直,半成品后再调直。
c、面板边沿要求垂直,组装时应粘贴海绵条、确保接缝处平整严密。
d、模板成型后几何尺寸偏差控制在±2mm,对角线控制在±2mm,垂直度控制在1mm,四边平直度2mm,穿墙螺栓孔偏差1mm,模板节点满焊,肋条与面板间断焊,间距150~200mm,焊接长度30mm,高度5mm。
e、模板安装允许偏差按GB50204-2002表4.2.7的要求。
f、严格按大模板吊装组装要求组织施工。
g、在砼浇筑前,必须对模板的整体刚度,稳定性作全部系统的检查无误后方可砼浇筑。
(8)、注意事项
- 砼浇筑速度对模板侧压力影响较大,砼施工时须分层浇筑,
b、拆模时砼强度遵照GB50204-2002有关规定,不得提前松动穿墙螺栓。
c、拆模时严禁用大锤震动敲打,防止模板撞墙开裂,拆除困难,可以用撬棍从模板下口撬动。
d、模板堆放时应将模板倾斜75℃~80℃度(用丝杠来调整),并且大模板棉靠面、背靠背。不得将模板堆放在施工层上,防止模板在风荷载或其它载荷的作用下倾斜,伤人或发生其它事故,模板堆放场地要求平整,基地要夯实,不得坑凹不平。
e、模板上部操作平台,不得堆放砼,要保证操作人员安全。
f、模板吊装时严禁碰撞外脚手架,绝不允许搁置在外架子上,要求整个模板吊装、装组装系统与外脚手架无任何关系,外架子只作围护使用。
(9)、大模板的设计校验计算:
<1>大模板:面板采用δ6钢板,大、小肋采用8号槽钢,围檩用10号槽钢,面板间采用Φ30锥形对拉螺栓,肋间满焊,面板与肋双面焊。
<2>计算目的:确定模板所用材料,规格、尺寸、在新浇砼和施工操作等荷载的作用下,具有足够的强度、刚度和稳定性。
<3>确定荷载
- 新浇筑砼的容重:2500kg/m3
- 影响侧压力的因素很多,如砼材料组成,施工工艺,工程特点,浇灌速度等。但最主要因素为浇灌速度,在大模板工程中,砼以较高速度浇灌,砼侧压力按下式计算:F1=1.8r
F1 :砼最大侧压力(kg/m2)
R:砼容重:取2500kg/m3
H :砼浇灌高度(m)
取 h=3.0m ,则F1 =1.8×2500=4500kg/m2
③在施工过程中采用布料器布料入模,作用于侧面模板的水平荷载为200kg/m2(查表所得)。因此作用于侧模的最大水平压力为
F= 4500+200=4700kg/m2=0.47kg/cm2
4、大模计算:
- 面板计算:
面板与砼直接接触要求其允许挠度不超过2mm,根据砼浇灌情况取最不利区格在满负载下作为计算单位进行验算:
强度计算:Lx/Ly=400/550=0.727
变矩:Mxo=KqLx2=0.0722×0.47×402=54.29 kg-cm
Myo=KqLx2=0.057×0.47×402=42.86 kg-cm
截面抵抗矩:Wx=Wy=bh3/b=1×0.63/6=0.036cm3(h为板厚)
面板最大压力:бx=Mxo/Wx=54.29/0.036=1508kg/cm2<[б]
=1700kg/cm2
面板最大压力:бy=Myo/Wy=42.86/0.036=1190kg/cm2<[б]
=1700kg/cm2
因而面板能够承受砼产生的压力。
2、挠度验算
根据Lx/Ly=0。727查荷载与结构静力计算表得
钢板中心的最大挠度fmax=0.00208×qLx4/BC
刚度BC=Eh3/[12×(1-U2)]
E——钢的弹性模量:2.1×106
H——钢板厚度: 0.6cm
U——钢的洎桑比:为0.3
q——线荷载:0.47
将数据代入BC=2.1×106×0.63/[12×(1-0.32)]
=453600/10.92
=41538.46
fmax=0.00208×0.47×404/BC=0.06cm<0.2cm
通过计算、面板在最大荷截作用下其最大变形为0.06mm,完全符合要求。
B:小肋计算:
计算图:
大肋间距为400mm,小肋最长为40cm,小肋满焊大肋上,因此按两边固梁计算,详见上简图
<1>强度计算:
根据材料学材料特性查表:8号槽钢特性如下:
截面面积:A=10.24cm2
截面焊性矩:I=101.3cm4
形心矩:yo=4cm
肋共同作用,确定组合截面形心:y1=S/A
式中S——面积矩
S=0.6×55×0.3+10.24×(8+0.6-4)×(8+0.6-4)
=57.004cm3
A——截面面积:
A=0.6×40+10.24=34.24cm2
Y1=57.004/34.24=1.66cm
Y2=8.6-1.66=6.94cm
I=55×0.63/12+55×0.6(1.66-0.3)2+101.3+10.24×(6.94-4)2
=251.84cm4
W上=I/Y1=251.84/1.66=151.7cm3
W下=I/Y2=251.84/6.94=36.29cm3
弯矩按两边固定梁计算查表得:
M=qL2/12=25.85×402/12=3446kg.cm
组合截面最大应力:б=M/WT=3446/36.29=94.95kg/cm2
根据б值,b/h=550/6=91.67 查表得 b1/h=61 b1=366mm
b=550
强度验算:b1宽的面板与小肋组成的组合截面形心
y1=S1/A
面积矩:S1=0.6×366×0.3+10.24×(8+0.6-4)=53.69cm3
截面积:A=0.6×36.6+10.24=32.2cm2
∴y1=53.69/32.2=1.667cm
y2=8.6-1.667=6.93cm
截面惯性矩:I=0.63×36.6/12+36.6×0.6(1.667-0.3)2
+101.3+10.24×(6.93-4)2 =231.5cm4
W上=I/y1=231.5/1.667=138.87cm3
W下=I/y2=231.5/6.93=33.405cm3
小肋的内力按多跨连续梁查表得m=0.119qL2
=0.119×25.85×402=4921.8kg.cm
最大应力:б=M/W下=4921.8/33.405=147.3kg/cm2<[б]
=1700kg/cm2
因此小肋其有足够的强度
- 挠度强算:fmax=KqL4/100EI查表:K=0.973
=0.973×25.85×404/100×2.1×106×231.5
=0.00132cm<[f]=0.2cm
因此小肋的变形量几乎没有,完全符合要求。
C:大肋计算:
大肋、小肋与面板共同工作承受外力,围檩是大肋支承。根据围檩的布置,大肋计算简图如下:大肋为8号槽钢其特性同小肋:
- 大肋强度验算;
S=0.6×40×0.3+10.24×(8+0.6-4)=54.30cm3
A=0.6×40+10.24=34.24cm2
y1=S/A=54.3/34.24=1.59cm
y2=8.6-1.59=7.01cm
I=40×0.63/12+40×0.6×(1.59-0.3)2+101.3+10.24×(7.01-4)2
=234.73cm4
W上=I/y1=234.73/1.59=147.6cn3
W下=I/y2=134.73/7.01=33.49cm3
M=1/8qL2=0.125×18.8×1202=33840kg.cm
组合截面的最大应力:
б=M/W下=33840/33.49=1010.5kg/cm2
根据б值 b/h=400/6=66.67 查表得b1/h=48
b=48×6=288mm=28.8cm
强度验算:
Sˊ=0.6×28.8×0.3+10.24×(8.6-4)=52.29cm3
A=0.6×28.8+10.24=27.52cm2
∴y1=S/A=52.29/27.52=1.9cm
y2=8.6-1.9=6.7cm
截面惯性矩:I=28.8×0.63/12+28.8×0.6×(1.9-0.3)2+
101.3+10.24×(6.7-4)2=220.7cm4
W上=I/y1=220.7/1.9=116.16cm3
W下=I/y2=220.7/6.7=32.94cm3
大肋的最大应力:б=M/W下=33840/32.94=10273kg/cm2
<[б]=1700kg/cm2
因此大肋具有足够的强度
- 挠度验算
fmax=0.912qL4/100EI=
=0.072cm<[f]=0.2cm
因此大肋变形在允许范围内,符合要求。
- 围檩计算:
围檩采用10号槽钢,其间距最大1200mm,两檩间有3根同方向的小肋,大肋与檩方向不一致,所以只考虑板小肋、檩共同作用,槽钢特性:A=12.74cm2
I=198.3cm4 Yo=5cm
对拉螺栓作为围檩的支承,根据对拉螺栓的分布计算如图:荷载:q=0.47×120=56.4kg/cm
- 强度验算:
S=0.6×120×0.3+10.24×(8+0.6-4)×3+12.74×2×(8+0.6+5)
=509.44cm3
A=0.6×120+10.24×3+12.74×2=128.2cm2
y1=S/A=509.44/128.2=3.97cm
y2=10+8+0.6-3.97=14.63cm。
I=120×0.63/12+120×0.6×(3.97-0.3)2+10.24×(3.97-4.3)×32+3×101.3+2×198.3+12.74×(14.63-5)2×2=3886.64cm4
W上=I/y1=3886.64/3.97=979kg/cm2
W下=I/y2=3886.64/14.63=265.66kg/cm2
最大弯矩:M=qL2/2=56.4×252/2=17625kg.cm
组合截面最大应力。
б=M/W下=17625/265.66=66.34kg/cm2<[б]=1700kg/cm2
围檩强度足够
<2>挠度验算:
围檩为等跨连续梁、查表得
fmax=qL4[5-24(a/L)2]/384EI
=56.4×704×[5-24×(25/70)2]/384×2.1×106×3886.64
=0.00083mm<[f]=0.2cm
因此围檩变形可不计,几何没有。
由上述计算大模板结构合理,具有足够的强度、刚度。但要保证面板与肋等共同工作,在400×550区格内,大肋双面贴角焊,焊继必须为长25mm,焊缝高4mm。小肋双面贴角焊,焊缝长15mm,焊缝高4mm。间距均为150mm。通过简单计算对拉螺栓承受最大拉力远小于允许值足够安全。
本计算主要参考资料《建筑施工手册》
-
-
-
- 其他模板的施工如下:
-
-
外墙挑板、雨蓬及管道井内楼板均为后浇,剪力墙施工时预埋5×10通长钢板埋件。
(1)、梁模板
根据大模板施工工艺要求,门窗洞口梁,在剪力墙施工时同样施工至楼板底,其余梁、剪力墙施工时,在墙梁相连处墙上预埋聚苯板,留出梁位置与板同时施工。梁模板采用竹胶板模板,钢管脚手架支撑系统,其竖向支柱间距为0.8m左右,纵横方向的水平拉杆的上、下间距1.5m左右,纵横方向的垂直剪刀撑的间距为6m左右。
安装梁模板:在柱子混凝土上弹出轴线和水平线。
安装梁钢管支柱之前(如为底层地面必须夯实),支柱下垫通长脚手板。梁支柱采用双支柱,间距以0.8m左右为宜。支柱上面垫10×10cm方木,支柱中间或下边加剪刀撑和水平拉杆。
按设计标高调整支柱的标高,然后安装梁底板,并拉线找直,梁底板应起拱,当梁跨度等于及大于4m时,起拱高度为全跨长度的1/1000~3/1000。
绑扎完梁钢筋,经检查合格后并清除杂物,安装侧模板,用梁托架或三角架支撑固定梁侧模板。竖龙骨间距700-1000。当梁高度超过60cm时,加穿梁螺栓加固。
(2)、楼板模板:楼板的模板以覆面竹胶合板为主。采用满堂φ48钢管碗扣式脚手架和配有早拆头的可调式钢管立柱构成的早拆支撑体系。钢管架子立杆纵横间距≤1000,立杆下端应设扫地杆,水平杆间距≤1500,并按规定设置剪刀撑。顶部水平承力杆上按@600布设钢管并用卡扣固紧,垂直该层钢管铺设通长50×60方木,间距≤0.4m,在其上按要求铺钉竹胶板,接缝应严密。可调式钢管立柱的布置:竹胶模板的接缝处。待楼盖混凝土强度达到设计强度的50%时,只保留可调式钢管立柱,可拆除其它支撑和模板,可调式钢管立柱在混凝土强度达到设计要求时方可拆除,且必须保证做到间隔三层,确保楼板的砼质量。
跨度等于或大于4m的构件模板应起拱,起拱高度为跨度的1~3‰。
安装楼板模板:楼层上立支柱前应垫通长脚手板。
从边跨一侧开始安排,先安第一排支柱,再安第二排支柱,依次逐排安装,同时安装大龙骨。支柱与龙骨间距,根据楼板混凝土重量与施工荷载大小定为80~120cm,大龙骨间距为60~120cm,小龙骨间距为40~60cm。
调节支柱高度,将大龙骨找平。
铺竹胶合板模板:可从一侧开始铺,竹胶合板模板应用铁钉固定,在拼缝处可用窄尺寸的拼缝模板或木方代替,但均应拼缝严密。
平台板铺完后,用水平仪测量模板标高,进行校正。
标高校完后,支柱之间应加水平拉杆。第一道离地面20~30cm,往上纵横方向每隔1.6m左右一道,并应经常检查,保证完整牢固。
(3)、楼梯模板:楼梯休息平台与剪力墙相交处在浇筑墙砼时,预埋板厚×墙宽/2的通长聚苯板。楼梯施工时将该处凿空,以利于板与墙的接槎。
(4)、模板隔离剂:
为了确保本工程结构混凝土的质量,所用钢模板全部采用化学脱模剂,覆面竹胶合板模板使用专用脱模剂。
(5)、模板拆除:
侧模:在混凝土强度能保证混凝土表面棱角不因拆除模板而受损后,方可拆除,本工程的侧模拆模时间控制在浇注24小时以后。
承重模板拆除:
因本工程梁板的最大跨度均小于8m,对于梁板,当同条件养护试块的砼强度达到75%时,即可全部拆除模板和支撑;对于悬挑构件,当同条件养护试块砼强度达到100%方可拆除模板和支撑。
注:底模的拆除时间应以同条件试块的强度为依据。
楼板、梁模板拆除:
应先拆梁侧帮模,再拆除楼板模板,楼板模板拆模先拆掉水平拉杆,然后拆除楼板模板支柱,每根龙骨留1~2根支柱暂不拆。
操作人员站在已拆除的空隙,拆去近旁余下的支柱使其龙骨自由坠落。用钩子将模板钩下,等该段的模板全部脱模后,集中运出,集中堆放。
楼层较高时,在满堂架的中部搭设脚手架,保留可调式立柱,拆除其余支撑,放在中部架板上,待模板等全部运出后再拆下部排架。
3、质量标准
根据《混凝土结构工程施工质量验收规范》GB50204-2002中表4.2.7的规定,有技术质量人员根据划分的检验批进行严格检查。
4、成品保护
吊装模板时轻起轻放,不准碰撞已完楼板等结构,也防止模板变形。
拆模时不得用大锤硬砸或撬棍硬撬,以免损伤混凝土表面和楞角,防止混凝土墙面及门窗洞口等处出现裂纹。。
保持大模板本身的整洁及配套设备零件的齐全,吊运应防止碰撞,堆放合理,保持板面不变形。
大模板吊运就位时要平稳、准确不得碰砸楼板及其他已施工完成的部位,不得兜挂钢筋。用撬棍调整模板时,要注意保护模板下面的砂浆找平层。
模板与墙面粘结时,禁止用塔吊吊拉模板,防止将墙面拉裂。
混凝土达到规定强度时拆模,防止冬施混凝土受冻,影响混凝土质量。
5、模板施工应注意的质量问题
梁板模板容易产生的问题是:梁身不平直,梁底不平直,梁侧面鼓出,梁上口尺寸加大,板中部下挠。防止办法是,梁板模板应通过设计决定出纵横龙骨的尺寸及间距,支柱的尺寸及间距。使模板支撑系统有足够强度和刚度,防止浇混凝土时模板变形。模板支柱的底部应支在坚实地面上,一般情况下垫通长脚手板,防止支柱下沉,使梁板下面产生下挠。
梁板模板应按设计要求起拱,防止挠度过大。梁模板上口应有锁口杆拉紧,防止上口变形。
墙模板容易产生的问题是:墙体混凝土厚薄不一致,上口过大,墙体烂根等。模板应根据墙体高度和厚度通过设计确定:横纵龙骨的尺寸及间距,墙体的支撑方法,角模的形式。模板上口应设拉结,按设计要求尺寸卡紧,防止上口尺寸偏大。
墙身超厚:原因是墙身放线时误差过大,模板就位调整不认真,混凝土墙体表面粘连:由于模板清理不好,涂刷脱模剂不匀,拆模过早所造成。
角模与大模板缝隙跑浆:原因是模板拼装时缝隙过大,固定措施不牢靠。
角模入墙过深:原因是支模时角模与大模板连接不牢固。
门窗洞口混凝土变形:主要因为门窗洞口模板的组装及与大模板的固定不牢固,可适当增加竖向和水平支撑。
四、混凝土工程
本工程现浇混凝土量较大,且工期非常紧,为确保工程进度,保证工程质量,同时保持安全文明的施工现场,尽量减少由于本工程施工带来的噪音及环境污染,本工程混凝土采用商品混凝土。砼的配合比根据设计要求由砼供应商提供,现场采用两台混凝土输送泵确保砼的连续浇筑,位置详见施工布置平面图。混凝土所用材料应按《混凝土结构工程施工质量验收规范》GB50204-2002要求做检验。
1、作业条件
浇筑混凝土层段的模板、钢筋、预埋铁件及管线等全部安装完毕,经检查合格,符合设计要求,并办完隐、预检手续。振捣器(棒)经检验试运转合格。浇筑混凝土用架子及走道已支搭完毕并经检查合格。技术员根据施工方案对班组进行全面施工技术交底。
混凝土配合比通知单并经监理单位签字认可。
清理模板:浇筑前应将模板内的垃圾、泥土等杂物及钢筋上的油污清除干净,并检查钢筋的水泥砂浆垫块是否垫好。使用竹胶模板时应浇水使模板湿润。柱子模板的扫除口应在清除杂物及积水后及时封闭。
2、混凝土运输
混凝土自搅拌机卸出后,应及时运送到浇筑地点。在运输过程中,要防止混凝土离析、水泥浆流失、坍落度变化以及产生初凝等现象。
泵送混凝土时必须保证混凝土泵连续工作。如果发生故障,停歇时间超过45min,应立即用压力水或其他方法冲洗管内残留的混凝土。
3、操作工艺
(1)、混凝土浇筑与振捣的一般要求
浇筑混凝土时应分段分层连续进行,每层浇筑高度应根据结构特点、钢筋疏密决定,一般分层高度为振捣器作用部分长度的1.25倍,最大不超过50cm。
使用插入式振捣器应快插慢拔,插点要均匀排列,逐点移动,顺序进行,不得遗漏,做到均匀振实。移动间距不大于振捣棒作用半径的1.5倍(一般为40~50cm)。振捣上一层时应插入下层5cm,以消除两层间的接缝。平板振动器的移动间距,应能保证振动器的平板覆盖已振实部分边缘。
浇筑混凝土应连续进行。如必须间歇,其间歇时间应尽量缩短,并应在前层混凝土初凝之前,将次层混凝土浇筑完毕。间歇的最长时间应按所用水泥品种及混凝土凝结条件确定,一般超过2h时,应按施工缝处理。
浇筑混凝土时应经常观察模板、钢筋、预留孔洞、预埋件和插筋等有无移动、变形或堵塞情况,发现问题应立即停止浇灌,并在已浇筑的混凝土凝结前修整完好。
(2)、梁、板混凝土浇筑
浇捣时,浇筑与振捣必须紧密配合,第一层下料慢些,梁底充分振实后再下二层料。用“赶浆法”保持水泥浆沿梁底包裹石子向前推进,每层均应振实后再下料,梁底及梁帮部位要注意振实,振捣时不得触动钢筋及预埋件。
梁柱结点钢筋较密时,浇筑此处混凝土时宜用同强度等级的细石混凝土浇筑,并用小直径振捣棒振捣。
浇筑板的虚铺厚度应略大于板厚,用平板振捣器垂直浇筑方向来回振捣,厚板可用插入式振捣器顺浇筑方向拖拉振捣,并用铁插尺检查混凝土厚度,振捣完毕后用长木抹子抹平。施工缝处或有预埋件及插筋处用木抹子找平。浇筑板混凝土时不允许用振捣棒铺摊混凝土。
施工缝位置:宜沿着次梁方向浇筑楼板,施工缝应留置在次梁跨度的中间三分之一范围内。施工缝的表面应与梁轴线或板面垂直,不得留斜槎。施工缝宜用木板或钢丝网挡牢。
施工缝处须待已浇筑混凝土的抗压强度不小于1.2MPa时,才允许继续浇筑,在继续浇筑混凝土前,施工缝混凝土表面应凿毛,剔除浮动石子,并用水冲洗干净后,先浇一层水泥浆,然后继续浇筑混凝土,应细致操作振实,使新旧混凝土紧密结合。
(4)、楼梯混凝土浇筑
楼梯段混凝土自下而上浇筑,先振实底板混凝土,达到踏步位置时再与踏步混凝土一起浇捣,不断连续向上推进,并随时用木抹子将踏步上表面抹平。
施工缝:楼梯混凝土宜连续浇筑完,多层楼梯的施工缝应留置在楼梯段三分之一的部位,且与梯板垂直。
(5)、混凝土养护
混凝土浇筑完毕后,应在12h以内加以覆盖和浇水,浇水次数应能保持混凝土有足够的润湿状态,养护期为7昼夜。掺用缓凝剂、外加剂或有抗渗要求的混凝土浇水养护应不少于14天。墙刷养护剂养护,当日平均气温低于50C时,不得浇水,砼采用塑料薄膜和草帘子覆盖。
冬期施工时,应严格执行有关的冬期施工措施。
(6)、施工缝的留置与处理
a施工缝的留置:暗柱的施工缝应留在基础顶面或梁的下平处;楼板不留施工缝,如遇特殊情况可按现行规范规定要求留设垂直施工缝;楼梯的施工缝应在每层第一梯段的三分之一跨度范围内,且与梯板垂直。
楼层梁板,不留施工缝,如必须留置时,应留在次梁三分之一跨度范围内。
b.施工缝的处理:施工缝处理时,应先将混凝土表面松动的石子和浮尘等杂物清除干净,提前一天浇水充分湿润,浇注混凝土前先注入30~50mm厚与混凝土内成份相同的水泥砂浆,接缝处的混凝土应仔细振捣密实。
4、质量检验
混凝土强度的试块取样、制作、养护和试验要符合《混凝土强度检验评定标准》(GBJ107-87)的规定。设计不允许裂缝的结构,严禁出现裂缝;设计允许裂缝的结构,其裂缝宽度必须符合设计要求。
砼质量根据《混凝土结构工程质量验收规范》GB50204中8现浇结构分项工程的规定,由技术质量人员根据划分的检验批进行严格检查。
5、成品保护
已浇筑楼板、楼梯踏步的上表面混凝土要加以保护,必须在混凝土强度达到1.2Mpa以后,方准在面上进行操作及安装结构用的支架和模板。
冬期施工在已浇筑的楼板上覆盖时,要在铺的脚手板上操作,不允许踏出脚印。
6、应注意的质量问题
蜂窝:原因是混凝土一次下料过厚,振捣不实或漏振;模板有缝隙水泥浆流失;钢筋较密而混凝土坍落度过小或石子过大;基础、柱、墙根部下层台阶浇筑后未停歇就继续浇筑上层混凝土,以致上层混凝土根部砂浆从下部涌出而造成。
露筋:原因是钢筋垫块位移,间距过大、漏放、钢筋紧贴模板造成露筋或梁、板底部振捣不实也可能出现露筋。
麻面:模板表面不光滑或模板湿润不够,构件表面混凝土易粘附在模板上造成脱皮麻面。
孔洞:原因是在钢筋较密的部位混凝土被卡,未经振捣就继续浇筑上层混凝土。
缝隙及夹渣:施工缝处杂物清理不净或未浇底浆等原因易造成缝隙、夹渣。
梁、柱结点处断面尺寸偏差过大:主要原因是柱接头模板刚度太差。现浇楼板和楼梯上表面平整度偏差太大:主要原因是混凝土浇筑后表面不认真用抹子抹平。冬期施工在盖覆盖物时操作人员不加垫板在上行走。
7、砼质量缺陷的处理:同第一节中地下室部分砼工程
8、混凝土试块的留置:
(1)、每浇筑不超过100m3的同配合比的混凝土,取样不得少于一次;
(2)、每工作班同一配合比的混凝土不足100 m3,取样不得少于一次;
(3)、当一次连续浇注超过1000m3时,同一配合比的混凝土每200m3取样不得少于一次;
(4)、每一楼层、同一配合比的混凝土,取样不得少于一次;
(5)、每次取样应至少留置一组标准养护试件,同条件养护试件的留置组数应根据实际需要确定;
(6)、防水混凝土连续浇注每500m3,应留置一组抗渗试件,每个单项工程不得少于两组;
(7)、结构实体检验用同一强度等级的同条件养护试件,其留置的数量应根据混凝土工程量和重要性确定,不宜少于10组,且不应少3组,同条件养护试件所对应的结构构件或结构部位,应由监理(建设)、施工等各方共同选定;
(8)、同条件养护试件拆模后,应放置在靠近相应结构构件或结构部位的适当位置,并应采取相同的养护方法。
五、砌筑工程
本工程墙体采用加气砼砌块,厚度为200mm。要求干容重小于8KN/m3。外隔墙系200㎜厚的空心粘土砖墙
1、施工准备
(1)、材料:加气混凝土块其干容重500kg/m3-800kg/m3。水泥:32.5普通硅酸盐或矿碴硅酸水泥。砂:中砂,含泥量不超过5%,使用前过5mm孔径的筛。
(2)、作业条件:砌加气混凝土墙的层段经结构验收后在结构墙柱上弹好+500mm标高水平线及墙身、门口位置线,在结构墙柱上弹好加气混凝土墙面线。
砌筑时先砌踢脚板高度内的粘土砖墙基或混凝土基础带。
砌筑前一天,将预砌加气混凝土墙与原结构相接处,洒水湿润以保证砌体粘结。
2、操作工艺
(1)、基层清理:将砌筑加气混凝土墙部位的楼地面,剔除高出撂底面的凝结灰浆,并清扫干净。
(2)、砌加气混凝土块:砌筑前按实地尺寸和砌块规格尺寸进行排列摆块,不够整块的可以锯裁成需要的规格,但不得小于砌块长度的1/3。水平灰缝厚度15mm,竖向灰缝厚度20mm。最下一层砌块的灰缝大于20mm时,应用细石混凝土找平,采用M5混合浆,满铺满挤砌筑,上下十字错缝,转角处相互咬砌搭接。根据图集要求放置拉结筋。砌块与墙柱的相结处。必须预留拉结筋,竖向间距为500mm,焊接2φ6钢筋,两端伸入墙内不小于1/5墙长,且不小于1000㎜,铺砌时将拉结筋理直,铺平。墙体完成5天后梁底应加一斜砌层。
(3)、砌块与门口连结:采用后塞口时,将预制好埋有木砖或铁件的混凝土块,按洞口高度在2米以内每边砌筑三块,洞口高度大于2米时砌四块。混凝土块四周的砂浆要饱满,如门框木料为黄花松,每侧应砌筑四个砼块。安装门框时用手钻在边框预先钻出钉孔,然后用钉子与砼块内的木砖钉牢。
3、质量标准
根据《砌体工程施工质量验收规范》GB50203-2002中9填充墙砌体工程的规定,由技术质量人员根据划分的检验批进行严格检查。
4、成品保护
砌块在运输过程轻装轻放,计算好各房间的用量,分别码放整齐。
搭拆脚手架时不要碰坏已砌墙体和门窗口角。
落地砂浆及时清除,以免与地面粘结,影响下道工序施工。
剔凿设备孔、槽时不得硬凿,如有松动必须处理补强。
5、应注意的质量问题
碎块上墙影响强度:砌筑时断裂块应经加工粘成规格材,碎小块未经加工不允许上墙。
墙顶与板梁底部的连接不好:砌筑前没留拉结筋,砌筑时又不采取粘结措施,影响墙体的稳定性。施工时应按工艺要求做到连接牢靠。
粘结不牢:用混合砂浆掺108胶代替粘结砂浆使用,造成粘结不牢。应按操作工艺要求的配合比配制粘结砂浆。
拉结钢筋不符合规定,造成砌体不稳定:拉结筋应按规定预留,其间距视砌块灰缝而定。
门窗洞口构造不符合规定:过梁的两端压接部位应按规定砌四皮机砖,或混凝土垫板,门洞过口加设钢筋混凝土带。
灰缝不匀:灰缝大小不一致,砌筑时不挂线。
排块及局部做法不合理,影响墙体稳定:砌筑时不按规定排块,构造不合理。排块及构造作法均应符合图集中的规定。
6、200厚空心砖施工参照图集及以上做法。
六、脚手架工程
现根据本工程的实际特点,外脚手架采用型钢悬挑杆斜拉式钢管脚手架,同时根据现行的安全规范“JGJ59-99”的标准设计本方案:
本工程的结构类型为短肢剪力墙结构,本工程±0.00以上为20层,层高为2.9m,总标高66.3m、67.3m。
1、 设计原则:
本脚手架采用每悬挑层为10步架,从2层楼面至8层楼面为一悬挑层,共设3个悬挑层,脚手架的步高为1.8m,纵距1.5m,横距1.0m,距墙边250~300mm。本脚手架仅起现场围护及施工人员通道,故不得堆放工程材料。
2、型钢悬挑杆斜拉式钢管脚手架的材料选用及搭设做法要求。
(1)悬挑杆采用热轧12号槽钢,长度为1.4m左右,斜拉杆采用
Φ16钢丝绳,脚手架钢管采用标准的48×3.5mm焊接钢管,卡具选用符合标准的接卡、十字卡、转卡三种管卡,脚手板选用成品竹笆,档脚板选用25mm厚的木板,高度250mm。围护选用安监站准用的密目安全网,作全封闭式围护。
(2)搭设做法要求:
根据本工程的结构特点,选用悬挑件与砼结构面采用螺栓连接:(见附图二十)。斜拉杆的拉环采用Φ16A3钢与悬挑杆焊接,斜拉杆与砼结构面采用预埋Φ50穿墙套管,钢丝绳穿墙固定,(见附图)悬挑杆上按脚手架立杆的位置焊2Φ16的立杆钢筋,长200mm,作为立杆插点(详见附图)。
(3)操作步骤
外墙砼浇筑时,在须设置悬挑件的位置预埋2Φ30的穿墙套管,安装悬挑件时用2Φ18的穿墙螺杆,将悬挑件与墙体连接,拧紧螺栓并使悬挑件处于下一步脚手架的托架上,悬挑件水平间距@1500mm,装好后,把脚手架立杆竖在已焊好的立杆钢筋上(把立杆钢筋套在钢管内)进行外架子(步高为1800mm)搭设,当搭至超过层高后安装斜拉钢丝绳,钢丝绳上端在穿过预埋套管后用线夹固定,下端先套入环扣和拉环,调节钢丝绳松紧适宜后,再用线夹固定,斜拉钢丝绳安装完毕,经检查无问题后,可拆除托架,继续向上搭设10步架,为一个悬挑段。
(4)注意事项:
吊环、预埋套管,悬挑杆的制作焊接均必须符合现行焊接规程的有关规定。
上、下悬挑段必须分开,不得使上段的承重力传送到下段的脚手架上,搭设上段时的临时托架,必须在上段的斜拉杆安装完后及时拆除。架管搭设接卡必须错开,按现行操作规程施工。
3、 脚手架的使用:
本脚手架已考虑一个步架作装饰施工,主要作现场围护之用。故不得在脚手架上放任何工程材料。脚手架上的垃圾须及时派人清理,未经许可不得任意拆除或改变做法方案。随时对脚手架的使用状况作检查验收,发现问题及时处理及上报有关领导。
4、脚手架拆除:因考虑大模板吊装,故内排的小横杆伸出排架尺寸不得小于5cm。
脚手架拆除时应自上而下,先大横杆,次小横杆,再次立杆,最终斜拉件,悬挑横杆。
施工人员必须持证上岗,严格按现行安全操作规程进行架子的搭设与拆除,戴好安全帽,系好安全带。
5、 悬挑杆斜拉式钢管脚手架的计算与验算。
每段挑6层即每段挑10个步架,因为在搭设上段时,下段还需作临时托架,故恒载按12步架计算,以一个步架高1800mm,立杆纵距1500mm,横距1000mm为计算单位。
1.脚手架自重P1
大横杆:6×1.5×38.4=345.6N
立杆:2×1.8×38.4=138.4N
小横杆:2×1.3×38.4=99.8N
扣件:8×15=120N
剪刀撑:1.8×1.5×15=40.5N
脚手竹笆1×1.5×45=67.5N
安全网:1.5×1.8×20=54N
悬挑杆:1.4×101=141.4N
垃圾和雪:1.5×1.0×30=45N
拉杆:3.16×16=50.5N
恒载合计:
12×(345.6+138.4+99.8+120+40.5+67.5+54+45)+141.4+50.5
P1=11121.5N
活载:取动力系数1.5,考虑有一个步架作装饰施工:
P活:=1×1.0×1.5×2000×1.5(系数)=4500N
P活内=(0.5+0.20)×4500=3150N
P活外=0.5×4500=2250N
力的计算:力的分布如图:
P外=1/2P1×1.2+P活外×1.4=1/2×11121.5+2250×1.4
=8710.75N
P内=1/2P1×1.2+P活内×1.4=1/2/×11121.5+3150×1.4
=9970.75N
(1)斜拉杆拉力:(ƒ)根据ΣMA=0
ƒ×1.25×sim〆=P外×1.25+P内×0.25
sim〆= AC/BC=3.0/3.25=0.923
- 154ƒ=8710.75×1.25+9970.75×0.25
=13381.125N
ƒ=11595.4N
(2)剪力(QA) 根据ΣMB=0
QA×1,25=P内×1,0
QA=9970.75/1.25=7976.6N
(3)BA杆上的压力ƒBA
ƒBA=ƒ·cos〆=11595.4×1.25/3.25=4459.8N
(4)验算:
- 斜拉杆:ƒBC的抗拉力:
ƒ抗=8×8×3.14×240=48230N
ƒ抗>ƒ 且:K=48230/11595.4=4.16>[K]=3.5
允许安全系数:安全
即采用斜拉杆安全满足要求。
- 螺栓的抗剪力
QA抗=2×3.14×82×130=52249.6N
QA抗>QA
且K=52249.6/7976.6=6.55>[K]=3.5安全系数。安全
3、采用膨胀螺栓时,埋入砼内为8cm,螺栓的锚固力为250N/cm2
L锚=2πr×L×250=2×3.14×8×80×2.5×2=20096N
L锚固力>ƒBA 且 K=20096/4459.8=4.5>[K] 安全
4、设悬挑杆槽钢的抗压力ƒBAˊ
ƒBAˊ=12.7×2400=30455N
K=30455/4459.8=6.83>=[K]=3.5
悬挑杆所受力的弯距很小,所以抗弯可不验算安全。
通过上述计算,按此方案组织施工,能确保外脚手架的安全同时将此方案上报有关部门,经审批同意后执行施工。
C
〆
P外
B
A
P内
1000
250
3000
f
2A
各作用力分析图
七、塔吊、人货电梯的安装与拆除
根据《建筑施工安全检查标准》JGJ59-99,塔吊、人货电梯的安装与拆除 制定专项施工方案。
第七章、装饰装修阶段主要分部分项工程施工方法
第一节、楼地面工程
现据本工程的建筑功能及设计要求,楼地面做法叙述如下。
一、混凝土垫层
1、施工准备 材料:水泥:宜用32.5普通硅酸盐水泥。砂:中砂,含泥量不大于5%。 石子:碎石,粒径0.5~1.0cm,含泥量不大于2%。
2、作业条件:垫层的基底情况、标高尺寸均经过检查并办完隐预检手续。大面积地面垫层应分区段(分仓)进行浇筑,分区段应结合变形缝位置,在不同材料的地面面层的连接处和设备基础的位置等划分。在分缝处钉上水平桩。
埋在垫层中的暖卫、电气等各种设备管线均已安装完毕,并经有关方面
验收。校核混凝土配合比,检查后台磅称,并进行开盘交底。准备好混凝土试模。
3、操作工艺
(1)、混凝土的拌制:要认真按混凝土的配合比投料,每盘投料顺序为砂子-水泥-水-石子,应严格控制用水量,搅拌要均匀,最短时间一般不少于90S。
(2)、混凝土的浇筑与振捣:
.应清除基层杂物,表面不得留有积水。
. 混凝土的浇筑应连续进行,一般不应超过2h,否则应按规范规定留施工缝,或者采用分块浇筑的措施。
.采用平板式振动器振捣密实。
. 混凝土振捣密实后,表面应用木抹子搓平。如垫层的厚度较薄,应严格控制铺摊厚度,要用大杠刮平表面。有泛水要求的面层,均应找出坡度,其坡度应满足设计要求。
(3)、混凝土的养护:已浇筑完的混凝土,应在12h左右覆盖和浇水,一般养护不得少于七昼夜。
4、质量标准
根据《建筑地面工程施工质量验收规范》GB50209-2002中4.8水泥混凝土垫层的规定,有技术质量人员根据划分的检验批进行严格检查。
5、成品保护
(1)、在已浇筑的混凝土强度达到1.2mpa以后,始准在其上走动人员和上部施工。
(2)、在施工中,应保护好暖卫、电气等设备暗管,以及所立的门口,不得碰撞。
(3)、垫层内应根据设计要求预留孔洞、或安置固定地面与楼面镶边连接件所用的锚栓(件)和木砖,以免后来剔凿。
(4)、在有防水层的基层上施工时,必须认真保护好防水层,严禁小车腿和铁锹等硬物砸碰防水层。发现有碰坏处,一定修补合格后再进行。
6、应注意的质量问题
混凝土不密实:主要由于漏振和振捣不实,或配合比不准及操作不当造成。
表面不平标高不准:水平标志线不准,操作时未认真找平或没有用大杠刮平。
不规则裂缝:由于垫层面积过大没有分断块或暖气沟盖板上没浇筑混凝土,而产生的收缩所致,也可能是基土不均匀沉陷,或地下管线太多,造成垫层厚薄不均匀而裂缝。
二、楼地面面层
1、地面砖铺贴
基层清理采用磨石机加钢丝刷进行清理后用压力水冲洗干净,依据楼面标高控制线按2m×2m做标志块。水泥楼地面先施工,块料楼地面及塑胶地板后施工,不同的楼面分界线应留在门扇下。楼地面面层施工均应由远离上料口的房间开始,先房间再走廊后上料口房间的顺序。楼梯抹面采取自上而下逐层施工。
地面砖楼地面所用面砖应一次备足,使用前应进行检查挑选,合格的要清洗并浸泡2~3h取出晾干备用。并应做好排砖设计,经建设、监理有关单位同意后实施。
工艺流程:基层清理弹线→贴灰饼标筋→铺结合层砂浆→拉线铺砖→压平拨缝→嵌缝→养护。
铺砖:地面砖铺贴采用定位带法
由里向外逐块逐条进行施工。压平拨缝后经检查符合标准规定时清缝,2天后刷水湿润,用与面砖颜色相同的水泥浆将缝子嵌抹密实并擦拭干净,并养护7天。
2、大理石(花岗石)面层
(1)施工准备
①材料
a.大理石块、花岗石块(由厂家加工的成品)的品种、规格、质量应符合设计和施工要求。表面要求光滑明亮、色泽鲜明,无疤痕、旋纹,边角方正,无扭曲缺角掉边,长度宽度±0,-1,厚度±2;平整度最大偏差值:当长度≥400时0.6㎜,长度≥800时0.8㎜。
b.水泥:32.5号以上的普通硅酸盐水泥或矿渣硅酸盐水泥。并备适量擦缝用白水泥。
c.砂:中粗砂。
d.矿物颜料 (擦缝用)、蜡、草酸。
②作业条件
a.大理石板块(花岗石板块)进场后应堆放在室内,侧立堆放,底下应加垫木方。并详细核对品种、规格、数量、质量等是否符合设计要求。有裂纹、缺棱掉角的不得使用。
b.设加工棚,安装好台钻及无齿锯,并接通水电源。需要切割钻孔的板,在安装前加工好。
c.室内抹灰、水电设备管线等均已完成。
d.房内四周墙上弹好+50cm水平线。
e.施工前应放出铺设大理石地面的施工大样图。
(2)操作工艺
熟悉图纸:以施工图和加工单为依据,熟悉了解各部 位尺寸和作法,弄清洞口、边角等部位之间关系。
①试拼:在正式铺设前,对每一房间的大理石(或花岗石)板块;应按图案、颜色、纹理试拼。试拼后按两个方向编号排列,有缺陷的剔除、更换。然后按编号码整齐。
②弹线:在房内的主要部位弹互相垂直的控制十字线,用以检查和控制大理石板块的位置,十字线可以弹在混凝土垫层上,并引至墙面底部。
③试排:根据图纸要求大理石板块排好,以便检查板块之间的缝隙,核对板块与墙面、柱、洞口等的相对位置。
④基层处理:在铺砌大理石板之前将混凝土垫层清扫干净,然后洒水湿润。扫一遍素水泥浆。
⑤铺砂浆:根据水平线,定出地面找平层厚度,一般应为10~15mm,拉十字线,铺找平层水泥砂浆(找平层一般采用1:2的干硬性水泥砂浆,干硬程度以手捏成团不松散为宜)。砂浆从里往门口处摊铺,铺好后刮大杠、拍实,用抹子找平,其厚度适当高出根据水平线定的找平层厚度。
⑥铺大理石块:一般房间应先里后外进行铺设,即先从远离门口的一边开始,按照试拼编号,依次铺砌,逐步退至门口,凡有柱子的应先铺砌柱与柱中间的地 面,然后向两边展开。铺前将板块预先浸湿阴干后备用,在铺好的干硬性水泥砂浆上先试铺合适后,翻开石板,在水泥砂浆上浇一层水灰比0.5素水泥浆,然后正式镶铺。安放时四角往下落,用橡皮锤轻击木垫板(不得用木锤直接敲击大理石板),根据水平线用铁水平尺找平,铺完第一块向两侧和后退方向顺序镶铺,如发现空隙将石板起用砂浆补实再行安装。
大理石(或花岗石)板块之间,接缝要严,一般不留缝隙。留缝不允许大于1mm。
⑦灌浆、擦缝:在铺砌后1~2昼夜进行灌浆擦缝。根据大理石颜色选择颜色矿物颜料和水泥拼和均匀调成1:1稀水泥浆,用水壶徐徐灌入大理石板块之间缝隙,并用小木条把流出的水泥浆向缝隙内喂灰。灌浆1~2h后,用棉丝团蘸原稀水泥浆擦缝,与地面擦平,同时将板面上水泥浆擦净。然后面层加以覆盖保护。
打蜡:当各工序完工不再上人时方可打蜡达到光滑洁光。
⑧贴大理石踢脚板
a.粘贴法:根据墙抹灰厚度,用1:3水泥砂浆打底找平并在面层划纹,干硬后,再把湿润阴干的大理石踢脚板的背面刮抹一层2~3mm厚素水泥浆(宜加10%左右107胶)后,往底灰上粘贴,并用木锤敲实,根据水平线找平找直。24h后用同色水泥浆擦缝,将余浆擦挣,与地面同时打蜡。
b.灌浆法:镶贴时应采用挂钩拉结灌浆方法施工,挂钩应用铜丝或其他耐腐蚀材料,在墙两端先各镶贴一块踢脚板,其上楞高度在同一水平线内,出墙进度应一致。然后沿二块踢脚板上楞拉通线,逐块依顺序安装,随装随时检查踢脚板的平直和垂直。相邻两块之间及踢脚板与地面、墙面之间用石膏稳牢,然后灌1:2稀水泥砂浆,并随时把溢出砂浆擦干净,待灌入的水泥砂浆终凝后,把石膏铲掉。踢脚板的擦缝做法同地面。踢脚的面层打蜡同地面一起进行。踢脚板之间缝宜与地面大理石板对缝镶贴。
⑨冬期施工铺设时,气温不应小于+5℃,并保持其强度达到不小于设计要求的50%。
3、质量标准
根据《建筑地面工程施工质量验收规范》GB50209-2002中6.3大理石面层和花岗岩面层的规定,由技术质量人员根据划分的检验批进行严格检查。
4、成品保护
(1)存放大理石板块,不得雨淋、水泡、长期日晒。一般采取板块立放,光面相对。板块的底面应去垫松木条,板块下面应垫木方,木方与板块之间对垫软橡胶皮。在施工现场内倒运时,也应按照上述要求。
(2)运输大理石(或花岗石)板块、水泥砂浆时,应采取措施防止碰撞已做完的墙面、门口等。铺设地面用水时防止浸泡、污染其他房间地面、墙面。
(3)试拼应在地面平整的房间或操作棚内进行。调整板块的人员穿干净的软底鞋搬动调整板块。
(4)铺砌大理石(或花岗石)板块过程中,操作人员应做到随铺砌随揩净。揩净大理石板面应该用软毛刷和干布。
(5)新铺砌大理石(或花岗石)板块的房间应临时封闭。当操作人员和检查人员踩踏新铺砌的大理石板块时,要穿软底鞋,并轻踏在板中。
(6)在大理石地面上行走时,找平层水泥砂浆的抗压强度不得低于1.2MPa。
(7)大理石(或花岗石)地面完工后,房间封闭或在其表面加以覆盖保护。
5、应注意的质量问题
(1).板面与基层空鼓:由于混凝土垫层清理不干净,没有浇水湿润、找平层砂浆过薄、上人过早将板面踩活等造成。混凝土垫层应用钢丝刷清扫干净;浇水湿润扫一遍素水泥浆。
(2).尽端出大小头:由于房间尺寸不方正,不同操作者在同一行铺设时掌握板块之间缝隙大小不一致造成。因此在房间抹灰前必须找方后冲筋,并且大理石地面相互勾通的房间应按同一互相垂直的基准线找方,严格按控制线铺砌。
(3).相邻两块板高低不平:大理石(或花岗石)板平整偏差大于±0.5mm的应剔出不予使用。
(4).过门处石板活动:铺砌时没有及时将铺砌过门石板与相邻的地面相接。
(5).在工序安排上,大理石(或花岗石)地面以外的房间地面应先完成。过门处大理石板与地面同时铺砌。
三、水泥地面
1、材料
水泥:应采用32.5以上普通硅酸盐或矿渣硅酸盐水泥,并严禁混用不同品种不同标号的水泥。
砂:中砂,过8mm孔径筛子,含泥量不大于3%。
2、作业条件
(1)、水泥砂浆地面施工前应弹好+50cm水平标高线。
(2)、室内门框和楼地面预埋件等项目均应施工完毕并办好检查手续。
(3)、各种立管和套管的孔洞周边位置应用豆石混凝土灌好修严。
(4)、有垫层的地面应做好垫层,地漏处找好泛水及标高。
(5)、过门口、洞口应设玻璃(或塑料)介缝条,且平整光滑。
(6)、地面施工前应做好屋面防水层或防雨措施。
(7)、当水泥砂浆面层内埋设管线等出现局部厚度减薄时,应按设计要求做防止面层开裂处理后方可施工。
3、操作工艺
(1)、清理基层:地面基层,地墙相交的墙面,踢脚板处的粘杂物清理干净,影响面层的突出部位剔除平整。
(2)、洒水湿润:在施工前一天洒水湿润基层。
(3)、抹踢脚板:有墙面抹灰层的踢脚板,底层砂浆和面层砂浆分两次抹成,无墙面抹灰层的只抹面层砂浆。
踢脚板抹底层水泥砂浆:清理基层,洒水湿润后,按标高线向下量尺至踢脚板标高,拉通线确定底灰厚度,套方贴灰饼,抹1:3水泥砂浆,刮板刮平,搓平整,扫毛浇水养护。
踢脚板抹面层砂浆:底层砂浆抹好,硬化后,拉线贴粘靠尺板,抹1:2水泥砂浆,抹子压抹上灰后用刮板紧贴靠尺垂直地面刮平,用铁抹子压光,阴阳角、踢脚板上口,用角抹子溜直压光。
(4)、刷素水泥浆结合层:宜刷1:0.5水泥浆,经扫涂形成均匀的水泥浆粘结层,随刷随铺水泥砂浆。
(5)、冲筋贴灰饼:根据+50cm标高水平线,在地面四周做灰饼,应控制面层厚度不小于2cm,大房间应相距1.5m至2m增加冲筋,如有地漏和有坡度要求的地面,应按设计要求做泛水和坡度。
(6)、铺水泥砂浆压头遍:紧跟贴灰饼冲筋铺水泥砂浆,配合比宜为水泥:砂=1:2,稠度不应大于3.5cm,强度等级不应小于M15,用木抹子赶铺拍实,木杠按贴饼和冲筋标高刮平,木抹子搓平,待反水后略撒1:1干水泥砂子面,吸水后铁抹溜平,如有分格的地面,经分格弹线或拉线,用劈缝溜子开缝,溜压至平、直、光,面层部分分格缝应与混凝土垫层的伸缩缝相应对齐。上述操作均在水泥砂浆初凝前进行。
(7)、第二遍压光:在压平头遍之后,水泥砂浆凝结,人踩上去有脚印但不下陷时,用铁抹子压第二遍。要求不漏压,平而出光。有分格的地面压过后应用溜缝抹子溜压,做针缝边光直,缝隙明细。
(8)、第三遍压光:水泥砂浆终凝前进行第三遍压光,人踩上稍有脚印,抹子抹上去不再有抹纹时,用铁抹子把第二遍压光留下抹子纹压平、压实、压光,达到交活的程度。
(9)、养护:地面压光交活后24h,宜封压地毯洒水养护并保持湿润,养护时间不少于14d。养护期间不允许压重物和碰撞,当面层的抗压强度达到5Mpa以上时方可上人行走。
(10)、冬期施工:冬期施工用32.5硅酸水泥或普通硅酸盐水泥。做地面前应将房间保暖条件做好,并通暖,使基层温度、操作环境温度、养护温度均不低于+5℃。养护时间和方法与常温施工相同。
4、质量标准
根据《建筑地面工程施工质量验收规范》GB50209-2002中5.3水泥砂浆地面的规定,由技术质量人员根据划分的检验批进行严格检查。
5、成品保护
(1)、施工操作时应保护已做完的工程项目,门框要加防护,避免推车损坏门框及墙面口角。
(2)、施工时应保护管线、设备等位置。
(3)、施工时保护好地漏、出水口等部位的临时堵口,以免灌入砂浆等造成堵塞。
(4)、施工后的地面不准再上人剔凿孔洞。
四、地砖楼面
地面砖楼地面所用面砖应一次备足,使用前应进行检查挑选,合格的要进行清洗并浸泡2~3h取出晾干备用。并应做好排砖设计,经建设监理有关单位同意后实施。
1、工艺流程:基层清理弹线→贴灰饼标筋→铺结合层砂浆→压平拔缝→嵌缝→养护
2、铺砖: 地面砖铺贴采用定位带法,由里向外逐块逐条进行施工,压平拔缝后经检查符合标准规定时清缝,2天后刷水湿润,用与面砖颜色相同的水泥浆将缝子嵌实并擦拭干净,并铺湿粉煤灰养护7天。
(1)、将基层砂浆污染清理干净,如有油污,应用10%的火碱水刷洗净后,用清水冲扫其上的碱液,并认真将板面的凹坑内的污物剔刷干净。
(2)、水泥砂浆打底
.刷素水泥浆一道,在清理好的基层上,浇水洇透,并撒素水泥面,然后用扫帚扫匀,扫浆面积的大小应依据打底铺灰速度的快慢决定,应随扫随铺。
.冲筋:四周从水平控制线下反至底灰上皮标高(从地面平减去面砖厚度及粘结砂浆厚度)抹灰饼,每隔1m冲筋一道,并找好坡度(冲筋应使用干硬性砂浆,厚度不宜小于2cm)。
.装档:用1:3水泥砂浆根据冲筋的标高,用小平锹或木抹子将砂浆摊平、拍实,小杠刮平,使其所铺设的砂浆与冲筋找平,再用大杠横竖检查其平整度,并检查标高,用木抹子挫平。24h后浇水养护。
(3)、找规矩、弹线
在纵横两个方向排好尺寸,缝宽以设计要求为准,设计无要求时紧密铺贴,缝隙宽度不宜大于1mm,虚缝铺贴宜为5~10mm。当尺寸不足整块砖的倍数时,可裁割半块砖于边角处;尺寸相差较小时,可调整缝隙。根据确定后的砖数和缝宽,在地面上弹纵横控制线约每隔四块砖弹一根控制线,并严格控制方正。大面积施工时,应采取分段按顺序铺贴。
(4)、铺砖
从入口开始,纵向先铺几行砖,找好规矩(位置及标高),以此为筋压线,从里向外退着铺砖,每块砖要跟线。铺砖的操作程序是:
a.浇水泥浆于底灰上。
b.砖的背面朝上,抹铺粘结砂浆。其配合比缸砖不小于1:2,水泥花砖不小于1:3,宜干硬性水泥砂浆厚度为10~15mm,因砂浆强度高,硬结快,应随拌随用,防止假凝后影响粘结效果。
c.将抹好灰,码砌到浇好水泥浆的底灰上。砖上楞跟线。
d.用木板垫好,木锤砸实找平。
(5)、拨缝、修整
将已铺好的砖块,拉线修整拨缝,将缝内多余的砂浆扫出,将砖面砸实,如有坏砖应及时更换。
(6)、勾缝
用1:1水泥砂浆勾缝,要求勾缝密实,缝内平整光滑。
如设计要求不留缝隙,则要求缝隙平直,在砸平、修整好的砖面上,撒干水泥面,并用水壶浇水,用扫帚将其水泥浆扫入缝内,并将其灌满并时用拍板拍振,将水泥浆灌实,最后用干锯末扫净,同时修整高低不平的砖块。
(7)、养护
铺完面砖后,常温下48h后浇水养护不少于7d。
整个操作过程应连续完成。最好一次铺设一间或一个部位,接茬最好放在门口的裁口处。
3、质量标准
根据《建筑地面工程施工质量验收规范》GB50209-2002中6.2砖面层的有关规定,有技术质量人员根据划分的检验批进行严格检查。
4、成品保护
(1)、对已完工程应进行保护,防止磕碰;应用窄车运料以减少碰撞,车脚宜用胶皮、塑料或布包裹。
(2)、剔凿和切割砖时下边应垫好木板。
(3)、在已铺贴好的水泥花砖面层上工作时,严禁钢材、铁件等重物在地上乱砸乱扔。
油漆浆活施工时严禁污染面层。
5、应注意的质量问题
(1)、地面不平,出现小高低:砖的厚度不一致,没严格挑选,或砖面不平劈棱窜角,或铺贴时没敲平、敲实,或上人太多养护不利造成。为解决此问题,首先要选好砖,不合规格、不标准的砖绝不允许使用。铺贴时要砸实,铺好地面后,封闭入口,常温48h锯末养护后水泥砂浆结合层达到1.2MPa以上方可上人操作。
(2)、面层空鼓:面层空鼓主要原因是基层清理不净,浇水不透,早期脱水所致;另一原因是上人过早,粘结砂浆未达强度受到外力振动,将块材与粘结层脱离成空鼓。解决办法是加强清理及施工前基层的检查,注意控制上人施工的时间,加强养护。
(3)、黑边:不足整块砖时,不切割半砖或小条铺贴而采用砂浆修补,形成黑边,影响观感。解决办法是,按规矩进行砖块的切割铺贴。
第二节、门窗工程
本工程门窗的类别及材料按设计要求,木门和铝合金窗。
一、门安装
本工程是以两栋超高层住宅楼为主,住宅楼采用木门,公共区采用何种门,需经甲方、设计协商确定,故现在主要考虑木门安装。
1、施工准备
(1)、材料
①.木门(包括纱门):由木材加工厂供应木门框和扇进场前应核对型号,检查数量及门框和扇的加工质量和出厂合格证。加工质量包括缝子大小、接缝平整、几何尺寸正确及门平整等,木材含水率应由生产厂家掌握,不得超过12%。不准在现场制作加工木门。
②.其它材料:防腐剂、木螺丝、合页、插销、拉手、挺钩、门锁、地弹簧等各种小五金。
(2)、作业条件
①.结构工程已完成并结构验收完毕,且符合质量标准要求,室内+50cm平线已弹好。
②.门框和扇在安装前应检查有无窜角、翘扭、弯曲、劈裂,如有以上情况应修理后再进行拼装。
③.门框和扇进场后及时组织油工将框靠墙靠地的一面涂刷防腐剂。其它各面应涂刷一遍底油(干性油),防止受潮变形。刷油后分类码放平整,底层应垫平、垫高。每层框间衬木板通风。一般不在露天堆放。
④.门扇安装应在地面工程完成并达到强度后进行。
2、操作工艺
(1)、做样板:安装门扇及小五金等依照图纸及规范要求进行施工,安装后经建设、监理单位按验评标准检查,若符合标准要求则算做样板。并按此样做为掩扇安装的标准。
(2)、门框安装
①.安装工艺
a、安装时应考虑抹灰层厚度,并根据门尺寸、标高、安装位置及开启方向,画出窗框位置线,确定立框的位置。
b、门框的安装标高。以墙上弹出的+50cm的平线为依据,用木楔将框临时固定在门洞内,为保证相邻门框的顺平和墙面交圈,应在墙上拉小线找直找平。并用水平尺将平线引入洞内做为立框时的标高。再用线坠校正吊直。门框上、下边两端伸出的外部分埋入墙内,水泥砂浆塞砖固定牢固。硬木窗框安装前应先对准木砖位置钻眼,便于钉钉。
c、当砌体为单砖或轻质砖块时,砌体内应砌入木砖的预制混凝土块。
d、门框安装前应校正规方,钉好斜拉条(不少于两根),无下嵌的门框应加钉水平拉条,防止在运输和安装过程中变形。
e、留置门洞口时,其尺寸大小要结合装饰、装修作法,留出足够的装饰,装修所需的厚度。对同一标高与垂直位置上的洞口,应严格核验其位置,消除装饰、装修层的“吃口”现象。
f、木门框的安装采用后塞框的方法,减少门窗框开裂,变形、碰伤现象。
g、门框与墙体之间的缝隙必须用砂浆塞严,但不得挤压框料造成变形,抹灰前应对窗位置和变形进行校正。
②.注意事项:若内墙为加气混凝土条板或其它轻质板时,应钻孔,将木楔粘108胶水泥浆打入孔内,便于固定门框。安装木框应与预埋木砖钉牢,门框边每边不少于三块固定木砖。
(3)、门扇安装
①.先确定门的开启方向及小五金型号和安装位置。对开的裁口方向一般应以开启方向的右扇为盖口扇。
②.检查门口是否有窜角及各部位尺寸是否与图示尺寸吻合,检查门口高度应量门的两侧,检查门口宽度应量门口的上、中、下三点,并在扇的相应部位定点画线。
③.将门扇在框上划出相应的尺寸线,如果扇大,则应根据框的尺寸将大出的部分刨去,若扇小应绑木条,用胶和钉子钉牢,钉帽要砸扁,并钉入木材内1~2mm。
④.第一次修刨后的门扇应以能塞入口内为宜,塞好后用木楔顶住临时固定,按门扇与口留缝的宽度合适后,画出第二次修刨线,标上合页槽的位置(距门扇的上下端1/10,且避开上、下冒头),同时应注意口与扇安装的平整。
⑤.对门扇进行第二次修刨,缝隙尺寸合适后,即安装合页。应先用线勒子勒出合页的宽度,根据离上、下冒头1/10的要求,定出合页安装边线,分别从上、下边线往里量出合页长度,剔合页槽,以槽的深度来调整门扇安装后与框的平整。
⑥.合页槽剔好后,即安装上、下合页,安装时应先拧一枚螺丝,然后关上门检查缝隙是否合适,口与扇是否平整,无问题后方可将螺丝全部拧上拧紧。木螺丝应钉入全长1/3拧入2/3。
⑦.安装对开扇时,应将门扇的宽度用尺量好,再确定中间对口缝的裁口深度,然后进行四周修刨到准确尺寸。
⑧.安装门扇用的合页宜采用插入式折页,以便于门扇的拆卸与集中油漆。
⑨.五金安装应按设计图纸要求,不得遗漏。一般门锁、碰珠、拉手等距地高度为0.9~1.05m,插销应装在拉手下面,对开门用暗插销时,安装工艺同自由门。
⑩.门扇开启后易碰墙,为固定门扇位置应安装门碰头,对有特殊要求的密闭门应安装门扇开启器,其安装方法,因根据选用的产品,参考产品使用说明进行。
- 质量标准
根据《建筑装饰装修工程质量验收规范》GB50210-2001中5.2条木门窗制作与安装工程的规定,由技术质量人员根据划分的检验批严格检查。
4、成品保护
(1)、木门框安装后采取保护措施,防止门框碰撞或移位变形。门框宜用1cm厚木板条钉设保护,防止砸碰门框,破坏裁口影响安装和装修质量。油漆前要整修框料,使其棱角完整。
(2)、修刨门时应用木卡将门边垫起卡牢,以免损坏门边。门框扇进场后应妥善管理,有条件的应入库,不论是入库或露天存放,下面均应垫起,离地面20~40cm,码放整齐,上面用帆布盖好,防止受潮。
(3)、应及时刷底油一道,木框靠墙一边应刷木材防腐剂进行处理。
(4)、调整修理门扇时不得硬撬,以免损坏扇料和五金。
(5)、安装门扇时,应严禁碰撞抹灰口角,防止损坏墙面灰层。
(6)、已安装好的门扇应设专人管理,专人开关,防止刮风时损坏。
(7)、五金的安装应符合图纸要求,严禁丢漏。
(8)、门扇安好后不得在室内再使用手推车。
(9)、不得从门口向外倾倒建筑垃圾。
(10)、不得在室内拌合砂浆以防污染门窗。
(11)、不得在门上涂写。
(12)、不应在室内生火取暖做饭,熏黑污染门。
5、应注意的质量问题
(1)、门框安装不牢:木砖埋设不牢固,木砖数量少或将木砖碰活造成的。为保证门框安装牢固的要求,木砖的设置一定要满足数量和间距的要求,木砖埋设要牢固。用长钉把框与砖钉牢固。框与墙体间的空隙用砂浆嵌实。
(2)、上下层门不顺直,左右门安装标高不符,为此,要加强安装前的准备工作,做好三线控制(即门框两侧边线的垂直线及水平标高的控制线)。
(3)、门扇开关不灵活:框扇表面安装要平整、留缝宽度均匀。合页槽深浅要一致,螺丝钉严禁一次钉入,钉入深度不超过螺丝长的1/3,拧入深度不少于2/3,拧入时不得倾斜。安装时如遇木节、巴眼,应经修补钻眼再拧螺丝,不准遗漏螺丝。
二、窗安装
本工程的窗采用铝合金窗。
1、施工准备
(1)、材料
①.铝合金窗的规格、型号应符合设计要求,五金配件配套齐全。必须具有产品的出厂合格证。并具有“三性”检验的合格产品。
②.镀锌连接件、钢钉、膨胀螺栓、橡胶条、镀锌铆钉、防水密封膏、塑料垫、压条、焊条、软填料等。
(2)、作业条件
①.结构工程经验收符合合格产品,洞口套抹好底糙。
②.按图示尺寸弹好窗中线,并弹好室内+50cm水平线,校核窗洞口位置尺寸及标高是否符合设计图纸要求,如有问题应提前进行剔凿处理。
③.按设计图纸检查核对窗型号、规格,开启方向、安装孔方位及组合杆和附件等,位置是否吻合,若不符合应提前剔凿处理。并应及时将孔洞内杂物清理干净。
④.按图纸要求核对型号和检查铝合金窗及塑钢窗的质量,如发现窜角和翘曲不平,偏差超标者,严重损伤,划痕严重,外观色差大者,经商定解决修整,鉴定合格后才能安装。
⑤.如粘有保护膜缺损者应补粘后再施工安装。
⑥.保留或搭设安装脚手架。
2、操作工艺
(1)、铝合金窗与洞口应弹性连接牢固,不得将门窗直接埋入墙体。应按照市质监站要求预埋钢套,钢套每侧与墙体连接点不少于3处,且不得直接固定于填充墙材上,应预埋混凝土预制块。
(2)、窗框预埋件安装
窗洞口预埋铁件,一般在土建结构施工时安装。窗框安装前复查下列尺寸。
①.洞口尺寸。
②.洞口预埋铁件的间距必须与门窗框上设置的铁脚配套。
③.门窗洞口墙体厚度方向的预埋铁件中心线如无设计规定时,距内墙面:38~60系列为100mm,90~100系列为150mm。
④.铁脚至窗角的距离应为150-200mm。铁脚间距应小于600mm。
(3)、弹线找规矩
根据设计图纸和土建提供的洞口中心线和水平标高,找出最高层窗洞口位置,以其窗边线为标准,分别用经纬仪将窗边线下引,并在各层窗口处划线标记,对个别不直的口边应进行剔凿处理。窗洞口的水平位置应以楼层+50cm的水平线为标准,往上翻,量出窗下皮标高,弹线找直。一个房间应保持窗下皮标高一致。每一层也应保持下皮标高一致。
(4)、确定墙厚方向的安装位置
根据外墙大样图和窗台板的宽度确定铝合金窗在墙厚方向的安装位置。如外墙厚度有偏差时,原则上以同一房间的窗台板外露宽度一致为准,窗台板伸入铝合金窗下5mm为宜。
(5)、安装铝合金窗披水
按照设计图纸要求将披水条固定在铝合金窗上,且要保证位置正确,安装牢固。
(6)、防腐处理
①.窗两侧的防腐处理应符合设计要求,如设计无要求时,可涂刷防腐材料,如橡胶型的防腐涂料或涂刷聚丙烯树脂保护装饰膜,也可粘贴塑料薄膜进行保护,严禁水泥砂浆直接与铝合金门窗面接触,产生电化学反应,腐蚀铝合金门窗。
②.铝合金窗安装,若采用连接铁件进行固定时,应进行防腐处理。连接固定件宜选用不锈钢件。
(7)、窗框的就位和临时固定
①.铝框上保护胶膜安装前后不应撕掉或损坏。
②.根据找好的规矩,安装铝合金窗框,并及时将其吊直找平,同时检查其安装位置是否正确,无问题后,再用木楔临时固定。
.若窗框采用明螺丝连接,应用与窗同颜色的密封材料将其掩埋密封。
(8)、窗框固定
铝合金窗固定方法用射钉枪将铁脚与混凝土墙体或混凝土预制块固定。
(9)、处理窗框与墙体的缝隙
铝合金窗框安装固定后,应及时按设计要求处理窗框与墙体缝隙,若设计未规定填塞材料时,应采用用矿棉或玻璃棉毡条分层填塞缝隙,处表面留5~8mm深槽口填嵌嵌缝油膏。窗应在窗台板安装后将窗四周缝同时嵌填,嵌填时防止窗框碰撞变形。铝合金窗及塑钢窗如沾有水泥浆或其它污染物,应立即用软布清洗干净。
(10)、装扇
推拉窗扇要在上框内做导轨和滑轮,有的门则在地面上做导轨在门扇下冒头做滑轮。
(11)、安装铝合金纱窗
①.绷铁纱或钢纱、裁纱、压纱条固定,其施工方法同钢窗的纱扇。
②.挂纱扇。
(12)、安装五金配件
根据设计及图示要求安装配件,各类五金零件的转动和滑动配合处应灵活,无卡阻现象。配件安装要齐全。
在窗框节点要安装碰胶或设胶垫,拉窗下槛设排水眼,及防扇出轨的限位装置和防撞击装置。
3、质量标准
根据《建筑装饰装修工程质量验收规范》GB50210-20015.3.2-5.3.12条的规定,由技术质量人员根据划分的检验批进行严格检查。
4、成品保护
(1)、防污染
①窗应采用预留洞口方式。窗框安装应安排在地面、墙面湿作业完成之后。
②窗框四周嵌防水密封胶时,操作应仔细,油膏不得污染门窗。
③室内外涂刷或喷涂时,应用塑料薄膜封严窗,防止污染。
④建筑垃圾,不得从窗口向外倾倒。
⑤不得在室内拌砂浆,以防水泥灰喷污窗。
⑥不得在窗上乱划涂写。
⑦窗塑料保护薄膜在门窗安装前以及室内外湿作业未完前,不能破坏,防止砂浆对其面层污染侵蚀。
⑧铝合金窗的保护膜应在交工前再斯去,要轻撕,且不可用铲刀铲,防止将其表面划伤,影响美观。
(2)、防撞击、划痕
①窗扇安装后,随即安装五金配件,关窗锁门,以防风吹损坏门窗。
②搭拆、转运脚手杆和架板、安装管线及设备,应防止擦、砸撞坏窗边框。
③建立严格的成品保护制度。
5、应注意的质量问题
(1)、铝合金窗下槛部分渗水:下槛与墙体间缝填嵌要严密,窗下两个角的拼缝要严密。设排水孔。
(2)、面层污染咬色:施工过程中产品保护不当,应及时清理。
(3)、铝合金窗及塑钢窗采用多组组合时注意拼装质量,拼头应平整,不劈棱,不窜角。开关要灵活。
(4)、表面划痕:严防用硬物等清理其铝合金表面。
第三节、玻璃安装
一、施工准备
1、材料
(1)、玻璃的品种、规格和颜色应符合设计要求和施工规范规定。
(2)、木压条(腻子):可直接在市场上买到成品。
2、作业条件
(1)、玻璃应在内外门窗五金安装后,经检查合格并在涂刷最后一道漆前进行安装。
玻璃隔断的安装也应参照上述要求进行。
(2)、门窗在正式安装玻璃前,要检查是否有扭曲及变形等情况,如发现变形扭曲,应进行修理和挑选后,再安装玻璃。
(3)、玻璃安装前应按照设计要求尺寸,预先集中裁制,并按不同规格和安装顺序码放在安全处备用。
(4)、对于集中加工后进场的半成品,应有针对性的选择几樘进行试安装提前核实来料的尺寸留量是否合适(上下余量3mm,宽窄余量4mm),边缘不得有斜曲或缺角等情况。必要时应做再加工处理或更换。
二、操作工艺
1、将需要安装的玻璃,按部位分规格、数量分别将已裁好的玻璃就位;分送的数量应以当天安装的数量为准,不宜过多,以减少搬运和不应有的损耗。
2、一般安装顺序应先安外门窗,后安内门窗,先西北后东南逐层进行安装;劳力充足的情况下也可同时进行。
3、玻璃安装前,先在玻璃底面与裁口之间,沿裁口的全长均匀涂抹1~3mm厚的底油灰,随后把玻璃推铺平整、压实,然后收净底灰。
4、玻璃推平、压实后,用手轻敲玻璃,响声坚实,说明玻璃安装严实;响声拍拉拍拉,说明油灰不严,要重新取下玻璃,铺实底油灰后推压挤平。采用木压条固定,应先涂干性油并不得将玻璃压的过紧。
安装钢化玻璃时,应按设计要求用卡紧螺丝或压条镶嵌固定;在玻璃与金属框格相连接处,应衬垫橡皮垫或塑料垫。
5、死扇玻璃安装,应先用扁铲将木压条撬出,将小钉子退出,同时将裁口抹上底油灰,把玻璃推铺平整,然后嵌好四边压条将小钉钉牢,修好底灰。
玻璃安装后,应进行清理,将油灰、钉子、木压条等随手清理干净。
冬期施工应在已安装好玻璃的室内作业,温度应在正温度以上;存放玻璃的库房与作业面温度相差不能过大,玻璃如从过冷或过热的环境中运入操作地点,应待玻璃与室内温度相近后再进行安装。如条件允许,要将预先裁好的玻璃提前运入作业地点。
三、质量标准
根据《建筑装饰装修工程质量验收规范》GB50210-2001中5.6门窗玻璃安装工程的规定,由技术质量人员根据划分的检验批进行严格检查。
四、成品保护
1、凡已经安装完门窗玻璃的,必须派专人看管维护,每日应按时开关门窗,尤其在风天,更应注意,以减少玻璃的损坏。
2、门窗玻璃安装后,应随手挂好风钩或插上插销,防止刮风损坏玻璃,并将多余的和破碎的玻璃及时送库或清理干净。
3、玻璃安装时,操作人员要加强对窗台及门窗口抹灰等的保护。
五、应注意的质量问题
1、底油灰铺垫不严:用手指敲弹玻璃时有响声,固定扇底油灰不易出现这种情况。应在铺底灰及嵌钉固定时,认真操作并仔细检查。
2、表面观感差:油灰表面不光,有麻面、皱皮现象。防止此种现象就要认真操作,油灰的质量应保证,湿度要适宜,不干、不软。
木压条、橡皮垫等安装时应经过挑选,防止出现变形,影响玻璃美观;污染的痕迹应及时擦净。
第四节、外墙面涂料施工
一、施工准备
1、材料
涂料种类很多,所以涂料的选用建设单位选定。
涂料:按统计要求及样板颜色选用,所用材料应一次备齐。
2、作业条件
(1)、外墙板缺棱掉角处用1:3水泥砂浆修补好,空腔防水缝做好,并经淋水试验无渗漏现象。
(2)、结构工程已完,已搭造好架子或吊蓝架子。
(3)、基层抹灰经检查验收无酥松,脱皮,起砂,粉化等现象,有足够的强度,且含水率不得大于10%。
(4)、操作环境温度应为+5℃以上。
二、操作工艺
1、基层处理
清理基层表面的灰浆,浮土等,对预制外墙板的油污、隔离剂必须用10%的火碱水刷洗干净,并用清水将碱液洗去。
2、配料
将若干桶涂料倒在一个特制的大槽内,并用手提电动搅拌器将其拌合均匀,根据喷滚面积的大小随拌合随使用。
3、面层涂料的施工
(1)、对于外墙大面积涂料施工,宜采用喷滚相结合的方法。
(2)、喷滚相结合的施工方法:涂刷面质感强,且有光泽,采用喷斗及手滚相结合的施工方法。
喷刷封底漆,干后即可喷涂中间层。
罩面漆:用专用稀料调整其浓度,喷滚方法喷三遍即可。三遍间隔时间为2h。
三、质量标准
根据《建筑装饰装修工程质量验收规范》GB50210-2001中10涂饰工程的规定,由技术质量人员根据划分的检验批进行严格检查。
四、成品保护
1、喷涂前应对门窗框扇和玻璃及不需要喷涂部位遮挡好。如喷到玻璃等处及时清擦干净,防止涂层干后不好清洗。
2、施工12h内避免雨淋,下雨天不得施工。
3、拆架子、升降吊栏不得碰坏墙面涂层。
4、涂刷时不要污染门窗、玻璃及其它饰面层。
5、室内清理杂物不能从窗口而下,防止污染墙面。
五、应注意的质量问题
1、涂膜粘结不牢,起鼓开裂:基层含水率太大,潮气将涂膜拱破。要求涂刷前基层必须充分干燥,并在涂刷前用水湿润。
2、涂膜崩磁开裂:材质较差,含胶少,粉料多,涂层过厚,局部爆晒所致,应先选用好的材质涂刷,在涂刷前先做样板,经鉴定合格后再大面积施工。
3、反碱、咬色:二次着补时深层干湿不一,厚度不一,或冬施工抹灰砂浆内掺有抗冻剂,面层涂料施工后极易产生反碱、咬色。
4、掉粉:有的涂料,需要在现场施工时掺入固化剂,但施工人员不了解,或未掺入,有的涂料稠度较大,施工时随意加水,使涂料含胶量相对减少,涂刷后掉粉。
5、流坠:喷嘴过大,喷滚一次过厚,喷滚压力小,离墙面太近;或涂刷过稀,固化慢,都会造成流坠。
6、发花:颜色不一,涂料稀,涂刷遍数多或涂刷遍数不一,涂层厚度不一造成。涂层时应少蘸料,勤涂刷,注意遍数,掌握好涂层厚度,温度低于0℃应停止外涂施工。
第五节、外墙干挂石材
一、施工准备
1、材料
(1)、石材:石材的品种、规格、颜色和产地等应符合设计的要求。石材表面必须平整,阳角方正,不得有掉棱缺角、开裂或暗伤裂纹;此外,饰面石材的大小还必须适合当地最大风压和抗震的要求。
(2)、不锈钢挂件:不锈钢挂件通常由膨胀螺栓、直角连接板和锚固件连接板等组成。直角连接板厚一般为4~6mm,锚固件连接板厚一般为2~5mm。因锚固件样式的差异,不锈钢挂件又可分为销钉式挂件、挂钩式挂件和插片式挂件等几种。
(3)、辅助材料:环氧树脂——板材和锚固件粘结用。橡胶条——填塞板间拼缝用。硅胶——封闭板间拼缝用。
2、机具设备
切割机,冲击钻,角磨机,梅花扳手,测力扳手,抛光机,电焊机,打胶机,靠尺和水平尺等。
二、工艺流程
基层处理
安装挂件
安装挂件膨胀螺栓
装饰面位置放线,石材钻孔或开槽
复核并调校饰面石材位置
安装饰面石材
饰面清理
用橡胶条或泡沫条填塞拼接缝并打封缝胶胶
用环氧树脂填实石材上的连接孔、槽
三、操作要点
1、基层处理
(1)、混凝土墙面处理:混凝土墙面平整控制在4mm/2m以内。
(2)、砖墙及其它墙面:墙上布置钢骨架,水平方向的槽钢焊在竖向槽钢上。
2、放线:按设计要求在墙面上弹出控制网,由中心向两边弹放。应弹出每块板的位置线和每个挂件的具体位置。
3、石材钻孔或切槽:采用销钉式挂件和挂钩式挂件时,可用冲击钻在石材上钻孔。采用插片式挂件时可用角磨机在石材上切槽。为保证所开孔、槽的准确度和减少石材破损,应使用专门的机架,以固定板材和钻机等。
4、膨胀螺栓安装:按照放线的位置在墙面上打出膨胀螺栓的孔位,孔深以略大于膨胀螺栓套管的长度为宜。埋设膨胀螺栓并予以紧固,最后用测力板手检测连接螺母的旋紧力度,使之达到设计的要求。
5、挂件和石材安装
(1)、销钉式和挂钩式挂件安装。在安装膨胀螺栓的同时将直角连接板紧固于膨胀螺栓上,用环氧树脂胶嵌入下层石材的上孔和上层石材的下孔,然后安装销钉或挂钩连节板,使石材就位并使销钉或挂钩插入上、下石材的孔眼,再次调整连接螺栓,务必保证石材位置的正确,终拧螺栓。
(2)、插片式挂件安装。在安装膨胀螺栓的同时将直角连接板固定,然后安装锚固插片连接板,石材就位,使插片进入上、下层石材的槽内,调整位置后拧紧连接板螺栓,插片与石材连接处用勾缝胶将沟槽填塞平整。
6、拼接缝的填塞与封闭:石材安装完毕后,经检查无误,清扫拼接缝后即可嵌入橡胶条或泡沫。然后打勾缝胶封闭。注胶要均匀,胶缝应平整饱满,亦可稍凹于板面。为保证拼缝两侧石材不被污染,应在拼缝两侧的石板上贴胶带纸保护,打完胶后再撕掉。
四、质量要求
根据《建筑装饰装修工程质量验收规范》GB50210-2001中的有关规定进行检查。
- 、 防水工程
说明:根据设计要求厨房卫生阳台采用高分子聚和物弹性防水涂料加一道DPS防水液,屋面采用高分子防水卷材防水。
一、厨房、阳台、卫生间防水工程
1、本工程厨房、阳台、卫生间采用DPS防水液,上翻120高度,1:3水泥砂浆找平15厚,再做高分子聚和物弹性防水材料。
2、高分子聚合物弹性防水
(1)、施工准备
①涂刷防水层的基层表面,应将尘土、杂物清扫干净,表面残留的灰浆硬块及突出部分应刮平、扫净、压光;阴阳角处应抹成圆弧或钝角。
②基层表面应保持干燥,含水率不大于9%,并要平整、牢固、不得有空鼓、开裂及起砂等缺陷。
③突出地面、墙面的管根、地漏、排水口、阴阳角、变形缝等处易发生渗漏的部位,应做完附加层等增补处理;刷完聚氨酯底胶后,经检查验收办理完隐蔽工程验收。
④防水层施工所用的各类材料、基层处理剂、着色剂及二甲苯等均为易燃物品,储存和保管要远离火源,施工操作时,应严禁烟火。
⑤防水层施工不得在雨天、大风天进行,冬季施工的环境温度应不低于+5℃。
(2)、细部做附加层
突出地面、墙面的管根、地漏、排水口、阴阳角、变形缝等细部薄弱环节,应在大面积涂刷前,先做一布二油防水附加层,底胶表干后将纤维布裁成与管根、地漏等尺寸,同形状并将周围加宽20cm的布,套铺在管根等细部,同时涂刷涂膜防水材料,常温4h左右表干后,再刷第二道涂膜防水材料;24h实干后,即可进行大面积涂膜防水层施工。
3、质量标准
根据《屋面工程质量验收规范》GB50207-2002中5.3涂膜防水层的规定,由技术质量人员根据划分的检验批进行严格检查。
4、成品保护
(1)、已涂刷好的涂膜防水层,应及时采取保护措施。不得损坏,操作人员不得穿带钉子鞋作业。
(2)、穿过地面、墙面等处的管根、地漏等不得碰损、变位。
(3)、地漏、排水口等处应保持畅通,施工中应采取保护措施。
(4)、涂膜防水层施工后,未固化前不允许上人行走踩踏,以免破坏涂膜防水层造成渗漏。
(5)、涂膜防水层施工时,应注意保护门窗口、墙等成品,防止污染。
5、应注意的质量问题
(1)、空鼓:防水层空鼓,发生在找平层与涂膜防水层之间以及接缝处,其原因是基层潮湿,找平层未干,含水率过大,使涂膜空鼓,形成鼓泡,施工时要控制基层含水率,接缝处应认真操作,使其粘结牢固。
(2)、渗漏:防水层渗漏水,发生在穿过地面、墙面的管根、地漏和伸缩缝等处;伸缩缝等处由于建筑物不均匀下沉,撕裂防水层,其他部位由于管根松动或粘结不牢,接触面清理不干净,产生空隙,接槎、封口处搭接长度不够、粘贴不紧密;施工过程中应认真仔细操作,加强责任心。
6、蓄水试验包括以下三个内容:
(1)、管根的围水试验;
(2)、防水层完成后的蓄水试验;
(3)、地砖施工完后的蓄水试验。
以上蓄水试验需做24小时检验,然后请建设监理单位进行验收。如发现渗漏水现象及时返工。
三、屋面防水工程
1、施工准备
基层牢固、平整、干燥,干燥程度的简易检验方法,是将1㎡卷材平坦地干铺在找平层上,静置3~4小时后掀开检查,找平层覆盖部位与卷材上未见水印即可铺设。阴阳角及管道根部要仔细清理干净。现场配备消防器等
2、施工工艺
(1)、屋面找平层清理干净,找平层的介格缝及屋面变形缝用柔性材料填嵌密实,屋面坡度利用憎水性珍珠岩找坡时坡度为0.5~1%,管道根部及阴阳角可抹成半径100~150mm圆弧形,找平层表面平整、无油污。
(2)、现浇整体与檐沟或天沟,其沟内两个侧立面及底面均要施工,厚度不少于30mm,并要与屋面连接成一体,水浇口铁件处,应覆盖铁件反边40mm。
(3)、特殊部位管道根部及阴阳角处均应做成圆弧或钝角;女儿墙中心线以内墙表面及天沟内侧三个面均要施工;水落口铁件处、应覆盖铁件反边,尺寸不小于40mm。
3、质量标准
根据《屋面工程质量验收规范》GB50207-2002中4卷材防水屋面的规定,由技术质量人员根据划分的检验批进行严格检查。
第七节、室内砼及抹灰表面刷乳胶漆
1、施工准备
(1)、材料(涂料、调腻子用料、颜料)由建设单位定。
(2)、作业条件
①墙面应基本干燥,基层含水率不大于10%。
②过墙管道、洞口等处应提前抹灰找平。
③门窗安装完毕,地面施工完毕。
④环境温度保持在+5℃以上。
⑤做好样板间并经鉴定合格。
2、操作工艺
(1)、清理墙面:首先将墙面起皮及松动处清理干净,将灰渣铲干净,然后将墙面扫净。
(2)、修补墙面:用水石膏将墙面磕碰处及坑洼缝隙等处找平,干燥后用砂纸将凸出处磨掉,将浮尘扫净。
(3)、刮腻子:刮腻子遍数可由墙面平整程度决定,一般情况下为3遍,第一遍用胶皮刮板横向满刮,一刮板紧接着一刮板,接头不得留槎,每刮一刮板最后收头要干净利落。干燥后磨砂纸,将浮腻子及斑迹磨平磨光,再将墙面清扫干净。第二遍用胶皮刮板竖向满刮,所用材料及方法同第一遍腻子,干燥后砂纸磨平并扫干净。第三遍用胶皮刮板找补腻子或钢片刮板满刮腻子,将墙面刮平刮光,干燥后用细砂纸磨平磨光,不得将腻子磨穿。
(4)、刷第一遍乳胶漆:涂刷顺序是先刷顶板后刷墙面,墙面是先上后下,先将墙面清扫干净,用布将墙面粉尘擦掉。乳胶漆用排笔涂刷,使用新排笔时,将活动的排笔毛理掉。乳胶漆使用前应搅拌均匀,适当加水稀释,防止头遍漆刷不开。干燥后复补腻子,再干燥后用砂纸磨光并清扫干净。
(5)、刷第二遍乳胶漆:第二遍乳胶漆操作要求同第一遍,使用前充分搅拌,如不很稠,不宜加水或少加水,以防露底。漆膜干燥后,用细砂纸将墙面小疙瘩和排笔毛打磨掉,磨光后清扫干净。
(6)、刷第三遍乳胶漆:第三遍乳胶漆操作要求与第二遍相同。由于乳胶漆膜干燥较快,应连续迅速操作,涂刷时从一头开始,逐渐刷向另一头,要上下顺刷互相衔接,后一排笔紧接前一排笔,避免出现干燥后接头。
3、质量标准
根据《建筑装饰装修工程质量验收规范》GB50210-2001中10.3溶剂型涂饰涂料工程的规定,由技术质量人员根据划分的检验批进行严格检查。
4、成品保护
(1)、油漆墙未干前室内不得清扫地面,以免尘土污沾墙面,漆面干燥后不得挨近墙面泼水,以免玷污。
(2)、油漆墙面完工后要妥善保护,不得磕碰。
(3、)涂刷墙面时,不得污染地面、门窗、玻璃等工程。
5、应注意的质量问题
(1)、透底:产生原因是漆膜薄,因此刷漆时除应注意不漏刷外,还应保持乳胶漆的稠度,不可加水过多。
(2)、接槎明显:涂刷时要上下顺刷,后一排笔紧接前一排笔,若间隔时间稍长,就容易看出接头,因此大面积涂刷时,应配足人员,互相衔接。
(3)、刷纹明显:乳胶漆稠度要适中,排笔蘸漆量要适当,多理多顺防止刷纹过大。
(4)、分色线不齐:施工前认真划好粉线,刷分色线时要靠放直尺,用力均匀,起落要轻,排笔蘸漆量要适当,从前向后刷。
(5)、涂刷带颜色的漆时,配料要合适,保证独立面每遍用一批涂料,并宜一次用完,保证颜色一致。
第八节、木构件清色油漆
1、施工准备
(1)、材料(油漆主料、填充料、稀释剂等)由建设单位定。
(2)、作业条件:
①施工温度宜保持均衡,不得突然变化,且通风良好。湿作业已完并具备一定的强度,环境比较干燥。一般油漆工程施工时的环境温度不宜低于+5℃,相对湿度不宜大于60%。
②在室外或室内高于3.6m处作业时,应事先搭好脚手架,并以不防碍操作为准。
③大面积施工前应事先做样板间,经有关质量部门检查鉴定合格后方可组织班组进行大面积施工。
④操作前应认真进行交接检查工作,并对遗留问题进行妥善处理。
⑤木基层表面含水率一般不宜大于12%。
2、操作工艺
(1)、基层处理
首先将木构件基层表面上的灰尘、锈斑、胶迹等用刮刀或玻璃片刮除干净。注意不要刮出毛刺,也不要刮破抹灰墙面,然后用1~11/2号木砂纸顺木纹打磨,先磨线角,后磨四口平面,直到光滑为止。
木构件基层有小块活翘皮时,可用小刀撕掉。重皮的地方应用小钉子钉牢固,如重皮较大或有烤糊印疤,应由木工修补。
(2)、润色油粉
油粉(颜色同样板颜色)盛在小油桶内。用棉丝蘸油粉反复涂擦于木材表面,擦进木材鬃眼内,而后用麻布或木丝擦净,线角处应用竹片除去余粉。注意墙面及五金上不得沾染油粉。待油粉干后,用1号木砂纸轻轻顺木纹打磨,先磨线角、裁口,后磨四口平面,直到光滑为止。注意保护棱角,不要将鬃眼内油粉磨掉。磨完后用潮布将磨下的粉末、灰尘擦净。
(3)、满刮油腻子
一般腻子的配合比为石膏粉20,熟桐油7,水适量(重量比),并加颜料调成石膏色腻子(颜色浅于样板1~2色),要注意腻子的油性不可过大或过小,如油性大,刷时不易浸入木质内,如油性小,则易钻入木质内,这样刷的油色不易均匀,颜色不能一致。用开刀或牛角板将腻子刮入钉孔、裂纹、鬃眼内。刮抹时要横抹竖起,如遇接缝或节疤较大时,应用开刀或牛角板将腻子挤入缝内,
(4)、刷油色
刷油色时,应从外至内、从左至右、从上至下进行,顺着木纹涂刷。刷门窗框时不得碰到墙面上,刷到接头处要轻飘,达到颜色一致;因油色干燥较快,所以刷油色时动作应敏捷,要求无缕无节,横平竖直,顺油时刷子要轻飘,避免出刷绺。
刷木门时,先刷亮子后刷门框、门扇背面,刷完后用木楔将门扇固定,最后刷门扇正面;全部刷好后检查是否有漏刷,小五金上沾染的油色要及时擦净。
油色涂刷后要求木材色泽一致,而又不盖住木纹,所以每一个刷面一定要一次刷好,不留接头,两个刷面的交接棱口不要互相沾油,沾油后要及时擦掉,达到颜色一致。
(5)、刷第一遍清漆
刷清漆,刷法与刷油色相同,但刷第一遍用的清漆应略加一些稀料(汽油)撤光,便于快干。因清漆粘性较大,最好使用已经用出了刷口的旧刷子,刷时要注意不流、不坠、涂刷均匀。待清漆完全干透后,用1号或旧砂纸彻底打磨一遍,将头遍清漆面上的光亮基本打磨掉,再用潮布将粉尘擦净。
修补腻子:一般要求刷油色后不抹补腻子,特殊情况下,可以使用油性略大的带色石膏腻子修补残缺不全之处,操作时,必须使用牛角板刮抹,不得损伤漆膜,腻子要收刮干净,达到光滑无腻子疤(有腻子疤时必须点漆片处理)。
修色:木材表面上的黑斑、节疤、腻子疤和材色不一致处,应用漆片、酒精加色调配(颜色同样板颜色)或用由浅到深的清漆色调合漆(铅油)和稀释剂调配、进行修色;材色深的应修浅,浅的提深,将深浅色的木料拼成一色,并绘出木纹。
磨砂纸:使用细砂纸轻轻往返打磨,然后用潮布擦净粉末。
(6)、安装玻璃
对木门窗,刷第一遍清漆后宜安装玻璃。
(7)、刷第二遍清漆
应使用原桶清漆不加稀释料(冬季可略加催干剂),刷油操作同前,但刷油动作要敏捷,多刷多理,清漆涂刷的饱满一致,不流不坠,光亮均匀,刷完后再仔细检查一遍,有毛病及时纠正。刷此遍清漆时,周围环境要整洁,宜暂时禁止通行,对木门窗最后应用梃钩钩住或用木楔固定牢固。
(8)、刷第三遍清漆
待第二遍清漆干透后,首先要进行磨光,然后过水布,最后刷第三遍清漆,刷法同前。
3、质量标准
根据《建筑装饰装修工程质量验收规范》GB50210-2001中的有关规定进行检查。
4、成品保护
(1)、每遍油漆前,都应将地面、窗台清扫干净,防止尘土飞扬,影响油漆量。
(2)、每遍油漆后,都应将门窗扇用梃钩勾住,防止门窗扇、框油漆粘结,破坏漆膜,造成修补及扇活损伤。
(3)、刷油后应将滴在地面上或窗台上及碰在墙上的油点清刷干净。
(4)、油漆完成后应派专人负责看管。
5、应注意的质量问题
(1)、漏刷:漏刷一般多发生在门窗的上、下冒头和靠合页小面以及门窗框、压缝条的上、下端部和衣柜门框的内侧等部位,其主要原因是内门扇安装时油漆工与木工不配合,故往往下冒头未刷漆就安装门扇,事后油漆工根本无法刷(除非把门扇卸下来重新刷);加上习惯传统做法(后装)及把关不严,管理不到位导,往往有少刷一遍油的现象。其它漏刷问题主要是操作者不认真所致。
(2)、缺腻子、缺砂纸:该现象一般多发生在合页槽、上中下冒头、榫头和钉孔、裂缝、节疤以及边棱残缺等处。主要原因是操作者未能认真按照规程和工艺标准去操作所致。
(3)、流坠、裹楞:其主要原因有二,一是由于漆料太稀,漆膜太厚或环境温度高,油漆干性慢等原因都容易造成流坠、裹楞。二是由于操作顺序和手法不当,尤其是门窗边棱分界(分色)处,一旦油量过大和操作不注意就容易造成流坠、裹楞。
(4)、刷纹明显:主要是油刷子小或油刷未泡开刷毛发硬所致。应用相适应的合适刷子并把油刷用稀料泡软后使用。
(5)、粗糙:主要原因是基层不干净,油漆内有杂质或尘土飞扬时施工而造成油漆表面发生粗糙现象。应注意用湿布擦净,油漆要过箩,严禁刷油时搞清理工作或刮大风时刷油。
(6)、皱纹:主要是漆质不好,兑配不均匀,溶剂挥发快或催干剂过多等原因造成。施工时应注意避免以上因素。
(7)、五金污染:除了操作要细和及时将小五金等污染处清擦干净外,应尽量把门锁、拉手和插销等后装(可以事先把位置和门锁孔眼钻好),确保五金洁净美观。
第九节、保温工程
保温工程分外墙保温和屋面保温,挤塑泡沫保温隔热板的导热系数0.0289,外墙采用25㎜厚板,屋面采用30㎜厚板,内庭院(地下室顶面)采用80㎜厚板。
本工程所用的保温材料为新型材料,具体做法制定详细的施工方案。
第八章、安装工程
第一节:工程概况
一:工程简介
本工程有地下二层,地上二十层,其中地下为汽车库、人防工程,1-20层为均为住宅楼,二十一层为机房、加压泵房及消防生活水箱。纵观整个大楼的设计及功能,是一栋现代化住宅楼。
1、生活给水系统分为三个供水小区。地上一~二层,由市政管网直接供水。其余部分二次加压,三至十层为中区供水系统,十一层以上为高区供水系统。地下室泵房设37.5M3不锈钢生活水箱两座,各区分别采用变频调速泵恒压变量方式供水,二次供水采用CLO2消毒处理,以确保水质。
2、排水系统,室内排水管采用柔性铸铁管法兰连接,室排雨水管采用焊接钢管焊接,外排雨水管和空调凝结水管采用UPVC塑料排水管粘接。
3、消防给水系统,本工程设室内消火栓系统,室内管道为环状,室内自救式DN65消火栓箱,室外设两个消防水泵结合器,屋顶设高位水箱,小区设集中消防泵房,消火栓系统采用≤DG100镀锌钢管丝口连接,>DG100采用无缝镀锌钢管卡箍连接。
4、热水采暖系统:本楼分低区,高区两个系统分区供暖,集中供暖分户计量,十层以下为低区采暖系统,十层以上为高区采暖系统,热源为该区换热站提供的温度为85/60゜低温热水,本工程设计采用下供下回“新双管”同程式系统,户内系统为一户一表,每一户为一独立采暖系统。供回水干管及热表、过滤器、阀门等均设在公用管道井内,户内采暖供回水管均埋设在各层楼板后浇层予留管槽内。地下室采用无缝钢管,焊接连接;其它明露管采用热镀锌钢管,采用丝口连接;户内采暖系统埋地管采用PB聚丁烯(5级)管道。散热器采用高压无砂柱翼型,每组散热器供水支管设一温控阀,回水支管设一温控阀。
5、强电系统在地下室设10/0.4KV变电所一座,两路10KV高压进线。主楼部分用电力电缆沿电缆桥架至各层配电设备,电源由室外埋地引入。用电设备电压220V、380V。
6、通风系统:采用无机不燃玻璃钢,地下室分二个防区,分别设送排风系统。车库另设诱导通风机集中排风。火灾时关闭防火阀,打开排烟阀与消防报报警联动。
7、消防报警系统设计了一套完整的消防报警系统,每层设置了消火栓箱,还设计了灵敏先进的报警装置,一旦有火警,能非常及时准确的报警,形成一个完整的消防安全网络。
8、防雷接地系统为二类防雷建筑,从地下基础焊接开始至屋面四周均设置了一套完整的防雷接地系统。
二:主要工程量内容
| 序号 | 项 目 名 称 | 单 位 | 数 量 | 备 注 |
| 一 | 给排水系统 | |||
| 1 | PP-RR热熔管DG20 | M | 8000 | |
| 2 | PP-RR热熔管DG25 | M | 1800 | |
| 3 | 衬塑镀锌管DG25~32 | M | 250 | |
| 4 | 衬塑镀锌管DG40~50 | M | 356 | |
| 5 | 衬塑镀锌管DG70~80 | M | 490 | |
| 6 | 衬塑镀锌管DG100~150 | M | 45 | |
| 7 | 截止阀DG25 | 只 | 160 | |
| 8 | Y型除污器DG25 | 只 | 160 | |
| 9 | Y型除污器DG40 | 只 | 1 | |
| 10 | 减压阀DG40 | 只 | 1 | |
| 11 | 远传水表DG20 | 只 | 160 | |
| 12 | 截止阀DG40 | 只 | 8 | |
| 13 | 截止阀DG50 | 只 | 2 | |
| 14 | 液位阀DG40 | 只 | 8 | |
| 15 | 变频泵 | 套 | 2 | |
| 16 | 法兰阀DG100 | 只 | 11 | |
| 17 | 法兰阀DG150 | 只 | 3 | |
| 18 | 止回阀DG100 | 只 | 11 | |
| 19 | 橡胶软接头DG100 | 只 | 8 | |
| 20 | Y型除污器DG100 | 只 | 1 | |
| 21 | 减压阀DG100 | 只 | 1 | |
| 22 | 电磁阀DG100 | 只 | 1 | |
| 23 | ||||
| 二 | 排水系统 | |||
| 1 | 柔性铸铁管DG50 | M | 1320 | |
| 2 | 柔性铸铁管DG75 | M | 1130 | |
| 3 | 柔性铸铁管DG100 | M | 2650 | |
| 4 | 柔性铸铁管DG150 | M | 62 | |
| 5 | 柔性铸铁管DG200 | M | 170 | |
| 6 | 焊接管DG100 | M | 550 | |
| 7 | 焊接管DG150 | M | 118 | |
| 8 | 洗脸盆 | 套 | 320 | |
| 序号 | 项 目 名 称 | 单 位 | 数 量 | 备 注 |
| 9 | 座便器 | 套 | 320 | |
| 10 | 浴盆 | 套 | 240 | |
| 11 | 洗涤盆 | 套 | 160 | |
| 三 | 热力系统 | |||
| 1 | BP管DG20 | M | 600 | |
| 2 | BP管DG25 | M | 14590 | |
| 3 | BP管配件 | 个 | 10480 | |
| 4 | 热镀锌管DG15 | M | 2992 | |
| 5 | 热镀锌管DG20 | M | 432 | |
| 6 | 热镀锌管DG25 | M | 130 | |
| 7 | 热镀锌管DG32 | M | 253 | |
| 8 | 热镀锌管DG40 | M | 289 | |
| 9 | 热镀锌管DG50 | M | 398 | |
| 10 | 热镀锌管DG70 | M | 206 | |
| 11 | 热镀锌管DG80 | M | 597 | |
| 12 | 无缝管D89*4 | M | 175 | |
| 13 | 无缝管D133*4.5 | M | 560 | |
| 14 | 无缝管D159*4.5 | M | 140 | |
| 15 | 柱翼650型TZY3-5-8 | 片 | 2016 | |
| 16 | 柱翼750型TZYG3-6-8 | 片 | 13616 | |
| 17 | 各种配套阀 | 只 | 4064 | |
| 18 | 波纹管膨胀节能16TB88*8 | 只 | 8 | |
| 四 | 通风系统 | |||
| 1 | 无机不燃玻璃钢 | M2 | 2658 | |
| 2 | 各种风机 | 台 | 14 | |
| 3 | 诱导风机 | 台 | 62 | |
| 4 | 各种防火阀 | 只 | 56 | |
| 5 | 各种风口 | 只 | 83 | |
| 五 | 弱电预埋管 | |||
| 1 | 镀锌电线KBG120 | M | 25980 | |
| 2 | 焊接钢管DG15 | M | 1570 | |
| 3 | 焊接钢管DG20 | M | 2150 | |
| 4 | 焊接钢管DG25 | M | 1530 | |
| 六 | 强电系统 | |||
| 1 | 配电柜 | 台 | 14 | |
| 2 | 各种箱 | 台 | 228 | |
| 序号 | 项 目 名 称 | 单 位 | 数 量 | 备 注 |
| 3 | CJX插接箱 | 台 | 12 | |
| 4 | 母线CCKX128-400A | M | 244 | |
| 5 | 母线YZM-16 | M | 1982 | |
| 6 | 电缆线35M2内 | M | 3850 | |
| 7 | 电缆线120M2内 | M | 250 | |
| 8 | 电缆线240M2内 | M | 540 | |
| 9 | 镀锌电线管KBG15 | M | 14500 | |
| 10 | 镀锌电线管KBG20 | M | 6590 | |
| 11 | 镀锌电线管KBG25 | M | 24500 | |
| 12 | 镀锌电线管KBG32~50 | M | 3790 | |
| 13 | 焊接管DG15 | M | 134 | |
| 14 | 焊接管DG20 | M | 1468 | |
| 15 | 焊接管DG25 | M | 52 | |
| 16 | 焊接管DG32 | M | 170 | |
| 17 | 焊接管DG40 | M | 300 | |
| 18 | 焊接管DG50 | M | 75 | |
| 19 | 焊接管DG70 | M | 90 | |
| 20 | 焊接管DG80 | M | 20 | |
| 21 | 焊接管DG100 | M | 30 | |
| 22 | 电线ZRBV2.5内 | M | 53400 | |
| 23 | 电线ZRBV4 | M | 75350 | |
| 24 | 电线ZRBV16内 | M | 10750 | |
| 25 | 航空灯 | 套 | 2 | |
| 26 | 防水防潮灯 | 套 | 2 | |
| 27 | 各种应急灯 | 套 | 1207 | |
| 28 | 吸顶灯 | 套 | 25 | |
| 29 | 荧光灯1*40 | 套 | 270 | |
| 30 | 格栅灯 | 套 | 21 | |
| 31 | 户用灯 | 套 | 1520 | |
| 32 | 户用镜前灯 | 套 | 320 | |
| 33 | 户用排气扇 | 台 | 160 | |
| 34 | 桥架200内 | M | 41 | |
| 35 | 桥架400内 | M | 112 | |
| 36 | 桥架600内 | M | 230 | |
| 37 | 桥架800内 | M | 46 | |
第二节:施工规划
一:施工的准备工作
管理人员组织机构的配备:其组织机构组成一览表如下:
| 项目经理: 佘宗利 | ||||||||||||||||||||||||||||||||||||||||
| 项目付经理: 徐祖标 | ||||||||||||||||||||||||||||||||||||||||
| 技术负责人: 陆宏伟 | ||||||||||||||||||||||||||||||||||||||||
| 电气施工
员 沈 巍 |
给 排 水 施 工
员 顾祝平 |
暖风施工员
陆宏伟 |
设备
主管 董 介生 |
质量
主管 沈 巍 |
材料
主管 施建学 |
预算
主 管 沈晶晶 |
财务
主管 严振荣 |
安全
主管 陈 刚 |
||||||||||||||||||||||||||||||||
| 电
气 班 |
管道班 | 通风空调 | ||||||||||||||||||||||||||||||||||||||
二:劳动人员的安排计划
该工程为框架体结构,混凝土整体浇捣。因此,管道、电气、通风等工程,特别是电气工种强弱电将有大量的管线预埋。为此,在主体施工阶段,电工将投入15---20名人员进行预埋,管道、通风将投入4--6名人员进行预埋。进入安装阶段,电工将投入20—25名、管道工将投入12--18名、通风工将投入8-10名施工技术人员。
施工班组人员配备见表:
| 序号 | 施工班组 | 负责人 | 管工 | 电工 | 通风 | 电焊 | 保温 | 油漆 |
| 1 | 管道施工组 | 顾祝平 | 14 | 1 | 2 | 1 | ||
| 2 | 电气施工组 | 沈 巍 | 22 | 1 | 1 | |||
| 3 | 通风施工组 | 陆宏伟 | 8 | 1 | ||||
| 4 | 安装工程进入最高峰时,人员将作调整,合理使用劳动力。 | |||||||
三:施工机械的准备;
施工中充分利用机械设备,真正发挥机械施工的优势,做到大面积的机械化施工,利用机械优势确保工程质量,加快进度。
施工机械设备计划表;
| 序号 | 机 械 名 称 | 单位 | 数量 | 功 率 | 规格型号 |
| 1 | 钻 床 | 台 | 2 | 1.5KW×2 | ¢18 |
| 2 | 电 锤 | 台 | 4 | 0.6KW×4 | |
| 3 | 电 钻 | 台 | 3 | 0.4KW×3 | ¢13 |
| 4 | 摇 表 | 只 | 2 | ||
| 5 | 万 用 表 | 只 | 2 | ||
| 6 | 电 焊 机 | 台 | 3 | 21KW×5 | ¢100 |
| 7 | 弯 管 机 | 台 | 2 | ¢400 | |
| 8 | 气 压 泵 | 台 | 2 | 1.5KW | |
| 9 | 开 孔 器 | 台 | 2 | ||
| 10 | 压 接 钳 | 台 | 2 | ||
| 11 | 对 讲 机 | 只 | 3 | ||
| 12 | 气 焊 设 备 | 套 | 5 | ||
| 13 | 电 动 压 泵 | 台 | 2 | 1.2KW×2 | |
| 14 | 拉 链 葫 芦 | 只 | 4 | ||
| 15 | 砂轮切割机 | 只 | 5 | 1.1KW×3 |
30KG/CM^ |
| 16 | 自动 套 丝 机 | 台 | 2 | 2KW×2 | 13X—300 |
四:施工现场的平面布置
施工现场由土建统一布置,大楼座落于青岛市高科园,现场道路畅通,有道路排水、生活用水、宿舍、厕所、配电房、现场办公室,机修间,施工用房,安装人员的住宿,材料进场的临时仓库等。
五:施工进度计划及施工程序
安装施工总体计划,在土建施工进度计划下,进行综合安排,其实施计划要做到如下几项工作:
1、在土建进度计划指导下,有项目经理协同各施工员、各施工班长作好交底工作,人人明确工作目标。
2、项目经理应按时参加现场各方面的协调会及时将工地上的有关情况反馈到施工员、工长及各作业人员手中,以合理解决有关技术、劳动、材料等各方面的问题,特别要做好施工现场的配合工作,听从建设方、质检部门的指导。
3、在安装进入高峰期间,组织力量抢工、抢时,保证各工种交叉施工顺利正常进行。实现土建施工、设备安装、调试及整栋大楼竣工计划的同步进行。保证整体计划的实行。
4、据本工程特点和我公司的技术装备、劳动力、资源状况拟定采取以配合主体予埋为先,实施安装与土建同步作业的施工方法,原则上先地下,后竖井,当土建主体完成后,立即插入地下室及大楼内进行安装,主体封闭前的配合阶段,电气专业应做好墙柱和楼板的预埋箱、管、盒及防雷接地系统的安装、测试工作,原则上楼板内能预埋的尽量先预埋,给水、暖通专业做好预埋、预留工作,跟上主体。做到主体封顶立管完,并按要求协同土建自下而上逐层清理,中间隔墙,要适时砌好,尽量为插入安装创造条件。风管的制作,吊装要走在给排水专业的前面,电气专业要紧紧跟上,要组织安排好调试工作,确保土建安装装璜的同步竣工。
5、施工进度计划见土建组织设计。
第三节:施工方法与工艺要求
一:管道、水暖、卫生、设备
本工程的生活给水管总管采用镀锌钢管丝扣连接用户支管采用PPR热熔管,消火栓给水管采用≤DG100采用加厚镀锌管丝接,>DG100采用镀锌无缝管卡箍连接。热水管和回水管地下室采用无缝管焊接,地坪管采用PB管罗栓拧接,其它采用热镀管丝接。室内排水管采用柔性铸铁管法兰连接、内排雨水管采用焊接管,室外雨水管、空调凝结水管采用PVC管粘接。以及相配套的管件、闸阀、截止阀、碟阀、止回阀等,以及马桶、洗脸盆等卫生设备,综合本大楼管道系统,严格按图纸设计要求及国标《建筑工程安装施工及验收规范》、《建筑安装工程质量检验评定标准》施工,其各项工艺操作质量要求如下:
1、镀锌钢管的螺纹连接
管子的下料不准用气割、电焊割,以免影响其锌层,应用钢锯或切割机,其管口的斜度面不超过二分之一螺距,清理好正边毛刺,管道与管件紧固后,其接口处就清除外露油麻,其螺纹裸根部,应有2—3扣丝,镀锌及管件的锌层不能有伤割,螺纹裸部分做好防腐,二遍防锈漆,一遍银粉漆。
2、无缝钢管、焊接钢管的焊接要求
焊接管,必须先除锈彻底,刷好防锈漆,做到先防腐后安装。对接管的焊接,两直管应在一线上,不强行组对焊接,管子对接,管头对接,管口应用角向磨光机坡口用砂布打磨,清除油污及铁锈,露出金属光泽,焊件对口要做到内壁整齐,错口不得超过10%的厚度,且不大于2MM,环境温度低于0度时,应有预热措施,保证层间温度均匀,焊缝不宜过大,严禁在缝隙内填充其它物品。手工电弧焊焊条采用E4303电焊条,使用前按说明书进行烘烤。采用多层焊接时,在焊下一层之前,将上一层的焊渣清理干净。各层引弧点和息弧的均错开20mm。焊接时要尽量避免穿堂风,各层焊缝应错开,一经点燃,尽量减少中断时间,焊缝均匀一致,焊缝宽度表面完整,高低不低于母材表面并与母材圆滑过度,焊缝宽度不超出坡口边缘2~3 mm。
3、排水铸铁管的安装及要求
铸铁管在组装前,应对其管子管件本身进行检查,有砂眼、裂纹、夹渣及厚薄不匀等缺陷的管段切除后方能使用。排水管道的安装应控制在规定的偏差范围内,水平管每米偏差1mm,全长25米不大于25mm。立管垂直度偏差不超过3mm,全长5米以上,不大于15mm。横管应有2.5%的坡度,坡向泄水装置,不得有倒坡及高低起伏现象。
4、热熔管安装要求:
管子管件同一材质,切口平整光滑,管子与管件熔接前管子管口清理干净,测量并绘出热熔深度,使用专用热熔工具,达到工作温度指示灯亮后方能开始操作。冷却前无振动。
5、采热管道及PB管安装要求:
1).采暖管道安装时要注意管道坡度及坡向,严禁倒坡。系统水平支管需要有0.003的坡度,各散热器支管坡度均为0.01,系统最高处应设置自动排气阀,设置最低处放水阀。管道从门窗或其它洞口,梁、柱墙等处绕过,其转角处如高于或低于管道水平走向,在其最高点或最低点分别安装排气阀和泄水装置。采暖系统管道变径应用异径管箍或缩口焊接,横管采用偏心变径,立管采用同心变径,变径位置距分支点不大于300mm。
2).密切配合土建,沿墙四周预留地槽,管子管件同一材质,切口平整光滑,罗栓连接前管子管口清理干净。罗栓拧紧均匀。试压后补槽时派专人负责。
6、PVC管安装要求:
1).下料尺寸要准确,下料工具应为细齿锯、割刀口平整且断面不得有变型或伤痕。连接口要用中号板锉成30坡口,坡口的长度3MM,坡口厚度应为管壁厚的三分之一,1/2坡口完成后,清除残屑。
2).粘合面的清理,粘合面粘接前,必须保证清洁、无沙尘、水迹、粘合面要用干净的布及棉纱将承口的内侧插口的外侧擦干净,粘合面油污必须用清洁剂擦干净。
3).粘合剂的涂刷,要先涂承口,后涂插口,粘合面要轴向涂刷。动作必须迅速,涂膜必须均匀,不得漏涂或过厚,涂抹粘合剂后,应在5—15秒内必须粘合承插口,且保证接口的位置与直度正确,粘合时稍加挤压,预制管段节点间误差不得大于5mm,用干净的布及棉纱或清洁剂擦干净,管外部粘合剂静置2—3分钟。
4).插入深度:¢40-50 -25MM ¢75-40MM ¢110 -50MM¢160 -60MM
7、无缝钢管卡箍安装要求:
切口平整,压槽深度、管口长度一致,无裂缝。卡接时密封胶卷外表刷润滑剂,防止损坏胶卷。卡箍罗栓两面受力均匀。
8、管道的支架、吊架、托架及管卡的制作、安装及技术要求:
根据本工程规格多、数量大的特点,计划安排统一加工、成型一致,型钢的下料不准用电焊割,应调直、调平。打孔要用机械钻孔,不准用电气焊割,孔径应大于螺丝直径的1—2mm。圆弧形管道卡,弧线应圆滑与所卡的外径相吻合,所有支吊、托架等铁件都应做到先防腐后安装。
钢管水平安装的支架,间距应符合如下规定。见下表:
| 公 称 直 径(MM) | 15 | 20 | 25 | 32 | 40 | 50 | 70 | 80 | 100 | 150 | 200 | 250 | 300 | |
| 支架间的最长距离 | 保 温 管 | 1.5 | 2 | 2 | 2.5 | 3 | 3 | 4 | 4 | 4.5 | 5 | 6 | 7 | 8.5 |
| 无保温管 | 2.5 | 3 | 4 | 4.5 | 5 | 6 | 1 | 6.5 | 7 | 8 | 9.5 | 11 | 12 | |
立管的管卡安装,每层至少一个,其安装高度距地面1.5—1.8m为宜。自动喷淋、消防管的支架安装,不得妨碍喷头的喷洒效果,吊架与喷头的距离不少于300mm,不大于750mm,严禁使用装璜的吊筋作管道的吊杆。所有明装管道必须设墙卡、管卡固定,支架位置应正确、平直、牢固、排列整齐,接触紧密,紧固件与管子匹配。
9、阀门的安装及技术要求
安装位置方面应正确,连接牢固,紧密启闭灵活,朝向合理,表面清净,为防止安装后的漏水、漏气和失去控制功能,安装前需作耐压试验,以每批同规格、同型号、同牌号的数量抽查10%,至少要查一个。 对于安装的支干道上起闭路作用的伐门,应逐个作强度及严密性试验。 强度和严密试验的压力,应为出厂规格的压力,不得提高和降低。
10、卫生器具及散热器安装及技术要求
1)、卫生设备的预留洞位置,必须在选好卫生设备及给排水附件的型号,明确安装尺寸后,做好正确的预留洞工作。卫生设备安装前,必须对各种器具、附件进行检查,不得有结疤、裂纹、砂眼,外观要光滑,器具与附件要光滑、吻合。卫生器具的安装,应采用预埋螺栓式,膨胀螺丝固定,如用木螺丝固定,其木砖需作防腐处理,并应凹入墙面10mm,卫生器具的支、托架,必须平整牢固、防腐好、接触平稳,器具安装的位置应正确,单独器具不偏差10mm,成排器5mm,安装应垂直,其垂直度不偏差3mm。高度偏差:单独器具±10mm,成排器具±5mm,安装中使用拉口垫片,紧度应适中,保证器具不渗不漏为准。
2)、成组散热器安装前必须做水压试验,如果设计要求:试验压力原为工作压力的1.5倍,2~3分钟不渗漏为合格,试验时有监理在场并在散热器试压记录上签字认可。散热器安装在立管安装完毕后进行,也可同时安装。安装时注意横管与散热器进出口是否在一条水平上。接头不在墙内。散热器与管道连接处设活接头,与墙面平行,高度一致。散热器表面与墙面控制在3 mm内,与窗口中心控制在20 mm内,垂直度控制在3 mm内,
11、管道的压力试验
根据设计要求,管道安装完毕,室内冷热水管、热水回水管、蒸汽管及凝结水管,应以1.0MPA的水压试验,室内消火栓给水管应大于1.5倍的压力(1.4MPa)试压,保压30MIN,目测管道有无泄漏、变形,且压力下降不大于0.05MPa。自动喷洒系统应以1.5MPa的压力试压,无泄漏现象。暗装或埋地的污水管道,在隐蔽前做好灌水试验,灌水高度不低于地面高度,灌满15分钟后,延续5分钟液面不下降为准,室内的雨水管灌水试验,高度必须灌至每根立管最上部,以雨水斗为止。
12、管道的防腐
为保证延长工程的管道使用寿命,根据图纸设计要求及规范规定,需要进行防腐,明露的消防给水管外壁刷红漆二道。焊接钢管,无缝钢管及管道的支、吊、架刷红丹漆二道,室内明露的排水铸铁管外壁先刷胶漆二度,再分别刷红丹、银粉漆二度。
13、管道保温
管道保温应在管道试压、通水、防腐完成后进行,管道保温要求密实,无脱落现象,三通、弯头、支架及阀门法兰等部位要填实。保温管道支架处要留膨胀缝,并用石绵绳或玻璃棉填塞。施工时使管 纵向错开,用铁丝固定,缠铝箔胶带时做到严密无开裂,表面平整。已保温后的管道做好成品保护工作,防止各工种交叉作业时踏坏保温材料,影响美观和竣工验收。
14、水泵的安装
水泵的规格、型号及用途应符合设计要求进货,水泵基础应按照水泵的实际尺寸施工,进出水泵的管道须架设减震接头,水泵配管须在水泵定位后进行,管道的重量不能承于水泵设备上。与水泵相连接的配管、法兰、阀门做到连接紧密、牢固、位置正确。阀门安装的手轮方向应便于操作,并且成排安装中应标高一致,位置正确。
二:消防系统的安装工艺要求
1、喷洒系统安装施工:
喷淋管道在连接变径时,须用异径管箍,不得使用补芯,水流指示器须安装在水平支干管上,并且保持水平安装,安装中注意水流方向,须和指示器的箭头方向一致,喷淋管道支、吊架的设置以不影响喷头效果为原则,支架的间距须符合现行喷淋管道的施工规范要求,喷头的安装与吊顶装修工作可同步配合进行,根据吊顶的标高来确定喷淋头的坐标,使喷头做到位置正确。喷头在安装前要核验其规格、型号、动作温度等指标,必须符合设计要求。喷头的两面方向应成排统一,护口盘应紧贴吊顶。
2、消火栓系统安装施工:
消火栓箱体应安装平直、牢固,消防支管进入箱体的位置须正确,栓阀的安装位置应便于使用操作,使箱门开启灵活,箱内的消防带应卷实盘紧放于箱内,与水栓的接头应绑扎牢固,箱体应整洁,并有标记,阀门中心以距地面为1.2M,阀门距消火栓侧面为140MM,距箱后内表面为100MM,消防箱安装横平竖直,其水平度与不直度不应大于5MM,箱盖门紧贴墙面,消火栓应装在消防箱的合页侧,便于灭火操作。
三:电气工程
本工程的电气安装工程,首先必须按照图纸设计要求,进行施工,如工程修改设计必须取得原设计单位的同意,并取得有关部门的变更通知或签证。为保证工程的优质率达100%必须按《民用建筑电气设计规范》JGJ/T16-92、《住宅设计规范》DB50096-1999《高层民用建筑设计防火规范》GB50045-95(2001)、《火灾自动报报警系统设计规范》DB50038-94进行施工。
1、配管的操作要求
电气管线严禁用气割、电焊割、割刀割,断料用钢锯、切割机,管口内外锉光无毛刺,管口要内外倒角,以保证穿线时不伤绝缘皮,管材管径要符合设计要求。所有管口都要加装护圈保护,且要紧密牢固,不脱落。为减少导线穿时阻力,管子弯曲处不应有折偏,其弯曲半径应大于管外径的6—10倍,且用汽泵进行吹洗。
2、KBG管子的套接要求
KBG电管套接连结,管子切口平整,管口用园锉光滑,采用配套连接配件,控制插接长度。
3、电管的防腐
埋入土层内的电管不但要防腐,还要防潮,刷二度沥清漆,埋入砖墙内的电管应刷防锈漆。所有管子做到先除锈,后防腐,再安装。
4、电管的敷设要求
暗配在现浇混凝土、梁、柱、平台、墙板内的电线管,将管子敷设在底筋或边筋上,在弯曲处,保证脱模后无露管现象,保护层少于15MM。管子敷设中,应与土建密切配合,尽量少打、不打墙洞。
管子超过长度,应加装分线盒过渡,一般情况如下:
(1)全长管子超过20米,无弯曲时。
(2)全长管子超过14米,只有一个弯曲。
(3)全长管子超过8米,只有二个弯曲。
(4)全长管子超过5米,有三个弯曲时。
5、箱、盒的安装
1).本工程的箱、盒均为嵌墙安装。根据要求,其同一场所的标高误差不超过5 mm,开关距门边150 mm --200 mm。
2).成排安装的座标中的线应成一直线,中心偏差不超过5mm。
3)盒、箱的孔洞,尽量利用原洞,如需开洞,要用机械开洞,不得用电气焊割洞。
4)、管子进入箱、盒的长度不大于5 mm,且要顺直,焊接处要做好防腐处理。
6、电缆敷设、管内穿线
施工前对敷设电缆规格、型号、截面、电压等级进行检查。沿桥架敷设时单层敷设排列整齐,不得有交叉,拐弯处以最大截面电缆应许弯曲变径为准。不同等级的电缆采用隔板分开,电缆走向编号挂牌。
穿在管线前,首先检查各管口的护口是否整齐,如有遗漏和损坏,均补齐或更换。管路较长时,往管内吹些滑石粉。导线穿入管子后,在导线出口处装护线套保护导线,在不进箱、盒内的垂直口,穿入导线后,将管作密封处理。防止杂物及有害气体进入。
7、器具的安装;
安装根据要求,必须到土建封顶施工完毕以后,无渗漏,室内地坪全部结束,预埋件齐全、牢固。待室内有可能对器具有影响的工作结束。
8、成套配电屏柜的安装;
基础型钢应采用螺丝固定,不能焊死,其柜底平面与型钢上平面接触紧密,型钢应顺直,如需垫铁,应在型钢平面。基础型钢接地应良好、可靠,盘面接缝平整,其偏差应在规定的范围内。安装完毕,所有柜、盘的标致牌齐全,编号和用途正确、清晰。
9、灯具的安装
1)、大型灯具的安装,应作一倍以上的负载试验,吊钩、吊环牢靠,不得用木榫固定。采用螺丝固定的,其固定螺丝不得少于二个,灯具与建 筑物表面平整、不偏不斜、位置正确。成排安装,排列整齐,中心线偏差不大于5 mm。
2.)。灯具表面清洁,内外干净明亮。
10、开关插座的安装
暗开关、暗插座的安装,其盖板应贴墙面,四周无缝隙,接线应符合要求。
11、电机的接线
1).电机接线端子,与导线上的压接耳,连结必须紧密,在接线端子要加装弹璜垫圈,以保证其接触良好,不易脱落。
2)结电机的导线,内外要有一定的余量,不宜过短,开口接线耳必须刷锡。
四:消防自动报系统
1、火灾自动报警系统的施工应按图约进行,不得随便更改。施工前应具备平面图、接线图、安装图、系统图以及其它必要的技术文件。
2、手动火灾报警、安装高度距地面1.5M,安装牢固,外接导线应保留余量。
3、消防设备在安装前进行功能试验,不合格者不得安装。
五:防雷接地系统
本工程为二级防雷建筑物,根据设计要求,其安装焊接要求如下:
详细阅读图纸,确认各引上点方位坐标,积极配合土建施工,做到正确、牢固,施工时做好明确的标记。
1、总进户处设总等电位接线箱,卫生间设等电位端子箱,与防雷引 下线可靠连接,卫生设备与端子箱之间用PVC16BV4mm导线连接,
2、接地体的柱基部分,有柱与柱、桩与桩之间必须用二根主筋连接成一体,引下线利用结构柱内,剪力墙内两根大于¢16主筋从基础垂直焊接至屋面和避雷带连接。且在下部室外地平下1.0M处焊接一根40×4mm镀锌导体,距外墙1.5米.标有测量点的引下线在距地1.5M处焊接钢筋引出接地电阻测量端子,接地电阻小于1Ω。
3、为了防止侧击雷对大楼的危害,在规定的标高处沿建筑物周边设置水平均压环,与上下引线钢筋焊成一体。
4、建筑物内所有金属结构和金属门窗、玻璃幕墙金属框架、金属管线以及不带电金属物体均与接地体连成一体,竖向金属管道每三层与避雷均压环连接一次。
5、接地的连接焊接,利用钢筋连接的,根据其钢筋的特性选用422或507焊条,其焊接倍数大于钢筋的6倍,扁钢的焊接倍数大于宽度的2.5倍,且至少三个棱边的焊接,焊接饱满平整,无明显气孔、咬肉,用螺丝连结的,应紧密牢固。有防松装置,且应用镀锌件。所有焊接处,均要清除干净,明露的还要进行刷漆防腐。
6、大楼内所有的金属管道、桥架、箱、屏的外壳,设备不带电的金属部分,如电机、变压器、电管、金属接线盒、终端箱等,均要与接地体连成一体,以保证大偻设备的正常使用及人身安全。
五:通风工程
1、玻璃钢排风管制作
1).玻璃钢风管内表面应平整光滑,外表面应整齐美观,厚度均匀,边缘无毛,不得有气泡,分层现象。树脂固化程度应达到90%以上。
2).法兰与风管应成一整体,并与风管轴线成直角。法兰平面的不平度允许偏差不应大于2mm。
3).对玻璃钢风管要注意检查以下几个方面:
(1)由于末达到固化程度即脱模或放置在不平处而造成风管倾斜。
(2)法兰不平整。
(3)风管表面不平整。
(4)壁厚不均匀,有气泡和分层,前者由于操作时树脂末刮平,玻璃布铺放不均匀。后者是树脂配方不正确,玻璃布不干净或含水份等。
2、风管及部件安装;
工艺流程网络(图1)
| 确定标高 | 放线定点 | 制作吊架 | 设置吊点 | 安装吊架 | ||||
| 安装准备 | 风管排列 | 法兰连接(垫料穿螺栓) | ||
| 安装就位找平找正 | 检 验 | |
1). 安装准备
(1)检查风管、配件有无损坏及遗失,各种阀门、风口等部件的调节装置,开关是否灵活,核对空调器、消声弯、通风机等设备枝术数据文件是否齐全,型号、外形尺寸、性能标准等是否与设计要求一致,可动部分是否灵活,接口法兰是否平整,内外部件是否锈蚀、破损等现象。 (2) 检查预留洞、支架、设备基础的位置,方向及尺寸是否正确,安装机具是否齐全,场地是否清理干净,安全无碍,与其它专业的管道有无相碰之处。
2).吊架制安:风道采用横旦吊架,吊架原则上采用预埋吊杆生根,局部小风管采用膨胀锣栓生根,为了不影响操作与使用,不得在风口、阀门、法兰处设备支吊托架,立管如有暂露口则临时封堵防止杂物落入。
3).风管安装的固定:根据施工现场内风管系统的布置情况,可分别采用整体吊装和分段吊装的方法。一般可先在地面上将风管连接成6—8米左右,一段进行吊装,然后按干、支、立管的顺序进行组装。具体方法见图:
水 平 管 道 安 装 方 法
| 风 管 位 置 | 风 管 标 高 | 走 廊 风 管 | 穿 墙 风 管 |
| 主 风 管 | 整 体 吊 装 | 整 体 吊 装 | 分 节 吊 装 |
| 安 装 机 具 | 脚 手 架 、倒 链 | 例链、高凳 | 高 凳 |
| 支 风 管 | 分 节 吊 装 | 分 节 吊 装 | 分 节 吊 装 |
| 安 装 机 具 | 简易脚手架 、高凳 | 高 凳 | 高 凳 |
立风管安装方法
| 风 管 标 高 | 施 工 方 法 | 施 工 工 具 |
| ≥3.5 M | 分 节 吊 装 | 导链 、高凳 |
| <3.5 M | 分 节 吊 装 | 导链 、高凳 |
应注意:法兰连接处应3mm厚防尘橡胶垫,法兰应尽量错开墙内或楼板中,其接头部位伸出表面的长度不少于200mm,以便于连接。
4、通风设备的安装
1).风机:风机安装前,先要开箱检查,根据设备装箱清单核对其规格、型号是否与设计相符,零配件是否齐全,再观察外表有无损坏锈蚀和变形现象,用手拨动风机叶轮是否灵活,旋转后每次都不应停留在同一位置上,并不碰壳。通风机还应检查其进、出口是否与设计相符。
2).通风机试运转前必须加适度的润滑油,并检查各项安全措施,转动叶轮,应无卡阻和磨擦现象,叶轮转动方向必须正确,试运转时,应开启进口阀门,关闭出口阀门,启动电机,运转达1—3分钟停车,如果运转中无异常响声,滑动轴承最高温度不超过80℃,即为合格,填写风机试转记录。注意对于轴流风机在启动时不能将进口或入口阀门关闭,以免电机过载。
3).消声器、消声弯安装:消声器、消声弯在运输过程中不能受潮,充填的消声材料不应有明显下沉,其安装方向要正确,消声器、消声弯应单独设置吊架。
5、机电设备水平运输、垂直运输概况。该楼的机电设备主要分布在地下一、二层。
(1).地下室部分,所有设备进场按设备安装总体进度计划控制,以设备布置先远后近,先安装先进场为原则运输至所在层次,小型设备用人力推车水平运输至各安装点。大型设备,借助三角架(或龙门架)配上手动吊装至所在层次,水平运输时,可在设备底下设置滚扛(厚壁无缝隙钢管),利用人力推动至安装位置等。
(2).地上各层体积较大的设备而定,利用塔吊将设备吊至平台上,在设备下垫置滚扛,利用塔吊或人货电梯时行垂直运输。
(3). 小型设备、材料因重量较轻、体积小,可利用人货电梯配合人力进行运输。
(4). 顶层的设备,可利用塔吊或人货电梯进行垂直运输。
6.通风空调工程竣工后,在交付使用前会同甲方监理,以设备安装
工程进行单机试运转和在没有生产负荷下的联合试运转。
六:人防工程
- 电气工程按《人民防空地下室设计规范》GB50038-94《人民防空工程设计防火规范》GB50098-98《气车库、修车库、停车场、设计防火规范》GB50067-97《火灾自动报警系统设计规范》GB50116-98。所有穿越防护墙的管线均做防护密闭处理,禁止任何与人防无关的管线穿越人防围护结构。
- 暖通工程按《人民防空地下室设计规范》GB50038-94《气车库、修车库、停车场、设计防火规范》GB50067-97《采热通风与空气调节设计规范》GBJ19-87。《人民防空工程设计防火规范》GB50098-98《通风与空气调工程施工及验收规范》GBJ243-82。三防分段的穿墙风管均需预埋,穿密闭墙须设密闭肋,肋厚5mm。
- 给排水管应避免穿越人防区,如有应加密闭套管。
第四节:质量保证措施
一:质量保证措施
1、质量管理机制与材料采购
1).该工程确保“青岛杯”争创“泰山杯”是我们的目标,为贯彻百年大计“质量第一”和“预防为主”的方针,充分发挥我公司的技术优势,从管理层到施工班长,层层建立质量监督网和质量管理制度。
2).发现问题,及时提出,做好会审纪录和书面技术交底工作,办好书面资料。
3). 严格执行谁施工谁负责的管理体制,增强职工的质量意识,组织学习有关标准规范,做到下达任务的同时,下达质量要求。任何人末经技术检验部门的批准,不得降低其质量标准。
4)、各施工班组在公司质量员的指导下,班组长做好施工进度,特别是质量的监督、互检工作。
5).现场的质量员、材料员、收料员严格按本公司的质保体系制度执行。所有材料、设备进场必须持有备案证、合格证。先自检,同时向监理报验,监理签字做好资料。与本工程要求相符合后才能使用。
6).工程变更、须持符合要求的变更通告、有隐蔽工程项目的、及时通知有关部门检查验收、做好资料的签证工作。
7).项目经理:组织制定质量工作规划和质量管理目标、主持或参加重要的工作会议、分析质量动态、对存在的问题采取相应的对策、及时调整好质量和各项指标的关系、参加工程的各项验收、对质量工作负有全面的领导责任。
8).技术员:主持编制施工方案、审批重要项目的技术保证措施、主持质量工作会议、掌握质量动态、针对存在问题、组织有关人员采取对策加以处理。组织检查、交工验收、对违反技术规程和质量规定的及时制止和纠正。组织质量事故和调查分析、研究处理方案、在项目经理的指导下、对质量工作负有全面的技术责任。
9).施工员(工长),掌握上级质量管理有关规程,质量标准和设计要求,变成施工技术方案、技术交底的具体措施,对分管的工程,负有全面的责任。
10).班组长:是具体施工操作的组织者,对本班组的施工质量负有直接责任,做好自检记录,施工记录的标记工作。施工质量不合格不得向下道工序移交。接受技术人员、质量员对本班组施工过程的质量监督和检查,并提供必要的数据。拒绝使用不合格的材料,对出现的质量事故,正确提供情况和数据。
2、冬雨季施工措施
1).进入现场的设备,应尽快就位,否则应采取防雨淋日晒措施。
施工机具要有防雨,或置于遮雨棚内,电气设备的电源线管悬挂固定,不得拖拉在地,下班后要拉闸加锁。
2)设备预留孔应做好防水措施,特别是地下室的设备、材料要采取措
施防止设备受潮,防止设备被淹泡。
3).夏季炎热天气,要做好防暑降温措施。
4).冬季施工应做好“五防”工作,即防水、防滑、防冻、防风。防有毒气体中毒。钢结构工程注意防滑,生活区用水不得随意乱泼,管道和各类容器中的水要泄净,冬季进行管道试压,防止冻裂设备和管道。放电缆工程时,注意保温措施。室外工程均应在冬雨季前作出安排,尽量避免在不利条件下施工。
3、成品及设备保护措施
1).所有施工人员要认真遵守现场成品保护制度,注意爱护建筑物内装修成品以及设备。
2).设备在安装前由甲、乙双方有关人员检查,进入现场的重要设备及保温消声材料,一定要存入库内,进行拆箱点件,并做好记录,发现短缺及丢失情况及时反映有关部门,检查人员不在时,不得随意拆箱。
3).设备开箱后,对易丢、易损部件应指定专人负责入库,妥善保管各类小型仪表元件,零部件在安装前不要拆包装,设备搬运时,明露在外表面应防止碰撞。
4).配合土建施工的电管要封口,以免掉进杂物。
5).对成品有意损坏的要按章处罚。
6).对管道通风保温成品在加强保护,不得随便拆、碰、压,防止损坏。
7).各专业施工遇有交叉、碰撞现象时,不得随便拆改,要会同有关部门协商批准后,方可进行施工。
8).对机房变电所等重要部位在不具备安装条件时不得进行安装。安装后要加门锁专人看管。
9). 对于贵重、易损的仪表,尽量在调试前]进行安装,必须提前安装的,采用保护措施。
4、降低成本技术措施;
施工人员必须充分熟悉工程的特点,施工范围、工艺流程、复核建筑坐标尺寸、设备位置等,充分做好准备工作,在保证质量的前提下,努力搞好降低成本,增加效益。
1).认真审查图纸,在不影响质量和设计要求的前提下,改变不合理设计,节约原材料。
2).合理安排施工进度和作业计划,均衡安排劳动力,防止窝工现象,尽量减少严寒酷暑的室外作业,提高效率。
3).提高预制件标准化程度,提高预制件准确性,集中加工预制,减少反复运输及损耗。
4).合理安排施工顺序,安装和土建搞好协调关系,避免不必要的返工浪费,严格把住质量关,精心操作,合理用料,降低废品率,提高材料的利用率,做到省时、省力、省材料。
5).加强现场材料管理,按计划分期进行防止积压,对来料的验收工作,从数量质量规格型号要把关,防止不符合标准材料进场,造成不必要的浪费,施工员对进料和材料消费做到心中有数。
6).在施工中,认真推广新工艺、新材料、新机具、新技术,降低成本。
7).工程施工时,尽量利用土建脚手架,需要另搭手架的,有土建负责协同搭设。
8).班组应做到文明运输和施工,卸货验货认真,避免损坏,造成二次加工。
9). 开展增收节支活动,对下脚料、废料、包装箱及废料及时进行回收和利用,同时加强小组和工具管理,爱护生产工具修旧利废。
5:质量保证体系如下:
| 项 目 经 理 | |||||||||||||||
| 项目付经理 | |||||||||||||||
| 质
量
员 |
电
气
组 长 |
管
道 组 长 |
空
调 组 长 |
保
温 组 长 |
|||||||||||
第五节:安全保证措施
坚决贯彻执行国家颁布的“一标” “五规范”等标准、法规,搞好施工现场的安全防护和文明施工工作,强化安全生产管理,确保全体施工人员的身体健康和生命安全,为工程建成一流的优质产品达到优质,高效,低耗,安全的目标。本公司从上到下,从内到外,为各层管理人员各施工班组,按照国家、省市、地的有关安全条例、条款、制定了详细有效的安全措施,细则如下:
一、经理、项目经理的安全职责。
1、认真贯彻执行安全生产制度的安全操作规程,检查执行情况。
2.加强对职工的安全教育,组织职工进行安全技术知识培训。
二、施工员(工长)的安全职责:
1.在计划、布置生产中,必须同时把安全生产工作贯彻具体环节中去,特别要做好有针对性的安全技术交底,遇到安全生产矛盾时,生产必须服从安全。教育工人正确使用劳保用品。
2.负责管理施工现场的环境,安全以及一切防护设施和生产设备的安全检查工作。
三、班组长的安全职责:
1.认真遵守安全规程和有关安全生产制度,根据本班组的人员,技术等各方面的情况,合理安排工作,对工人在生产安全负责。
2.经常组织工人学习安全规程,特别是新调入的工人,进行现场安全教育。
3.经常检查施工现场的安全情况,发现问题及时解决。
4.听从专职安全员的指导,有权拒绝违章指令。教育工人坚守岗位,做好上下班的交接工作。
5.吸取经验教训,采纳正确意见,确保安全生产。
6、进入现场注意戴好安全帽。
7、高空作业时,必须注意系好安全带。
8、在管道施工时,正确掌握扳手、管子的使用方法、严禁物柄加套管加长。
9、切断管子、管子套丝及弯曲时,注意机械的运转情况,特别是套丝,不得带手套操作,防止被卷入。
10、电气焊作业时,应先清除作业现场的易燃物品,防止有火灾隐患,
配合作业人员也要有防护用品。
11、架空道末正式固定前,防止滚动滑落伤人。
12、管道安装完毕后,试压时升压必须缓慢,要有专人巡视,作业人员应免开。法兰、板等危险处,并严禁带压检修。
13、凡用时的机械设备,必须一机一闸,一箱一漏,末端开关箱做好重复接地。
14、施工现场停止作业,将开关箱断电上锁。
15、现场做到工完料尽,整洁有序,文明施工确保安全。
五、电气施工作业的安全技术措施:
参加该工程的全体施工作业人员必须坚持“安全第一、预防为主”的方针,结合电气施工作业区别于其它施工作业的特殊性,层层建立岗位责任制,在任何情况下,不得违章指挥、违章作业。
1.进行现场必须戴好安全帽,遵章守纪,对内作业人员作好工程介绍和安全教育。
2.根据电气作业的特殊性,以及国家、省、市、地有关安全部分的规定,电工作业人员必须持证上岗。
3.施工作业班组长在下达任务的同时,下达具体的安全技术措施,布置安全工作,讲明安全注意事项。
4.班长每天出勤时,对所有的工具,进行细致的检查,有危险因素,不允许使用。
5.工地的临时设施,材料的堆放,运输道路等与现场总体布置相吻合。
6.易燃易爆的物品,妥善保管,并设置消防设施。
7.施工中,注意上下顺序,一般从上至下进行,尽量减少立体交叉作业。
8.电缆施放时,应将架子稳固,以防转支时伤人。
9.梯子作业时,不应太陡,一般应以60度夹角为宜,并应扣好梯子的安全扣。
12.使用电钻或电锤时应穿绝缘鞋,接地应良好,高处作业要系好安全
带。
13.使用电、气焊等工具时,一定要用好防腐用品,防止对身体的伤害。
14.电气工程安装完毕试验时,如发生异常情况,应立即断开电源,查
明原因再进行。
15.教育职工,加强安全教育,增强自我防护意识,共同搞好安全生产。
六、通风施工作业组安全措施
通风工程,也是本工程的主要安全工程之一,为确保工作多、快、好、省地进行,达到安全生产的目的,需做到如下几点:
1.现场施工管理人员、工程技术人员,认真学习遵守有关安全生产方面的法规,职工遵守本工程的安全操作规程,没有参加过安全学习的作业人员不得参加施工。
2.安装工程施工中,需要多层作业时,应事先在层间设有专用防护棚,否则不许工人在同一直线下方工作。
3.现场运输道路要尽量畅通,堆放材料要整齐、美观、安全,危险物品应专设地方存放。
4.正确使用好防护用品,不忘安全“四宝”。
5.熟悉使用各种机械的操作规程。
6.使用折边机、咬口机等机械时,不得用劲过猛,开车后不得将手放在轨道上。
7.掀起长条材料时,不得碰到对方的人或机械。
8.进行焊锡时,应戴手套,不得仰焊,使用烙铁以及相关的溶剂要妥善保管。
9.吊运风管等材料时,应注意周围有无障碍物,并加溜绳稳住,防止冲撞而损坏设备。
10.在吊项内安装通风管道部件或设备时,应设固定走道,架子固定牢靠后方能施工。
11.严格遵守专业有关技术安全规程,制定设备的试运输方案,并严格执行。
七、保温、防腐施工作业组安全措施
1.在施工作业技术交底的同时,以本种施工作业人员进行针对性,安全技术措施细则交底和安全思想教育,特殊情况进行当场考试,不合格者不得上岗操作。
2.油漆、汽油等易燃物品,应远离现场,并应专库专用,专人管理,设备相应的消防设施。
3.使用的电气设备如照明灯泡等应有护罩,妨止引起火灾。
4.施工告一段落时,应做到工完料尽,场地清。
5.在吊装保温材料时,应用袋、框或箱装运,御扎牢固,防止粉尘飞扬,污染环境。
6.使用梯子时,上端应有固定措施,下端应有防滑措施。
7.2米以上下高处作业,保温、防腐作业,应按要求系好安全带。
8.当用汽油、苯等配制剂时,就远离明火。
9.为保证生产安全,工人身体的健康,有接触保温、防腐材料过敏的人员,不得从事其工作。
10.当进行其它管道的气压、水压试验时,不得在管道上进行保温、防腐施工,所有保温、防腐工人一律远离现场试验区域。
11. 除严格遵守各项安全纪律外,各操作人员还应根据各工种的特殊性能,严格遵守国家的各劳动保护条件,共同搞好安全生产。
第六节: 文明施工
一:文明施工措施
1、现场文明施工领导,必须带头执行青岛市,有关«建筑工程文明施工标准»的规定。坚持谁施工谁负责的原则,人人加强文明施工的责任心,工地项目经理,负责指导工作。充分利用有限的场地,因地制宜,明确职责范围,张贴公布。
2、作业现场材料堆放有序,每天做到工完料尽场地清。
3、施工期间,认真执行夜间施工规定:晚10时~早6时期间不安排施工作业,尽量安排噪声大的机械在白天施工,以免夜间隔噪声过大,影响周围居民生活,如工作实际需要,事先到环保部门办理许可手续,到得周围居民谅解。
4、生活区内,做到环境整洁,经常清扫拉圾,不乱倒剩菜饭,保证环境卫生。
5、现场办公室,整洁有序,无乱挂乱堆,无积灰,乱涂乱画现象,文件柜、桌、椅摆放整齐。
6、职工上下班,衣帽整洁,严禁光背赤脚,衣物勤洗卫生,做一个有道德,守纪律的文明职工。
7、安全卫生,文明施工领导组成人员:
项目经理:佘宗利
项目副经理:徐祖标
成 员:陆宏伟、沈 巍、顾祝平、施建学、陈 刚
二:治安、保卫措施
1、组织全体施工人员,进行遵纪守法教育,认真执行各项法律及规章制度,同一切有害国家,有害集体,人害社会的违法行为作斗争。
2、选好有限场地,设立现场仓库、料场,派专人负责看管。
3、育仓库管理人员,加强责任心,办事细心认真,收接手续。
4、贵重器材、设备,派专人负责,严格执行领用借用交接手续。
5、大楼的灯具,卫生器具上设备安装后,设警卫人员专门昼夜看管,加强防范工作,避免或丢失。
6、班组现场使用的工具等,下班后锁入工具箱,专人看管。
7、遵守公司的规章制度,进出出示工作证。
第九章、 主要施工保证措施
- 质量保证措施
1、我公司已通过ISO9001-2000质量体系认证,该工程将按ISO9001-2000质量管理和质量保证体系《质量手册》和《程序文件》的规定进行施工的各项管理工作,并建立现场质量保证体系。
2、加强技术管理
(1)、 组织施工技术人员熟悉施工图纸及有关文件做好技术交底,严格按设计图纸、规范、规程和工艺标准进行施工,按国家施工验收规范和工程质量标准检验和评定工程质量,保证质量目标实现。
(2)、 工程所用材料除部分地材外,所有钢材、水泥、装饰材、安装材等全部采用国家质量免检厂家生产的产品,涉及人身安全的必须是获得“三C”认证的产品,并附有技术检验报告和合格证,不合格的材料一律不准使用。
(3)、 施工现场设专职实验员负责制作、送检试块(件),严格执行原材料、成品、半成品的检查、验收与复检制度。
(4)、 施工现场设专职资料员,做好各项施工记录、原始记录、技术资料整理,做到整理填写及时、清楚。施工过程中的重要部位由资料员摄制照片作为质量检查和评定的依据,保证质量目标实现。
(5)、 认真编制施工组织设计和 分项工程作业指导书并报监理单位、建设单位审批。
(6)、 砼工程的浇筑采用申请制度,既每段砼浇筑前由分段工长检查,模板、钢筋分项必须达到规定要求,水、电、暖通等安装预埋、预留准确无误后,填写砼浇筑申报表,由工程技术负责人复检签字同意后方可开始浇筑砼,以确保砼工程的优良标准。
(7)、 加强方线复测检查,保护好测量控制桩,对建筑物的轴线、标高除专人放线外,项目部工程师或工长必须逐一检查复核,确认无误后方可施工。
3、认真贯彻落实好各项质量管理制度
(1)、 对该工程全部施工工序实行质量跟踪检查,砼浇筑、砼变形缝、回填土、防水工程、模板支撑系统、装饰地面工程的基层等分项工程的施工过程采用照片进行质量跟踪监控,发现问题及时分析原因,制定对策,立即进行整改。
(2) 坚持样板制度和操作人员挂牌制度,对分项样板施工进行专项控制监督施工全过程。每个分项工程施工前,均应先做样板,经自检并报集团公司质量监督部门及建设单位、监理单位检查认可后,方可大面积施工。
(3) 实行岗位责任制。项目经理对工程质量全面负责。班组保证分项工程质量。个人保证操作面和工序质量。严格执行工序的施工。分部工程在“三检”和专业检查基础上,报请质量监督部门核检同意后方可进行后续分部工程的施工。
(4) 实行质量否决权制度,坚决贯彻公司质量奖惩办法。对工程质量实行重奖重罚。
(5) 推行全面质量管理,紧紧抓住对质量影响面大,易发生质量通病的重要环节,实行全方位质量检查,经常组织工程技术人员和工人技师进行技术质量攻关,力争减少和消灭质量通病。
- 安全保证措施
(一)、安全生产方针及目标
安全生产方针:安全第一,预防为主。
管理原则:管生产必须管安全
管理职责: 安全员负责下的分级管理,分层管理预控预防
安全管理目标:杜绝应工伤亡和重伤责任事故,轻负伤率控制在0.6%以内;无火灾、交通、中毒事故发生;隐患整改:一般隐患达到95%以上,重大隐患整改率达到100%。
积极参加开展各种各项安全生产活动。认真执行国家和政府有关噪声规定的控制实施。有针对性的制定出施工生产中的安全管理点。签定施工生产的安全协议书。
(二)、施工现场安全措施
根据本工程场地狭小的特点,制定施工现场一般安全技术措施:
- 施工现场应该合乎安全卫生的要求。
- 施工现场周围钢管搭设维护栏杆,安全栏杆上设置“禁止靠近”、“危险”、“注意坠落”等标牌。
- 场地内的沟、坑应填平,或设围护、盖板。
- 施工现场设交通标志,危险地区悬挂“危险”、“禁止通行”等明显标志,夜间设红灯警示。
- 场地内架设的电线,其悬挂高度和工作地点的水平距离应按当地电业局的规定办理。
- 场地内应设排水沟,通过车道应搭设安全桥板。
- 管沟的防护,洞口、临边防护,料具存放安全要求,临时用电安全防护,施工机械安全防护,操作人员个人防护等安全防护基本标准参见《建筑施工安全检查标准》JGJ59-99
(三)、安全技术管理
1、安全技术措施和方案
安全技术措施在施工过程前必须编制好,并经审批后正式下达施工单位指导施工。在施工过程中,如设计发生变更,安全技术措施也要做出相应的调整和补充。施工条件发生变化时,必须变更安全技术措施内容,并及时经原编制、审批人员办理变更手续,不得擅自变更。针对施工中有中毒、有害、易燃、易爆作业可能给施工人员造成的危害,制定相应的防范措施。安全技术措施及方案必须由工程项目技术负责人进行编制,编制人员必须掌握工程概况、施工方案、环境安全生产的法规、标准。
- 安全技术交底
各工序施工前要由技术员进行安全技术交底。安全技术交底与工程技术交底一样必须办理好交接底签字手续。各类验收,施工人员管理,安全教育管理,安全检查,隐患整改与违章行为的处罚等具体做法参见《项目安全管理手册》。
(四)、安全资料管理
安全资料由项目资料员负责。
(五)、施工现场安全生产管理体系
组 长:佘宗利
副组长:徐祖标
副组长: 周 飞
陆红伟
沈和忠
顾 辉
倪善新
黄孔新
卞西良
陈 刚
钱正生
江 华
、
第三节、工期保证措施
该工程于2003年9月15日开工,按我公司的实力和该工程的实际情况,为确保工期目标的实现采取以下措施:
(一) 组织措施
1、组织成立以佘宗利为项目经理的项目部,项目部下设土建、安装、物资设备、合约、安全管理五个职能部门,统一指挥、调度、督促、检查各施工区段的各项工作,并选派技术过硬、服务热情、吃苦耐劳的施工队伍进现场施工。加强与建设监理单位联系,建立例会制度,确保高标准到完成施工任务。
- 该工程列为我公司的重点工程,对该工程实行四个单列、五个优先。
四个单列:计划单列、劳力单列、材料单列、资金单列。
五个优先:劳力、材料、资金、机械、工具用具优先供应。
- 技术措施
1、编制好切实可行的施工总进度计划和阶段兴控制计划,并做好相应的月、旬、周施工作业计划,使施工生产上下协调、衔接,在该工程专门配备一台新型微机,利用微机优选施工方法,优选模板设计,并实行施工动态管理,坚持日平衡、周调度,保证总进的进度计划实现。
2、与建设单位各部门和质检部门协调联系,结构分段验收,及时插入装饰部门施工,合理安排交叉作业。土建与安装密切配合。
3、认真做好施工前的准备工作:认真看图纸,做好图纸会审工作,编制可行的施工组织设计,提前加工好所用的配件。并搞好现场内外各项临设,认真执行季节性施工技术措施,减少因气候对施工的影响。保证施工的顺利进行,保证工期的实现。
4、加强质量管理工作,我公司使通过ISO9001-2000认证的企业,严格执行企业按ISO9001-2000质量管理保证体系制定的质量手册和程序文件。样板开路,严格按规范、规程施工,保证计划的实现。
5、做好停水、停电的应急计划。
6、双休日、节假日(除春节外)期间,我公司将连续组织施工,以确保工期目标的顺利实现。
第四节、环境保护和噪音控制文明施工措施
该工程创优目标:创市级安全文明示范工地,争创省安全文明示范工地。为达此目标,工地建立现场文明施工管理体系,全面负责下述措施的落实情况。
文明施工管理体系:
组 长:佘宗利
副组长:徐祖标
副组长: 周 飞
陆红伟
沈和忠
顾 辉
倪善新
黄孔新
卞西良
陈 刚
钱正生
江 华
、
1、我公司根据该工程现场实际,实行总平面布置图规定位置布设。工具、材料、半成品等必须分类、分规格整齐堆放。在建设单位划分的施工区域内,做全封闭围挡,形成相对独立的施工区域,在施工场地内、外适当位置种植花卉、绿地,美化环境,达到花园式文明施工现场。
2、严格执行国家颁布的《环境噪音污染防治法》的法律规定,杜绝噪音污染。
3、施工用水、电、管线安装必须符合规定,安装排列整齐,禁止任意拉线、接线、接电。夜间施工必须有充分的照明。
4、现场临时道路进行硬化处理,每天洒水清扫,防止扬尘。出场车辆经过清扫处理,防止沿途遗漏。卸车时轻拿轻放,以减少扬尘。施工现场保持场地平整,道路畅通,排水系统良好,场容场貌整洁,无长流水、长明灯和路障。
5、现场办公、生产设施保持整洁、美观。施工现场内厕所设水冲式厕所,伙房内镶贴瓷砖墙面,灶具采用煤气燃具灶,设大冰柜冷藏食物,保证职工生活符合卫生规定,文明整洁。施工现场食堂采取必要的消烟 除尘措施,在食堂排水系统中设置有效的隔油池,加强管理,定期掏油,防止污染。工地厕所及时清扫、打药。
6、每班收工前及时清理回收材料和工具,建筑垃圾及时清运,做到工完料清,场地整洁。
7、现场成立专门负责安全保卫工作的班子,现场出入设警卫,禁止非施工人员进入场地。对现场施工人员加强文明意识的教育,防止不文明行为的发生。设专人清扫施工现场内施工道路和现场出入口周围的环境卫生,最大限度地减少环境污染。
8、施工污水采取有组织排放,杜绝污水遍地流的现象发生。泥浆水不经沉淀池不得排入下水道。
9、施工垃圾严禁从窗口、洞口等部位向外倾倒。二层以上的施工垃圾,装入编织袋内用塔吊运至地面。装修施工期间用外用电梯运至首层。
10、建立文明施工检查制度,每周组织一次检查评比,奖优罚劣,对检查出的问题限期整改。
第五节、季节性施工措施:
1、雨季施工措施:
认真做好现场基坑内的排水工作,配备好潜水泵等设备,一旦下雨及时抽水,绝对不能使基土受水浸饱。
现场的各种机电设备、机械应设防护棚,配电箱、电动机、卷扬机和塔吊等应设接地保护及避雷装置。
备足防雨材料如塑料布等,在砼浇筑遇雨时应对砼表面加以覆盖,如砼表面被雨水冲刷,应及时用水泥砂浆抹平压光。
雨季施工特别注意做好脚手架,塔吊及上人电梯的避雷工作, 及时做好施工场地的排水工作,不得让地面水流入基坑内,沿基坑砌档水墙,并经常检查是否损坏。遇雨时,必须随时检查,项目部派专人负责巡逻,发现问题及时处理解决。
2、冬期施工措施
在进入冬期前,组织有关成员对职工住房、食堂、仓库及施工现场进行一次安全过冬、防火大检查。对有透风的住房及各种保温棚进行维修,采取应的保温措施。
现场施工及生活用水管埋入地下,对明露的管道采用保温材料加以敷设,以防受冻。
对现场的施工道路应进行清理及整修,确保道路畅通。提前做好冬期砼及外加剂的试验试配工作,提供合理可行的冬季砼配合比,并做好砼保温材料的进场工作。
认直检查冬期用电情况,不允许使用电炉取暧,对线路不符要求的一律作更换处理,并在宿舍区及施工现场配备足够的灭火器,入冬前对所配的灭火器进行认真检查,长期不用的灭火器应更换。
配备冬期施工专检小组,负责对安全、现场施工情况作不定期的抽查,发现问题及时作出整改处理。
3、砼冬期施工措施
冬期浇筑的混凝土未掺入负温复合外加剂在受冻前,混凝土的抗压强度不得低于规范规定数值(硅酸盐水泥或普通硅酸盐水泥配置的混凝土,为设计强度的30%,矿渣硅酸盐水泥配置的混凝土为设计强度的40%)。掺负温复合外加剂时,应根据负温度情况的不同,使用不同的负温外加剂。且在使用前必须经专门试验及有关单位技术鉴定。
冬期施工前应制定冬施方案,对原材料的加热、搅拌、运输、浇筑和养护等进行热工计算,并应据以施工。
混凝土在浇筑前,应清除模板和钢筋上的冰雪和污垢。运输和浇筑混凝土用的容器应有保温措施。
运输浇筑过程,应符合热工计算所确定的数据,如不符时,应采取措施进行调整。采用加热养护。冬期施工平均气温在+5℃以内,所用的早强抗冻型外加剂附有出厂证明,并要经试验室试块对比试验后再正式使用。综合蓄热法宜选用32.5号以上普通硅酸盐水泥或R型早强水泥。外加剂应选用能明显提高早期强度并能降低抗冻临界强度的粉状或液态复合外加剂,与骨料同时加入,保证搅拌均匀。
冬施养护:模板及保温层,应在混凝土冷却到5℃并达到规定的强度后方可拆除。当混凝土与外界温差大于20℃时,拆模后的混凝土表面,应及时覆盖,使其缓慢冷却。
混凝土试快除按正常规定组数制作外,还应增设二组与结构同条件养护,一组用以检验混凝土受冻前的强度,另一组用以检验转入常温养护28d的强度。冬期施工过程中所有各项测量结果,均应填写“工程施工记录”和“冬期施工混凝土日记”。
当室外连续五昼夜日平均气温低于5℃,日最低气温低于-3℃时即进入冬季施工。根据青岛市的以往要求,冬期施工起止时间为十二月初至来年二月。进入冬期施工阶段,必须派专人专责测温及收听气象预报,并做好记录,根据气温变化情况,及时采取预防措施,做好保温防护工作。
对掺用防冻剂的砼在强度未达到受冻临界强度以前每2h测量一次,砼在强度达到受冻临界强度以后每隔6h测定一次。 室外气温及周围环境温度在每昼夜内至少应定时定点测量。
由于本工程为商品砼,所以对原材料的测温及加热措施,应由供应方负责,施工单位只作监督抽查。
4、 钢筋工程冬期施工要点:
室外钢筋焊接时,应采取防雪拦风措施,并避免焊后未经冷却的接头直接接触冰雪。 钢筋负温闪光对焊,其端面比较平整时,宜采用预热闪光焊,钢筋端头不够平整时,宜采用、闪光、预热、闪光焊工艺。钢筋焊接前,必须根据施工条件调节焊接参数,经试焊检验合格后,方可正试施工焊接。
第六节、质量通病防治措施
为防止质量通病发生,实行经济罚款制度,月检查中每发现一项(次)质量通病,罚款30~300元。
紧紧抓住对质量影响面大,易发生质量通病的主要环节,实行全方位的检查。主要环节如下:
1、砌筑工程:组砌方法正确,灰浆饱满,拉结筋符合规范和设计要求。
2、模板工程:接缝严密,支架有足够的强度,刚度、稳定性。
3、钢筋工程:无移位、变形、间距正确,钢筋保护层符合要求。
4、砼工程:密实无蜂窝、麻面、露筋及轴线位移,截面尺寸准确,梁柱接头平整,无凹凸现象,达到设计强度。
5、屋面工程:细部做法、防水构造、防水层厚度、保护层符合设计及规范要求。屋面、厨房、厕所间、外墙无渗漏。
6、地面工程:平整、无空鼓、粘结污染。块材地面色泽协调、图案规则、对称、接缝均匀。
7、内外装饰工程:表面平整、阴阳角方正、顺直、无空鼓,块材镶贴牢固、排列合理、颜色一致。
8、门窗工程:门窗框与墙体填塞密实,铝合金框与墙体间填塞材料符合要求,密封膏嵌缝严密、无污染。开启灵活,关闭严密无翘曲变形,五金件齐全。夹板门按规定留设出气孔。
9、玻璃工程:底灰饱满,油灰八字形规整,粘结牢靠,无开裂脱落,压条精细、牢固。
10、油漆粉刷工程:无漏刷透底,流坠、咬色、污染,涂刷均匀、无明显刷纹。
针对以上十环节,按部分项目工程逐间逐件全面检查,认真做好记录,出现问题及时整改,坚决消灭质量通病。确保工程质量。
第十章、新技术应用
本工程实际施工过程中,采用以下新技术:
1 、 平台模板采用竹胶板,剪力墙采用大钢模,达到安全,经济,适用的目的。
2 、钢筋连接采用电渣压力焊及闪光对焊技术。钢筋保护层采用塑料定位卡。
3 、预拌砼(商品砼)和散装水泥应用技术,砼的运输泵送工艺技术。
4、采用多功能自动激光铅垂仪进行竖向传递,应用电子经纬仪进行内挖坑放线,外挖坑复核,从而提高工作效率和准确度。
5、应用YH-1砼养护剂,它是一种新型砼表面处理剂,可令砼表面迅速硬化,提高硬度,从而减少工序间隔,加快工程进度,缩短工程工期。
6、计算机应用
用于编制施工组织设计、施工计划、绘制网络图、实验检测、工程预结算、文件及合同的管理。
第十一章、合理化建议
1、建议楼梯踏步齿角设计φ10圆钢筋,防止楼梯踏步齿角损坏。 2、砼建议掺磨细粉煤灰,砌体砂浆掺原状粉煤灰,增强砼、砂浆和易性,保证质量,节约水泥用量.
- 建议工程施工时,同步进行周围的全面立体式绿化,配合创建安全文明工地,建立花园式现场。
第十二章、附图
雅居云录(https://yajuyun.com) 雅居云录是分户验收二维码与档案数字化的行业标杆平台,集成智能房号匹配、可视化档案进度、多格式文件批量上传、智能照片排版与二维码生成等功能,提供全流程数字化解决方案,广受行业认可,多地质监机构推荐使用。
雅居云录分户验收二维码后台核心功能:智能房号管理: 可视化呈现房号清单,结构清晰,查找便捷。 模板灵活可配: 内置多地验收模板,支持自定义编辑,快速适配。 批量上传支持: PDF文件和现场照片均支持批量上传、即时归档。 照片自动排版: 验收照片自动生成带PDF档案,节省人工排版时间。 二维码一键生成: 项目二维码秒速生成,支持预览与打包下载。进度可视看板: 实时查看任务状态与完成进度,辅助项目管理。
雅居云录分户验收二维码与电子档案平台照片自动排版:验收照片自动生成带PDF档案,节省人工排版时间。
雅居云录分户验收:批量上传,自动排版,省时省力,规范标准。