施工组织设计目录
第一章 编制说明
一、方案编制依据
浙江省建筑设计研究院设计的土建施工图纸。
《现行建筑施工规范大全》及国家有关验收规范、施工规程、质量检验评定标准、工程建设标准强制性条文及建筑安装安全操作规程。
国家、省、市发布的有关建筑施工、质量、安全文件。
企业的质量体系及各项管理文件及管理标准。
工程现场踏勘及工程现场具备的因素及条件等状况。
二、方案编制所参照的主要规范、标准
| 序号 | 规范名称或标准号 |
| 1 | 建筑工程施工质量验收统一标准-------------------------------------------GB50300-2001 |
| 2 | 建筑桩基技术规范-----------------------------------------------------------------JGJ94-2008 |
| 3 | 建筑地基基础工程施工质量验收规范-------------------------------------GB50202-2002 |
| 4 | 人民防空施工及验收规范---------------------------------------------------GB50134-2004 |
| 5 | 工程测量规范-------------------------------------------------------------------B50026-2007 |
| 6 | 建筑节能工程施工质量验收规范-------------------------------------------GB50411-2007 |
| 7 | 建筑节能工程施工质量验收规范实施细则 |
| 8 | 混凝土结构工程施工质量验收规范---------------------------------------GB50204-2002 |
| 9 | 砌体工程施工质量验收规范------------------------------------------------GB50203-2002 |
| 10 | 地下防水工程施工质量验收规范------------------------------------------GB50208-2002 |
| 11 | 地下工程防水技术规范------------------------------------------------------GB50108-2001 |
| 12 | 建筑地面工程施工质量验收规范------------------------------------------GB50209-2002 |
| 13 | 建筑装饰装修工程质量验收规范------------------------------------------GB50210-2001 |
| 14 | 屋面工程质量验收规范------------------------------------------------------GB50207-2002 |
| 15 | 屋面工程技术规范------------------------------------------------------------GB50345-2004 |
| 16 | 钢筋焊接及验收规程-------------------------------------------------------------JGJ18-2003 |
| 17 | 建筑给水排水及采暖工程施工质量验收规范--------------------------- GB50242-2002 |
| 18 | 建筑电气工程施工质量验收规范------------------------------------------GB50303-2002 |
| 19 | 建设工程施工现场供用电安全规范------------------------------------------GB50194-93 |
| 20 | 建设工程项目管理规范--------------------------------------------------- GB/T50326-2006 |
| 21 | 建设工程文件归档整理规范--------------------------------------------- GB/T50328-2001 |
| 22 | 混凝土泵送施工技术规程------------------------------------------------------- JGJ/T10-95 |
| 23 | 施工现场临时用电安全技术规程-----------------------------------------------JGJ46-2008 |
| 24 | 建筑施工安全检查评分标准------------------------------------------------------ JGJ59-99 |
| 25 | 建筑边坡工程技术规范----------------------------------------------------GB/50330-2002 |
| 26 | 其它有关的国家及地方规范、规程 |
三、方案编制总述
1.保证工程质量的技术措施
工程质量达到合格标准,确保“海山杯”,争创“钱江杯”优质工程是我们的控制施工质量目标。
“科学管理、规范施工、重誉高效、用户满意”是我们的质量方针。严格按施工图和有关规范要求,科学合理地施工,是保证工程质量的重要措施。
施工管理班子、施工队伍和施工机械的优化、合理配备,既是保证工期目标实现的重要组织措施,也是保证工程质量的重要技术手段。拟投入本工程施工队伍,是一支在工业与民用建筑施工方面较为优秀的施工队伍,该队伍曾施工过难度较大,技术含量较高工程,尤其对类似商务楼的施工具有丰富的施工经验和施工现场组织能力。
我们将建立切实有效的质量保证体系,加强全面质量管理,推行ISO9001标准化管理,以公司总工为牵头人,以项目经理为第一负责人,专职质检人员负责质量检查和质量监督,严格按有关施工技术规范、验收规范规定,实行质量“三检制”和质量目标责任制,确保实现工程质量目标。
2.保证施工安全的管理措施
贯彻“安全第一、预防为主”的安全生产方针,建立以项目经理为第一责任人,专职安全员负责生产安全,落实安全生产责任制,杜绝人员、设备的重大事故发生,确保工程顺利竣工。
3.工期保证的组织措施
高效务实的施工管理机构、科学熟练的施工技术、丰富的施工经验、合理的施工方法、过硬的专业施工队伍和适合本工程特征的施工机械配备,是保证工程进度目标的重要组织措施。
4.文明施工目标
我公司将严格按照浙江省建设工程文明施工管理的有关规定组织施工,保证施工现场清洁,达到工完料清、场净的文明施工要求,确保达到市级“双标化”验评标准,争创省级标化工地。
5.施工协调管理
我公司将切实承担责任,全面负责本工程内各专业队伍的协调工作,由建设单位、监理单位、总分包单位与各专业分包单位共同组成现场项目管理部,协调施工进度,解决在施工中产生的质量、安全等方面的各种问题,确保施工的顺利进行。
同时,我公司将全面负责处理好施工现场与业主单位的各种关系,施工区域附近受施工影响的建筑物、管线将事先查明,并考虑可能发生的各种问题,以便及时采取措施迅速加以解决,防止发生意外。施工中与业主、交警、环保等部门的协调将充分利用我公司已有的良好关系。
第二章 工程概况及总体设想
一、工程概况
1.工程简介
本工程建设单位为浙江省舟山东港投资发展集团,设计单位为浙江省建筑设计研究院。工程位于舟山市普陀区东港B-05地块。
本工程±0.000米相当于黄海高程5.800米,总建筑面积15778m2,其中地上9层,建筑面积约12147m2;地下一层局部两层,建筑面积为3631 m2。建筑物桩承台地基采用钻孔灌注桩基础,建筑物结构基础采用承台、地梁形式,设一层地下室,局部两层,主要功能为停车库及设备用房、战备时作为防空地下室;本商务楼建筑高度39.60m,框架结构,局部电梯井道核心筒为剪力墙结构。主楼屋面结构为钢筋砼防水屋面。
1.1建筑特点
本工程的建筑平、立面设计造型活泼,装饰质量要求高档,建筑材料齐全,具体的装饰工程项目如下:
楼地面装饰:采用水磨石地面、水泥砂浆、防滑地砖、花岗岩楼地面等饰面。
墙面装饰:外墙采用干挂花岗岩、铝合金构件、塑铝板、玻璃幕墙;
内墙采用瓷砖、涂料、乳胶漆、水泥砂浆等饰面。
屋顶装饰:屋面为上人与不上人保温屋顶,采用刚柔结合、多道设防的防水方案。
天棚装饰:采用涂料及轻钢龙骨矿棉板、纸面石膏板、塑料扣板吊顶。
门窗工程:采用幕墙玻璃、胶合板门、铝合金窗、防火门、人防门等。
建筑物散水:采用细石砼散水。
本工程建筑立面虚实对比强烈,色彩简洁明快,是完整体现了作为21世纪商务办公楼所特定的建筑艺术风格。
1.2结构特点
1.2.1结构体系
本工程建筑物主楼呈长方形平面布置。建筑结构的设计基准期为50年,设计使用年限为50年。
本工程建筑抗震设防分类为丙类建筑,场地类别为Ⅱ类,本工程按6度抗震设防烈度进行抗震设计。主楼框架抗震等级为二级,核心筒及其余剪力墙为二级。本工程人防设计抗力等级为六级。
本工程地下室底板标高为-4.60米,局部二层标高为-8.1米,且电梯井底坑标高为-6.7米和-10.2米。开挖深度较深。地下室底板厚度大部分均为400mm。
在本工程中所使用的主要建筑材料:
(1)砼等级为:
①梁板混凝土等级:六层板面(19.4700及以下为C35,六层以上为C30。
②柱及剪力墙混凝土等级:二层板面以下(包括地下室为C40),两层至六层为C35,六层以上为C30。
3 基础垫层为C15,过梁、圈梁、构造柱为C20。
其中地下室墙板抗渗等级为S6,生活水池、消防水池、高位水箱抗渗等级为S8。
(2)本工程砌体材料:
标高在+-0.000m以下采用混凝土实心砖,M10水泥砂浆实砌;
标高在+-0.000m以上的外墙、楼梯间墙、卫生间墙处均采用P型烧结多孔砖,M5.0混合砂浆砌筑。
其余内墙均采用加气混凝土砌块。
(3)本工程钢筋材料:
采用Ⅰ级钢6mm≤φ≤10mm,Ⅱ级钢12mm≤ф≤25mm,竖向粗直径钢筋采用电渣压力焊机械连接。
(4)做轻质材料墙体面层前,在墙与梁柱交界处钉500宽钢板网(0.60厚)。
二、工程总体设想
质量目标:工程质量确保达到海山杯标准,并争创“钱江杯”精品工程。
工期目标:确保工期“430日历天”。
安全文明施工目标:确保舟山市级“双标化”工地标准,争创省级标化工地。
技术创新目标:全面推广应用建设部十项新技术。
管理目标:保证ISO9001质量体系的有效运行,并按ISO14001版要求在项目部施工过程中运行;切实履行计划、组织、领导、控制四大管理职能,加强协调,保证各项承诺的兑现;对专业分包单位实行同标准的质量控制,做好总分包管理配合工作。
信息化施工目标:达到舟山市建筑施工项目领先水平。
安全健康环境管理目标:安全第一,预防为主;以人为本,工程创优。工伤频率控制在2‰以下,杜绝重伤,死亡事故;杜绝重大施工机械设备损坏事故,杜绝负主责的重大及以上交通事故,杜绝重大火灾事故,杜绝持续严重超标排放的环境污染事故。
第三章 施工总体部署
本工程总建筑面积约为15778平方米,计划于2008年12月20日开工,根据招标文件的要求结合企业自身的施工能力,我公司保证在430日历天内完成本工程,即在2010年02月23日竣工。
一、本工程部署要点
本工程根据招标文件要求及工程各项指标的最终确定,决定工程进度计划实行工期倒排法,又因其工程量较大,工期相当紧迫,专业分包项目较多,所以桩基工程(包括围护桩)施工确定为40天,其中围护桩20天(不占用总工期);挖土20天;基础结构工程工期确定为80天,主体结构工程总工期确定为116天,装饰工程确定为174天,整个工程实际施工为430天,在上述时间内必须完成整个工程。
本工程施工总顺序为桩基工程(包括围护桩工程)施工→土方工程施工→地下室结构施工→主体结构施工→后浇带封闭施工→屋面工程及室内外装饰工程施工→室外工程施工→工程竣工。
从科学的施工角度分析,要保质保量地完成此工程,施工总体部署就尤为显得重要。
1.桩基工程
本工程桩型钻孔灌注桩,施工顺序:工程桩的施工→桩基静载试验→桩基验收→土方开挖。
2.土方开挖工程
挖土的方法主要采用液压反铲挖掘机为主,再安排人工辅助修土。
土方工程的施工顺序,符合现场条件的施工范围以及土方运输线路的合理布置,运土车辆分散与分流,对施工道路的疏导与畅通,确保在计划工期内完成土方开挖。
3.垂直运输
根据建筑物平面布置的要求,配备一台塔吊,作为拟建建筑的主要垂直运输设备。塔吊在基础土方工程施工完成后进场,在主体结构及屋面施工基本完毕后拆除退场。
安装一台施工人货电梯,用于砌筑材料和圈梁、构造柱砼的垂直运输,以及楼内、楼外装饰材料的垂直运输,待内、外墙装修施工完毕后拆除退场。
4.水平运输
挖土时共计安排10辆20T自卸车外运土方。材料进场安排5辆5T自卸车和5辆2T运输车,场内大宗材料和设备水平运输由QTZ60型塔吊来完成,零星材料采用人力推车或搬运来完成。
5.砼工程
根据本工程现场的结构实际情况,我公司准备采用如下方法:砼均采用商品混凝土,配置2台350L砼搅拌机备用。
确保砼配合比的科学性、合理性,外加剂的最佳选择和控制。
砼浇捣顺序,确保不出现施工冷缝。
砼内部温差有效控制及做好季节性保温、养护工作。
6.防水工程
整个工程防水至关重要,必须保证万无一失。
防水工程要刚柔结合,针对本工程的建筑类型和地理环境,其防水等级要有足够的安全富裕度。
防水主材和辅材的优选,保证其完全满足该特殊工程的设计以及规范要求。
防水做法及防水节点设计必须科学合理,对防水施工的质量必须进行严格管理和控制。
7.回填土工程
本工程回填土应采用密实性较好的塘渣、粘土等,每300mm分层夯实,其含水量按施工验收规范严格控制,不得采用淤泥质土、建筑垃圾或含有有机物的废土回填,凡位于填土区上的道路,花槽等应待上层填土沉降稳定后方能施工。
严格按照设计图纸及施工验收规范要求执行。
8.砌体工程
本工程的砌体填充墙主要为加气混凝土砌块。
施工时应严格进行操作交底,砌体材料进场时应严格验收,再送试验室进行强度试验,达到设计标准后才能应用到工程上。
9.装饰工程
装修工程是工程设计风格和使用功能达到工程所追求的档次的关键所在,其部署重点为:
在大面积施工前应进行样板房施工,待其工艺标准确定后再行施工。
各装修材料的选型及其档次和质量标准的确定,确保工程的使用功能、设计功能和标准档次。
对重要材料、成品的加工、制造及其有效的工厂监造。
现场机电安装工程,智能化系统和装修施工的合理交叉及其产品保护。
10.总承包管理
作为本商务楼工程土建工程工程的施工总承包商,必须靠一流的综合实力、一流的策划运作,一流的管理协调,一流的技术与设备,一流的承诺与服务,优质高效地完成其工程,实现项目的综合目标,其部署重点为:
积极主动地为业主服务,有效协调工程各方的工作关系,争取政府相关部门的有力支持。
珍惜总承包商的地位和作用,充分发挥总承包的综合能力,对各专业承包商严格控制管理、协调,全面实现工程的整体目标。
协调业主对专业承包商和设备、材料进行选择和招标,以确保优秀的专业承包商,对材料、设备与质量标准进行把关。
对专业工种图纸的二次深化设计进行全面、有效的协调、把关。
对工程质量严格、有效地控制,确保过程精品,实现最终精品。
对工程实施阶段进行科学合理的计划、安排和策划,组织协调,确保关键线路和最终工期目标实现。
二、施工准备工作
施工准备工作从内容上分技术准备、物资准备、施工现场准备、劳动力组织准备四部分。
1.技术准备
1.1熟悉和审查施工图纸
1)检查施工图纸是否完整和齐全,施工图纸是否符合国家有关工程设计和施工的规范和要求。
2)施工图纸与其说明在内容上是否一致,施工图纸的各组成部分间是否矛盾。
3)建筑图同其相关的结构图,在尺寸、坐标、标高和说明方面是否一致,技术要求是否明确。
4)基础设计同建造地点的工程地质和水文地质条件是否一致,同周边建筑物在施工时有否影响,弄清有没有原有的地下管线、军用光缆、地下构筑物是否会对新造建筑施工有影响。
5)掌握拟建工程的建筑和结构的形式和特点,需要采取哪些新技术。对于技术含量高、施工难度大的分部(项)工程,要审查现有的施工技术和管理水平是否能满足工期、质量要求。
1.2原始资料调查分析
1)自然条件调查分析:
调查建设地区的气象、地形、工程地质、水文地质、施工场地地下和地上障碍物。
2)技术经济条件调查分析:
调查建材生产企业、地方资源的生产供应情况,交通运输和水电供应情况。
3)根据施工图纸所确定的工作量,施工组织设计拟定的施工方法和建筑工程预算定额编制施工图预算。
2.物资准备
2.1材料的准备
1)根据施工组织设计中的施工进度计划和施工预算中的工料分析,编制工程所需材料用量计划,作备料、供料和确定仓库、堆场面积及组织运输的依据。
2)根据材料需求量计划,做好材料的申请、订货和采购工作,使计划得以落实。
3)组织材料按计划进场,并做好验收保管工作。
2.2构配件及设备加工订货准备
1)根据施工进度计划及施工预算所提供的各种构配件及设备数量,做好翻样加工工作,并编制相应的需求量计划。
2)根据需求量计划,向有关厂家提出加工订货计划要求,并签订定货合同,产品质量技术验收标准。
3)组织构配件和设备按计划进场,按施工平面布置图做好存放及保管工作。
2.3施工机具的准备
1)根据施工组织设计中确定的施工方法、施工机具配备要求、数量及施工进度安排,编制施工机具需求量计划。
2)对大型施工机械(如吊机、挖土机等),提出需求量和时间要求,并提前通知专用设备进场时间和衔接工作,准时运抵现场,并做好施工现场准备工作。(详见机械设备表)
3)运输的准备
①根据上述三项需求量计划,编制运输需求量计划,并组织落实运输工具。
②与外界进行协调,确定合理的运输路线。
3.施工现场准备
3.1施工现场控制网测量
根据给定永久性坐标和高程,按照建筑总平面图要求,进行施工场地控制网测量,设置场区永久性控制测量标桩。
3.2做好“四通一平”,认真设置消防栓。
3.3建造施工设施
按照施工平面图和施工设施需要量计划,建造各项施工设施,为正式开工准备好用房。
3.4组织施工机具进场
根据施工机具需要量计划,按施工平面图要求,组织施工机械、设备和工具进场,按规定地点和方式存放,并应进行相应的保养和试运转等项工作。
3.5组织建筑材料进场
根据建筑材料、构(配)件和制品需要量计划,组织其进场,按规定地点和方式储存或堆放。
3.6拟定有关试验、试制新技术、新材料的计划
建筑材料进场后,应进行各项材料的试验、检验。对于新技术项目,应拟定相应试制和试验计划,并均应在应用前实施。
3.7做好季节性施工准备
按照施工组织设计要求,认真落实冬施、雨施和高温季节施工设施和技术组织措施。
4.劳动组织准备
4.1建立施工项目领导机构
根据工程规模、结构特点和复杂程度,确定施工项目领导机构的人选和名额;遵循合理分工与密切协作、因事设职与因职选人的原则,建立有施工经验、有开拓精神和工作效率高的施工项目领导机构。
4.2建立精干的工作队组
根据采用的施工组织方式,确定合理的劳动组织,建立相应的专业或混合工作队组。
4.3集结施工力量,组织劳动力进场
按照开工日期和劳动力需要量计划,组织工人进场,安排好职工生活,并进行安全、防火和文明施工等教育。
4.4做好职工入场教育工作
为落实施工计划和技术责任制,应按管理系统逐级进行交底。交底内容通常包括:工程施工进度计划和月、旬作业计划;各项安全技术措施降低成本措施和质量保证措施;质量标准和验收规范要求;以及设计变更和技术核定事项等,都应详细交底,必要时进行现场示范;同时健全各项规章制度,加强遵纪守法教育。
5.施工准备工作计划落实
施工准备工作需分阶段、有组织、有计划、有步骤地进行,为了保证施工准备工作的顺利进行,应编制施工准备工作计划,明确其完成的时间、内容及责任人员,并纳入年度、月度、施工计划中,认真贯彻执行。
三、施工组织
施工组织主要分为人员组织、机械设备组织、材料组织、运输组织、协调组织等五部分,这些组织内容安排是否合理将直接影响整个施工的生产过程能否顺利完成。故根据我公司各部门进行内部协调后,对这五大组织的安排主要为:
1.人员组织
主要分二大类:施工管理层及施工劳务层二大类。
1.1管理人员配备
我公司在施工管理、协调控制能力上都有很大的优势,且在施工管理层人员组织上更是有广泛的选择,在组建本工程项目管理班子时,我公司将选派曾施工过类似本工程结构形式的具有丰富施工经验的项目管理班子进驻现场直接参与本工程的建设和管理。
我们将配备齐项目班子,根据本工程的规模和特点,项目经理部拟定采用直线职能式的管理模式。项目经理部设工程施工部、工程技术部、器材供应部、质量安全部和办公室等职能部门。在生产组织上,施工管理部设综合工长和各专业工长,由他们具体组织施工实施。此模式具有职责分明、指令畅通、管理高效的特点。
项目各部门的职能:
工程管理部:测量放线、劳动力管理、施工进度、质量、安全、文明施工具体实施与控制。
工程技术部:编制施工方案、施工技术管理;计划与统计;测量控制定位;钢筋、木工翻样、材料试验。
质量安全部:制定各项质量、安全管理制度,实施全过程的质量、安全监控。
器材供应部:材料的采购、保管、发放;机电设备的维修、保养、管理以及操作人员的管理。
综合管理部:工程预决算;劳动工资管理;财务成本管理;工程合同管理。
办公室:对外协调、理顺关系;现场保卫、后勤、卫生。
1.2劳务人员的配备
劳动力是工程具体的实施者,因此劳务人员是工程实施的关键。在本工程中,我公司考虑全部采用合同制劳务人员,与我公司长期合作的劳务队伍,素质良好,技术高,并且能按施工进度保证施工人员的数量要求。
目前我公司已经通过招标确定本工程劳务队伍,现在已经作好充分的准备,包括操作人员、操作机具、必要的劳务培训和入场手续,随时准备进入本工程。
2.机具组织
目前,本工程的主要机械设备已经基本落实,随着施工进度,我公司将立即组织大型机械进场。
3.材料组织
本工程材料采购基本为我方自行采购,我们将货比三家,从质量上、单价上把关,并通过业主及有关部门审批后再行采购;同时对于各分包单位采购材料,我公司将在业主的授权下,对进场材料质量进行把关。
本工程所用周转材料,均由项目经理部和公司工程管理部共同组织,对一些须先行定制的周转材料及时进行加工定制,并根据进度计划进行调整、补充,以确保工程顺利施工。
4.现场及运输组织
现场运输组织遵循一下原则:
在现场南边设置钢筋加工车间、木工加工车间、材料堆场、工具房和安全保卫设施。
材料应充分考虑多点集中布置,减少材料的场内二次搬运。
材料进场应根据施工计划分批分次进场。
5.协调组织
我们将把协调组织工作放在重要位置,着重对其它分包单位的质量、安全、文明施工、施工进度进行协调和管理,并为各分包商提供合理的施工作业面,协调各工序的衔接,提供水源、电源,提供已有的垂直运输设备,提供已有的脚手架,提供必要的办公、仓储条件,为本工程的整体施工创造良好的条件。
四、施工总体安排
1.施工总体规划
根据本工程特点,结构施工占用绝对工期较长,在安排计划时特别要增加劳动力及机械、材料,决不因为人为的因素出现停工、怠工、窝工等现象,整个工程工期提前创造条件。
装修工程投入足够的施工人员,在主体结构完成后开始施工。
施工过程中将科学合理地安排各工序的先后搭接关系,紧抓基础和结构工程的施工,给机电安装等专业分包单位的施工留出较为充裕的时间精工细作,保证工程质量和进度目标的实现。水电、暖通等安装要紧密配合,预制、预埋与土建穿插交叉。多工种有条不紊地组织,关键在于准备充分,指挥有力,统一协调。
2.施工总流程规划
2.1施工总流程
施工总流程是指导整个施工的关键线路,贯穿于整个施工阶段过程中。根据本工程特点、规模要求及工期要求,我们对本工程作出总体规划。
结构从下到上顺序施工,内装饰工程从上向下顺序施工,外装饰从上向下进行施工。
2.2结构工程施工流程
本工程结构为框架结构,楼层中的墙柱和梁板混凝土强度等级六层以上均为C30,为保证施工工期及砼质量,在地下室及1-6层我项目部拟采用柱、梁板二次浇筑的方法,在6-9层拟采用柱、梁板一次性整体浇筑的方法。
施工顺序:弹线→柱钢筋绑扎→柱钢筋隐蔽工程验收→柱模板安装及梁板模板支设→柱砼浇捣→梁板下皮筋绑扎→梁钢筋隐蔽工程验收→水电安装预埋→板上皮筋绑扎→砼浇捣前准备验收→梁板砼浇捣→已浇楼板砼养护→上一层楼结构施工
2.3装修阶段施工流程
装修阶段分别可采用三条作业线:第一条为室内粗装修,按砌体、墙体粉刷、楼地面、油漆涂料的顺序自上而下施工;第二条为屋面工程,在主体砌体完成后分层开展施工,屋面断水应抢在室内精装修施工前完成;第三条线为外装修工程,砌体完成后,自上而下分层流水施工。由于工程装修量大,尤其是平面作业面大,拟定在实际施工中,编制详细的单项作业计划,较为灵活地划分施工流水区。室内装修应优先考虑卫生间等工序多、专业工种交叉较多的部位。
2.4安装阶段施工流程
本工程安装工程的范围广。从一开始,土建和安装按照总体计划,组织好工序穿插、搭接和平面、立体的交叉作业。依照土建施工进度,结合安装内容,电气工程按防雷接地、电气预埋配管、电缆敷设、灯具柜箱安装、调试、通电的顺序组织施工,管道工程按套管预埋、管道安装、消防箱安装、卫生洁具安装、管道调试的顺序组织施工。安装预留、预埋应与土建同步、且不得遗漏,严禁开凿粉刷层、结构层及砌筑结构。
五、本公司对本工程的各项保障
1.资金保证
本工程规模较大,造价高,建设周期短,本公司愿尽自己最大的努力,充分发挥公司近期强大的资金优势,为本工程建设筹集专项施工储备资金,以保障本工程的建设正常运作。
2.品牌保证
确保“海山杯“标准,争创“钱江杯”精品工程,确保一次交验通过的承诺目标。
3.进度保证
确保工程在430日历天内完成整个建安工程,包括机电安装等专业分包工程,为业主能早日投入使用创造良好的前提条件。
4.服务保证
严格按公司ISO9001质量保证体系和2000年《建设工程质量管理条例》执行,工程质量实行企业终生负责制,对保修期满后的工程维修,只计取成本费。
5.劳动力保证
投标人愿根据本工程实际需要及各阶段施工进度状况从本公司中抽调最强的劳动力充实到本项目的施工建设中。
6.机械保证
投标人愿根据本工程实际需要及各阶段施工进度状况从本公司中抽调最强的施工机械充实到本项目的施工建设中。
7.材料保证
投标人愿根据本工程实际需要及各阶段施工进度状况从本公司中调配最好的施工周转材料充实到本项目的施工建设中来。
六、工程施工机械、劳动力、材料等资源配置
2.施工劳动力需要量计划
施工劳动力是工程施工的直接操作者,也是工程质量、进度、安全和文明施工的直接保证者。为确保工程顺利进行施工,在本工程劳动力组织时,我公司将从劳务公司中抽出具有良好的质量和安全意识强的、技术素质高的、身体健康,且有类似工程施工经验的一线操作工人安排进场施工,施工人员进场前统一经过公司劳务技能及质量、安全技术等培训,考核合格后上岗挂牌施工。
具体施工劳动力计划详见第六章 劳动力配备
3.主要施工周转材料需要量计划
3.1施工周转材料配备的原则
项目物资采购及供应部门要积极与施工部门联系,做好计划与统计管理工作,努力完成项目下达的材料耗材降低率及“三材”节约指标。项目部专门设一位材料员、计划员和采购员进行现场周转材料协调,根据翻样清单及按照施工作业时间与工程进度要求排出详尽的材料采购与供应计划,及时把周转材料供应到场。
材料采购供应采取就地就近,“三比一算”,择优采购、运输的原则,确保生产需要,质量合格、规格齐全、型号对口、价格合理。业主指定供应的材料由项目部提前书面通知进场计划,按期采购,及时供应到现场。
3.2施工周转材料配备的数量
在本工程实际施工中,周转材料的配备为模板采用九夹板、钢框竹胶模板等;承重采用碗扣式钢管承重架;安全围护采用毛竹片及密目型安全网。水泥采用袋装,供不同时段及施工部位使用。
(1)钢管
本工程为框架结构,楼板支模架全部采用定尺的扣件式钢管搭设,施工时需搭设满堂架,其需用量相当大,在主体结构施工阶段预计在250T左右;外架钢管搭设预计投入数量为250T,综合考虑总计需投入钢管的数量为500T。
(2)模板
基础模板采用砖胎膜、木模与钢框竹胶模板。
为保证工程结构质量优质,按我公司的施工经验,决定柱子采用钢框竹胶模板及平台采用九夹板、方木来支模施工,特殊部位采用现场加工。需要的钢框竹胶模板800平方米,九夹板1800平方米,方木120立方米。
(3)脚手片及安全网
按标化工地施工要求,外脚手架满铺,安全网全封闭。经计算脚手片需1500张,密目型安全网250张。其他周转材料详见周转材料配备计划表。
4.临时设施需要计划
由于本工程施工用地较大,根据业主对现场统一规划,结合施工单位本身对此工程的施工场地平面布置等情况,特制定施工临时设施计划表。
5.施工主要材料试验、测量、质检设备计划。
施工主要材料、测量、质检设备计划是根据施工质量验收规范和我公司审核通过的ISO9001质量认证体系、质量标准部工作标准及试验室的标准及相关要求而制定,是施工质量安全的检测依据。
具体施工中的主要材料试验、测量、质检设备需经根据本工程的现场实际情况、施工进度计划等而定,必须做到与施工进度同步,但决不能滞后。
第四章 各分部分项工程的主要施工方法
一、基坑围护方案
本工程有地下室,地下室底板标高为-4.600M,-8.100M.该部分施工方案见另行编制的专项基坑支护方案及开挖方案。
二、桩基工程专项施工方案
1.桩基概况
本工程桩基设计为钻孔灌注桩,孔径为Φ600、Φ800、Φ900、Φ1000、Φ1200四种,按所处场地地质不同,深度有所不同的布置。桩端支承在12-1全风化凝灰岩层上,进入该层至少1.5M,有效桩长不得少于30.0米,桩端嵌入承台100MM,桩身主筋伸入承台35d。
桩身砼强度等级为C25,试桩桩身混凝土等级为C35。钢筋采用HPB235和HRB335钢筋,钢筋保护层为50MM。
根据本工程的施工工期安排,项目部安排6台钻孔桩机(型号GPS-15),遇到地下较大的孤石等障碍采用冲抓桩机施工,场地另配1台冲抓桩基。
桩基工程方案已另行编制桩基工程专项施工方案,具体施工按专项施工方案实施。
三、土方开挖
要确保挖土工程按时完成,必须紧密结合工程特点和要求,充分考虑现场条件、运输条件、分阶段施工步骤和工程总体部署等各种因素,安排好各工序的穿插施工,有效投入与合理安排足够的土方工程的机械设备,合理安排土方开挖的先后顺序,分阶段的开挖部位和深度,以及运输坡道的合理布置,并作好充分的准备,以满足工期要求。
土方开挖具体施工按土方工程专项施工方案实施!
四、地下室结构施工方案
1.基槽验收
本工程中土方机械开挖完毕后,预留土层采用人工修土,土方挖到设计标高后即组织有关部门及人员按地基基础验收规范规程进行基槽验收,并做好记录。如在开挖时发现土体异常情况,应及时与有关部门联系,处理后方可施工。
2.垫层及砖胎膜砌筑施工
本工程的地下室底板下及基础承台下垫层为100厚C15素砼垫层。
混凝土垫层应在验槽后立即施工及浇筑,以免基底土暴露时间过长而受扰动。
基础垫层施工采取分块及时浇捣的施工方法,垫层施工要求平整、标高准确,常规的方法是在浇捣垫层前用标上标高线的小竹签插在基槽内,再用木蟹抹平至标高线。
垫层施工完要严格进行放样,精确定出轴线及承台位置。桩主筋按要求接长,使之符合设计之锚固长度,钢筋连接采用焊接,并严格按《钢筋焊接及验收规程》执行,确保焊接质量。本地下室工程施工定位应严格采用国家测量标准及测量放样规范进行。(详细参见第七章《工程关键部位、施工难点技术措施》中的测量部分)
3.钢筋制作、运输及绑扎
地下室钢筋运至现场,塔吊配合小车运输。
钢筋堆放时应分类堆放,做好标识,钢筋严格按施工图和规范要求加工制作,保证对焊质量和接头位置。
钢筋绑扎应遵循先深后浅、先纵梁后横梁、先梁后板、先承台后梁板的原则。底部钢筋绑扎前应先在垫层上弹出排列控制线,并垫钢筋保护层垫块。
柱、墙插筋按垫层面上弹出标记绑扎,然后在上排钢筋面拉线调整,最后插筋与底板主筋电焊固定,柱插筋在承台、梁内按规定套箍筋,避雷接地按设计要求布设。
止水带埋设时应注意其标高及轴线尺寸,安装时必须严格检查,确保接头质量。
4.支模
地下室底板周边采用砖胎模,砂浆内粉。
墙板采用木制九夹板,60×80方木龙骨加Φ48钢管固定,Φ12对穿螺栓间距拉结,间距600×800,钢管支撑。柱模采用九夹板,钢管抱箍,间距不大于800。顶板、梁均采用九夹板,参见主体结构施工方法。
承重架采用Φ48×3.5钢管,立杆间距1.2m,水平方向牵杆步距不大于1.5m,另设扫地杆、剪刀撑,顶板承重架可同时兼作墙柱模板支架。
地下室浇筑底板时墙板应按要求上翻,墙板模板采用挂板方式,并按要求设钢板止水带防止渗漏水。
墙板封模前,必须先将水平施工缝清理干净,除去松动的石子,并整理好被移动的钢筋,严格复核预埋件、预留孔及安装预埋的各种部件。
5.砼施工
砼施工前,会同有关部门对隐蔽工程进行验收,完全符合设计及规范要求后方可进行砼施工。
5.1底板砼浇捣
为确保施工质量,本工程地下室底板均一次性浇捣。利用商品砼站供应砼可以满足施工的需要。
现场设泵车1台,固定泵一台,在底板上部钢筋网片上,经支撑加固后直接铺设脚手架作为操作平台,随浇随拆除管道并清洗。
砼浇捣采取由西向东分开浇捣,分一条作业线齐头并进,混凝土不分层,循序前进。
在砼浇捣时,布置6台插入式振动器。
为防止集中堆料,先振捣出料点处的砼,使形成自然坡度,然后成行列式由下而上再全面振捣,严格控制振捣时间、振动点间距和插入深度。
在砼初凝时间内,对已浇捣的砼进行一次复振,排除砼因泌水在粗骨料、水平筋下部生成的水份和空隙,提高砼与钢筋之间的握裹力,
增强密实度,按标高用刮尺刮平,在初凝前用木蟹抹平、压实,以闭合收水裂缝。
在进行地下室墙板浇捣前,应在墙板底部接搓处先浇捣50mm厚与墙板混凝土成份相同的水泥砂浆。混凝土浇捣时,应分层分段浇捣,浇捣高度控制在500mm以内,分层振捣。新老混凝土之间的间隔时间不应超过2小时。
5.2墙板砼浇捣
地下室外墙板等部位砼,严格按设计要求掺加微膨胀剂,以补偿砼硬化时的收缩。同时砼搅拌时要派专人进行计量监督。
墙板砼浇捣前用水泥砂浆套浆,施工中要做到两个充分即劳动力组织和材料、物资准备充分;三个可靠即脚手平台、机具设备、技术措施可靠;四个畅通即调度指挥、浇捣下料、电气水源线路、现场道路畅通,以保证砼顺利浇捣,防止出现意外冷缝。
砼振捣采用插入式振动棒,人员配套在砼浇捣前列出详细名单,责任落实到人。振捣时严格控制振棒插入深度及振捣时间,采用“快插慢拔”的方法施工。严禁通过振捣钢筋的方法来促使砼密实。
5.3机械及人员设置
泵车数量根据施工需求灵活配置,为防止施工时意外情况使泵车工作不能正常进行,拟另外在现场备用1台泵车,以防施工意外中断而留下施工冷缝。
泥工班组由施工员1名负责现场指挥、协调,振捣人员6人,负责混凝土振捣;移管(软管)人员3人,负责泵管在施工平面内来回移动,负责混凝土表面抹平的泥工9人,在混凝土初步振捣后进行进一步表面处理,泥工班长1人负责各部位收头工作。安排4人在混凝土收水初凝前进行二次压实抹光。4人采用塑料薄膜及草袋进行覆盖养护。
5.4养护
墙板养护可采用在最上排的对穿螺杆上挂穿孔的塑料软管,管内通水喷淋的方法。
四、主体结构施工方案
1.模板工程
为确保结构工程质量及施工安全,慎重起见,在模板工程施工以前,制定严密、详尽的模板工程施工方案,落实施工,确保模板工程的质量及安全问题上的万无一失。
1.1模板体系
模板工程是结构外观好坏的重要保证,在整个结构施工中亦是投入最大的一部分,模板体系的选择正确与否直接影响到施工进度及工程质量,模板方案的选择,考虑的出发点是在工程的质量及进度上,并在此基础上进行综合性经济成本分析,达到减少周转材料投入,降低工程成本的目的。本工程建筑幢数较多,为了控制材料的一次性投入,配制模板时要尽量考虑模板的通用性。
本工程模板工程选用双面光面1830×915木胶合板作为模板体系。模板的支撑体系,采用3.5厚Φ48普通钢管满堂脚手架。
1.2模板支设施工方案
1.2.1柱模板施工方案
当柱钢筋绑扎完毕隐蔽验收通过后,便进行柱模板的施工。首先在柱底部进行标高测量和找平,然后进行模板定位卡的设置和保护层垫块的设置,设置预留洞、安装竖管。
为保证柱子拼缝严密,防止漏浆,在柱模板的拼缝处,要夹粘双面胶、钉海绵条。模板就位后,进行柱子的加固,柱模的背楞采用100×50的木方,背楞的间距为200-300。木方必须竖放,木方在同一截面的搭接要求错开至少500。螺杆节点处理。
柱模加固示意图
1.2.2梁模板施工方案
在梁模支设前,首先在下一层的楼板面上弹出梁的边线,然后根据梁的位置定好梁两侧的支撑立杆,立杆的间距为1000,沿梁的方向依标高搭设好水平管后,安放梁底模的木方,木方竖放,间距为200,然后紧靠钢管沿梁通长在木方上钉好压条,将木方固定。然后依据弹好的梁边线固定梁底模,待梁钢筋绑扎完毕,垫好梁底梁侧保护层垫块通过验收后,开始封梁侧模(梁高小于700的可先封好侧模)。梁侧模直接落到梁底的木方上,用夹条将梁侧模与梁底模夹紧。当梁的跨度在4m以上时,在梁的跨中要起拱,起拱的高度为梁跨度的2‰~3‰。
梁模加固示意图

1.2.3楼梯模板施工方案
楼梯砼的浇注将与楼层砼的浇注错开一层,楼梯底板采取胶合板,踏步侧板及挡板采用50厚木板。踏步面采用木板每三踏步一封闭,以使混凝土浇捣后踏步尺寸准确,棱角分明。由于浇混凝土时将产生顶部模板的升力,因此,在施工时须附加对拉螺栓,将踏步顶板与底板拉结,使其变形得到控制。在楼梯模板拆除后,待其砼强度达到设计要求后,所有楼梯均做上护角,以防止楼梯在今后的使用过程中,棱角被人为破坏。
详见:《楼梯模板支固示意图》

1.2.5模板支撑体系
本工程满堂脚手架采用Ф48钢管,在有梁的位置应当控制好钢管间距离标高。水平钢管支设四道,即离地200mm设置一道扫脚杆,中间二道水平杆,立杆的上端各构件的下部一道水平杆,此道杆的应当注意计算其标高。整个体系要求横平竖直,不得发生倾斜。
由于本工程属于住宅建筑,模板和模板支撑系统均需经过仔细计算,编制专项施工方案并经批准后方可施工。
1.3施工质量保证措施
1.3.1施工质量控制要求
(1)固定在模板上的预埋件、预留孔和预埋洞应符合下表
| 项 目 | 允许偏差(mm) | |
| 预埋钢制中心线位置 | 3 | |
| 预留管、预留孔中心位置 | 3 | |
| 插 筋 | 中心线位置 | 5 |
| 外露长度 | +10,0 | |
| 预埋螺栓 | 中心线位置 | 2 |
| 外露长度 | +10,0 | |
| 预留洞 | 中心线位置 | 10 |
| 尺寸 | +10,0 | |
(2)现浇结构模板安装的偏差见下表
| 项目 | 允许偏差(mm) | |
| 轴线位置 | 5 | |
| 底模上表面高差 | 5 | |
| 截面内部尺寸 | 基础 | 10 |
| 柱、墙、梁 | +10,0 | |
| 层高垂直度 | 不大于5 | 2 |
| 大于5 | +10,0 | |
| 相邻两板表面高低差 | 10 | |
| 表面平整度 | +10,0 | |
1.4安全技术要求
1.4.1进入施工现场人员必须戴好安全帽,高空作业人员必须佩带安全帽,并应系牢。
1.4.2经医生检查认为不适宜高空作业的人员,不得进行高空作业。
1.4.3安装与拆除5m以上的模板,应搭脚手架,并设防护栏,防止上下在同一垂直面操作。
1.4.4高空,复杂结构模板的安装与拆除,事先应有切实的安全措施。
1.4.5遇六级以上的大风时,应暂停室外的高空作业,雪霜雨后应先清扫施工现场,略干不滑时再进行工作。
1.4.6二人抬运模板时要相互配合,协调工作。传递模板、工具应用运输工具或绳子系牢后升降,不得乱抛。
1.4.7不得在脚手架上堆放大批模板等材料。
1.4.8支模过程中如需中作停歇,应将支撑、搭头、柱主板等钉牢。拆模间歇时,应将已活动的模板、牵杆、支撑等运走或妥善堆放,防止因踏空、扶空而附落。
1.4.9模板上有预留洞时,应在安装后将洞口盖好,混凝土板上的预留洞,应在模板拆除后将洞口盖好。
1.4.10高空作业要搭设脚手架或操作台,上、下要使用梯子,不许站在墙上行走。操作人员严禁穿硬底鞋及有跟行业。
1.4.11拆模必须一次性拆模,不得留下无撑模板。拆下的模板要及时清理,堆放整齐。
1.4.12严禁酒后作业
2.钢筋工程
2.1采购与进场
钢筋采购严格实行质量控制,采购的钢筋需有出厂质保书、试验报告,并按规定做机械性能试验和外观检查。热轧钢筋表面不得有裂缝、结疤和折叠。进场钢筋必须有明确的标识,严格按批分别堆放,不得混堆,并应避免锈蚀和污染。
2.2配料与制作
配料计算要考虑钢筋的形状和尺寸,长度应控制准确。在满足设计要求的前提下,要有利于加工安装。钢筋切断用切断机或手动液压切断器,弯曲成型采用钢筋弯曲机。钢筋焊接一般采用闪光对焊,墙柱主筋直径大于22mm的采用竖向电渣压力焊,直径大于25~28mm的水平钢筋采用镦粗直螺纹钢筋连接技术。
2.3绑扎与安装
钢筋绑扎前应校对成品钢筋的型号、直径、形状、尺寸和数量等是否与实际相符,并准备好必要数量的铁丝和保护层垫块。
钢筋安装就位前应先划出位置线。平板或墙板的钢筋在模板上划线;柱的箍筋在两根对角主筋上划点;梁的箍筋在架立筋上划点。钢筋接头位置应根据来料的规格,按照规范对有关接头位置、数量的规定,错开布置,在模板上划线标明。
保护层垫块间距采用1000×1000,以保证保护层厚度符合设计及规范要求,砼浇捣前还应当做一次修正。
钢筋要通长垂直,间距均匀。楼板主筋按短向在下,长向在上的要求摆设。
砼浇捣时,操作人员不能直接踩在楼面钢筋上作业,派专人监督以保证上皮筋的有效高度。
2.4钢筋竖向电渣压力焊
2.4.1范围
本工艺标准适用于工业与民用建筑现浇钢筋混凝土结构中直径14~40mm的Ⅰ~Ⅱ级竖向或斜向(倾斜度4∶1范围内)钢筋的连接。
2.4.2施工准备
(1)材料及主要机具:
① 钢筋:钢筋的级别、直径必须符合设计要求,有出厂证明书及复试报告单。进口钢筋还应有化学复试单,其化学成分应满足焊接要求,并应有可焊性试验。
② 焊剂:
a 焊剂的性能应符合GB5293碳素钢埋弧焊用焊剂的规定。焊剂型号为HJ401,常用的为熔炼型高锰高硅低氟焊剂或中锰高硅低氟焊剂。
b 焊剂应存放在干燥的库房内,防止受潮。如受潮,使用前须经250~300℃烘焙2h。
c 使用中回收的焊剂,应除去熔渣和杂物,并应与新焊剂混合均匀后使用。
d 焊剂应有出厂合格证。
③ 主要机具:
a 手工电渣压力焊设备包括:焊接电源、控制箱、焊接夹具、焊剂罐等。
b 自动电渣压力焊设备(应优先采用)包括:焊接电源、控制箱、操作箱、焊接机头等。
c 焊接电源。钢筋电渣压力焊宜采用次级空载电压较高(TSV以上〕的交流或直流焊接电源。(一般32mm直径及以下的钢筋焊接时,可采用容量为600A的焊接电源; 32mm直径及以上的钢筋焊接时,应采用容量为1000A的焊接电源)。当焊机容量较小时,也可以采用较小容量的同型号,同性能的两台焊机并联使用。
(2)作业条件
① 焊工必须持有有效的焊工考试合格证。
② 设备应符合要求。焊接夹具应有足够的刚度,在最大允许荷载下应移动灵活,操作方便。焊剂罐的直径与所焊钢筋直径相适应,不致在焊接过程中烧坏。电压表、时间显示器应配备齐全,以便操作者准确掌握各项焊接参数。
③ 电源应符合要求。当电源电压下降大于5%,则不宜进行焊接。
④ 作业场地应有安全防护措施,制定和执行安全技术措施,加强焊工的劳动保护,防止发生烧伤、触电、火灾、爆炸以及烧坏机器等事故。
⑤ 注意接头位置,注意同一区段内有接头钢筋截面面积的百分比,不符合《混凝土结构工程施工及验收规范》有关条款的规定时,要调整接头位置后才能施焊。
2.4.3操作工艺
(1)工艺流程:
检查设备、电源→钢筋端头制备→选择焊接参数→安装焊接夹具和钢筋→安放铁丝球(也可省去)→安放焊剂灌、填装焊剂→试焊、作试件→确定焊接参数→施焊→回收焊剂→卸下夹具→质量检查
电渣压力焊的工艺过程:
闭合电路→引弧→电弧过程→电渣过程→挤压断电
(2)检查设备、电源,确保随时处于正常状态,严禁超负荷工作。
(3)钢筋端头制备:
钢筋安装之前,焊接部位和电极钳口接触的(150mm区段内)钢筋表面上的锈斑、油污、杂物等,应清除干净,钢筋端都若有弯折、扭曲,应予以矫直或切除,但不得用锤击矫直。
(4)选择焊接参数:
钢筋电渣压力焊的焊接参数主要包括:焊接电流、焊接电压和焊接通电时间,不同直径钢筋焊接时,按较小直径钢筋选择参数,焊接通电时间延长约10%。
(5)安装焊接夹具和钢筋:夹具的下钳口应夹紧于下钢筋端部的适当位置,一般为1/2焊剂罐高度偏下5~10mm,以确保焊接处的焊剂有足够的淹埋深度。上钢筋放入夹具钳口后,调准动夹头的起始点,使上下钢筋的焊接部位位于同轴状态,方可夹紧钢筋。钢筋一经夹紧,严防晃动,以免上下钢筋错位和夹具变形。
(6)安放引弧用的铁丝球(也可省去)。安放焊剂罐、填装焊剂。
(7)试焊、作试件、确定焊接参数:在正式进行钢筋电渣压力焊之前,必须按照选择的焊接参数进行试焊并作试件送试,以便确定合理的焊接参数。合格后,方可正式生产。当采用半自动、自动控制焊接设备时,应按照确定的参数设定好设备的各项控制数据,以确保焊接接头质量可靠。
(8)施焊操作要点。
①闭合回路、引弧:通过操纵杆或操纵盒上的开关,先后接通焊机的焊接电流回路和电源的输入回路,在钢筋端面之间引燃电弧,开始焊接。
②电弧过程:引燃电弧后,应控制电压值。借肋操纵杆使上下钢筋端面之间保持一定的间距,进行电弧过程的延时,使焊剂不断熔化而形成必要深度的渣池。
③电渣过程:随后逐渐下送钢筋,使上钢筋端都插入渣池,电弧熄灭,进入电渣过程的延时,使钢筋全断面加速熔化。
④挤压断电:电渣过程结束,迅速下送上钢筋,使其端面与下钢筋端面相互接触,趁热排除熔渣和熔化金属。同时切断焊接电源。
⑤接头焊毕,应停歇20~30s后(在寒冷地区施焊时,停歇时间应适当延长),才可回收焊剂和卸下焊接夹具。
(9)质量检查:在钢筋电渣压力焊的焊接生产中,焊工应认真进行自检,若发现偏心、弯折、烧伤、焊包不饱满等焊接缺陷,应切除接头重焊,并查找原因,及时消除。切除接头时,应切除热影响区的钢筋,即离焊缝中心约为1.1倍钢筋直径的长度范围内的部分应切除。
2.4.4质量标准
(1)保证项目;
① 钢筋的品种和质量,必须符合设计要求和有关标准的规定。
注:进口钢筋需先经过化学成分检验和焊接试验,符合有关规定后方可焊接。
检验方法:检查出厂质量证明书和试验报告单。
② 钢筋的规格,焊接接头的位置,同一区段内有接头钢筋面积的百分比,必须符合设计要求和施工规范的规定。
检验方法:观察或尺量检查。
③ 电渣压力焊接头的力学性能检验必须合格。力学性能检验时,从每批接头中随机切取3个接头作拉伸试验。
a 在一般构筑物中,以300个同钢筋级别接头作为一批。
b 在现浇钢筋混凝土多层结构中,以每一楼层或施工区段的同级别钢筋接头作为一批,不足300个接头仍作为一批。
检验方法:检查焊接试件试验报告中。
(2)基本项目:钢筋电渣压力焊接头应逐个进行外观检查,结果应符合下列要求:
① 焊包较均匀,突出部分最少高出钢筋表面4mm。
② 电极与钢筋接触处,无明显的烧伤缺陷。
③ 接头处的弯折角不大于4°。
④ 接头处的轴线偏移应不超过0.l倍钢筋直径,同时不大于2mm。
⑤ 外观检查不合格的接头应切除重焊、或采取补救措施。
检验方法:目测或量测。
2.4.5成品保护
接头焊毕,应停歇20~30s后才能卸下夹具,以免接头弯折。
2.4.6应注意的质量问题
(1)在钢筋电渣压力焊生产中,应重视焊接全过程中的任何一个环节。接头部位应清理干净;钢筋安装应上下同心;夹具紧固,严防晃动;引弧过程,力求可靠;电弧过程,延时充分,电渣过程,短而稳定;挤压过程,压力适当。若出现异常现象。应参照表4-24查找原因,及时清除。
(2)电渣压力焊可在负温条件下进行,但当环境温度低于-20℃时,则不宜进行施焊。雨天、雪天不宜进行施焊,必须施焊时,应采取有效的遮蔽措施。焊后未冷却的接头,应避免碰到冰雪。
2.4.7质量记录
本工艺标准应具备以下质量记录:
(1)钢筋出厂质量证明书或试验报告单。
(2)焊剂合格证。
(3)钢筋机械性能复试报告。
(4)进口钢筋应有化学成分检验报告和可焊性试验报告。国产钢筋在加工过程中发生脆断、焊接性能不良和机械性能明显不正常的,应有化学成分检验报告。
(5)钢筋接头的拉伸试验报告。
3.砼工程
3.1施工前期准备
1)模板检查
主要检查模板的位置、标高、截面尺寸、垂直度是否正确,接缝是否严密,预埋件位置和数量是否符合图纸要求,支撑是否牢固。此外,还要清除模板内的木屑、垃圾等杂物。砼浇捣前木模板需浇水湿润。在砼浇捣过程中要安排专人配合进行模板的观察和修整工作。
2)钢筋检查
主要是对钢筋的规格、数量、位置、接头是否正确,是否沾有油污等进行检查,并填写隐蔽工程验收单,要安排专人配合浇捣砼时的钢筋修整工作。
3)材料、机具、道路的检查
对材料主要检查其品种、规格、数量与质量,对机具主要检查其数量、运转是否正常,对地面与楼面运输道路主要检查其是否平坦,运输工具能否直接到达各个浇捣部位。
4)其他准备
与水、电供应部门联系,防止水、电供应中断;了解天气预报,准备好防雨、防冻措施;对机械做好修理和更换的准备;夜间施工准备好照明设备,并办好夜间施工许可证。
3.2砼的施工配料
3.2材料控制
混凝土各项材料的采购、使用均应符合相关要求。
砼拌和必须严格按配合比进行并保证砼各种成分计量准确。
3.3砼浇捣
(1)根据施工流程,先进行墙板和柱钢筋、模板的施工,隐蔽工程验收后,先行浇捣混凝土。楼面梁板在模板及钢筋工程完成并经验收合格后,方可进行混凝土施工。砼采用插入式振捣器振捣,砼由泵管直接输送到浇捣位置进行浇捣。
(2)浇捣混凝土前,必须对模板作一次全面检查,模板内杂物和建筑垃圾必须清理干净,模板缝隙超过2mm的应堵塞,模板及老混凝土必须浇水湿润,施工缝处须套浆。
(3)墙板、柱子新老混凝土交接处,将老混凝土浇水湿润,铺50厚与混凝土同配合比的水泥砂浆,然后分层浇捣,每层浇捣高度控制在500mm以内,在混凝土浇捣过程中不得留施工缝。水平施工缝设在大梁底标高以下50mm处,当大梁钢筋需锚入柱内时,则施工缝留在锚固筋下50mm处。柱子与墙板砼泵送时,下落的自由倾落高度不得超过2m,超过2m的必须采取措施,避免直接向柱和墙板板中倾倒混凝土,防止混凝土出现分层离析。
(4)梁板混凝土的浇捣,由一端开始用“赶浆法”推进,先将梁分层浇捣成阶梯形,当达到楼板位置时再与板的混凝土一起浇捣。对大断面梁采取单独浇捣,第一层下料慢些,使梁底充分振实后再下第二层料,用“赶浆法”使水泥浆沿梁底包裹石子向前推进,振捣时避免触动钢筋及埋件。楼板浇捣的虚铺厚度略大于板厚,用平板振动器垂直浇捣方向来回振捣,不断用移动标志以控制混凝土板厚度。振捣完毕采用二次抹面减少混凝土收缩裂缝。
(5)在混凝土浇捣时,柱和墙板板应分皮振捣,高度不超过400~500mm,在振捣上皮混凝土时,振动捧应伸入下皮混凝土,使上、下混凝土紧密结合,振动棒应“快插慢拔,插点均匀”,按顺序进行,不得遗漏,做到均匀振实。移动间距不大于振捣器作用半径的1.5倍。
(6)浇捣混凝土时派钢筋工和木工观察钢筋和模板,预留孔洞、预埋件、插筋等有无位移变形或堵塞情况,发现问题及时校正。
(7)混凝土应加以覆盖,并浇水养护。夏天加盖湿草包或塑料薄膜养护;冬季做好防冻保暖工作,以避免混凝土在初凝时受冻而使结构存在隐患。
(8)楼面梁板的拆模时间要由现场施工员严格控制,必须按规范规定设置与构件砼同条件养护的砼试块,待试块强度达到设计和规范规定的强度后再拆底模。
3.4砼养护
混凝土养护应在浇筑完毕后12h内进行,派专人看护浇水湿润,视气温情况,按施工规范进行养护。养护时间不少于10d,对具有抗渗要求的砼,养护时间不少于14d。
3.5抗裂措施
选用稳定性好的大厂水泥,严格控制水灰比,掺加水泥量5%~10%的I级优质粉煤灰和高效减水剂,以尽量降低混凝土水化热。
严格控制粗、细骨料的含泥量,规定石子、黄砂含泥量均不得大于1%,减少混凝土的干缩。
浇筑混凝土时做好泌水处理,在模板上留出泌水孔,以提高混凝土的质量和抗裂性能。
加强混凝土的早期养护。保持砼表面14d湿润,保持内外温差在25℃以内。
3.6施工缝的留设与处理
施工缝的位置应在混凝土浇筑前确定,并宜留置在结构受剪力较小且便于施工的部位。一般宜留置在基础顶、梁底。
在已硬化的砼表面上继续浇筑砼前,应清除垃圾、表面积水、松动砂石和软弱砼层,同时还应加以凿毛,用水冲洗干净,并充分湿润。在施工缝位置附近回弯钢筋,要做到钢筋周围的砼不受松动和损坏。钢筋上的油污、水泥砂浆及浮锈等杂物应清除。
浇筑前水平施工缝上应先铺50~100mm厚与砼内砂浆成分相同的水泥砂浆。
从施工缝处开始继续浇筑砼时,要注意避免直接靠近缝边下料。机械振捣时,宜向接缝处逐渐推进,并距80~100mm处停止振捣,但应加强对接缝的捣实工作,使其紧密结合。
3.7混凝土的养护制度
混凝土养护的目的是为了使混凝土有适宜的硬化条件,保证混凝土在规定龄期内达到设计要求的强度,并防止混凝土产生收缩裂缝。
混凝土的养护方法,主要采用覆盖与浇水养护,蓄水养护。
1)覆盖与浇水养护
开始养护的时间为在自然气温条件于(大于5℃),对于一般塑性混凝土,应在混凝土浇灌12h(炎夏可缩短至2~3h)内开始养护。浇水养护的次数以能保持混凝土有足能的湿润状态为度。混凝土养护的日期为:对硅酸盐水泥、普通硅酸盐水泥和矿渣硅酸盐水泥拌制的混凝土,一般不少于7昼夜;对掺用缓凝型外加剂或有抗渗性要求的混凝土, 一般不少于14昼夜。
2)蓄水养护
有些坡度较小的面板结构(如楼地面、屋面等)可采用蓄水养护。对坡度较大的折板底缝混凝土养护,则可采用分阶蓄水养护。
3.8 质量保证措施
1)各类材料使用名牌厂商产品,并有符合要求的质保单及试验单或公司试验室出具的复验合格证明文件。
2) 搅拌机旁显著位置挂施工配合比牌,砂、石采用磅称计量,车车过磅。
3)做好隐、予检记录,质检员做好复检,并请甲方、监理公司及质检站代表终检,内业资料必须与施工部位同步形成。检查支模板情况,模板内清理用水冲净,支模系统必须有足够的强度、刚度及稳定性,模板的轴线尺寸、断面尺寸、标高必须满足设计及规范要求,模板堵洞堵缝,扫除积水。钢筋安装质量、规格、数量必须满足设计及规范要求,修理钢筋垫块。
4)严格按现行规范和市建委有关规定送检试块和试件,保证试块和试件的代表性、真实性。混凝土、砂浆、防水材料应按试验室试配合格出示的级配通知单拌制。混凝土试块按要求标准养护,试块的组数是每一工作班不少于一组,每拌制60M3同配比混凝土不少于一组,且试块必须在浇筑地点随机取样制作,并正确划分验收批。
5)混凝土表面平整、无蜂窝麻面、无孔洞、无露筋。
4.砌体工程
4.1基本规定
砌筑前应根据工程施工图的具体情况,结合砌块的具体规格尺寸绘制排列图,按图施工。
砖的品种、标号必须符合设计要求,并应规格一致。
砖墙砌筑等该层混凝土模板拆除后即可进行,在砖墙砌筑前,要先清理基层,浇水湿润,砖块在砌筑前一天,也要用水湿润,含水率宜为10~15%。
4.2砌筑要点
4.2.1施工准备
砖的强度等级必须符合设计要求,并应按《承重粘土空心砖》JC196-75进行检验和验收。拌制砂浆的水应符合《混凝土拌合用水》JGJ63-89的要求。
砖在运输装卸过程中,严禁倾倒和抛掷。经验收的砖,应按强度等级堆放整齐,堆置高度不宜超过2m。
常温条件下,砖应提前1~2d浇水湿润。砌筑时砖的含水率宜控制在10%~15%(含水率以水重占干砖重的百分数计)。
控制砂浆及混凝土的水泥,如标号不明或出厂期超过3个月,应经试验鉴定后方可使用。
砂浆用砂宜采用中砂,并应过筛,不得含有草根等杂物。砂中含泥量,对于水泥砂浆和强度等级不小于M5的水泥混合砂浆,不应超过5%;对于强度等级小于M5的水泥混合砂浆,不应超过10%。
拌制砂浆应采用石灰膏、粘土膏、电石膏、粉煤灰和磨细生石灰粉等无机掺合料,严禁使用干石灰或干粘土。
砂浆的配合比应采用重量比。配合比应事先经试验确定。如砂浆的组成材料有变更,其配合比应重新确定。试配砂浆,应按设计强度等级提高15%。砂浆稠度宜控制在70~90mm。
4.2.2施工要求
砌体应上下错缝、内外搭砌,采用一顺一丁的砌筑形式。砖柱不得采用包心砌法。
砌体灰缝应横平竖直,砂浆饱满。水平灰缝和竖向灰缝宽度可为10mm,但不应小于8mm,也不应大于12mm。竖向灰缝宜用内外临时夹板夹住后灌缝,使其砂浆饱满,其饱满度不应低于80%,严禁用水冲浆灌缝,不得出现瞎缝、透明缝,填充墙纵横交接处及转角处均应错缝搭砌。无构造柱处用钢筋拉结。
砌筑用砂浆应随拌随用。水泥砂浆和混合砂浆必须分别在拌后3h和4h内使用完毕;如施工期间最高气温超过30℃,必须分别在拌成后2h和3h内使用完毕。
砂浆拌合后和使用时,均应盛入贮灰器内。如砂浆出现泌水现象,应在砌筑前在贮灰器内再次拌合。
砌体宜采用“三一”砌砖法砌筑,即一铲灰、一块砖、一挤揉,并随手将挤出的砂浆刮去。操作时砖块要放平、跟线,并经常进行自检,如发现有偏差及时纠正,严禁事后撞砖修正。采用铺浆法砌筑时,铺浆长度不得超过500mm。
砌筑砌体时,多孔砖的孔洞应垂直于受压面,砌筑前应试摆。
临时间断处的高度差,不得超过一步脚手架的高度。
砌体接槎时,必须将接槎处的表面清理干净,浇水湿润,并应填实砂浆,保持灰缝平直。
砖墙的转角处和交接处应同时砌筑,对不能同时砌起而必须留槎时,应砌成斜槎,斜槎长度不应小于高度的2/3。
如留置斜槎有困难时,除转角处外,可留直搓,但直搓必须做成凸槎。留直槎处应加设拉结筋,拉结筋的数量为每120mm墙厚放置1Ф6拉结筋;间距沿墙高不应超过500mm;埋入长度从留槎处算起每边均不应小于500mm;对抗震设防烈度6度、7度的地区,不应小于1000mm;末端应有90度弯钩。
砌筑时应注意及时预埋木砖。木砖应经防腐处理,预埋时小头在外,大头在内,数量按洞口高度确定。洞口高度在1.2m以内时,每边放2块;高度2~3m时每边放4块。预埋木砖部位一般在洞口上下四皮砖处开始,中间均匀分布。
雨天施工时,砂浆的稠度应适当减小,每日砌筑高度不宜超过1.2m。收工时,砌体顶面应予覆盖。
冬期施工时,尚应符合现行规范冬期施工的有关规定。
墙砌体要当天砌筑,当天检查验收。砌筑时还要与水电、消防、暖通密切配合,接口处理正确。
加气混凝土砌块施工应严格按照相关的施工技术规范。
五、外架及支模承重架工程
1.外架子脚手架工程
根据本工程的实际情况,拟建建筑总高度39.60米,外墙架采用双立杆脚手架;支模承重架采用碗扣式支模承重脚手架。具体按照外架子脚手架专项施工方案实施。
2.支模承重脚手架工程
支模承重架采用扣件式钢管脚手架,。
承重架采用φ48×3.5钢管。承重架的搭设与钢筋工程同时展开。考虑到层高、板厚等因素,立杆间距取1m,下设扫地杆,水平方向牵杆步距不大于1.5m,同时在两个方向设足够斜撑,以防承重架失稳变形。
施工前将严格进行设计计算,过程中严格按设计方案要求搭设,保证模板架体的整体稳定性。
六、屋面防水工程
1.概述
本工程屋面防水等级为Ⅱ级,防水层耐用年限为10年。
做法为:保护层:40厚C20细石砼(配Ф4@200双向)随捣随抹,并设分格缝20mm(分格面积不大于36平方米),用油膏嵌填。
保温层:55厚挤塑板。
防水层:三元乙丙防水卷材两皮。
找平层:20厚1:3水泥砂浆。
结构层:钢筋混凝土现浇板。
2.施工准备
屋面施工前,施工单位应通过图纸会审,掌握施工图中的细部构造及有关技术要求。技术交底应落实到人。
按设计要求备齐材料,经设计审核后,统计所需材料规格、数量。使用材料应从评审合格的分承包方处进货,应具备质保书、检测报告,进场材料应按规定取样复试,确保其质量符合技术要求。严禁在工程中使用不合格产品。合格的材料按规定专人看管,现场材料应堆放在对施工无影响、便于使用,又不妨碍成品保护的位置。
3.施工工艺
3.1施工顺序
现浇钢筋砼结构屋面板→水泥砂浆找平→三元乙丙防水卷材两皮→55厚挤塑板保温层→40厚C20细石混凝土保护层
3.2钢筋砼屋面板
混凝土结构自防水是以结构本身的密实性和抗裂性实现防水功能的一种防水做法,使结构承重和防水合为一体。它具有材料来源丰富、工序简单、施工方便等特点,只要严格按照标准规范和设计要求精心施工,就能对屋面的防水起到重要作用。
混凝土施工时要做到不留施工缝,一次连续浇筑完成。混凝土必须特别注意加强早期潮湿养护。
模板采用大块九夹板,接缝用胶带粘贴,避免漏浆对混凝土质量的影响。
钢筋绑扎时注意设置好保护层垫块,施工时避免将钢筋踩弯,以控制好钢筋的保护层厚度。
混凝土浇筑注意振捣密实。浇筑后覆盖塑料薄膜、草袋,派专人浇水看护。
施工中尽理避开雨天,否则必须采取相应的技术措施,适当调整砼水灰比并覆盖保护棚,等砂浆稍收水后进行二次压光,表面应平整。在屋面施工期间只要保证屋面干燥,可采用非排气屋面做法,如遇工期紧等因素屋面难以保证干燥,应采用排气屋面做法。
3.3 1:3水泥砂浆找平层(20厚)
水泥砂浆找平层施工前,应先清扫干净基层表面,施工中尽理避开雨天,否则必须采取相应的技术措施,适当调整砂浆水灰比并覆盖保护棚,等砂浆稍收水后进行二次压光,表面应平整。沟边、女儿墙脚、翻梁转角、柱脚等位置做成半径50mm圆弧。伸出层面的管道周围找平层应做成圆锥台,排气道与找平层间留槽,并嵌填密封材料。
3.4 三元乙丙防水卷材两皮
3.4.1 施工准备
防水材料配套进场、按有关规定详细核对品种、规格、质量、数量及有关的出厂合格证明资料,材料进场抽样指标应符合标准要求。
主要机具:粉线绳、平铲、滚刷、剪刀、钢卷尺、皮尺、橡胶锤。
3.4.2 基层要求
基层表面处理根据国家屋面工程技术规范要求:找平层应平整、无空鼓、无起砂、无裂缝、无松动掉灰。基层必须干燥(含水率<8%。(干燥程度的简易检验方法,是将1m2卷材平坦地干铺在找平层上,静置3~4h后掀开检查,找平层覆盖部位与卷材上未见水印,即可铺设防水层。
据规范要求:阴阳角须加粉R=50小圆角,施工时,阴阳角须加设附加层,宽度视阴阳角情况另定,但不小于300mm。
3.4.3 操作工艺
(1)施工程序
基层检查→修理→清扫→涂刷基层处理剂→特殊部位附加增强处理→涂刷粘结剂→铺贴卷材→卷材接头的粘贴→卷材收头处理→检查、整修。
(2)基层处理
施工前将验收合格的基层彻底清理干净,棱角处尘土、浮砂清扫干净。
基层清理干净后,涂刷一遍处理剂,要求厚薄均匀,不允许露底见白,喷刷后干燥4~12小时(视温度、湿度而定)。
(3)特殊部位附加增强处理
基层处理剂干燥后,对阴阳角、排水口、管子根部等形状复杂的局部,预先进行增强处理。
对天沟转角、排气孔、分格缝等部位设置附加层。
(4)涂刷粘结剂
先在基层上弹线,排出铺贴顺序,然后在基层面上及卷材的一面涂布粘结剂,要求厚薄均匀,不允许有露底和凝胶现象,但卷材接头部位100MM不能涂布粘结剂。
(5)铺贴卷材
同一屋面上先铺设阴阳角和排水较集中的水落口、天沟、檐口等节点部位,再进行大面积铺设。
待粘结剂胶膜手感基本干燥即可铺贴卷材。为减少阴阳角和大面积接头,卷材应顺长方向配置,转角处尽量减少接缝。铺贴从流水坡度的下坡开始,从两边檐口向屋脊按弱出的标准线铺贴,顺流水接茬,最后用一条卷材封脊。
铺时用厚纸筒重新卷材,中心插一根φ30MM,长1.5M铁管,两人分别执铁管两端,将卷材一端固定在起始部位,然后按弹线铺展卷材,每隔1M对准线粘贴一下,用滚刷用力滚压一遍以排出空气,最后再用压棍(大铁棍外包橡胶)滚压。
卷材严禁在雨雪天施工,五级风以上时不得施工,气温低于5℃不宜施工。施工遇雨、雪、大风等天气应停止施工,并做好已铺卷材的保护工作。
(6)卷材接头的粘贴
用卷材接缝粘结剂涂刷,并从一端开始,用手一边压合一边驱除空气,最后再用手持铁滚顺序滚压一遍。
(7)收头处理
卷末端收头处或重叠三层处,须用氯磺化聚乙烯等嵌缝膏密封,在密封膏尚未固化时,再用107胶水泥砂浆压缝封闭。
3.5保温层施工
防水层经验收合格后方可施工保温层。
3.6 40厚C20细石混凝土
混凝土应设置分格缝,每仓以20~30M2为宜,不能超过36 M2。缝内嵌橡胶沥青油膏、塑料油膏等密封材料。
混凝土应分仓浇灌,浇前先刷水泥浆一遍,随将混凝土倒在板面上铺平,使其厚度一致,用平板震动器振实后,用铁滚筒十字交叉地往复滚压5~6遍至密实,表面泛浆,用木抹子压实。待混凝土初凝前再进行二遍压浆抹光,最后一遍待水泥收干时进行。混凝土在一个分格缝内必须一次浇捣完成,不留施工缝。
分格缝木条伤脑筋成上口宽20~25MM,下口宽15~20MM,高度等于混凝土厚度。在铺设混凝土前嵌好,在混凝土抹压最后一遍时取出,所留凹槽用1:2.5~3水泥砂浆填灌,缝口留15~20MM深。
铺混凝土应严格控制钢筋网位置,将钢筋网提至上半部,使钢筋网与基层的距离约为混凝土层厚的2/3。
混凝土终凝后,及时用草袋覆盖浇水养护不少于14天,然后待干燥(含水率<6%),清除缝口杂质污垢,进行胶泥嵌缝。
4.质量保证措施
严把材料关,所有材料进场必须资料齐全,指标合格,并进行复检。
严格按照GB50207-94标准施工,施工前对全体人员进行技术交底,精心进行施工作业。
基层满足防水工程施工要求,方可进行施工。
每做完一处防水层自检合格后,及时请总包、监理进行检查验收,并办好隐检及质量验评手续,方可进入下道工序施工。
5.注意事项和成品保护
已铺设好的防水卷材屋面应及时采取防护措施,不得随便堆放杂物,以免造成损坏,影响质量。防水工程验收合格后,其他单位需在上作业时要有保护措施,切实保护防水层,不得损伤。现场施工人员配穿软底胶鞋,防止损伤防水层。
七、装饰工程施工方案
1.概要
装饰工程是创优的关键分部,必须充分重视,认真对待,真正做到精心施工,确保总体工程的质量水平。
装饰工程应严格按图施工,严禁随意更改设计,各分项施工前应先做样板,经建设、设计、监理三方认可才能大面积施工。
施工时分区、块、室内室外穿插施工。室内施工先墙面后地坪。室外装饰从上向下进行。
各道工序开始前,应认真熟悉图纸做好妥善计划和合理的劳力安排,做到心中有底。在施工下道工序前,必须对上道工序进行验收,确认无误并符合验评标准后,方可进行下道工序施工。
用于装修工程的材料必须进行检验,不符合设计要求的材料不得进入现场。进场材料应分类堆放,妥善保管,做出标识,严禁雨淋践踏,使用前班组要进行复核、挑选,品种、规格、图案、颜色等均要一致,符合标准。
2.墙面装饰
2.1内墙粉刷
内墙均为12厚1:1:6混合砂浆分层赶平,6厚混合砂浆光面,楼梯间内墙面做白色内墙乳胶漆。厨房及厕所内墙做12厚1:3水砂分层赶平,6厚1:2水砂面层,厕所地面四周均做150高素砼翻边,翻边厚度同该墙体厚度。天棚做法为6厚1:1:4混合砂浆底,7厚1:2:9混合砂浆中层,2厚细纸巾灰光面,楼梯间天棚面做白色内墙乳胶漆。楼梯间踢脚板高120,材质同楼梯间地面,其余踢脚板120高嵌10厚塑料条。
以下主要说明混合砂浆内墙面的施工工艺。
2.1.1 工艺流程
基层清理→浇水湿润→吊垂直、套方、找规矩、抹灰饼→抹水泥踢脚→做护角水泥窗台→墙面充筋→12厚1:1:6防水砂浆分层抹平(修补预留孔洞、电箱槽、盒等)→6厚混合砂浆光面
2.1.2 操作工艺
室内普通粉刷在本工程中,应按高级粉刷要求指导施工。
抹灰前的基层处理是确保抹灰质量的关键之一。混凝土、砖基层表面凹凸不平处应事先剔平或用1:3水泥砂浆补平。基层表面砂浆残渣污垢、隔离剂、油漆等,均应事先清除干净。墙面脚手孔洞应堵塞严密。水暖、通风管道通过的墙洞和剔墙管槽,必须用1:3水泥砂浆堵严抹平。不同基层材料如砖墙与混凝土柱基层相接处,应铺钉金属网,搭接宽度应从相接处起,两边不小于10mm。混凝土基层表面应凿毛或涂刷界面剂进行处理。
抹灰前墙面应浇水。砖墙基层一般浇水二遍,砖面渗水深度约8~10mm。混凝土墙面吸水率低,抹灰前浇水可以少一些。如果各层抹灰相隔时间较长,或抹上的砂浆已干,则抹上一层砂浆的应将底层浇水润湿,避免刚抹的砂浆中的水分被底层吸走,产生空鼓。此外,基层墙面浇水程度,还与施工季节、气候和室内外环境有关,应根据实际情况酌情掌握。
按规矩将房间找方,挂线找垂直和贴灰饼(灰饼距离1.5~2m一个)。冲筋宽度为10cm左右,其厚度应与灰饼相平。为了便于作角和保证阴阳角垂直方正,必须在阴阳角两边都冲灰筋一道。抹出的灰筋应用长木杠依照灰饼标志上下刮平。木杠受潮变形后要即使修正。抹灰时如果冲筋较软,容易碰坏灰筋,抹灰后墙面凹凸不平。但也不宜在灰筋过干时抹灰,以免出现灰筋高出抹灰表面。抹阴阳角时,应随时用方尺检查角的方正,不方正时应及时修正。抹阴阳角砂浆稠度稍小,要用阴角抹子上下窜平窜直,尽量多压几遍,避免裂缝和不垂直方正。
内墙所有门窗樘大头角部位有阳角处做暗护角线,护角线必须挂直,大头角必须兜方,护角线做成灯草圆粗细一层护角线全部完成后,达到一定强度后,方可进行砂浆刮平工作,刮平厚度一般控制在10—15mm,若厚度过厚时,应分皮找平后,再进行大面积刮糙,刮糙时应按塌饼厚度出竖头,按照竖头硬刮板,刮糙表面平整必须一致,无凹塘、无开裂。墙面刮糙在表面刮平的同时,对阴阳角、平顶与墙面夹角处应整理齐直,不留腻灰,操作时应用阴角器加以通直。
墙面刮糙完成后,对踢脚线、台度应粉水泥砂浆的位置上,所留砂浆加以清理出清。粉好后在地坪上所留的砂浆应随时清除铲清,并用水冲洗。
2.2外墙面
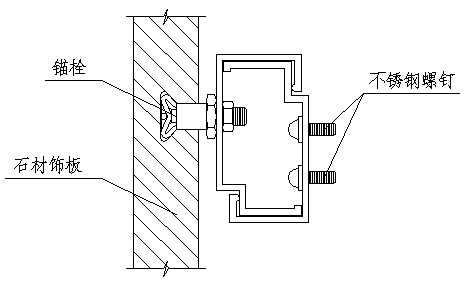
2.2.1花岗岩干挂施工
注:由于干挂根据设计不同有着不同的结构型式,如后切式、钢销式等。后切式干挂施工方法为目前较为先进的,其施工工艺可参考企业工法,实际施工时由业主、设计明确后再根据出详细方案,以下施工方法叙述仅供参考。
施工准备
(1)材料设备
石材幕墙使用的材料应符合国家现行产品标准的规定,同时应具有耐候和耐火性能。
石材选用不具放射性的火成岩(花岗岩),并应根据层理选材。
耐火、吸水、强度等性能均应符合国家现行标准的规定。
严禁用溶剂型的化学清洁剂清洗石材,应采用机械研磨或高压水冲洗表面,也可用水和刷子清理。
使用的型材应符合国家《铝合金建筑型材》(GB/T5237)中高精级和《铝及铝合金阳极氧化膜的总规范》(GB8013)中AA15级的规定。
局部使用的耐候密封胶必须不含硅油,以防对石材造成污染。使用的橡胶条应有保证年限及组分化验单。石材与龙骨采用专门的齐平式或间距式锚栓连接。螺栓型式见下图。

幕墙龙骨采用合金铝,必须符合GB5237-93中的高精级,且做好接地、防雷措施。
制作设备采用从国外引进的SBN500锚栓安装机及大批量用钻机等。同时,针对国内的工程实际,我公司在进口加工设备的基础上做了改进。将原设备2孔同时加工改为4孔同时加工,并且采用流水作业线,不仅可以加快制作速度,还可以提高产品质量。
(2)外架要求
一般土建外架离墙距离为20cm,无法满足龙骨安装的需要。施工前外架搭设距墙310~350mm。架体立杆横距1m,步高1.8m。架体连墙尽可能多利用窗洞口,少用埋件固定。脚手架必须搭设稳固,脚手片数量充足。挂板时拆除外架使用吊篮。
(3)基层处理
工程主体结顶后进入外立面装修阶段前,应按后切式石材幕墙的设计和安装要求,增设构造措施,并对外墙面进行清理。安装尺寸与结构钢筋矛盾时,要报请业主、设计、监理确定处理方案。墙面有凹凸不平的,需要进行剔凿修整,以免影响龙骨的固定。墙面上外露的钢筋头,要全部、彻底地割除,然后在表面涂刷防锈漆。剔凿范围和深度,按复测标出的范围进行,不得遗漏、减量,更不能损害结构强度、影响受力体系的安全度和耐久性。外墙面上遗留的孔洞,按照有关技术规范要求及时修补。
构件板材加工
(1)锚栓安装
在加工厂内按设计要求在石材饰板上标出锚栓位置,先按石材实际厚度垂直钻孔达到指定的深度,锚栓的锚固深度随材质差别而异,从陶瓷中的最小7mm到天然石材中约21mm。然后控制钻头沿一定的路径做底部拓孔,后吹净粉屑,把锚栓和套管放入孔中,将套管推到固定环中,强行进入底部拓孔中,和材料形成凸形结合,从而完成无应力的锚固。全部加工制作由电脑控制,能确保加工的质量和装配后外墙面的平整度。
(2)构件加工
幕墙结构构件截料前应进行校直调整。横梁允许偏差为±0.5mm,立柱允许偏差为±1.0mm,端头斜度允许偏差为—15’。截料端头不得因加工而变形,毛刺不应大于0.2mm。孔位的允许偏差为±0.5mm,孔距的允许偏差为±0.5mm,累计偏差不得大于±1.0mm。
(3)石材加工
石材应结合其组合形式,并应确定工程中使用的基本形式后进行加工。
板材间缝隙挡雨是一个需要解决的问题。本工程拟采用用下图b所示构造,既保持石材内外等压,又可防止雨水溅入。较好地解决了挡雨的问题。

安装施工
(1)龙骨安装
主体结构完工后,对结构进行测量,得出实际尺寸,对土建结构偏差进行控制、分配、消化。必要时调整制作尺寸,同时将幕墙与预埋件的连接件制成多种长度,以便于根据杆件与预埋件的不同间隔宽度选用,避免垫塞带来的不利影响。
龙骨与主体结构连接的预埋件,应在土建施工时按设计要求埋设。埋件应牢固,位置准确,标高偏差不应大于10mm,位置偏差不应大于20mm,严格按设计要求进行复查。埋件钢板须经镀锌处理,以防锈蚀。龙骨型号由设计计算确定,应选用表面质量较好、材质优良的材料。如果主体结构施工时未及预埋,应用对销螺栓或胀锚固定。
将立挺(竖直方向龙骨)通过连接件与主体预埋件连接,进行调整和固定。按饰板规格和设计布置,在立挺上弹出水平线并打孔,用不锈钢圆机螺钉固定横梁。将横梁两端的连接件及垫片安装在立挺的预定位置。并应安装牢固,接缝严密。同一层的横梁安装应由下而上进行。当安装完一层高度时,应进行检查、调整、固定,使其符合质量要求。
焊接操作按有关施工技术规范执行。所有搭接全部满焊。龙骨固定焊接后,清除所有焊药及焊碴等杂物,在焊接部位补刷四遍防锈漆。
(2)饰板安装
墙面和柱面干挂石材,应先找平,分块弹线,并按弹线尺寸及花纹图案预拼和编号。固定石材的挂件应与锚固件龙骨连接牢固。
把在工厂内已安装锚栓的饰板按设计图挂在横梁上。为保证饰板的平整及板缝的均匀,在饰板的固定构件上用调节螺钉微调。调节好后,用固定销钉把饰板锁定。如下图:

女儿墙顶、窗洞、门洞、墙角等特殊装饰部位的墙面应根据设计要求制作非标准尺寸的饰板,然后挂板。
挂板一般由主要的表面(或主要观赏点)开始,由下而上或由上而下依次按一个方向顺序安装,尽量避免交叉作业。尽量减少偏差,并严格注意块料材质、色泽的一致性。
板面安装完毕隐检合格后对竖缝打胶,板面应清洗干净。
质量要求
饰板不得有缺边掉角和裂缝及严重划伤。颜色、质地均匀一致,无大块色斑、特殊纹理和明显色差等现象。规格、位置排列必须准确无误,固定准确。
龙骨型号、安装位置必须准确无误,焊缝长度符合要求,焊接牢固。
由于板材为工厂化制作,电脑控制,可达到较高的精度。
本工程施工允许偏差参照JGJ—2001《金属与石材幕墙工程技术规范》。
3.楼地面装饰
3.1楼地面类型及做法
楼面做法为:20厚1:2水砂抹面。
3.2水泥砂浆楼面
根据住宅的二次装修性质,住宅的楼地面常规为水砂地面。水砂地面的质量将直接影响住户对工程的评价,因此水砂地面不得有起砂、起皮、起壳,外角45°裂缝,倒泛水等现象,因此在施工中严禁不同品种,不同标号的水泥混用,砂采用中粗砂,含泥量不应大于3%,施工前基层必须清理干净湿润。砂浆严格按配合比执行,地面水砂分两次压光。外角45°裂缝应在结构施工中采取必要的措施解决。
施工工艺为:
施工顺序一般先墙面后地面,最后踢脚线,从房间里边往外刮到门口,低于门框上锯口线水平15—18mm。
铺抹时先均匀扫水泥浆(水灰比0.4—0.5)一遍,随扫随铺砂浆,用木杠刮平,木抹搓擦压实。
稍干,用铁抹压光,三遍成活,头遍提浆拉平,将终凝时第二次压平,开始终凝时进行第三遍压光,将辣椒纹用力压平、压实。
楼地面水泥一律使用32.5级普硅水泥。使用前必须先进行化学试验,合格后方准使用。并严格控制配合比。
4.门窗工程
4.1金属门窗
(1)防腐蚀处理
门窗框四周侧面防腐处理如设计有要求时,按设计要求执行。如设计无专门要求时,在门窗框四周侧面涂刷防腐沥青漆。
连接铁件、固定件等安装用金属零件,除不锈钢件,均应进行防腐蚀处理。
(2)就位和临时固定
根据门窗安装位置墨线,将金属门窗装入洞口就位,将木楔塞入门窗框与四周墙体间的安装缝隙,调整好门窗的水平、垂直、对角线长度等位置及形状偏差符合检评标准,用木楔或其它器具临时固定。
(3)门窗框与墙体的边接固定
连接铁件与预埋件焊接固定:适用于钢筋混凝土和砖墙结构。
连接铁件用紧固件固定有射钉、特种钢钉(水泥钉)、金属膨胀锚螺栓、塑料膨胀锚螺栓。不论取哪种方法固定,铁脚至窗角的距离≤180mm,铁脚间距应按设计要求或间距应不大于600mm。如有条件时,铁脚方向内外设置。
(4)门窗框与墙体安装缝隙的密封
门窗安装固定后,应先进行隐蔽工程验收,检查合格后再进行门窗框与墙体安装缝隙的密封处理。
门窗框与墙体安装缝隙的处理,如设计有规定时,按设计规定执行。如设计末规定填缝材料时,应填塞水泥砂浆,如室外侧留密封槽口填嵌防水密封胶。
(5)安装五金配件齐全,并保证其使用灵活。
(6)安装门窗扇及门窗玻璃
门窗扇及门窗玻璃的安装应在洞口墙体表面装饰工程完工后进行。
平开门窗一般在框与扇构架组装上墙,安装固定好之后安装玻璃,先调整好框与扇的缝隙,再将玻璃入扇调整,最后镶嵌密封条和填嵌密封胶。
推拉门窗一般在门窗框安装固定好之后,将配好玻璃的门扇整体安装,即将玻璃入扇镶装密封完毕,再入框安装,调整好框与扇的缝隙。
(7)产品保护
金属门窗运输时应妥善捆扎,樘与樘之间用非金属软质材料隔离开,吊运时选择牢靠平稳的着力点, 防止门窗相互磨损,挤压扭曲变形,损坏附件。
金属门窗进入施工现场后应在室内竖直排放,产品不能接触地面,底部用枕木垫平高于地面100mm以上。严禁与酸、碱性材料一起存放,室内应清洁、干燥、通风。
门窗装入洞口就位临时固定后,应检查四周边框和中间框架是否用规定的保护胶纸和塑料膜封贴包扎好,再进行门窗框与墙体安装缝隙的填嵌密封和洞口墙体表面装饰等施工,以及防止水泥浆、灰水、喷涂材料等污损塑料门窗表面。在室内外湿作业末完成前,不得破坏门窗表面保护材料。
进行焊接作业时,应采取措施,防止电焊火花损坏周围的塑料门窗型材、玻璃等材料。
禁止人员踩踏门窗,不得在门窗框架上放脚手架、悬挂重物,经常出入的门洞口应及时用木板将门窗保护好,严禁擦碰门窗产品,防止门窗变形损坏。
金属门窗清洁时,保护胶纸要妥善剥离,注意不得划伤、刮花塑料表面氧化膜。
(8)产品验收
建筑外墙金属门窗必须由有资质的生产厂家生产制作,并经质检部门对抗风压,空气渗透性能和雨水渗透性能检测合格后方可使用。建筑物的外窗及阳台门的气密性等级不应低于现行国家标准《建筑外窗气密性能分级及检测方法》(GB/T7107-2002)规定的3级,水密性等级不应低于现行国家标准《建筑外窗水密性能分级及检测方法》(GB/7108-2002)规定的3级,其余指标参见国家有关标准。
八、海岛地域施工专项措施
8.1 混凝土抗腐蚀措施
(1)混凝土搅拌过程中严禁掺用含氯盐的外加剂,如CaC12等。
(2)主体阶段的水泥优先选用有抗腐蚀作用的矿渣硅酸盐水泥或普通水泥。
(3)尽可能使用大陆淡砂,若使用淡化海砂必须注意:对使用的海砂送当地试验室检测,做到洚砂中氯盐含量不应大于0.1%。具体方法:先用网筛筛去较大颗粒的贝壳,然后用净水冲洗,务必使氯盐指标达到要求。同时,若海砂的细度模数为1.5~0.7则采用特细混凝土配置及应用规程(BJG-65)的要求配置及搅拌砼。以试验定级配试块为准。鉴于舟山地区的海砂中尚混有数量较多的各种粒径、形状扁平的贝壳,使混凝土和砂浆的和易性变差,为此还必须鉴定海砂中的贝壳含量,其必须符合下表的要求:
| 砼强度等级 | 小于C20 | 大于等于C20 |
| 砂浆强度等级 | 小于M10 | 大于等于M10 |
| 贝壳含量(按重量计不大于%) | 16 | 14 |
8.2外脚手架抗腐蚀、抗台风措施
(1)抗腐蚀措施
搭设外架方案计算过程中,采用舟山地区设计基本风压为准,进行外架验算,并且适当加大安全系数。
用于外架搭设的俣件、钢管均涂刷红丹防锈漆底,面漆调合漆,以增加其抗腐蚀程度。
定人定期对外架进行锈蚀检查,发现有锈蚀的扣件及钢管及绑扎脚手片的铁丝,立即予以调换。
机械设备的定期检查中,增加检查机械设备腐蚀程度的项目,以保证机械设备的良好运行状态。
(2)抗台措施
加密与主体结构的拉接点,水平方向每隔一步,垂直方向每隔一步设置φ10钢筋与主体的梁或柱刚性拉接。
对脚手片采用四股16#铅丝进行四点绑扎。
外挂安全网使用大孔安全网。
当地气象部门发布台风警报时,立即对整个外架进行检查,清理杂物,并对外架临时用钢管扣件增设拉墙杆。
第五章 施工总平面图
本工程场地的平面布置须经业主认可,统一协调安排。场地布置详见所附总平图。
一、总平面布置原则
1.根据现场地形实际情况,场地布置在桩基施工阶段、地下室结构施工阶段、上部结构施工阶段有所不同,具体见施工总平面布置图。为达到标化的要求分设施工作业区、生产办公区。施工现场不设生活区,职工生活用房另行租用附近民房解决。
2.根据项目场地实际情况及总体布局,本工程南面作为标化、宣传区域,体现企业的施工形象;场地的东部设置项目部办公室及业主及监理办公室;施工区内分别独立设置现场办公室、生产加工车间、材料仓库、砂石堆场等。
3.在便利的进口位置砌筑大门,在大门口醒目位置设置现场导引图,包括安全通道、主要通道、“四口”临边位置、危险处、消防设施放置处、安全标识张挂处等。大门进出处设冲洗站,净车出场。
4.沿建筑物周边设置环行道路及排水沟,便于车辆通行与场地排水。
5.材料堆场尽可能布置在塔吊的作用半径内,砂、石、砖堆在指定的堆放场且用砖砌隔开。
6.现场设QTZ60型塔吊一台,施工井字架一台,搅拌机及砂浆机等主要施工机械若干,并划出砼、砂浆的作业区。结合本工程建筑物形状大小、场地状况及塔吊安拆、进出场便利等因素,进行塔吊安装。
二、场地排水和施工道路
1.在施工现场沿道路边设置排水明沟网,排水沟坡度为0.2%,够底和侧壁用水泥砂浆粉平,盖板采用直径25的钢筋用电焊焊接制成,排水沟穿过施工道路时在路下埋设Ф300瓦筒。在场地角部设置砖砌集水井,内外用水泥砂浆粉光,井底标高根据实际情况确定。
在砼搅拌机和砂浆机附近设置沉淀池,施工污水集中进入现场南面沉淀池后排放。保持排水畅通,做到场内无积水。在主体结构施工中,在不同方位安装几根竖直污水排水管。楼层施工及调试设备产生的施工废水都通过该污水管直接引入污水池中。
2.沿场地周边设置施工道路与原有道路连通,道路路基铺设300㎜厚道渣,面层浇捣150㎜厚C20道路稳定层混凝土,场内成品、半成品、砂、石堆场采用硬地坪,既利于场地的文明、整洁,又可以减少施工材料损耗。
三、施工用水方案
根据本工程的施工总平面布置原则及场地特点,施工用水平面与立面分开布设,平面上生产区用水还要分开另行布设。
供水方式由业主提供水源,根据实际情况满足施工需求,必要时增设蓄水池。
生产区用水独立布设,搅拌机机械旁设置蓄水池,办公区水管可采用小管径供水,楼顶设置简易水箱。
为了考虑以后施工室外工程,水电布设线路施工时沿围墙布设。
再根据不同阶段的施工要求,敷设施工临时用水管路,管路布置详见施工场布图,水管穿越道路时,应有一定的埋置深度,并穿套管保护,冬季施工外露水管应做好管道保温工作。
本施工用水量计算以结构施工高峰期间为最大控制,其主要用水项目如下:
(1)现场施工用水q1:以高峰期间连续施工砼、搅拌砂浆及砌筑时的用量为最大。
q1=k1*Σ(Q1*N1* k2)/(8×3600)
q1:现场施工用水量(L/s)
k1:未预计的施工用水系数为1.15
k2:用水不均衡系数,取1.5
Q1:砌筑日工程量,砌筑100m3/天;养护砼200 m3/天。
N1:搅拌1m3砂浆及砌体时的耗水量:100L/m3;养护砼的耗水量:250L/m3,现场可再设置蓄水池以备用。
q1=1.15×[(100×100+250×200)×1.5]/(8×3600)=3.58L/s
(2)施工现场生活用水:以现场施工高峰人数时用量为最大。
q2=(P1*N2*k3)/(T*8×3600)
q2:施工现场生活用水量(L/s)
P1:现场施工高峰人数(660人)
N2:施工现场生活用水定额(30L/人·班)
K3:用水不均衡系数,取1.4
T: 每天工作班数(班)
q2=660×30×2×1.4/(2×8×3600)=0.96L/s
(3)生活区生活用水:
现场不设生活区,生活区用水量为零。
q3=0.00L/s
(4)施工机械用水:考虑对焊机的耗用水量
q4=k1*Σ(Q2*N4*k5)/(8×3600)
q3:机械用水量(L/s)
k1:未预计的施工用水系数为1.1
Q2:同一种机械台数(台)
N4:施工机械台班用水定额(300台·h)
K5:用水不均衡系数,取2.0
q4=1.1×2×2400×2/(8×3600)=0.38L/s
(5)消防用水q5:
根据现场实际情况,消防用水确定为5L/S。
(6)现场施工用水总量:
q1+q2+q3+q4=3.58+0.88+0.38=4.92 L/S<q5=5 L/S(且现场占地面积小于5公顷)
取Q总= q5+(q1+q2+q3+q4)×0.5=7.82L/S
D=[4Q/(π*V*1000)]1/2=[4×7.82/(3.14×2.5×1000)]1/2
=0.063m
经以上计算, DN75管径的进水管基本能够满足施工要求。实际施工时现场还需设置蓄水池,以便应急之用。
供水线路详见施工场地平面布置图。主要施工要点如下:
①施工现场管网水平安装按实际需要,可遍布整个施工现场。主线路上每隔30m设三通龙头,以方便接水。建筑物高处水平供水采用水平管与橡皮管结合。
②根据施工要求派专人对用水线路做定期的检查和保养维修。
③生活用水与施工用水分设管道,所有管道铺设均由专业施工人员完成,并统一受现场管理人员调配。
四、施工用电方案
本工程用电分为桩基施工阶段、地下室结构施工阶段、主体结构施工阶段、装饰装修阶段这四个阶段。供电在主体结构施工阶段达到高峰,此用电方案以主体结构施工阶段用电量为计算依据。
根据本工程的施工总平面布置原则及场地特点,施工用电平面与立面分开布设,平面上生活区用电还要分开另行布设。考虑到室外工程的施工,用电线路沿施工围墙布设,避免室外工程施工时二次翻设,影响工期。
施工用电的总电源以达到施工用电的总容量需求,届时施工单位只需从业主提供的电源位置拉接就行。
生产区内供电线路又分为二路:一路连接大型施工机械专用电箱,另一路供应各楼层的施工照明用电。生活供电线路也分为二路:一路为施工现场生产办公室用电,另一路为项目其它用电。
为了方便夜间施工管理,在生产区域四周布置若干只照明灯。
楼梯内照明使用低压电源。
本工程以结构施工高峰阶段的用电量为控制,主要设备用电量如下表:
| 编号 | 名 称 型 号 | 规 格 | 台 数 |
| 1 | 塔吊QTZ60 | 45KW | 1 |
| 2 | 井字架 | 15KW | 1 |
| 3 | 砼搅拌机JZM350 | 5.5KW | 2 |
| 5 | 钢筋切断机GQ-40A | 3KW | 1 |
| 6 | 钢筋弯曲机GW-40A | 3KW | 1 |
| 7 | 钢筋机调直机GJ4/4 | 3KW | 1 |
| 8 | 木工平刨机MB503 | 4KW | 2 |
| 9 | 木工轧刨机MB104CD | 4KW | 2 |
| 10 | 木工圆盘锯MJ160 | 3KW | 2 |
| 11 | 插入振动器ZN70C | 1.5KW | 10 |
| 12 | 平板振动机ZW | 1.5KW | 4 |
| 13 | 高压水泵YZGC5*7 | 7.5 | 2 |
| 电动机总功率ΣP1: 138KW | |||
| 编号 | 名 称 型 号 | 规 格 | 台 数 |
| 1 | 钢筋对焊机UN1-100 | 100KW | 2 |
| 2 | 交流电焊机BX3-300-3 | 21KW | 2 |
| 3 | 电渣压力焊机EDH-36 | 23KW | 4 |
| 电焊机总容量ΣP2: 334KW | |||
(1)现场P总、P最大、P平均用电量计算
整个工程的供电设备总需用量P总
电动机总功率ΣP1=138(KW)
电焊机总容量ΣP2=334(KW)
本工程总动力用电容量为:
Pa=0.5×138/0.75+0.5×334=259(KW)
由于照明用电量所占的比重较动力用电量要少得多,一般为动力用电量的10%,所以取室内照明用电:Pb=259×10%=25.9(KW)
因此:整个工程的供电设备总需用量为:
P总= Pa+Pb=259+25.9=284.9(KW)
(2)变压器容量计算
P最大≈450kW,提供450kVA变压器足可满足施工需求。
(3)配电导线截面选择
①三相五线制低压线路I线=1000P/1.732×U线×cosθ=1000×0.6×200/1.732×380×0.75≈243A
选用100mm2铜芯橡皮线
②按导线允许电压降校核ε=∑P·L/C·S=200×300/77×240≈3.1%<7%,满足要求。
③按导线机械强度校核
根据现场使用情况,铜导线允许最小截面为6mm2<100mm2,满足要求。
综合上述计算,总线选用BХ型100mm2铜芯橡皮线。
a.现场用电由东面变配电间接入,可以满足施工需求。
b.土方、基础、主体、装饰工程阶段的施工用电线路沿围墙架设,具体详见施工场布图。
c.施工生产、生活用电分开。现场设生活用电、大型机具用电、楼层用电、加工车间用电、机动用电共五条线路,既能保证各种电气设备的用电容量,又可减少大型设备使用时对其他设备的影响。
d.生活用电能满足照明、空调、电脑等需求为标准,并确保进户前统一进行线路管理,采取有效的安全防护措施。楼层用电每隔层设一分配电箱。
e.施工用电采用三相五线制配线。用电主线路使用五芯电缆,入地敷设。现场设置安全总配电箱一只,按线路接出要求设置分配电箱。另备手提式安全配电箱50只。分配电箱、开关箱按三级配电两级保护的要求配置。进场后需编制专项用电方案,做好防护措施,确保用电安全可靠。
五、临时设施的布置
1.场地、道路
建筑物东面有较为宽敞的施工用地,拟在此设置项目部办公室及业主、监理办公室,进场后应以标化要求进行布置。场地的西面作为标化、宣传区域,体现企业的施工形象。施工使用场地内浇筑砼硬地坪,并设置排水沟、沉淀池,再将积水排入城市管道,确保整个施工期间场地不积水。
为便于施工场地内车辆通行,在建筑物的四周设置环行施工道路,场地内施工道路采用道路稳定层混凝土浇筑,开挖排水明沟,排水沟设钢筋盖板,排水沟通往沉淀池。
2.大门、围墙
根据场地情况,在东北侧开一扇大门,作为人员、材料、重车辆出入口。场地围墙采用砖砌,高2.2m,设顶灯、标语。大门口设置灯箱、五牌一图,标明工程概况、组织体系、安全措施等内容,以扩大工程影响,接受社会监督。
3.生产区
3.1材料仓库
为保证材料保存环境良好,材料仓库采用砖砌,以避免风、雨、雪对材料质量的影响。
3.2加工车间
为保证操作环境良好及实行环保施工,加工车间采用砖砌,以避免风、雨、雪对钢筋焊接质量等的影响。
3.3材料堆场
(1)临时堆场环绕建筑物四周。
(2)将土建、安装、装修堆场分开管理。
(3)材料堆放挂牌明示,必要时架空遮盖。
3.4其他
根据工程的施工规模,我公司还在施工现场设置工具间及砼标准养护室。
4.办公区
4.1办公室
项目部办公室统一安排在场地的东侧,内设施工各科室(项目经理部、经理室、项目主任工程师、施工、质量、安全、后勤、保卫等)及会议室、文印室、招待室等,安装及各专业的管理人员办公室也设在此。
现场办公室、会议室均采用轻钢结构,按标化要求搭建。
现场临设内建造男女厕所下设临时化粪池。厕所浴室内墙面贴白瓷砖,地面满铺地砖,并设专人打扫,定时喷洒空气清新剂,保持环境整洁。浴室靠门边设洗衣池。
总之,对临设工程按场布统一布置,做到安全、经济、合理、整齐划一。并在临设工程中考虑设置一定的绿化、茶水亭、书报亭、宣传栏、黑板报,美化环境,为员工提供文明整齐的工作和生活环境。
现场实行全封闭管理,设置材料、车辆及人员的主要进出口,保安人员24小时值班,现场安排巡视值班人员,对场容、场貌、场布进行严格管理。
5.临时设施计划表
本工程的临时设施布置计划详附表。
临设总体布置详见施工场地平面布置图。
六、现场施工形象总体设计
根据现场特点及与周边环境相协调,文明施工这一块特别注重场容场貌的布置。在施工中按照基础、结构、装饰等不同阶段进行场地统一布置管理和调整,在大门进口处设置工程概况牌、场布图及各种各项规章制度的宣传栏。
道路与场地畅通、整洁、无污染、不乱堆乱放及无散落物品(周转材料),场地四周排水畅通,建筑垃圾集中堆放及时处理,四周围墙粉刷并书写宣传、工程名称等并安装路灯照明。
班组落手清,“谁做谁清,随做随清”。防止尘土飞扬,污水横溢,车辆带泥运行的形象绝不能在本工程发生。对班组落手清工作项目部定期进行检查并考核,且做好奖优罚劣工作。
砂、石、砖、灰等材料堆放应分类集中堆放成方或成堆,整齐划一并有一定的计划及监督措施。边用边清,材料不散落、不外溢、不乱倒等。施工周转材料也应集中堆放整齐,做到使用有计划,分类堆放,并做出材料标识,分门别类,统一管理。
生活卫生方面,项目部要落实卫生专职管理和保洁员,落实卫生责任制。另外,项目部还设置“五小”设施,茶水亭(桶)、厕所、垃圾站、娱乐室等,方便与丰富职工的生活。
第六章 工程质量保证措施
一、工程质量总体保证措施
1.质量总目标
本工程质量目标是确保“海山杯”,争创“钱江杯”精品工程。我公司将发扬一流的施工质量、一流的施工速度、一流的文明施工、一流的售后服务的精神,一次建成用户满意的精品工程,再创信誉、再树形象。
创优目标分两步实施:先创结构优质工程,再创优质精品工程。本工程所含十个分部达到优良,单位工程综合观感各分项质量多创一级品,确保二级品,减少三级品,综合观感质量评定得分率达到90%以上。
项目部将贯彻执行国家质量法规和工程建设强制性标准,从讲政治的高度来重视此项工程。在开工前公司将建立创海山杯领导小组由分管质量总工程师专项负责组织实施,实行“挂牌”施工,坚持合理控制、科学安排、优质高效的原则。同时通过企业ISO9001质量体系的贯标,项目部严格按照标准运行,积极开展“小”“实”“活”“新”的QC小组活动,建立从生产到服务一套完整的质量保证体系,工程施工力争一次成优。必须以预防为主,加强要素控制,确定关键、特殊过程的控制点,实施工程施工过程中的动态管理。项目部一切管理工作均遵循公司《质量手册》、《程序文件》及各作业指导书的要求去进行,明确岗位质量职责,权责分明,并落实到各自的岗位上去。
2.工程质量总体构想
2.1建立有效的工程质量保证体系。项目部根据本企业质量体系文件建立以项目经理为首的质量保证体系,严格按照GB/T19000-ISO9001标准、本企业质量手册以及相应的程序文件进行全过程质量控制,落实各级管理人员的质量责任制,形成目标任务明确、职责权限清晰、互相团结协作的质量管理的有机整体;从指挥部成员到各级管理人员,直至作业班组,均有明确的岗位职责。
2.2实行工程质量的目标管理。创“海山杯”的质量目标自进场之日起就开始宣传、教育和灌输,使之深入人心,为创优夺杯打下良好的思想基础。根据总目标制定分阶段的工程质量目标。通过签订多级责任状进行责任目标逐级分解,从指挥部成员到各级管理人员,直至作业班组,均有创杯的目标和计划,做到措施落实,责任到人,齐心协力确保工程目标的实现。
2.3强化过程控制。过程控制是实现工程质量目标的关键;本工程严格按国家有关施工和验收规范、规程以及设计图纸组织施工;在过程控制中突出以下四个方面:
(1)坚持以预防为主,预防与检验相结合的方针,开展一次成优活动。
(2)围绕工序质量,落实质量职能,进行动态控制。
(3)抓关键促一般,对关键工序建立质量管理点,实行重点控制和特殊管理,如地下室、主体结构、装修等主要分部分项。
(4)开展质量管理小组活动,持续不断提高工程质量。
3.组织保证措施
3.1成立创海山杯领导小组
为创海山杯最后实现,公司决定由总工程师牵头,公司相关部门、项目主要领导参加,吸收业主、监理、设计、有关主管单位专业分包等单位领导,成立创海山杯领导小组,主要职责:
(1)协调各方关系,决策创海山杯大政主针,总体思路;
(2)对内处理重大技术攻关,制定海山杯精品优质工程的内控标准,细部特色做法的确定;
(3)对外协调部、厅、市各级政府及各级建筑业协会的关系。
3.2TQC管理和QC攻关小组
为确保工程质量,实行TQC管理,项目部成立QC攻关小组,对工程施工质量进行动态控制。QC小组成员及活动分工如下:
为了抓好每个分项工程的质量基础工作,项目部成立QC质量活动小组,归属项目部海山杯领导小组直接领导,领会、执行、创优夺杯领导小组所布置的重要工作。小组成员具体分工
①负责各班组QC小组的建立与活动的展开。
②负责各班组QC小组活动资料的收集与成果发表。
③负责木工班组QC小组活动的动态和资料提供。
④负责钢筋班组QC小组活动的动态和资料提供。
⑤负责砼班组QC活动的动态和资料提供。
⑥在主体施工阶段,暂时不考虑泥工班组及其它班组的QC活动,待砌墙和内外装饰开始,根据具体进场QC小组,进行充实。
3.3严格专业队伍选择
专业队伍是创海山杯的实际操作者及关键。进入本工程的各专业队伍必须先具备有创海山杯的实际经验,同时在每个分部施工前,邀请多支专业队伍样板试点,再请业主、监理、设计、项目部等实地打分,择优汰劣;为此,公司劳务分公司准备分阶段优先推荐有创海山杯经验的多支专业队伍,供项目部选择。
4技术管理措施
4.1组织图纸会审
进场后,即由项目技术负责人组织现场管理人员学习熟悉图纸,了解设计意图及工程特点,同时找出问题与矛盾,把有可能造成质量通病的部分问题在施工前解决好。
4.2施工组织设计
(1)进场以后,以本施工组织设计为基础,编制详尽的施工组织设计实施方案,经总工程师批准后实施,用以指导施工;
(2)对技术复杂、容易出问题的分部分项工程,如本工程的地下室、屋面、块材装饰等,编制专项施工方案;
(3)项目全体管理人员及班组应当了解方案的具体内容和要求;
(4)做到施工组织设计的及时调整,实施动态管理。
4.3质量策划
本工程将单独编制质量计划,确保质量目标的实现:
(1)在编制施工组织设计的同时,编制创结构优质的质量计划;
(2)裙房结顶后,开始编制精装修部分创市优精品工程为目标的质量计划。
4.4技术培训
(1)开工前,由公司牵头会同项目部针对新规范、新工艺、新材料、新技术的应用进行技术培训;
(2)技术培训动态进行,根据组织设计和质量计划,确定项目部的培训计划,使培训有序、及时、有效进行。
4.5技术交底
工程开工前,由公司总工程师对整体工程进行交底,分部工程开工前,由技术负责人对分部进行技术交底。严格执行技术交底制度,每项工作开工前,由施工员对班组进行技术交底,其内容包括施工工艺、操作规程、质量要求、质量通病防治等。对关键部位施工要点和质量要求更要仔细交代。
5.2施工过程质量管理:
(1)确保结构优质:对于在结构施工过程中,允许偏差标准,以国家标准GBJ301-88及GB50210-2001为依据,项目部拟作适当调整提高,并增加观感分一项,目的在于严格控制质量,确保主体结构优质。提高的标准如下:
模板工程允许偏差值:
| 项次 | 项 目 | 允许偏差值(㎜) | 备 注 | |
| 1 | 轴线 | 基础 | 5 | |
| 位移 | 柱、墙、板 | 3 | ||
| 2 | 标 高 | +2 -5 | ||
| 3 | 截面 | 基础 | +10 -10 | |
| 尺寸 | 柱、墙、板 | +2 -3 | 原标准+2、-5 | |
| 4 | 每层垂直度 | 2 | 原标准 3 | |
| 5 | 相邻两板表面高低差 | 2 | ||
| 6 | 预埋钢板中心线位移 | 3 | ||
| 7 | 表面平整度 | 3 | 原标准 5 | |
| 8 | 预埋管预留孔中心线位 | 3 | ||
| 9 | 预埋
螺栓 |
中心线位移 | 5 | |
| 外露长度 | +10 0 | |||
| 10 | 预埋
件 |
中心线位移 | 10 | |
| 截面内部尺寸 | +10 0 | |||
因支模原因影响砼观质量扣分值:
| 项次 | 项 目 | 满分值 | 得分值 | 评分控制尺度 |
| 1 | 支模不当造成夹渣 | 10 | 一般每处扣1分
严重每处扣2分 |
|
| 2 | 拆模不慎造成缺棱掉角 | 10 | 一般每处扣1分
严重每处扣2分 |
|
| 3 | 节点、接缝凹凸不平 | 10 | 一般每处扣1分
严重每处扣2分 |
|
| 4 | 模板炸模 | 10 | 一般每处扣1分
严重每处扣2-5分 |
|
| 5 | 结构明显变形 | 10 | 一般每处扣5分
严重每处扣10分 |
注:得分值单项可能出现正值、零、负值三种情况。
钢筋安装及预埋件位置允许偏差值:
| 项次 | 项 目 | 允许偏差(㎜) | 备 注 | ||
| 1 | 网的长度、宽度 | +10 -10 | |||
| 2 | 绑扎网眼尺寸 | +20 -20 | |||
| 3 | 骨架的宽度、高度 | +5 -5 | |||
| 4 | 骨架的长度 | +10 -10 | |||
| 5 | 受力
钢筋 |
间距 | +10 -10 | ||
| 排距 | +5 -5 | ||||
| 6 | 绑扎箍筋、构造筋间距 | 20 | |||
| 7 | 钢筋弯起点位置 | 20 | |||
| 8 | 焊接
预埋件 |
中心线位移 | 5 | ||
| 水平标高 | +3 -0 | ||||
| 9 | 受力
钢筋 保护层 |
基础 | +10 -10 | ||
| 梁柱 | 15 5 | ||||
| 墙板 | +3 -3 | ||||
钢筋施工不慎造成观感质量扣分值
| 项次 | 项 目 | 满分值 | 得分值 | 评分控制尺度 |
| 1 | 主筋、箍筋露筋 | 10 | 一般每处扣1分
严重每处扣3分 |
|
| 2 | 柱筋偏位 | 10 | 一般每处扣1分
严重每处扣3分 |
|
| 3 | 墙板筋偏位 | 10 | 一般每处扣1分
严重每处扣3分 |
|
| 4 | 柱定位箍、墙板定位
箍不按要求施工 |
10 | 每处扣2分 | |
| 5 | 焊渣造成夹渣 | 10 | 每处扣2分 |
注:得分值单项可能出现正值、零、负值三种情况
现浇砼结构构件允许偏差值:
| 项次 | 项 目 | 允许偏差值(㎜) | 备 注 | |
| 1 | 轴线
位移 |
基 础 | 10 | |
| 柱、墙、梁 | 5 | |||
| 2 | 标高 | 层 高 | +5 -5 | |
| 全 高 | +20 -20 | 原标准+30 -30 | ||
| 3 | 截面
尺寸 |
基 础 | +15 -10 | |
| 柱、墙、梁 | +4 -4 | 原标准+5 -5 | ||
| 4 | 墙柱
垂直度 |
每 层 | 4 | 原标准5 |
| 全 高 | 20 | 原标准H/100 30 | ||
| 5 | 表面平整 | 3 | 原标准 3 | |
| 6 | 预埋钢板中心线位置偏移 | 10 | ||
| 7 | 预埋管、预留孔中心线位移 | 5 | ||
| 8 | 预埋螺栓中心线位移 | 5 | ||
| 9 | 预埋洞中心线位移 | 15 | ||
| 10 | 电梯井 | 井筒长宽对中线 | 15 0 | 原标准+25 0 |
| 井筒全高垂直度 | <30 | |||
因浇筑原因影响砼观感质量扣分值:
| 项
次 |
项 目 | 满分值 | 得分值 | 评分控制尺度 |
| 1 | 蜂窝麻面 | 10 | 一般每处扣1分
严重每处扣2-3分 |
|
| 2 | 孔 洞 | 10 | 每处扣5分 | |
| 3 | 露 筋 | 10 | 一般每处扣1分
严重每处扣3-5分 |
|
| 4 | 缝隙夹渣 | 10 | 每处扣1分 | |
| 5 | 二次抹面养护 | 10 | 每处扣5分 |
砖砌体尺寸位置允许偏差值:
| 项次 | 项 目 | 允许偏差值(㎜) | 备 注 | |
| 1 | 轴线位置偏移 | 10 | ||
| 2 | 基础和墙砌体顶面标高 | +10 -10 | 原标准+15 -15 | |
| 3 | 垂直度 | 每 层 | 6 | |
| 全 高 | 20 | |||
| 4 | 混水墙、柱表面平整度 | 6 | 原标准 8 | |
| 5 | 混水墙水平灰缝平直度 | 10 | ||
| 6 | 水平灰缝厚度
(10皮砖累计) |
+8 -8 | ||
| 7 | 门窗洞口
(后塞口) |
宽 度 | +5 -5 | 原标准+15 -5 |
| 高 度 | +10 -5 | |||
| 8 | 预留构造柱截面
(宽度、深度) |
10 | 原标准 20 | |
| 9 | 外墙上下窗口偏移 | 2 | ||
因砌筑原因影响砌体观感质量扣分值
| 项次 | 项 目 | 满分值 | 得分值 | 评分控制尺度 |
| 1 | 通 缝 | 10 | 每处扣1分 | |
| 2 | 透亮孔 | 10 | 每处扣1分 | |
| 3 | 瞎子缝 | 10 | 每处扣1分 | |
| 4 | 接槎、拉接筋不合格 | 10 | 每处扣2分 | |
| 5 | 木砖漏放、位置不对 | 10 | 每处扣2分 |
(2)质量、安全生产和文明施工现场监督检查及奖优罚劣的具体办法:
为了掌握整个施工动态,及时发现施工过程中存在的问题,采取有效措施进行整改和防止缺陷重复出现,项目部规定每星期六上午进行质量、安全生产和文明施工现场检查,相关各班组长全部参加。在工程质量方面,对一周来的主要工程部位进行实测实量和观感打分。下午开会汇报总结一周来的工作情况。布置落实下一周的生产作业计划,并由全体到会人员共同商议确定奖优罚劣具体对象及金额,当场宣布。
为确保工程优质,项目实测实量行分值与观感行分值,每项的奖罚界限均定为90%,具体规定如下:
具体奖罚办法
| 检查得分值 | 其中一项
少于70% |
70%
∫ 74% |
75%
∫ 79% |
80%
∫ 84% |
85%
∫ 89% |
90%
∫ 94% |
95%
∫ 100% |
|
| 措
施 |
奖罚
办法 |
任务单暂
时不结算 |
罚
10-15% |
罚
6-9% |
罚
3-5% |
不奖
不罚 |
奖励
壹仟元 |
奖励
叁仟元 |
| 整改
意见 |
整改复验后
再定奖罚 |
发整改单
限期改进 |
会上
批评 |
会上
批评 |
会上
表扬 |
张榜
表扬 |
张榜
表扬 |
|
月、季、年度的总结评比及嘉奖
为了鼓励从关心质量,争创优质,表彰先进,带动一般,促使后进迎头赶上,争当先进,本项目部决定开展按月、季、年度的总结评比活动,嘉奖先进。
月度评比考核依据对班组有三个内容:每月内的质量总得分;每月内的安全总得分;每月内的生产进度、文明施工总得分。
个人先进先由各班组自评,上报项目部后,由项目部审核审批。按月评出的先进(集体与个人)除张榜公布外,先进名单由项目部存档,作为今后季度、年度评比的原始资料。
季度评比的考核依据是月度评比资料,凡在一季度内能有二次被评为先进的班组和个人都是季度先进(有特殊情况例外)。每季度末由项目部组织有关人员从季度先进集体和个人中评出先进标兵,再由项目部上报公司审批嘉奖。
年度评比考核依据是季度评比资料和实际业绩小结,书面材料纳入公司统一布置的年终总评活动。
(3)隐蔽工程验收与技术复核,七级检查与工作交接:
对具备覆盖、掩盖的部位隐蔽工程验收分项及技术复核,应按照如下顺序进行:班组长→专业人员→施工员→质量员→项目主任工程师→监理(或业主),下通班组成员,缺一不可,并检查记录,签字齐全,否则不得进入下道工序,对不合格工给予返工,分析记录原因,杜绝类似质量问题。
(4)样板制与部位挂牌制:
①样板开路:不同材料、品种、工种、专业队伍都要在施工前先按有关规范、标准,做样板施工,填写分项(工序)样板施工记录,待项目部、监理、业主验收合格后,全面展开施工;
②部位挂牌:专业队伍在每个部位挂牌,注明单位、专业队伍名称,操作人员姓名,质量状况,便于形成竞争机制,督促各专业队伍严把质量关。
(5)实行TQC全面质量管理,成立QC小组,进行P.D.C.A循环,由有关管理人员组成QC小组,进行P.D.C.A循环,将质量通病消除于每道分项工序中,使工程各分部达到一次成优。
(6)设备管理:
①采用先进的施工来投入施工,做到事半功倍;
②广泛采用新技术,并在施工中采用电子计算机调控监督系统,提高机械设备使用水平;
③定期对机械设备保养。
(7)计量管理:
①凡新购、修复、安装的计量器具,须经检验合格方可使用,并定期检测;
②各类计量仪器,应满足规范要求。
(8)技术资料、动态资料,竣工图管理:
①专职资料员负责本工程技术资料管理,以便准确、全面、同步;
②资料标准:以工程获过杯或奖的资料为标准编制,工程交工前,由公司质量部门检查、汇总、装订;
③竣工图:应与工程进度同步,对设计变更等及时标识,并及时分门别类;
④分包单位资料:由项目部专职资料员平时加以督促、检查,分包单位应重视,使整个资料不缺损;
⑤动态资料:根据工程实际需要对录像部位要求严格,重点抓住细部、特色及技术含量高、攻关课题、十项新技术方面全过程拍摄。
5.经济管理措施
5.1设立专项奖励基金:
我公司专门拨款一定数量的专项奖励基金,用于奖励对本工程确保获得海山杯工作作出贡献的有关人员及专业队伍。
5.2风险抵押:
本工程上至项目经理,下至项目部成员,根据责任大小,向公司预先缴纳一定数量的风险保证金。各专业队伍从单价中留置部分余款作为确保获得海山杯的保证金。待评出后全额返回,并给予奖励,否则给予没收。
5.3层层责任制:
由公司总经理与项目部签订创优夺杯责任状,项目经理与管理人员、分包专业队伍签订创优夺杯责任书,并在合同中明确责、权、利、奖罚措施。
5.4优质优价:
在与专业化队伍签订合同时,必须体现优质优价的原则;拟在合同中加大质量组价的份量。质量组价的返回,必须同创优夺杯的结果同步;结算时留置质量组价款项作为保证金,这样能使专业班组因经济利益而由被动转向主动,重视工程质量。
6.产品保护措施
(1)加强成品保护意识教育,切实贯彻成品保护制度。教育职工对成品要象自己眼睛一样爱护。
(2)派有安全责任意识强、身体健康、作风正派、工作细致的职工参加门卫值班,严格门卫值班制度。
(3)合理安排施工顺序,不得颠倒施工工序,防止后道工序损坏或污染前道工序。
(4)采取行之有效的保护措施,如提前保护、覆盖保护、局部封闭等,避免二次返工。
(5)对各个工种操作班组实行经济与质量挂钩制度,真正做到奖优罚劣,以经济手段来保证工程质量。
(6)设备安装及装修阶段,合同业主共同建立出入证制度,未持出入证的非生产工人,严禁进入施工现场。
(7)技术部门对特别保护的成品提出具体详细的保护要求,在下达作业指导书(或施工技术交底书)时,提出保护措施。
(8)对负责成品保护的专管人员,要加以培训指导,使其尽心尽职,措施落实到位。
(9)施工人员做好转序前在施品防护,确保原有质量性能与状态。
(10)混凝土浇灌后在其强度达到1.2MPa前不得在其上面操作,并做好警戒工作。楼梯等踏步要用木板或硬纸板等进行必要的封闭。
(11)管道、预埋件等安放后,均要设置围护,防止碰撞及移位等。
(12)湿作业时应防止污水渗漏造成外墙饰面及下层顶棚、墙面污染受损。
(13)门窗应入库存放,下边应垫起、垫平,堆放整齐,防止变形。
(14)门窗保护膜要封闭好,再进行安装。安装好后要及时将门框两侧木板条捆绑好,防止碰撞损坏。
(15)油漆涂料施工前要清理周围环境,防止尘土污染,施工过程中门窗应作固定,防止扇框粘结,对滴在地面、墙面、窗台及五金上的油漆应清理干净。
(16)施工完的装饰工程及安装就位的各类设备,搭设防护栏、板、棚等防护设施或挂警示牌等措施。
(17)对已完成或即将完成的房间,要及时关门上锁进行封闭。由专人负责掌握钥匙。班组交接时,对成品情况先进行交接检查登记,如有损坏要查清责任。
(18)严格按照施工程序组织施工,坚持先上后下,先湿后干的顺序,避免工序颠倒,特别是在工程后期尽量避免湿作业,并拟定有效的防止污染措施。
(19)加强装修材料的保护工作。各类装修材料在运输过程中要加以覆盖和保护;到现场后要入库保存。易吸湿材料要有防潮措施。
(20)各类地面、楼梯、棱角、台阶等都采取适当保护措施。任何地面上都不得直接拌制或存放灰浆。
(21)工程进入最后清理、整修阶段,可采取逐层、分阶段隔离、封闭等办法,并根据实际情况采取专人看护、巡视、督促,做好防火、防盗、防污工作。
二、施工质量保证措施
根据本工程的承包形式、工程规模、质量、工程要求,我公司将委派本公司内优秀项目施工管理班子,项目经理及工程技术人员都曾施工过相类似的工程,来参加本工程的施工技术管理。特别该项目经理的组织、管理、协调能力强,工作作风稳健、踏实,对本工程顺利建成十分有利。
(1)土建施工操作工人挑选与本项目部长期合作的伙伴,并报请业主同意后,方能进场施工。
(2)认真执行,实施本公司制定,己获通过的ISO-9001质量保证体系。实行项目经理、项目工程师质量负责制、施工技术员岗位责任制。并制定严格的奖罚制度。
(3)施工组织设计由公司总工程师审批后,才能进行组织施工。砼浇捣由管理部主任工程师、项目工程师签发砼"浇捣令"后才能进行施工作业。
(4)工程施工质量实行"工序质量"控制管理方法。对主要工序实行施工技术员事先技术交底,"现场看工"质量跟踪控制。
(5)质量员对"工序质量"过程检查。做到以工作质量保证工序质量,以工序质量保证产品质量。
(6)工程质量及隐蔽工程验收严格实行"三级"管理验收制。先由班组自行检查,经项目部复检合格,再报请监理最终验收通过,并办好签证工作,才能进行下一道工序施工。
(7)对土建、安装、装饰主要分项工程或关键部位可推行"样板项"、"样板段"、"样板间"引路的施工管理方法。为工程全面施工、顺利展开是十分有利的。
(8)严格执行材料验收制度和原材料"取样封存"制度及"计量"管理制度。
(9)技术资料管理归档必须遵照市有关规定标准,做到及时、齐全、正确、规范化。
(10)钢筋和钢材进场时要验收质保书、出厂证明及分批量机械试验报告。进口钢筋还需附商检证明。
(11)水泥进场必须具有质量证明文件,使用前必须具有国家认可试验签发的水泥质量检测合格报告。使用时应复核水泥品种、标号及出厂日期。
(12)黄沙、石子、砖块、砌块进场必须具有建材供应站检测的质量报告,各项指标应符合质量标准要求。
(13)混凝土、砌筑砂浆必须由专人负责按规范要求制作足够的试块。并标明标号、使用部位、日期及编号。工地如有自拌砂浆和砼,应做好砂石、水泥过磅计量工作。
1.测量工程质量保证技术措施
(1)测量定位所用的全站仪、水准仪等测量仪器及工艺控制质量检测设备必须经过鉴定合格,要使用周期内的计量器具按二级计量标准进行检测控制。
(2)测量基准点要严格保护,避免撞击、毁坏。在施工期间,要定期复核基准点是否发生位移。
(3)总标高控制点的引测,必须采用闭合测量方法,确保引测精度。
(4)所有测量观察点的埋设必须可靠牢固,以免影响测量结果精度。
(5)轴线控制点及总标高控制点,必须经监理书面认可方可使及。
(6)所有测量结果,应及时汇总,并向有关部门提供。
(7)运用极坐标法在建筑物内布设适量的轴线控制点。为便于测量放线点位布设尽可能靠近墙面位置。所布设的控制点与整幢大楼的测量基准点进行联测,测量结果进行严密平差,计算点位坐标,并与设计坐标比较改化。改化之后再次进行检测,要求控制网的测距相对中误差小于L/20000,测角中误差小于5"。若不满足要求,再次改化,直至满足要求。一般情况下,这种改化只需进行两次。因建筑测量的精度较高,为此,基准点处预埋lOCM×10CM钢板,用钢针刻划十字线定点,线宽0.2MM,并在交点上打洋冲眼,以便长期保存。所布设的平面控制网应定期进行复测、校核。
(8)提高外墙模板边线的放线精度,在钢尺量距时采用统一标准钢尺,并采取固定拉力以消除误差,钢尺严格按规范要求进行标定及量距调整。
(9)轴线基本放好后,用全站仪进行复核,确保外墙轴线尺寸万无一失。
(10)木工严格按尺寸要求支模,每层对垂直度进行较核,保证测量精度。
2.地基与基础工程质量保证措施
(1)避免施工时轴线定位要严格保护,用砼坞好作出明显的标志,避免车辆、机械辗压、毁灭。在施工期间要定期复核检查定位是否位移。
(2)认真做好基底土质的隐蔽工程验收,土方开挖时,若发现基底土质与地质资料不符或有异议时,应及时通知设计单位与建设单位其同研究对策慎重处理。
(3)基础施工时应及时抽除基坑积水确保基础施工质量。
(4)基础模板必须有稳固的支撑和足够的对穿螺栓,防止浇险时产生不必要变形。
(5)坚持分层开挖的原则,挖到桩时立即把桩四周的土挖掉,避免桩身两侧出现较大的压力差。
(6)回填土严格按照设计要求分层穷实,每层铺土厚度不得超过30Omm,且把回填土的含水率控制在13%~20%(重量比),后浇带处理后,墙面两侧必须同步回填,严格控制两侧填土高差,不得超过30Omn。
3.主体工程质量保证措施
(1)搭设支撑排架时应拉通长麻线,使排架纵横成一线,排架间均需设立平拉杆和剪力撑以保证排架稳定,排架应设基准观测点,以观察排架在施工时沉降,如超出规范要求,则需采取加固措施。
(2)墙板交接处的节点钢筋稠密绑扎的一定困难,施工时一定要控制好钢筋位置及搭接长度,要逐根梁认真复核,并填写好隐蔽工程验收单。
(3)板的负弯矩钢筋绑扎时须垫蹲筋,以防遭踩踏后变形位移。
(4)所有预留洞、预埋件,须有技术人员和安装单位技术人员进行复核验收,并填写验收单。
(5)所有模板制作尺寸要准确,拼缝严密,保证刚度,支撑要牢固。
(6)墙壁模板根部和顶部必须设限位措施,如采用焊接钢件限位,以保证底部和顶部位置准确。
(7)现浇砼时墙底脚应焊短钢筋做限位,控制模板位置。
(8)浇捣砼时,钢筋工、木工应有专人看护,随时准备整修楼板面筋和模板以确保施工质量。
(9)柱节点内和墙板交接处,浇砼时困难较大,施工时要认真浇捣这些部位,应配备多种规格振动棒进行振捣,为保证模板根部缝隙严实,防止浇捣漏浆,浇筑前必须先下同混凝土配合比砂浆接浆,并在根部缝隙处用薄海棉填模板缝。
(10)浇捣砼时,要严格控制砼的塌落度,任何人不得擅自加水,砼配合比必须经监理认可。
(11)现浇结构施工中要认真处理好施工缝,使接搓处严密、平整、无蜂窝,浮松的砂浆,石子要凿去,并要冲洗干净,无垃圾。
(12)在砌筑工程施工时,在常温下砖和砌块应隔夜浇水,并在砌筑时浇水润湿,但要防止过湿和不匀。确保砂浆与砖、砌块有足够的粘结力。
(13)砌墙时应统一砌筑方法不应有通缝,转角处和交缝处斜搓和直搓应通顺密实,直搓应按规定加拉结条。
(14)砌体砂浆必须密实饱满,水平灰缝砂浆饱满度不得低于80%。
(15)砖墙砌筑时,墙身与柱联结处必须按设计要求设置拉结筋,并认真处理好结点,保证砖墙粘结力,防止日后出现裂缝。
(16)隔墙和填充墙砌筑到梁板底时,为保证砌体顶面与上部结构处砂浆密实.宜用侧砖或立砖斜砌挤紧,灰缝挤满。
(17)墙与构造柱沿墙高度每50Omm设置2φ6水平拉结筋,每道不少于两根,每道伸入墙内不少于1m,大马牙搓应先退后进,每一马牙搓沿高度方向的尺寸不宜超过30mm。
(18)变形缝(包括沉降缝、伸缩缝和防震缝)的缝宽必须符合设计要求,应彻底分开,上下宽度基本一致。盖缝板应固定牢固,上下顺直,能保证使用功能。盖缝板面与外墙面应齐平或凹进墙面1-2mm。
4.混凝土工程质量保证技术措施
(1)混凝土施工质量是整个结构工程施工质量最为直观的一个分项工程,是确保本工程达到质量目标中一个重要的关键施工过程。
(2)本工程结构混凝土施工时,混凝土采用商品混凝土。为此,一方面加强与混凝土的原材料质量监控、计量校验及试验级配方面的联系,同时在混凝土拌制和浇捣的过程中加强混凝土质量的监控,严禁向混凝土中任意掺水,必须由砼搅拌站试验室,严格按气候条件、原材料含水量情况,合理调整级配,以最适宜的砼级配,满足现场施工需要。
(3)加强对混凝土坍落度及试块抽检管理,在现场设立标准养护室,并做好试块的及时送检,确保混凝土资料反映准确、及时。
(4)加强隐蔽工程验收制度,在结构混凝土浇捣前,作为总承包应自检合格,在隐蔽验收24小时前通知业主、监理方参加隐蔽工程验收,经总包、监理方在验收记录上签字确认验收合格后,方可进行隐蔽和砼施工。
(5)现场混凝土浇捣,必须严格监控混凝土振捣质量及混凝土的收头质量,确保混凝土结构的施工质量。
(6)每次柱、梁封模隐蔽前必须清理干净模板内的杂物、浮灰,并经质监人员和现场监理的认可,混凝土浇捣前,必须再用自来水冲洗干净并排清积水。
(7)承台、梁、板混凝土浇捣时,必须严格控制好平台混凝土的面标高及平台板厚度,平台面按双向间距1500mm范围由关砌统一抄平的平台面标高控制标记,由收头的人员用2m长括尺按控制标志括拍平整,并随混凝土的干硬速度情况,用细木蟹打磨两遍,确保平台板混凝土的收头质量,最后视季节气候条件,及时做好养护措施。
5.钢筋工程质量保证技术措施
(1)结构钢筋绑扎时,必须严格按设计图纸之规定要求进行,尤其是墙柱板的结构主筋连续方法,严格按有关钢筋连接规范执行,由钢筋翻样向钢筋班仔细全面交底。
(2)本工程上所有钢筋均以成品运进。
(3)工程所用的钢筋,进场时必须具备厂方提供的质保书,并及时收集归类。严格控制插筋位置,采用增加定位箍及限位筋电焊固定措施。浇捣混凝土时派专人负责看守,发现有钢筋移位情况,及时纠正。
(4)基础钢筋施工时应根据垫层上弹线的位置以及模板上的轴线来控制柱头插筋及板插筋的位置。插筋根部用环箍在底板下部钢筋网片上点焊牢固,上部用粗钢筋临时固定,插筋上部用环箍同底板上部网片钢筋点焊牢固,保证插筋垂直和位置正确。
(5)严格控制楼板上下层钢筋的位置,采用设置撑脚方法控制,在混凝土浇捣时应设穿挑或铺板,避免混凝土浇捣时,作业人员踩踏负筋变形而影响工程质量。
(6)工程上的钢筋不得随意代换,如根据实际情况,确实须调整时,须由技术部门征得设计及监理认可后方可实施。
(7)在对结构施工过程中,对所有钢筋连接结头(除绑扎外),应在监理见证下现场取样,送专业测试单位进行复试,合格后方可进行下道施工。
(8)结构竖向的避雷主筋,必须按设计及规范要求电焊搭接,油漆色标加以柱明区别,严防搞错。
(9)针对本工程保护层厚度要求,保护层垫块设铁丝固定点,确保结构保护层正确。
(10)各分部分项工程中的钢筋质量、技术措施各有侧重点及各自的特殊性,故有关各分部分项工程中的钢筋质量、技术措施将在相应施工方案中详述。
6.模板工程质量保证技术措施
(1)模板工程作为结构施工的重要分项工程,也是保证混凝土最终质量的关键工序,故必须建立起全过程的质量控制体系,其最终目的是保证整个模板体系有足够的强度与刚度,能够承受混凝土工程施工的各种荷载。
(2)模板体系制作时,必须严格按照经技术负责人认可的木工翻样图要求进行加工,运至现场后,必须加强验收环节,进行预拼装工序以确保模板就位前的平整度和刚度,所有的定型模板都必须分区域进行分别编号,加以区别,更有利于模板的安拆工作快速、便捷的进行。
(3)一般平台板排架,经计算一般搭设要求:均采用直径48mm的钢脚手管,立杆间距平面尺寸(双向)间距700mm~900mm,水平纵横向牵杆,横楞步高间距1500mm,离地200mm设扫地杆,并沿纵横向间距3m~5m设置垂直剪力撑,确保支撑排架的刚度和稳定性。
7.砌筑工程质量保证技术措施
(1)本工程在砌墙砌筑前,必须按设计要求的位置和间距,凿出混凝土墙面的填充墙拉结筋,同时砌墙必须按操作规程要求拉设麻线,划出皮数杆进行组砌,确保墙体砌筑质量,各楼层砌墙体随混凝土结构楼层的施工进度情况,同步逐层进行砌筑,总体质量要求将混水墙砌筑,砂浆饱满度要求达到80%以上。
(2)对于卫生间等管井处,为避免在使用过程中,楼面水流向管井,影响使用功能,因此,砌筑管井墙时,先浇筑20cm高混凝土导墙,然后再在其上砌筑墙体。
8.装饰工程质量保证技术措施
(1)装饰工程体现整个工程最终的施工质量,对于装饰分项施工中的每一道工序,都必须强调施工中的检查验收工作,这一道工序被检查为不合格产品则必须返工,绝对不可进入下一道工序施工。
(2)各操作层面、作业部位的施工,必须推行谁施工谁负责的制度,操作人员姓名、实测质量数据,必须用直接标写或图纸标注的方式进行标识反映,定期进行评比、考核,切实提高整体施工质量。
(3)土建湿作业部分工程,是装饰工程的最基本部分,必须确保墙、地、顶面等部分的平整度、垂直度、截面尺寸标高控制达标率95%以上。
(4)装饰施工原材料、半成品材料、构件等物资的供应采购必须严格按照质保体系程序文件规定进行,供应商的评定、物料质量的验证、包装、搬运、存储等各环节的工作程序,确保施工物料的质量满足工程质量的要求。
(5)装饰施工正常铺开施工时,必须做好各作业层面、各专业分包队伍之间的配合协调,正确安排各专业工种之间的作业层面与工序搭接,落实对口各作业层面的施工协调及质量管理人员,确保工程施工质量在受控有序的条件下进行。
(6)装饰施工阶段必须做好施工作业面的施工安全及消防设施、措施的到位落实工作,同时更应按照施工进度的进度情况,由专人负责落实做好已完工或正在施工中的成品、半成品等的产品质量保护工作,确保已完工之产品不受污损。
9.特殊气候条件下的施工质量保证措施
(1)雨季施工要加强与气象部门联系。及时掌握近期、本周、雨天天气预报状况,为施工提供确切的气象信息。尽可能避免大暴雨天浇捣砼。
(2)现场应准备足够的防雨应急材料(如油布、塑料薄膜等),如果浇捣砼恰逢下雨,视雨量大小应及时调整砼配合比、含水量、现场及时覆盖防雨材料。必要时经研究、监理同意可暂缓施工。
(3)施工现场内排水沟、抽水泵、沉淀池、排水系统要畅通有效。一旦下雨,能做到雨水及时排出,现场无积水,保持场容整洁。
(4)当室外日平均气温连续五天低于5℃或每日取低温度低于一3℃时,应按冬季施工要求组织施工、并事先编制好冬季施工各项技术措施。
(5)冬季施工浇捣险,视实际气温情况,可采用在砼内掺外加剂和外露砼覆盖草包加塑料薄膜及控制砼水灰比等措施来保证险浇捣质量。
(6)特别严冬天气(整日气温-3℃以下),经协商后,视实际情况,砼浇捣可以暂缓进行施工。
三、针对本工程的施工质量检测方法
根据本工程的结构类别、质量目标要求,建立本工程在实际施工操作过程中的质量检测方法、制度,强调“以人为核心”、“以预防为主”的原则,以施工技术、质量验收规程、规范为依据,从对投入原材料的质量检测开始,到施工中间每一分部分项的质量检测直至施工完成,进行现场全过程的质量检测。
1.现场质量检测的内容
(1)在开工前的检查,即检查本工程是否具备开工条件,开工后能否保证工程质量。
(2)在工序交接时的质量检测,即对本工程重要的工序,在自检、互检的基础上,还要组织专职质量员进行工序交接检查。
(3)隐蔽工程的质量检测验收,凡是属于隐蔽工程的均应检查认证后方能掩盖,如本工程混凝土浇捣前钢筋工程、各类预埋件等项目的质量检测。
(4)停工后复工前的质量检测,因某种原因停工后复工时,也必须经过检查认可后方能复工。
(5)各分项、分部工程质量检测,即在施工过程中对于每一分项分部工程的施工过程质量控制。
(6)已完项目成品保护检查,即检查成品有无保护措施,或对其保护措施是否可靠。
2.现场质量检测的具体方法
(1)目测法:
即根据质量标准进行外观目测或触摸、敲击,可采取看、摸、敲、照四种手段。在本工程中的砖砌工程外表是否洁净、灰缝是否横平竖直、内墙抹灰阴阳角是否平直等可采取看的方式;地面有无起砂、油漆的光滑度等可采取摸的方式检测;面砖贴面通过敲击通过声音的虚实来判断有无空鼓;对难于看到的地方可采用镜子或灯光照射来检测。
(2)实测法:
即通过实测数据与施工质量标准所规定的允许偏差对照的方法进行检测。可采取靠、吊、量、套四种方式。其中靠,是采用直尺、塞尺检查墙面、地面、屋面的平整度;吊是采用托线板以线锤吊线检查垂直度;量是用测量工具和计量仪表等检查断面尺寸、轴线、标高、温度等的偏差;套是以方尺套方,辅以塞尺检查,如对阴阳角的方正、踢脚线的垂直度等项目的检测。
(3)试验检测:
即通过试验的手段,才能对质量进行判断的检测方法。如对钢筋对焊接头进行拉力试验,以检测焊接质量,对进场的多孔砖等进行抗压强度测试,检验其是否质量合格。
3.确保本工程质量标准的工艺质量检测仪器配备表
| 序 | 器具用途 | 器具 名称 | 型号规格 | 精度 | 数量 | 备注 |
| 1 | 墙、柱、梁定位放线 | 经伟仪 | WILD | 2" | 2 | 自有 |
| 2 | 定位放线 | 钢卷尺 | 5m/30m/50m | 1/1000 | 10/3/1 | 自有 |
| 3 | 标高控制 | 水平仪 | WILD | ±2 | 2 | 自有 |
| 4 | 砖墙面、楼地面垂直度控制 | 托线板 | 200×150×12 | 1mm/m | 10 | 自有 |
| 5 | 墙面、楼地面平整度控制 | 塞 尺 | 3 | 自有 | ||
| 6 | 砂浆饱满度控制 | 百格网 | 3 | 自有 | ||
| 7 | 混凝土强度测试 | 回弹仪 | HT225S | 1 | 自有 | |
| 8 | 砂浆拌制计量 | 台 秤 | TCF10kg | 3 | 自有 | |
| 9 | 测试砂浆稠度 | 稠度仪 | 1 | 自有 | ||
| 10 | 测试砂浆比重 | 天 平 | 200g | 感重0.2g | 1 | 自有 |
4.现场计量器具管理措施
(1)由我公司专职计量员负责本工程施工所用计量器材的周期鉴定、抽检工作。
(2)现场计量器具必须确定专人保管(本工种由项目技术员及项目试块员共同保管)、专人使用,并建立使用台帐,他人不得随意动用。
(3)所有计量器具(包括经纬仪、水准仪、钢卷尺、台秤、天平、温度计、稠度仪等)要定期进行校对、鉴定,损坏的计量器具必须及时申报修理调换,不得带病工作。
四、材料和设备质量保证措施
1.原材料的控制计划:
(1)所有与工程质量有关的采购产品应符合规定要求,所有采购物资及工程设备必须满足工程的需要,物资采购前建立合格供方档案,标明名称、品种、规格、数量、质量和技术标准,各种材料根据规范和设计要求在使用前做好检验、试验工作,达到材料质量检验率100%,杜绝不合格材料使用到本工程中,并严格按规范设计要求,满足质量计划要求;
(2)对试块制实行旁站制度,在现场配制的材料配合比,经试验室配检合格,提供配合比;
(3)装饰材料的采购、验收:本工程装饰材料品种多,数量大,如花岗石、涂料、地砖、石膏板等高档材料,由于市场不健全,假冒产品较多,因此必须采取公开招标,请业主参加。首先比质量,以海山杯标准要求,货比三家,确保优质产品进场,在验收时,必须由专业人员严格把关;在施工时,由质量员跟踪施工部位,发现问题,及时返工,并采取海山杯风险共存办法,即在合同中明确一定数额余款,作为海山杯结果押金,这样能使供应商自我控制质量关。
2.材料、设备采购管理要求
建筑材料、设备是构成建筑物的主要物质基础。正确地选择和合理地使用材料、设备将直接影响建筑工程的质量和成本。因此我们针对材料、设备的采购制订如下专项措施。
(1)本工程的施工主、次材料经业主或监理审核后均由施工单位自行采购。对于自购部分的材料需提供采购材料的规范性文件,一方面要及时全面掌握其市场单价信息、市场供应信息,另一方面要建立内部材料管理制度,包括完善的申请和审批制度。在采购过程中,坚持“货比三家,择优选取”的原则。根据本公司ISO9001质量体系标准,原则上优先考虑选用材料合格分承包方名录上所列的厂家,若选用新的分承包方应及时向公司生产部门提出申请评定,评定合格后方可选用。
(2)对于业主或监理工程师认为关键材料的采购,其生产厂家事先经业主或监理工程师认可,施工单位应根据工程进度计划,在材料、设备采购前15天将采购清单提交业主或监理审核,清单中应明确采购材料、设备的品种、数量、品牌、生产厂商及技术规格。
(3)施工所用全部材料和设备必须符合合同规定和工程要求的品种和质量等级。
(4)对于进场材料、设备,经检查存在缺陷或不符合合同要求时,应立即用书面文件通知供货责任单位,由责任方进行修整和调换合格产品,并经业主或监理工程师批准后方可使用。
(5)材料进场后,按本公司制定的产品入库、验收、运输、保管与发放的仓库管理规定执行。要求做到产品入库手续齐全、帐物相符、台帐清楚、产品质量证明文件齐全并编号保管,对于质量证明文件不全或不合格的产品,不准入库。入库产品要摆放整齐、明码挂牌,并做好产品保护工作,确保产品不受潮、不变形。发放时要做到“四不出库”,即:手续不清、去向不明、白条子及未经验收的产品不出库。
(6)严把材料采购关,坚持货比三家,实行“比质、比价、比运距”三比原则,首先是产品质量的选择,首选名牌产品、设计单位指定的产品和建设单位认可的产品,其次为我单位IS09001质量认证过的材料合格分承包方。
(7)严把材料进场验收关,主要手段是外观检查、检查合格证和质量检验。进场材料不能有破损、变形和霉变,必须合格证件齐全。生产厂家要有生产许可证和产品检验合格证书。对于消防专用产品还需具备当地消防部门签发的产品准销证。
(8)材料的检验方法主要有:
a.水泥、钢筋←一质保书和复试合格报告
b.砖、砂石←一质保书和复试合格报告
c.防水材料←一抽样进行理化检验
(9)采购合同管理
a.调查供方以往的产品质量或产品进行抽样试验。
b.和另一厂家的同类产品进行对比,以确定其优越性。
c.采购合同的编制:产品的技术标准按国家(或国际)有关标准,或部颁标准专业标准执行。需方有特殊要求的,供需双方按商定的技术条件、样品或补充的技术要求一并编写技术协议(由工程专业人员进行),作为合同的附件。
(10)对外分包、外采购(如甲供)的材料亦要履行总包管理职能,使其纳入受控状态,不合格品拒绝使用,符合规定的,把相关资料(如分供方情况、材质证明收集情况)在项目部备案,并不定期检查。
根据施工预算用量、工程进度安排编制材料采购计划,材料采购要“预谋在先”,确保工程进度的全面实现。
目前,土木工程项目管理大多实现年、季、月计划控制进度,采用相对“静态”的管理手段,往往信息滞后,控制失度,为此我公司将借鉴国际工程项目管理经验,以项目为对象,将月度各项计划化解编制成工程进度、工作量、劳动力需用量、材料需用量、机械需用量、资金需用量的周计划,每周布置一次,检查协调二次,根据实施情况的反馈调整各种采购计划,并运用计算机进行周计划的数据处理、对比、判断,以保证项目的各项工作目标的良好实现,使项目的现场生产各项管理工作处于受控状态。
在当前材料、建筑制品和设备供应市场尚不规范的情况下,项目上必须加强材料、设备的品种、规格、质量和数量的验收签证工作,针对不同的采购产品组织不同形式的验证活动,如在供方现场检验、到货验收及此后的检验等。做好进场记录、现场材料统计及进场材料计量检验记录,要做到实际进场数量与验收签收单及结算付款单数量“三相符”,确保材料、设备的成本、质量始终处于受控状态。对项目所用主要大宗材料的去向进行动态的跟踪管理,如建立钢筋、水泥等大宗材料的质量跟踪台帐,标识出所用部位、数量,为材料的采购,工程质量的控制提供追溯的依据。
其余材料、设备的采购质量保证措施详见后面章节中的《质量保证措施》的相关内容。
五、争创工程钱江杯的施工中细部必须注意事项
为了表示我公司对本工程质量提高及创品牌工程的指导思想,我们提出争创“钱江杯”优质工程的目标,针对本工程的各项实际情况、建筑面积、工程特点、社会关注程度等等诸多要素,在本次投标过程中特制定了如何创钱江杯的一系列细部特色设想,供专家与评委参考,望能多多指导。
要创钱江杯优质工程,除了整体力求完美之外,创细部特色也是至关重要的环节。我公司在本工程中,结合以往工程的做法及经验,对细节进行二次深化设计,力求细部精致完美,协调统一,形成自己的质量特色。比如:
(1)在结构施工阶段,钢筋绑扎及保护层的设置都是创结构优质工程的关键,为此我公司准备采用砼钢筋保护层垫块,既做到美观、准确,又能节省经济成本与加快钢筋绑扎速度。
(2)在结构施工阶段对后浇带及施工缝的处理尤其重要,因为它的处理是否得当不但影响结构的稳固性,又会对以后结构的抗裂与防水有影响。
(3)在装饰施工阶段的乳胶漆(涂料)墙面,本工程大面积采用此种墙面,为达到精巧细致的观感效果,阴阳角粉刷时均采用水泥砂浆粉出阴角线,二遍抽拉成活,采用专用工具确保阴角垂直度,涂料施工时阴阳角出线。
(4)管道穿越接地面处,用地面同种材料做成精巧细致的工艺锥体。
(5)屋面的天沟、女儿墙收头处做成统一的配筋水泥砂浆圆角,对排气管位置进行精细排列,并做出节点造型。
凡此种种,不一一列举。总之,我们将在每个细部处理上,以我们在以往相类似工程中的成功经验,以我们的创新精神,以我们的精益求精的态度,在精细与特色上下功夫,把一个完美的作品交与业主。
第七章 施工进度计划和工期保证措施
一、施工节点网络计划
施工进度节点网络计划是施工过程中的一项重要指标,其编制的先进性、合理性将直接影响到整个施工的全过程。在施工进度计划的安排上既要在保证工程质量、安全的前提下确保总工期,又要突出重点、难点及施工分包项目,着重控制关键工期,确保工程能按期完成并交付使用。
1.工期总目标及阶段目标
本工程不但具有很强的社会影响力与关注度,还具有诸多的机电安装、总图配套等项目存在,故我公司在具体施工时着重要突出其施工重点,先确定施工总目标,再施行阶段性目标。
根据招标文件要求和我公司综合实力确定总体工程目标为工期430天。
我公司在实际施工中将严格按照以上施工节点来控制施工总工期,分步分阶段制定施工节点进度计划,排出严密的施工节点网络计划图。在有计划的前提下,项目部管理人员将严格按照施工计划来执行工程施工,届时可根据施工进度及工程实际需要经业主、监理同意后作适当的调整,但这是在工程总工期不变的前提下。
2三级进度控制计划
2.1一级总体控制计划
表示各专业工程的阶段目标,提供业主、监理、设计及总包高层管理人员进行总体工程目标控制,本工程进度计划采用管理软件绘制,对各专业工程计划进行实时监控,动态关联。本次投标绘制的一级总进度控制计划详后附表。
2.2二级进度控制计划
以基础、主体结构及装饰专业工程的阶段目标为控制点,分解形成该专业工程的具体实施步骤,以达到满足一级总控制计划的要求,便于业主、监理与总包管理人员对该专业工程进度的总体控制。本次投标绘制的进度计划采用管理软件绘制。本次投标绘制的结构工程二级施工进度控制计划详后附表。
2.3三级进度控制计划
以标准层的施工目标为控制点,分解形成该专业工程的具体实施步骤,以达到满足二级总控制计划的要求,便于业主、监理与总包管理人员对该工程进度的总体控制。本次投标绘制的结构工程三级施工进度控制计划详后附表。
二、影响本工程工期节点的主要因素
根据我公司重大工程的施工经验,影响工期的因素主要有项目班子经验素质、工程资金情况、投入项目的机具劳动力数量、特殊天气、业主及总分包方的协调等(主要原因分析见下图)。施工中应从各方面采取有力措施,保证工期进度。
①目标明确
工程管理
②职责分明
③施工准备
④施工手段
企业内部
⑤调度平衡
⑥物资供应
影响工期因素
⑦信息系统
①责 任 心
施工人员
②工时利用
③劳动技能
④协作配合
⑤文明施工
企业外部
①甲供材料及时性
②工艺设备供货状况
③设计出图时间及变更
④水、电供应
⑤土建、安装交叉配合
⑥气 候
三、建立完善的计划保证体系
建立完善的计划体系是掌握施工管理主动权、控制施工生产局面,保证工程进度的关键一环。
本项目的计划体系将以日、周、月、年和总控计划构成的工期计划为主线,并由此派生出一系列技术保障计划、资金保障计划、物资保障计划、质量检验与控制计划、安全防护计划及后勤保障计划,在各项工作中作到未雨绸缪,使进度管理形成了层次分明、深入全面、贯彻始终的特色。
1.采用科学的三级网络编制施工总控计划
本工程的进度管理将采用三级网络计划进行管理,一级网络根据工程总工期控制工程各阶段里程碑目标;二级网络根据各阶段分项工程的工期目标控制分解成分部的目标;三级网络控制指导每日主要工序生产,利用三日前锋计划控制日计划和周计划。通过对关键线路施工编制标准工序,建立计划统计数据库,利用项目管理信息系统对工期进行全方位管理。
2.制定派生计划
工程的进度管理是一个综合的系统工程,涵概了技术、资源、资金、质量检验、安全检查等多方面的因素,因此根据总控工期、阶段工期和分项工程的工程量制定出技术保障、物资采购、设备订货、劳动力资源、机械设备资源等派生计划,是进度管理的重要组成部分,按照最迟完成或最迟准备的插入时间原则,制定各类派生保障计划,做到施工有条不紊、有备而来、有章可循。
四、技术工艺的保障
1.编制有针对性的施工组织设计、施工方案和技术交底
“方案先行,样板引路”是我公司施工管理的特色,本工程将按照方案编制计划,制定详细的、有针对性和可操作性的施工方案,从而实现在管理层和操作层对施工工艺、质量标准的熟悉和掌握,使工程施工有条不紊的按期保质地完成。施工方案覆盖面要全面,内容要详细,配以图表,图文并茂,做到生动、形象,调动操作层学习施工方案的积极性。
2.采用流水施工
项目根据工程工期要求和阶段目标要求,根据三级网络计划安排,采用流水施工方式进行组织施工。节拍均衡流水施工方式是一种科学的施工组织方法,其思路是使用各种先进的施工技术和施工工艺,压缩或调整各施工工序在一个流水段上的持续时间,实现节拍的均衡流水,在实际施工中,我公司将根据各阶段结构形式、工程量以及季节的不同,采用混凝土外加剂,增加资源投入,加强协调管理等措施满足流水节拍均衡的需要。
3.广泛采用新技术、新材料、新工艺
先进的施工工艺、材料和技术是进度计划成功的保证。投标人将针对工程特点和难点采用先进的施工技术和材料,提高施工速度,缩短施工工期,从而保证各里程碑工期目标和总体工期目标。例如:在钢筋工程中将采用电渣压力焊,确保接头强度,提高连接可靠性,加快施工速度;在模板支承材料中采用碗扣式钢管脚手架,便于支承与拆卸,加快施工进度。
五、资金的保障
工程进度款的到位是否及时将在很大程度上影响着整个工程的施工进度,为此我们必须保证工程款的专款专用,确保合同和施工计划的严肃性、必要性,我们将全力支持该项目。我方将严格遵照合同条款要求,在每月25日前做好工程进度报表,经监理单位审核后汇总给甲方。财务预算部门将根据资金情况编制详细的资金使用计划,以确保工程的人工、机械、材料等其它费用的日常开支,保证不拖欠民工的工资,保证工程总进度计划。必要时我方也积极协助甲方,帮助甲方解决资金困难,保证工程计划进度。
六、劳动力、物资的保障
公司将协调在全公司范围内的人力、物力绝对保证该项目的投入。
七、总包管理的保障
工作程序、管理制度、配套计划构成了完善的计划管理体系。完善工作程序,建立管理制度是进度计划管理的重要工作内容。
1.立足于总承包商地位,发挥综合协调管理的优势
投标人将立足于总承包商的地位,以合约为控制手段,以总控计划为准绳,调动各分包商的积极性,发挥综合协调管理的优势,确保各项目标的实现。
2.建立例会制度保证各项计划的落实。
投标人将建立如下的会议制度。每日早8:30召开经理部各部门负责人会议,协调内部管理事务;每日下午3:00召开有分包、监理共同参加的生产例会,总结日计划完成情况,发布次日计划;每周一召开经理部、业主、监理三方例会,分析工程进展形势,互通信息,协调各方关系,制定工作对策。通过例会制度,使施工各方信息交流渠道通畅,问题解决及时。投标人还将建立工期奖罚制度,工序交接检查制度,施工样板制,塔吊使用申请平衡制度,材料堆放申请制度,总平面管理制度,日作业计划和材料日进场平衡制度。
3.根据不同阶段加强现场平面布置图管理
投标人将根据土方、基础、结构、装修等不同阶段的特点和需求设计现场平面布置图,平面图涉及现场循环道路的布置、各阶段大型机械的布置、各阶段材料堆场等方面的布置。各阶段的现场平面布置图和物资采购、设备订货、资源配备等辅助计划相配合,对现场进行宏观调控,在施工紧张的情况下,保持现场秩序井然。现场秩序井然是施工顺利进行和保证工期的重要保证之一。
4.加强与社会各界的协调
在施工过程中影响生产的因素很多,投标人将建立工程协调部,加强对公安交通、市政、供电供水、环保市容等单位的协调,进一步保证施工生产正常进行。
5.加强业主、监理、设计方的合作与协调
投标人将通过在现场业主、监理以及专业分包商之间加强现场内部参战各方的配合与协调,使现场发生的技术问题、洽商变更、质量问题以及施工报验等能够及时快捷地解决。
八、抢工措施
1.加强机械投入和周转材料投入及材料供应
因本工程平面工作量较大,加强机械设备和周转材料的投入,直接关系到整个工期的实施和各项工程、操作及工期的提前。因此,本工程在A8、A9#楼基础施工阶段必须精心组织施工,及时配合业主方办好基坑施工方面所需的各种手续(包括基坑设计方案及施工方案),配备相应专业施工机械和足够的劳动力,确保基础及地下室施工在100日历天内完成。结构阶段配备一台塔吊。模板配足二层用量以利于施工周转,加强材料采购计划,编制各时期各种材料、货源及供应计划,及时订货,及时到位。
2.充分利用空间作业,加班加点
2.1实行科学施工现代化管理方法,实行弹性的工作时间,充分利用加班时间作业,提高工作效率,加快施工速度。
2.2采用按施工段分块齐头并进和提前插入相结合,各工种之间做到提前穿插。
2.3除春节休假外其余节假日不休息,混凝土浇捣采用连续施工方法。
2.4加大劳动力投入,并加大机械设备投入,减少劳动强度。
3.推广使用新技术、新工艺、新材料
建设部重点推广应用的10项新技术,包括了新技术、新材料、新工艺。应用量大,适用范围大,具有较好的推广使用价值。在本工程施工中我公司将特别推广使用高效钢筋和粗直径钢筋连接技术、应用大模板早拆体系、外脚手架应用技术,建筑节能和新型墙体应用技术、新型防水技术、聚氯乙烯塑料管应用技术,现代管理技术及计算机应用等几项新技术,确保高质、高效、高速完成本工程的施工任务。
4.选择科学合理的施工方案,安排切实可行的施工顺序
先进、科学的施工方案、合理周密的施工顺序是确保施工进度的关键,根据本工程结构特点,以土建为主,带动水、电、暖通、消防工程同步施工。以主体结构为主工序,水、电、暖通、消防安装及装修施工实行平面流水立体交又作业。
5.材料供应保证措施
5.1材料采购采用多渠道,提早联系,本工程需用的材料,必须符合本工程的质量要求。
5.2适量采购价格适宜,质量又符合要求的材料。
5.3材料采购人员必须灵活机动,特事特办的原则。
5.4材料采购人员必须责任性强,思想品德过硬。实行今天的事今天办为原则,确保本工程及时供应材料。
九、各施工阶段具体工期控制措施
1.钢筋工程工期控制
(1)根据本工程的钢筋工程量,配备足够的钢筋加工机械,同时根据本工程的施工总平面图要求,选择最佳的钢筋加工场地,减少钢筋成品的搬运次数。
(2)在钢筋加工之前,必须按图纸由钢筋翻样组事先提供钢筋配料单,由技术员进行复核,确保不致因钢筋错配、漏配对其他施工班组产生影响从而延误本工程的总体进度。
(3)根据施工图纸及工程进度,优化钢筋施工方案,减少现场接头作业量,使钢筋工程和其它施工工序能够顺利搭接。
(4)采购部门必须确保钢筋原材料按时提供到场,现场施工必须配备足够的工作人员,明确自己的岗位职责,使下道工序按计划进行。
(5)提高钢筋安装质量,确保钢筋验收一次性通过。
2.模板工程工期控制
(1)在结构施工中,合理运用新技术、新工艺,加快施工速度。
(2)模板分段施工,配备足够的周转材料及模板、木工,确保工程的连续进行。
(3)采用工具式大模板,优化模板施工工艺,使上下工序顺利搭接。
(4)柱模、平台模、梁模板等,应分类放置,模板应按施工图和木工翻样图进行施工。
3.砼工程工期控制
(1)现场配备足够的水泥、砂、石子,使混凝土的搅拌能连续进行。
(2)配备足够的砼水平运输和垂直运输设备,强化砼施工方案,使砼施工和其它工序顺利搭接,避免窝工。
(3)配备足够的砼施工人员,确保在每一施工段施工时连续进行。
(4)组织分层分段浇筑,以砼浇捣为主线,确保计划控制时间。
4.装饰工程工期控制
(1)尽早联系确定装饰施工队伍,落实作业班组。
(2)与设计院、建设单位、监理公司协商,尽早确定装饰施工方案。
(3)尽早联系确定装饰材料的厂家及供货商。
5.对安装等专业工程工期控制
(1)优化安装等专业施工方案,使各工序顺手搭接,管线预埋在土建施工中同步进行,土建总包为各专业安装单位留出相应的工作面,确保工程顺利进行。
(2)根据施工总进度计划,编制各单位安装施工进度计划。
(3)每周定期召开各单位参加的工程例会,落实协调会的计划进度,及时协调解决安装与土建出现的矛盾及各种问题。
(4)加强安全管理和质量管理工作,建立安全生产保证体系和质量保证体系,建立定期的安全活动制度,经常对各施工单位进行安全和质量方面的教育工作,发现问题及时纠正,避免出现返工、返修、窝工,防止重大伤亡事故的发生。
(5)各专业安装工程均应跟随土建工程同步进行。
(6)对安装工程所用的材料、设备加强计划性管理,编制设备、材料进场时间,对业主提供的特殊设备材料同样进行验收,并将验收情况24小时内用书面通知业主,对其他设备材料定向定型采购订货,确保供应的及时性,减少浪费和延误工期。
6.交叉作业措施
土建工程中泥工、木工、钢筋工、砼工、吊装工、测量工、机电修配工、架子工、装修工、防水工及机具和周转材料等的管理协调配合非常重要。在实施平面流水立体交叉的作业过程中必然会有诸多的矛盾,必须做到事先预控——做好充分的计划准备工作。事中协商——管理人员深入现场及时协调解决矛盾,决不推诿;事后总结经验教训,及时调整部署。做好多班组交叉作业的协调工作,应紧紧围绕“人、机、料、法”(即班组劳动力、机具设备、工程材料和周转材料、施工方法)的调度,尤其是每周开好协调会议并作出会议纪要实施之。
十、针对本大型工程加快进度专项技术措施
本工程为住宅建筑,工程进度的提前可以尽早地发挥作用。我们认为,加快进度在保证质量的前提下,通过合理安排施工顺序、协调施工部署、积极采用先进成熟的新技术等手段是可以实现的,这在本施工组织设计中都可得到体现。根据本工程的进度要求和工程结构、场地情况,从关键重点来看,可以从基础、结构和装饰工程三个关键部位的施工部署上加快工程进度。
1.加快基础阶段施工措施
(1)施工中尽量多投入施工人员在此区块加紧作业,而不影响整个基础工程的进度。
(2)土方开挖好立即施工混凝土垫层,安排机械与劳动力抢先把已挖出完成区块的垫层及砖胎膜抢上来,尽快施工基础结构。
2.加快结构工程施工措施
投入足够的劳动力和设备保证结构施工按期完成。
3.加快装饰工程施工措施
装饰阶段配备足够的装饰施工班组开展工作,确保装饰工程在进度目标内提前完成。
4.深化设计的及时性、准确性和前瞻性
本工程用户、业主要求高,功能多,定位标准高,而根据本工程特点相关设计内容,将随专业分包工程招标和机电设备采购工作的进度,分阶段提供或调整。其设计不可预见和变化性很大,在如此短的时间内完成巨大的工作量,且很多节点是边施工边设计,因此对总包的设计深化要求相当大,其深化的及时性、准确性和前瞻性直接影响进度、质量、成本乃至业主的利益。
5.垂直运输设备的保证
垂直运输的性能是否达到要求,数量是否满足需求,将对施工产生直接的影响。在本工程结构施工阶段布置一台塔吊及一台施工井架,确保垂直运输能力能满足施工需要。
6.广泛采用新技术、新材料、新工艺
先进的施工工艺、材料和技术是进度计划成功的保证。我公司将针对工程特点和难点采用先进的施工技术的材料,提高施工进度,从而保证各里程碑工期目标和总体工期目标。
第八章 安全生产措施
一、安全生产的管理目标
本工程的安全生产目标:杜绝发生死亡事故,工伤事故发生率控制在3%以下。
二、安全生产保证措施
参加施工的全体人员,必须树立“安全第一,预防为主”和“安全为生产,生产必须安全”的思想,从工程开工到竣工,都必须严格执行国家有关安全法规及公司和建设单位的安全生产规章制度,必须认真执行企业的有关安全规定和要求,施工作业人员要按照公司制定的《安装工人安全技术操作规程》进行施工作业。不违章作业,消除一切事故。
1.安全生产保证体系
在本工程的施工进程中,成立以项目经理为主管,安全员为具体负责,分项施工员具体落实的安全保证体系,确保在本工程施工进程中不出安全事故。
| 公司安全管理部门 | ||||||||||||||||||||||
| 公司机械化施工公司 | ||||||||||||||||||||||
| 项目经理 | ||||||||||||||||||||||
| 安全员 | ||||||||||||||||||||||
| 专业分包 | 泥工班 | 木工班 | 砼工班 | 钢筋班 | 架子工班 | 机工 | 电工 | |||||||||||||||
2.安全防护和制度
①严格执行班前安全制度,认真执行书面安全交底的规定,针对作业条件、天气条件、施工进度等进行准确地、有针对地安全技术交底,并履行交底和被交底人的签字手续。
②参加施工的作业人员,必须先进行三级安全教育和考试,合格后方准进场作业。
③进入施工现场,必须严格执行“六大纪律”和“十项措施”,正确使用安全帽和个人防护用品。
④高处作业,严禁向上或往下抛掷工具、材料和其他物品。
⑤梯子不得缺档、垫高使用。使用时上端要扎牢,下端要采取防滑措施。单面梯与地面的夹角以60~70度为宜,使用人字梯时,中间要用牢固的绳索连接,禁止二人或二人以上在同一梯上作业。
⑥在2m以上(含2m)高处作业,必须搭设防护严密的操作平台,否则,必须使用安全带。
⑦特种作业人员,必须持证上岗,严禁无证上岗作业。
⑧进行吊装作业时,应设专职起重指挥,起重扒杆和吊装物件下,严禁站人,无关人员不得进入区域。吊装区域必须设置警戒和警示牌。
⑨施工现场必须悬挂醒目的安全标志牌和警示牌。
⑩对施工现场和设备、容器等安装现场的“四口”,做好防护工作,防止人员坠落伤亡。
3.施工现场临时安全用电
①施工现场临时用电必须严格执行《施工现场临时用电安全技术规范》,并设置安全型配电箱。
②各种电动施工机械设备,必须设有可靠的安全接地或接零,施工机械的传动部位必须装有防护罩。
③手持电动工具必须设触(漏)电保护器。
④夜间施工,必须保证足够的照明设施。在沟、槽、坑、洞及危险设红灯示警,以防止人员伤亡。
⑤照明灯具必须悬挂在干燥、安全、可靠处,严禁随意设置。
⑥在潮湿场所或金属容器管道内的照明电源,必须使用36V以下(含36V)的安全电压。
4.动火
①在非禁火区或固定动火动区内动火,应按建设单位的动火规定进行。
②在易燃、易爆的楼房、管道、设备和禁火区危险场所动火作业,必须按甲方的规定,先申请办理“动火证”,同时,由甲方有关人员进行气体分析合格下同意并派动火监护人到场监护后,方准动火。否则,禁止动火作业。
③动火负责人(施工负责人)、施工员必须认真检查“动火证”填写内容是否符合动火现场的实际情况,发现“动火证”内容有不完整的方面,必须及时向“动火”签发部门提出,严禁盲目施工。
④在危险场所高处焊割作业,要采取防止火花飞溅的措施,遇有六级以上(含六级)大风时,应停止作业。
⑤对动火点的易燃物品,在动火(焊割)前应清理干净。
⑥对沾有易燃、可燃的材料、设备,动火(焊割)前应冲洗干净。
⑦动火作业必须严格按照“动火”所规定的时间进行,不准延长作业时间,延长作业时间必须另办手续。
⑧“动火证”要妥善保管,不准随意涂改、转让或转移动火地点。
⑨动火地点应有灭火器材、监护人员,动火完毕,待火种熄灭并检查确认后,方可离开现场。
5.冬、雨季施工
①遇有雨、雪、霜、冻天气,作业前应将水、雪、霜、冻、冰及时清理干净,同时采取防滑措施。
②遇有六级以上(含六级)大风时,禁止吊装作业和高处作业。
③施工现场以及存放易燃、易爆物品的设施内,严禁烤火或使用电炉,防止火灾事故的发生。
④雨天作业,与现场焊接要设有防雨防风设施。
6.安全管理
①各级施工管理人员,对施工现场的安全生产负责指导、管理责任。必须认真执行《国营建筑企业安全生产工作条例》和公司《安全生产奖惩条例》。
②教育职工不违章作业,遵守公司和建设单位的安全管理规章制度。
③各级施工负责人应按规定组织有关人员对所负责的施工现场进行安全检查,发现隐患,必须及时组织人员进行整改。
④将工程(单位)的现场安全生产管理,纳入公司的安全管理轨道并执行公司安全管理规定。
三、施工机械安全技术措施
1.塔吊
①工作前检查转动的部分润滑油量,钢丝绳磨损情况及各种安全装置,如有不符合要求的,应及时调整。
②严格按额定起重量起吊,不得超载,也不准吊运人员,拔除地下埋物。
③司机必须得到指挥信号后,方可进行操作。
④操作各控制器时,应依次逐级操作,严禁越档操作,变化运转方向应先转至零位,严禁急开急停。
⑤当吊钩提升接近臂杆顶部,小车行至端点时,应减速缓行至停止位置。吊钩距臂端顶部不得小于1米。
⑥提升重物后严禁自由下降,平移时应高出超越障碍物0.5m以上。
⑦当吊机出现异常情况时,应及时停车,将重物放下,切断电源,找出原因,排除故障后才能继续工作。
⑧工作休息或下班时不得将重物挂在空中。
⑨大雨、大雾或6级以上大风天气,塔吊应停止运行。
⑩塔吊服务范围内的临设均需搭设双层防护棚。
2.井字架
①地基应浇筑砼基础,承载能力大于150KN/m2。
②单独安装接地保护和避雷接地装置。
③导轨架安装的不垂直度,不得超过其高度的万分之五,最低附壁点高度附壁点间距,顶端自由高度不得超过产品的规定。
④夜间施工时,必须在全行程上设置足够的照明和明亮的层站编号标志灯具。
⑤使用前,对井架的安全装置必须进行全面检查,以确保其安全、灵敏、有效。
⑥笼内荷载应均匀分布,防止偏重,严禁超载。
⑦电梯未切断电源以前,严禁操作人员离开岗位。
⑧运行中发现异常情况应及时停车,排除故障。
⑨大雨、大雾及6级以上大风等恶劣天气应停止运行,并降至底层,切断电源。
3.挖掘机
①作业时,挖掘机履带应距工作面边缘至少保持l—1.5米距离。
②不得用铲斗破碎石块,或用单边斗齿口硬啃。
③铲斗未离开工作面时,不得作行走、回转等动作。
④回转制动应用回转制动器,不得用转向离合器反转制动。
⑤装车时,不得碰撞汽车任何部分。
⑥操作人员离开驾驶室时,必须将铲斗落地。
⑦行走时,严禁在坡道口变速成空档滑行。
4.砼搅拌机
①传动机构,工作装置和制动器等均应紧固可靠,保证正常工作。
②骨料规格应与搅拌机的性能符合,超过许可范围的不得使用。
③进料时严禁头部伸入料与机架之间察看情况,运行中不得用手或工具伸入筒内扒料。
④向搅拌筒内加料,应在运行中进行。
⑤因出现故障不能继续运行时,应立即切断电源,将筒内的砼清除干净后进行修理。
5.砂浆搅拌机
①搅拌机的转动工作和防护装置应安全可靠。
②运转中不得用手或木棒等伸入筒内或筒口清理灰浆。
③因发生故障而不能运转时,应立即切断电源,将砂浆倒出后进行检修。
6.钢筋切断机
①接送料台应和切刀下部保持水平。
②机械未达到正常转速时不得切料。
③不得剪切直径和强度超过机械铭牌规定的钢筋和烧红的钢筋。
④一次切断多把钢筋时,其总截面积应在规定的范围之内。
⑤切断短料时,手和切刀之间应保持在150mm以外,手握端小于400时,应使用夹具。
⑥严禁用手直接清除刀片附近的断头和杂物,非操作人员不得在钢筋摆动范围和切刀附近停留。
⑦发现机械运转不正常,有异响等情况,应及时停机修理。
7.圆盘锯
①锯片上方必须设置保险档板和滴水装置。
②锯片不得连续缺齿2个,裂纹长度不得超过20。
③夹持锯片的法兰盘直径应为锯片直径的1/4,被锯木料的厚度应以锯片能露出木料10-20为限。
④操作人员不得站在和面对锯片离心力方向操作,手不得跨越锯片。
8.自卸汽车
①保持顶升液压系统完好,不得有卡阻。
②配合挖掘作业时,就位后应拉紧手制动器,铲斗必须超过驾驶室装料时,驾驶室内不得有人。
③车辆必须与坑边保持安全距离,防止塌方翻车。
④卸料后,车箱必须及时复位,不得在卸料情况下行驶。
⑤严禁在车箱内站人。
⑥车箱顶升后进行维修、润滑等作业时,应将车箱支撑牢固后,方可进入车箱下面工作。
四、分项工程安全技术措施
1.基坑工程
最后一次挖土过程,一定要注意桩顶,尽量避免挖机碰撞桩顶。
在人工修土过程,边修土边进行块石垫层及砼垫层施工。
2.模板工程
本工程需要大量的木模及钢管。因次我们将在施工前编制详细的模板技术专项方案,对施工阶段模板支撑的受力性能进行计算分析,设计合理的支承系统及局部的加固措施,并对施工人员进行技术交底。在施工过程中施工员和安全员应经常检查支撑和模板的安全状况,并用测力器检查夹具的夹紧程度。以保证模板支撑在砼浇捣时的安全。模板工程安全注意事项如下:
①进入施工现场人员必须戴好安全帽,并应系好帽带。
②工作前应先检查使用的工具是否牢固,板手等工具必须用绳链系挂在身上,钉子必须放在工具袋内,以免掉落伤人。工作时要思想集中,防止钉子扎脚和空中滑落。
③安装与拆除5m以上的模板,应搭脚手架,并设防护栏杆,防止上下在同一垂直面操作。
④复杂结构模板的安装与拆除,事先应有切实的安全措施。
⑤雪霜雨后应先清扫施工现场,略干不滑时再进行工作。
⑥二人抬运模板时要互相配合,协同工作。传递模板、工具时应用运输工具或绳子系牢后升降,不得乱抛。组合钢模板装拆时,上下应有人接应。钢模板及配件应随装拆随运送,拆模时,应有专人指挥。并在下面标出工作区,用绳子和红白旗加以围栏,暂停人员过往。
⑦不得在脚手架上堆入大批模板等材料。
⑧支撑、牵杠等不得搭脚手架上。通路中间的斜撑、拉杆等应设在1.80m高以上。
⑨支模过程中,如需中途停歇,应将支撑、搭头、柱头板等钉牢。拆模间歇时,应将已活动的模板、牵杠、支撑等运走或妥善堆放,防止因踏空、扶空而坠落。
⑩模板上有预留洞者,应在安装后将洞口盖好,混凝土板上的预留洞,应在模板拆除后即将洞口盖好。
⑾拆除模板一般用长撬棒,人不许站在正在拆除的模板上。
⑿在组合钢模板上架设的电线和使用电动工具,应用36V低压电源或采取其它有效的安全措施。
⒀装、拆模板时禁止使用2×4木料、钢模作立人板。
⒁向坑内运输模板、夹具时,应从坡道上运输,不许站在墙上工作,不准乱丢,操作人员严禁穿硬底鞋及高跟鞋作业。
⒂拆除模板时,作业人员要站立在安全地点进行操作,防止上下在同一垂直面工作;操作人员要主动避让吊物,增强自我保护和相互保护的安全意识。
⒃拆模必须一次性拆清,不得留下无撑模板,拆下的模板要及时清理,堆放整齐。
3.钢筋工程
①展开盘圆钢筋要一头卡牢,防止回弹。
②拉直钢筋时的卡头要卡牢,地锚要牢固,拉筋沾线两米范围内禁止人员通过。
③钢筋应分堆,规整堆放,避免乱堆和叠压。
④高大钢筋骨架应设临时支撑固定,以防倾倒。
⑤使用切断机断料时,不能超机械的负荷能力。
⑥上机弯曲长钢筋时,应有专人扶持,并站于弯曲方向的外面,调头弯曲时,应防止碰撞人、物。
⑦调直钢筋时,在机械运转过程中不得调整滚筒,严禁戴手套操作,调下到末端时,人员必须躲开,以防钢筋甩开伤人。
4.砼工程
①用井架运输时,小车把不得伸出吊笼外,车轮前后要挡牢。
②砼料斗的斗门在装料吊运前一定要关好卡牢,以防止在吊运过程中被挤开抛卸。
③浇筑柱砼时,应搭操作台,不得站在模板或支撑口操作。
④有倾倒危险的浇筑作业应采取相应防护措施。
⑤使用振动棒时,应穿胶鞋,湿手不得接触开关,电源线不得有破皮漏电。
⑥振捣过程中,发现模板撑胀,变形时应立即停止作业并及时处理。
5.外架脚手架安全技术措施
5.1普通外脚手架安全技术措施
①按照规定的构造方案和尺寸进行搭设。
②注意杆件的搭设顺序。
③及时与结构拉结或采用临时支顶,以确保搭设过程的安全。
④拧紧扣件,派专人检查紧固程度。
⑤搭设工人必须佩挂安全带。
⑥随时校正杆件垂直和水平偏差,垂直全高不得超过10cm,水平不大于5cm。
⑦没有完成的脚手架,在每日收工时,一定要确保架子稳定,以免发生意外。
⑧在拆卸时应划出工作区标志,禁止行人进入。
⑨严格遵守拆除顺序,由上而下,后绑者先拆,先绑者后拆。先拆栏杆、脚手板、剪力撑,而后拆小横杆、大横杆、立杆等。
⑩统一指挥上、下呼应,动作协调,当解开与另一人有关的结扣时应先告知对方,以防坠落。
⑾材料工具用滑轮和绳索运送,不得乱扔。
⑿所有扣件、钢管、安全网有合格证。
⒀分段搭设、分段验收。
⒁四角设直接地保护措施及避雷措施,并有测试记录。
⒂专人定期进行沉降观察,发现问题及时采取相应措施。
⒃工地定期进行检查,台讯期间加强防范。
⒄不准在脚手架上大量堆放钢模、钢管。
⒅严禁脚手架外攀高上下,严禁在脚手架抛物。
⒆带电线路如无安全措施,一律不准通过脚手架。
⒇严格控制脚手架上的施工荷载,砌砖时,不大于250kg/平方米,即标准砖不超过单行侧放三侧高,只允许在两步架上同时施工,粉刷时不大于200kg/平方米,只允许在三步架上同时施工。
6.砌体工程安全技术措施
①砌砖基础时,应经常检查基坑边坡土质变化情况,堆放砖石材料应离开坑边1米以上。
②脚手架上堆放量不得超过规定荷载。堆砖高度不得超过三皮,同一块脚手板上的操作人员不应超过二人。
③严禁站在墙顶上做划线、刮缝及清扫墙面或检查大角垂直等工作。
④严禁用不稳固的工具或物体在脚手板面垫高操作。
⑤砍砖时应面向内打,注意碎砖跳出伤人。
⑥砖运输车辆前后距离平道上不小于2m,坡道不小于l 0m,装砖时先取高处,后取低处,防止垛倒砸人。
⑦冬季施工时,脚手板上如有冰霜、积雪,应先清扫后再进行操作。
⑧如遇雨天,要做好防雨措施,以防雨水冲走砂浆,砌体倒塌。
⑨同一垂直面内上、下交叉作业时,必须设置安全隔板。
⑩砌体上不宜设缆风绳,不宜吊挂重物,也不宜作为其他施工临时设施,支撑的支承点。
五、施工现场防火及消防措施
1.项目经理是工地防火第一责任人,应层层落实防火责任制,并设专职或兼职消防员,行使对施工人员的防火监督职能。建立防火档案和不小于职工总数10%的义务消防队,要有教育培训计划和管理制度,每月经常开展活动,并有记录。
2.按施工区域层次划分动火级别,落实持证上岗,动火审批制度,动火审批人必须实地查看现场,并提出防范要求才能签发动火证,电梯井、管笼等处动火必须有明火监控管理,做好专职防火监护员监护工作和防止火星下落的措施。
3.办公室、在建工程楼层的每个层面的走道和扶梯口,竹笆脚手架的上下通道处和电梯通道口,成双悬挂6升规格的合成清水或合成泡沫灭火机,每100平方米建筑面积平均不少于两只。
4.严格执行危险品押运制度,易燃物品必须在运离木库、竹库等30M以外的通风、阴凉处不燃材料搭设专用仓库。氧气和乙炔仓库分别设置,间距大于5M,危险品库外设禁火标志和制度牌。管理员应持证上岗,一般配备2~5只3~5公斤的二氧化碳灭火机。氧气瓶不得碰油脂,乙炔瓶竖立使用;氧气瓶、乙炔瓶的存放间距应大于5M,回火防爆装置等完好,气管接口用专用类具,夏季露天使用时应有遮挡。
5.配电间应用不燃或阻燃材料搭设,悬挂禁火标志和防火制度牌,以每50平方米建筑面积不少于4只的数量配备6升规格合成泡沫式灭火机和落实消防水源。灭火机每月测量一次,当减少原重1/10,应充气。
6.严格易燃、易爆物品使用制度,随领随用,做好落实手清工作。易燃物品应及时清出楼层,集中归堆,落实防火制度。
7.配电间及其他集中用电器处,配二氧化碳或1211型灭火机,不得放置合成清水或合成泡沫型灭火机。
8.施工现场严格控制使用电加热器,如情况特殊须使用,必须按规定办理审批登记手续。经批准允许使用的电加热炊具,应集中在指定的安全地点使用,架设专用电线,落实防火安全措施,并指定专人负责管理。
六、施工用电安全措施
1.安全用电技术措施
①定期测定接地电阻、电气设备及漏电保护器,并作记录。
②电气设备的设置、安装、防护、操作、使用与维修必须符合《施工现场临时用电安全技术规范》的要求。
③严格做到一机一闸一保护,并且合理使用熔丝。
④所有电气设备都必须做好保护接零,本工程采用TN-S系统即三相五线制保护接零、总配电箱、分配电箱、塔吊保护零线进行重复接地,接地电阻必须达到4欧姆以下,塔吊保护接零与防雷接电线贯通,并重复接地,做好PE专用线保护零。
⑤认真做好工作记录,做到定期不定期检查,发现问题及时整改,确保工地用电安全。
⑥上岗前,对工地内所有用电、配电设备进行检查,严格做好上下岗前交接班制度,遇到雷、雨、雪等坏天气时,加强电气设备检查。
⑦所有电线必须用绝缘子固定,严禁使用铁丝绑扎。
⑧本工程对所有配电设备采取保护接零,并设三级漏电保护(总配电箱、分配电箱、电气开关箱)漏电动作电流分别为200mA、75mA、30mA。
⑨所有配电箱均标明名称、用途,并作出分路标记,所有配电箱、开关箱均配锁,并由专人负责。
⑩工地现场所有配电箱半个月进行一次检查,现场每天上班之前检查一遍。
⑾检查人员必须是专业电工,检修时必须将前一级的相应电源开关分闸断电,并悬挂标示牌,严禁带电作业,禁止带负载断电。接地线做到有关倒闸操作规范,检修时必须做到:
①停电;②悬挂停电标示牌,挂接必要接地线;③由相应级别的专业电工检修;④检修人员应戴绝缘鞋和手套,使用电工绝缘工具;⑤有统一组织和统一指挥。
⑿停用电气设备,必须拉闸断电,并锁好开关箱。
⒀电气设备操作人员负责保护好所有使用的设备、开关箱,发现问题及时报告现场负责人及现场电工。
⒁带电导线必须绝缘良好,带电导线上严禁搭、挂、压其它物体。
⒂搬迁或移动电气设备,必须经电工切断电源、并作妥善的处理后进行。
⒃电气装置内部及其周围邻近区域不得放杂物等,保证配电安全。
⒄熔断器的熔体更换时,严禁不符合原规格的熔体代替。
⒅严禁线路两端用插头连接电源与用电设备或电源与下一级供电连接。
⒆现场电工除做好规定的定期检查外,平时必须对电气设备勤巡查,发现安全隐患立即消除,对上级发出安全用电整改通知书,必须彻底整改。
⒇对各类用电人员进行安全用电基本知识培训。
2.安全用电组织措施
①建立临时用电施工组织设计和安全用电技术措施的编制、审批制度,并建立相应的技术档案。
②建立技术交底制度,安全检测制度,电气维修制度、工程拆除制度、安全检查和评估制度、安全用电责任制并建立安全教育培训制度,强化安全用电领导体制,防止事故发生。
3.电气防火措施
①合理配置、整改、更换各种保护电器,对电路和设备的过载、短路故障进行可靠保护。
②在电气装置(配电箱、开关箱等)和线路周围不堆放易燃、易爆和强腐蚀介质,不使用火源。
③在配电间、电气装置集中的场所配置绝缘灭火器材等,合理设置防雷装置。
④施工现场办公室、临时宿舍严禁使用“三炉一灯”即电炉、煤炉、明火炉、碘钨灯或其他不符合要求的电热设备。
⑤建立电气设备防火责任制,加强电气防火重点场所烟火管制,并设置禁止烟火标志,建立各种防火制度,发现问题立即予以处置。
⑥电工要勤巡查,发现问题负载或其它隐患时立即予以消除,严禁配电设备过负载或带病运转,保证施工用电安全。
七、作业区管理计划
①施工现场进行封闭式管理,利用原有围墙,进行文明标化宣传布置。
②生活区与作业区用围墙及绿化带隔开。
③施工现场醒目位置设一图五牌(施工现场平面布置图、工程概况牌、安全生产、六大纪律牌、十项安全技术措施牌、安全生产记录牌、防火责任制牌)。
④施工现场全部采用硬地坪施工,工地内道路畅通平坦、整洁,场内设排水系统,场内积水洼地及时填平,杂物及时清除,定时进行场地洒水防尘。
⑤所有施工现场专业管理人员应佩证上岗,必须正确戴安全帽,严禁赤脚、穿高跟鞋、喇叭裤、裙子上岗。有危险施工区域必须及时设立示警区,并采取警戒措施。
⑥建筑材料及周转材料严格按平面图分类堆放,堆放整齐,堆放不超标,堆料场地不作他用,仓库间有材料收发管理制度。
⑦在结构、安装、装饰等各施工阶段产生的建筑垃圾由专人定期对建筑物四周进行清理,并将建筑垃圾运送到指定位置,各班组也要做好落手清工作,随做随清,物尽其用。
⑧基础土方外运时,车辆不超载,运出前进行拍土,对车轮进行清理。
⑨并按环保部门要求,办理夜间施工许可证手续。
第九章 文明施工、环境保护措施
为了能在施工过程中,把对周围环境的影响降低到最低程度作为重点考虑对象,我们必须在本工程的建设过程中,更进一步地加强文明施工、认真做好施工现场的环境保护及管理工作,制订一系列的文明施工、环境管理方面的方案落实到施工过程中,从而也能体现我公司环保施工的新理念,营造良好的施工环境,展示公司施工现场的新风貌。我公司将切实承担起总包职责,加强对土建及各专业分包方文明施工的管理,采取有力的环境保护措施,将施工对周围环境的影响降低到最低程度。
一、文明施工措施
1.场容场貌
(1)施工现场生产区、办公区、材料堆场全部采用砼硬化地坪,做到整洁,在施工中保持畅通。现场设排水沟,做到无积水、无滴流水和长流水现象,外架第一步、楼梯扶手栏杆、临边防护栏用油漆漆好,外架立杆四周设排水沟,用砖砌好,水泥砂浆粉刷。
(2)围墙高度2米以上刷白做压顶;墙面书写安全生产、文明施工标语;工地大门为铁门,用钢管和铁皮封闭焊接,油漆漆好,高3米,宽6米对开。大门正面写公司全称,大门两侧写安全生产文明施工标语,大门顶部采用拱形写“进入施工现场必须戴安全帽”。进入大门左侧挂设一图五牌,张挂牢固。
(3)现场保持场容场貌整洁,物料堆放整齐,归类堆放,做到材料有分类标识,施工区域和生活区域分隔。施工现场管理人员和作业人员佩戴证明其身份的证卡。
(4)做好落手清工作,施工现场始终保持清洁。现场内、施工楼层、外脚手架上做到及时清理,外脚手架底部做到用砼硬化处理。
2.生活卫生
(1)按施工组织设计的内容和位置设置生产、办公设施。建立健全工地的各项卫生制度。做到有专职人员负责。
(2)现场设置办公室和会议、活动室,室内卫生整洁,办公用品摆放整齐、有序。内外粉白,吊平顶。内外书写文明施工、安全生产标语。
(35)仓库按标准搭设,有仓库管理制度,材料有标识,材料进出有帐目,仓库保持清洁。
(4)施工现场设置茶水亭,按标化的要求设置,有消毒措施。
(5)现场设水冲式男女厕所,内外粉白,大小便槽贴面砖。厕所有专人清扫,有卫生保洁制度,并做到定期消毒、清理。
3.消防管理
(1)施工现场建立消防管理制度,建立消防小组。落实责任制和责任人,做到思想重视、措施跟上、管理到位。
(2)定期对有关人员进行消防教育,落实消防措施。
(3)临时设施按消防条例有关规定搭设,做到标准、规范。
(4)办公室、仓库、木工间、施工楼层按规定设置灭火器和消防砂箱,对违反消防条例人人员进行严肃处理。
(5)施工现场动用明火做到严格按规定执行,审批手续齐全。
4.治安管理
(1)现场设置治安保卫管理员二名,专门负责治安保卫工作,并建立现场治安管理小组。认真落实施工现场的防火、防盗、防破坏及治安管理等安全措施。严禁赌博、偷盗、打架斗殴等扰乱正常生产秩序的行为,严格执行施工现场的治安保卫工作制度,经常开展以“四防”为内容的安全检查,消除隐患。
(2)进入施工现场的民工必须接受工前教育,做到文明施工、安全生产、遵守项目部各种规章制度和社会治安各项条例与,当地派出所及时联系,外来民工一律以身份证为依据,摘下身份证号码备案。现场施工人员必须四证齐全:即身份证、就业证、暂住证、计划生育证。
(3)加强各类物质的管理,施工现场使用的工具、油料、仪器设备、电焊(缆)软线等物质要严格管理,落实专人保管,防止被盗,对操作工人先进行三级安全教育培训,后上岗的原则,对外来劳务人员,必须坚持三证齐全,方可办理相关手续。
(4)项目部负责本工地的计划生育工作,根据有关计划生育管理条例的规定,进行控制,若没有计划生育证明卡则不予留用,坚决拒绝超生的妇女,杜绝违反计划生育的现象发生。
(5)加强门卫治安工作,施工人员(包括管理人员)佩带出入证,确保外来闲杂人员进入施工现场打扰工地经常施工。
(6)严格按照国家公安部公通字(1998)38号文和浙公通字(1998)307号文“关于重点建设项目治安保卫工作暂行规定”执行,切实作好现场治安保卫工作,保证工程正常施工。
5.对噪音、扬尘的防治和防扰民计划
我公司将具体与业主进行沟通,认真做好施工方的相关工作,具体对策如下:
3.1施工扬尘影响的对策
①天晴起风时,对弃土和场地洒水,防止扬尘。
②弃土外运时,不准超载,车辆驶出工地前,将车轮的泥土用水冲干净,以免沿途洒落。散装水泥桶使用时做好防尘保护措施。
③对附近道路实行保洁制度,一旦有弃土及建材撒落及时清扫。
3.2施工噪音影响的对策
①合理安排施工时间,晚上十点至次日早上六点,尽量不施工,某阶段无法避免夜间施工时,按环保要求,办好夜间施工许可证,但也不宜超过晚上十二点,影响周围人员休息。
②进场的施工机械尽量选用噪声分内低的机械或采取相应的降噪措施或在施工机具四周设声障。
3.3生活垃圾影响的对策
①生活废弃物每天清理外运,以免蚊蝇孽生,保证生活区清洁。
②加强对作业人员的素质教育,增强环境卫生意识。
3.4弃土及泥浆排放影响的对策
①将弃土泥浆运入指定的垃圾堆场。
②加强驾驶员的素质教育,严禁随路乱倒弃。
二、环境保护措施
1.工作目标
我们将依据ISO14001:1996环境管理标准,建立环境管理体系,制定环境方针、环境目标和环境指标,配备相应的资源,遵守法规,预防污染,节能减废,力争达到施工与环境的和谐,创建环境保护工作先进达标现场。
本工程中,我们将重点控制对大气污染、对水污染、噪音污染、废弃物管理和自然资源的合理使用等。在制定控制措施时,考虑对环境影响的范围、影响程度、发生频次、社区关注程度、法规符合性、资源消耗、可节约程度等。
2.组织管理
在项目经理部建立环境保护体系,明确体系中各岗位的职责和权限,建立并保持一套工作程序,对所有参与体系工作的人员进行相应的培训。
现场由项目经理挂帅,由项目主任工程师具体协调,下设文明施工管理员专职负责具体协调工作,生产、技术、质量、安全、消防等积极配合,同时要加强对操作人员的教育与培训。
3.工作制度
(1)每半月召开一次“施工现场环境保护”工作例会,总结前一阶段的施工现场环境保护管理情况,布置下一阶段的施工现场环境保护管理工作。
(2)建立并执行施工现场环境保护管理检查制度。每半月组织一次由各施工单位施工现场环境保护管理负责人参加的联合检查,根据检查情况按《施工现场环境保护管理检查记录表》评比打分,对检查中所发现的问题,开出“隐患问题通知单”,各施工单位在收到“隐患通知单”后,应根据具体情况,定时间、定人、定措施予以解决,投标人项目经理部有关部门应监督落实问题的解决情况。
4.管理规定
4.1防止对大气污染
(1)土方施工阶段,主要采取淋水降尘措施,基础土方场内不存放,回填时驳运土回填。
(2)在标高较高的建筑结构内的施工垃圾清运,采用搭设封闭式临时专用垃圾道运输或采用容器吊运或袋装,严禁随意凌空抛撒,施工垃圾应及时清运,并适量洒水,减少污染。
(3)现场内所有交通路面和物料堆放场地全部铺设混凝土方砖,硬化路面,做到黄土不露天。
(4)对运输车要加强防止遗撒的管理,要求所有运输车卸料溜槽处必须装设防止遗撒的活动档板,并必须清理干净后方可出现场。
(5)确定车辆出场专用大门,其它大门不准车辆出行,在出场大门处设置车辆清洗冲刷台,车辆经清洗和遮盖后出场,严防车辆携带泥沙出场造成遗撒。
4.2防止对水污染
(1)确保雨水管网与污水管网分开使用,严禁将非雨水类的其它水体排进市政雨水管网。
(2)现场基础降水的清洁水,在合理利用后,经导向管排入市政污水管线。
(3)现场交通道路和材料堆放场地统一规划排水沟,控制污水流向,设置沉淀池,将污水经沉淀后再排入市政污水管线,严防施工污水直接排入市政污水管线或流出施工区域污染环境。
4.3防止施工噪音污染
(1)现场混凝土振捣采用低噪音混凝土振捣棒,振捣砼时,不得振捣钢筋和钢模板,并做到快插慢拔。
(2)除特殊情况外,在每天晚22时至次日早6时,严格控制强噪声作业,对混凝土输送泵、电锯等强噪音设备,以隔音棚或隔音罩封闭、遮挡,实现降噪。
(3)模板、脚手架在支设、拆除和搬运时,必须轻拿轻放,上下、左右有人传递。
(4)模板、钢管修理时,禁止使用大锤。
(5)使用电锯切割时,应及时在锯片上刷油,且锯片送速不能过快。
(6)使用电锤开洞、凿眼时,应使用合格的电锤,及时在钻头上注油或水。
(7)加强环保意识的宣传。采用有力措施控制人为的施工噪声,严格管理,最大限度地减少噪音扰民。
4.4废弃物管理
(1)施工现场设专门的废弃物临时储存场地,废弃物应分类存放,对有可能造成二次污染的废弃物必须单独储存、设置安全防范措施且有醒目标识。
(2)废弃物的运输确保不散撒、不混放,送到政府部门批准的单位或场所进行处理、消纳。
(3)对可回收的废弃物做到再回收利用。
4.5其他管理
(1)对易燃、易爆、油品和化学品的采购、运输、储存、发放和使用后对废弃物的处理制定专项措施,并设置专人管理。
(2)对施工机械进行全面的检查和维修保养,保证设备始终处于良好状态,避免噪音、泄漏和废油、废弃物造成的污染,杜绝重大安全隐患的存在。
(3)生活垃圾与施工垃圾分开,并及时组织清运。
(4)施工作业人员不得在施工现场围墙以外逗留、休息,人员用餐必须在施工现场围墙内。
(5)项目经理部配置粉尘、噪声等测试器具,对场界噪声、现场扬尘等进行监测,并委托环保部门定期到对包括污水排放在内的各项环保指标进行测试。项目经理部对环保指标超标的项目及时采取有效措施进行处理。
5.本工程所用的几个环境管理方案
环境管理方案
| 工程名称 | 东港B-05地块商务办公楼 | |||||||
| 重要环境因素 | 水资源浪费 | |||||||
| 目标/指标 | 最大限度地节水降耗 | 实现期限 | 责任人 | |||||
| 编制人 | 审核 | 批准人 | 日 期 | |||||
| 实施措施:
1.加强日常的检查工作,发现自来水出现跑、漏、冒等现象及时维修,发现水龙头未关闭现象应立即关闭,有效制止水常流现象。 2.对卫生器皿及配件更换时,选用“节水办”推广及批准的节水器皿及配件。(如冲洗厕所采用自动式定时冲洗设备、非常流型) 3.加强宣传教育工作,在水龙头上方张贴节约用水等字样,以及在其它适宜地方张贴其它有关环保词语和本集团公司贯标的有关内容。 4.教育员工提高意识,树立“浪费可耻”、“浪费水资源就是破坏大自然,就会造成水资源的紧缺,危及子孙后代”等观念,在意识中树立日常的节水意识(如养成随手关上水龙头等)。 5.当水管由于意外或其它原因而造成断裂、渗漏等现象,所有员工都有义务通报项目部,并及时切断水源,项目部接到通报后应立即安排维修人员赶赴现场进行维护。 6.在日常巡视中发现水龙头的忘关现场应立刻查明是谁遗忘,并针对性进行教育,对重犯者项目和基地均应出台相应的制约措施,或通报批评、罚款,或罚打扫公共卫生等以及其它有效措施,以求达到全员节水目的。 7.项目和基地如有当地市(县)节水办下达的用水指标,则应相应制定分解措施,以确保年度总目标不超标。 |
||||||||
环境管理方案
| 工程名称 | 东港B-05地块商务办公楼 | |||||||
| 重要环境因素 | 砼插入振捣机振捣机械噪声、砼搅拌机搅拌机械噪声 | |||||||
| 目标/指标 | 噪声排放达标率100% | 实现期限 | 责任人 | |||||
| 编制人 | 审核 | 批准人 | 日 期 | |||||
| 实施措施:
为了确保城区施工项目砼浇筑时场界噪声限值控制昼间70分贝,夜间55分贝,项目部特制定相应的管理方案。 砼搅拌机,砼插入或振捣机的日常维修工作,适当增加机械内的润滑剂,减少机械本身的运转噪声,及时更换废旧零部件,确保机械正常运转,加强对砼工、砼搅拌机操作工的交底,教育一线操作工人规范操作,提高自身的操作技能。严禁野蛮施工操作,一旦发现机械异常声音发生,立刻停止施工,并及时通知项目部人员,待机械维修后能确保正常运转方可继续施工。 项目部施工员合理安排施工工序,最大限度地将砼浇筑安排日间施工。夜间不宜施工,如遇特殊情况如地下室施工、屋面施工以及有砼连续浇筑要求时,经环保部门批准申领《夜间作业许可证》后,并向周边居民张贴公告方可施工,同时夜间施工时,应最大限度地降低施工噪声,以减少对周边居民的影响。 如遇砼昼间浇筑时,应尽量不施工其它具有较强噪声发生的工作,以达到交叉作业的效果。 自拌砼时搅拌机使用时2台以上都应尽量分隔其距离;如施工场界噪声超标时,应首先逐步中止其它施工项目及至施工时场界噪声控制在70分贝以内(如不能达标,必须控制在75分贝内,并向当地环保部门交纳超标排污费后,方可施工);如夜间浇筑砼时,必须中止其它工作。 |
||||||||
环境管理方案
| 工程名称 | 东港B-05地块商务办公楼 | |||||||
| 重要环境因素 | 施工废污水排放 | |||||||
| 目标/指标 | 确保施工废污水有组织排放处理后排放的废污水清出 | 实现期限 | 责任人 | |||||
| 编制人 | 审核 | 批准人 | 日 期 | |||||
实施措施:
|
||||||||
环境管理方案
| 工程名称 | 东港B-05地块商务办公楼 | |||||||
| 重要环境因素 | 生活垃圾的处置、涂料包装桶/袋的处置 | |||||||
| 目标/指标 | 确保不污染环境及时清理外运 | 实现期限 | 责任人 | |||||
| 编制人 | 审核 | 批准人 | 日 期 | |||||
| 实施措施:
1.项目部均应设置密封垃圾箱或垃圾筒, 2.设置专人负责办公区的清扫工作以及生活垃圾的收集,集中分类堆放,及时清运处置。 3.禁止私自外运违章倾倒生活垃圾,禁止私自填埋和焚烧生活垃圾。 4.生活垃圾应尽量做好分类储存,特别应将有毒有害废弃物应分类储存,以利环保部门分类处理。 5.对涂料包装桶/袋应集中分类堆放,严禁混用包装桶/袋,即不同品牌的包装桶/袋不得装用其它涂料。 6.对可回收利用的涂料包装桶/袋及时收集、回收,不得到处乱扔乱放。 7.对不可回收利用的涂料包装桶/袋,按有毒有害垃圾处理。 8.对清理外运处理的建筑垃圾,应做好记录,记录内容包括清运日期时间、类型等相关记录。 |
||||||||
第十章 施工机械设备的选用安排
充足、精良的施工机具、设备对本工程能优质、高速、按期交付使用,将起到积极作用。根据本工程实际情况,为充分保证其施工需求,所需的大、中型施工机械设备均由我公司统一调度配备。
一、施工机具和设备需要量计划
1.施工机械投入的原则及管理要求
(1)我公司已将本工程所需的机械设备进行全面的筛选与落实,目前正处在全面的检修、保养阶段,并随时可以运至施工现场进行安装、调试、运行,以确保工程如期开工,保证进入施工现场的机械设备在使用过程中的正常运转与工作效率。
①遵循依靠技术进步、促进生产发展和逐步走向施工机械化的方针。
②坚持大、中、小型设备配套,重点配备大、中型设备。利用率低于60%的机械设备以租赁为主,一般不予配备。
③机械设备的品种和数量考虑满足施工结构、规模及施工工艺的需要。
④优先配备减少繁重体力劳动、提高施工质量、保证施工进度和人身安全的设备。
(2)施工设备配备计划依据施工进度计划和项目生产特性编制必须综合平衡调配。
(3)施工设备的购置、租赁、验收与交接必须执行公司《设备购置管理标准》。
(4)机械设备的维修、保养应严格按产品说明书的要求进行。
(5)对项目各机械设备进行三级维修保养的内容:
①日常保养是操作人员或设备使用人员在上、下班和交接班时间进行的保养工作,以检查、润滑、紧固、调整、防腐为主要内容。
②一级保养以润滑、紧固为中心,通过检查紧固外部紧固件,按规定加注润滑油、清洗滤清器具,更换过滤芯等。
③二级保养以紧固、调整为中心,除执行一级保养作业项目外,通过检查、调整发动机、电气设备、操纵杆、传动、转向、制动、变速和行走机构的工作装置,以及紧固内外所有的紧固件。
④三级保养以清除隐患为目的。作业内容除执行一、二级保养作业项目外,可对部分总成进行解体检查。对调整后不能符合性能要注求的零部件,进行更换或保养。并对机身进行必要的除锈、补漆、整容等作业。
(6)大型机械的安装必须严格按照JGJ34-86《建筑机械技术实验规范》进行验收和检查。
(7)设备操作人员必须严格按产品说明书的要求,做好设备日常保温工作,防止设备的不正常磨损出现。
(8)每季对在用设备进行一次巡回检查,检查内容应包括传动部分、联部件、钢丝绳、安全保护罩等,以确保设备的正常运行,做好检修记录。
(9)项目部依据设备检修纪录、安全检查纪录和运行台班纪录编制设备维修计划,并按照计划严格执行。
2.施工机具和设备分阶段配备数量
施工机具和设备需要量计划是确定施工机具和设备进场、施工用电量和选择变压器的依据,是根据施工部署、施工方案、工程量和机械分班产量定额而确定。
根据本工程的特点,经我公司充分考虑,同时对公司现有的设备进行调整后,作出在本工程中分阶段布置所需的主要施工机械设备。
(1)桩基施工阶段及土方阶段
桩基施工阶段6台钻孔桩机,一台冲抓桩机(碰到孤石情况下);在土方阶段现场配备挖土机4、运土车10,水泵4。具体布置见施工总平面布置图。
(2)基础阶段
现场布置一台QTZ60型塔吊,布置见施工总平面布置图。设置钢筋加工车间两处,各配备钢筋对焊机一台,钢筋切断机一台,钢筋弯曲机一台,钢筋调直机一台;设置木工加工车间两处,各配备木工圆盘锯一台,木工平刨机一台,木工轧刨机一台等木工机械;其他电焊机2台,搅拌机5台,水泵4台等施工机械,具体布置见基础阶段施工总平面布置图。
(3)结构阶段
增设井架,具体位置见主体结构阶段施工总平面布置图。
(4)装饰阶段
进入装饰阶段后,拆除塔吊,增加一台井架,全面进入装饰阶段后另外拆除钢筋加工车间用作装饰材料的堆场与安装加工场地或安装加工车间。。
其余施工机械详见施工机械配备计划表。
3.施工机具和设备配备计划
本工程的施工机具和设备配备计划见附表。
二、本工程所用的主要工程施工机械性能介绍
1. QTZ60型塔吊
(1)最大起重力矩60.0T·M。
(2)塔吊回转半径为46m。
(3)塔吊最大自由高度50m,一次顶升12m ,附墙杆上塔吊自由臂高度15m。
(4)塔吊平台上加配安全监控探头。
2.施工井架
最大安装高度50米,能满足结构正常施工需要。
3.砼搅拌机
(1)人工称量控制砂、石、水泥用量。
(2)一次搅拌出料量较少一般350升左右,一次搅拌时间90秒,能满足小方量砼的浇捣需要。
4.闪光对焊机
本工程使用的闪光对焊机额定容量100KVA,初级电压380V,次级电压调节范围4.5~7.6,额定待续率20%,钳口夹紧力40KN,钳口最大间距80mm;连续闪光焊时钢筋最大直径Ф20,预热闪光焊时钢筋最大直径Ф40。
5.竖向钢筋电渣压力焊机
电渣压力焊焊接设备主要包括焊接电源,焊接机头、控制箱、焊剂填装盒等,电渣压力焊机初级电压380V,次级电压22~45V,输入容量30KVA,负载持续率60%。
第十一章 劳动力安排计划
施工劳动力是工程施工的直接操作者,也是工程质量、进度、安全和文明施工的直接保证者。因此,劳动力配备是整个工程实施的又一大关键因素。
一、施工劳动力投入的原则及管理要求
为确保工程顺利进行施工,在本工程劳动力组织时,我公司将从劳务公司中抽出具有良好的质量和安全意识强的、技术素质高的、身体健康,且有类似工程施工经验的一线操作工人安排进场施工,施工人员进场前统一经过公司劳务技能及质量、安全技术等培训,考核合格后上岗挂牌施工。
施工劳动力的投入按工程施工进度的需要,逐步到位,做好思想动员和采取经济措施使得春节休假期间保证足够劳动力,以确保工程施工进度。
本工程劳动力组织及投入均由劳务公司根据项目月度劳动力计划表,在本公司内部进行合理调配,确保项目部对各种劳动力的需要,确保施工进度计划能够按期完成。
二、施工劳动力组织的要求
施工组织主要分为人员组织、机械设备组织、材料组织、运输组织、协调组织等五部分,这些组织内容安排是否合理将直接影响整个施工的生产过程能否顺利完成。本章着重就人员组织阐述相关情况:
1.人员组织
主要分二大类:施工管理层及施工劳务层二大类。
1.1管理人员配备
我公司在施工管理、协调控制能力上都有很大的优势,且在施工管理层人员组织上更是有广泛的选择,在组建本工程项目管理班子时,我公司将选派曾施工过类似本工程结构形式的具有丰富施工经验的项目管理班子进驻现场直接参与本工程的建设和管理。
我们将配备齐项目班子,根据本工程的规模和特点,项目经理部拟定采用直线职能式的管理模式。项目经理部设工程施工部、工程技术部、器材供应部、质量安全部和办公室等职能部门。在生产组织上,施工管理部设综合工长和各专业工长,由他们具体组织施工实施。此模式具有职责分明、指令畅通、管理高效的特点。
项目各部门的职能:
工程管理部:测量放线、劳动力管理、施工进度、质量、安全、文明施工具体实施与控制。
工程技术部:编制施工方案、施工技术管理;计划与统计;测量控制定位;钢筋、木工翻样、材料试验。
质量安全部:制定各项质量、安全管理制度,实施全过程的质量、安全监控。
器材供应部:材料的采购、保管、发放;机电设备的维修、保养、管理以及操作人员的管理。
综合管理部:工程预决算;劳动工资管理;财务成本管理;工程合同管理。
办公室:对外协调、理顺关系;现场保卫、后勤、卫生。
在项目领导班子的配备上,我公司将选派一级项目经理担任本工程项目经理,项目机构设置详见:第四章节中的施工组织及项目管理。
1.2劳务人员的配备
劳动力是工程具体的实施者,因此劳务人员是工程实施的关键。在本工程中,我公司考虑全部采用合同制劳务人员,与我公司长期合作的劳务队伍,素质良好,技术高,并且能按施工进度保证施工人员的数量要求。
目前我公司已经通过招标确定本工程劳务队伍,现在已经作好充分的准备,包括操作人员、操作机具、必要的劳务培训和入场手续,随时准备进入本工程。
三、劳动力组织的准备
1.建立施工项目领导机构
根据工程规模、结构特点和复杂程度,确定施工项目领导机构的人选和名额;遵循合理分工与密切协作、因事设职与因职选人的原则,建立有施工经验、有开拓精神和工作效率高的施工项目领导机构。
2.建立精干的工作队组
根据采用的施工组织方式,确定合理的劳动组织,建立相应的专业或混合工作队组。
3.集结施工力量,组织劳动力进场
按照开工日期和劳动力需要量计划,组织工人进场,安排好职工生活,并进行安全、防火和文明施工等教育。
4.做好职工入场教育工作
为落实施工计划和技术责任制,应按管理系统逐级进行交底。交底内容通常包括:工程施工进度计划和月、旬作业计划;各项安全技术措施降低成本措施和质量保证措施;质量标准和验收规范要求;以及设计变更和技术核定事项等,都应详细交底,必要时进行现场示范;同时健全各项规章制度,加强遵纪守法教育。
四、施工劳动力组织投入的数量
本工程的施工劳动力按以下三类进行组织:
1.专业性强的技术工程类
根据工程上岗进度要求,确保工程正常施工,主要包括机械维修、机械操作、架子工、现场电工、电焊工、气焊工等工种,这类工种均经公司劳务培训中心培训、考核合格后,持有相应上岗证,其平均技术等级为5级。
2.普通技术工种类
这类工种主要有木工、钢筋工、混凝土工、砌墙泥工、粉刷泥工、防水工、水工、电工、管工、通风工等,平均技术等级为4级,公司将派曾经有类似工程施工经验的劳动力进场。
3.非技术性普通工种类
这类工种是我公司长期施工的配合长期合同制工人,且具有一定的技术、质量、安全、文明施工等素质。
根据以上组织原则,本工程计划需要的预计最高峰劳动力将达到400人。劳动力的进退场根据工程施工进度的不同部位作适当调整,其中计划配备中级工200人,高级工20人监护。
五、施工劳动力投入的计划表
本工程施工劳动力投入计划表见附表。
劳动力动态按各分项工程的工作量和施工延续时间编排,见网络图中劳动力动态曲线图。
第十二章 确保工程按时交付使用及交付后的保修措施
涉及整个工程进度的保障措施已在第十章《工期保证措施及奖罚承诺》和根据施工特点施工管理措施中有了详述,本章主要讲述开工后和竣工阶段的一些特殊措施。
一、施工准备
由项目主任工程师负责组织项目部各施工管理人员及安装等分包单位人员,对收到的施工图纸进行全面的自审和消化,对结构、建筑、安装等图纸设计(尺寸或其它)是否有误或不合理进行重点消化,并做好自审记录,然后参加由业主组织的、设计院参加的图纸设计交底和图纸会审,对自审记录中记录的问题,要逐步请设计院予以解答,会审后,及时办理多方会签的会审纪要。
由项目经理负责项目主任工程师组织编制确保整个工程质量全面受控的质量计划。在质量计划中,对项目部每位员工的工作职责,进行明确的规定,对各部门的工作程序进行具体的设置,并且,对指导工程施工的技术文件的编写工作进行了明确和安排。
由项目经理负责制定项目部管理的各种规章制度,包括各岗位的质量、安全责任制,质量、安全奖惩制度,资料收发制度,食堂管理制度,门卫值班,保卫制度等,并且打印上墙。
由项目主任工程师负责组织项目部相关人员,按照质量计划的统一安排,编写指导施工的施工组织设计、施工方案、专题作业指导书,并报业主审批。
由施工员根据业主的总体计划,对投标的进度计划进行修改、完善,并且,将总计划细划到旬、月、周计划。
按施工组织设计的要求,通过公司档案部门的积极配合,项目资料室配齐所有的各类管理资料、技术资料、施工规范、验评标准,在项目主任工程师的组织下,进行各专业的施工前技术交底工作。
二、质保资料整理措施
材料进场时要保证质保资料的及时性、有效性和完整性。
材料质保资料统一存放在项目资料员处,工程竣工后统一向业主移交。专业技术人员或施工班组需要参考时,必须履行借用登记手续。
材料的质保资料在使用过程中,使用者要注意保护资料,不能造成污染、缺损、丢失等现象,要由指定专人负责保管。
三、工程竣工资料的收集、整理及移交措施
施工记录由各施工技术管理人员根据工程实际情况及时填写和整理,要保证施工记录的真实性和有效性。
对于相关工序交接的质量记录,必须签字齐全,方可进行下道工序的施工,没有经质检员认可的施工记录不能转序。
项目部每周、公司每月组织一次包括施工记录在内的工程资料的检查,以保证施工记录的完整性。
工程竣工后,项目部对施工记录进行汇总、整理和装订,统一向业主移交。移交时,双方签认资料移交清单。
根据有关标准、规范的要求,在施工过程中及时认真填写竣工资料。交工资料的编制要做到与工程同步。
工程资料的填写要字迹清晰、图形完整、尺寸齐全、签章完整、无漏项,并且用碳素墨水填写和绘制。资料的格式、公用名称要填写一致,资料内容要齐全,没有的项目要划掉。
建设单位在施工过程中应协调施工单位及时整理、汇总交工技术资料,并会同有关部门进行签证,设计变更的确认各方不得拖延。
交工资料表格采用质检站统一规定的交工文件表式或建设单位规定的交工文件表式。交工资料的归档按照地方主管部门的有关文件执行。交工资料的份数在业主无特殊要求时,一式四份。
竣工图的编制要求按照有关规定执行,图纸标示要清晰,改动较大的应重新出图。
四、工程验收
1.工程验收的阶段性
1.1必须加强对施工过程中的质量控制,严格要求工序质量,将工程质量通病和不足之处消除在分项工序之中。工序验收按班组自检,工种负责人(关砌、翻样)复检,专职质量员核验的三检程序,一道工序未经验收合格,不得进入下道工序施工。质量员还应通过抽检等实测实量的手段,把发现不符合质量要求的地方及时加以纠正和更改。同时加强技术复核、隐蔽工程验收等过程验收,分项工程施工完以后,由单位工程负责人组织有关工程技术人员,按照验评标准进行评定,专职质量员负责质量核定。
1.2施工时必须及时办理工程的有关施工记录和技术资料的交接,在现场监理工程师的参与下,检验有关技术数据并签证。
1.3所有隐蔽工程,均要填写隐蔽工程验收单,提前48h通知现场监理工程师。监理方及时组织验收并办妥验收签证后,方可进行下一道工序施工。
1.4主体结构完工将组织中间结构验收,验收后方可进行下一分部施工。
1.5工程竣工质量核验。公司对工程进行预检,核查质报资料,检查观感质量,并进行评分。对预检出来的问题限期进行整改后,进行第二次预检。随后会同业主、监理进行初检。最后进行竣工验收,并报当地质监站核定质量等级。
2.施工验收的计划性
工程施工验收阶段,是工程能否成功的最关键阶段,这个阶段能否圆满完成的关键,又在于是否有个科学的验收计划。没有好的验收计划,各专业工种的施工工序,就会成为一盘散沙,各专业工种之间因为没有彼此协调配合而乱了章法。因此,必须制定一个周密的详细的工程验收计划。
3.工程验收的组织
工程交工验收阶段,必须有个强有力的组织机构,来对交工验收进行领导、管理,确保工程能按计划有步骤地进行。本工程交工验收领导小组由项目经理、主任工程师、各施工技术管理人员组成。项目经理任组长,项目主任工程师任副组长,各施工技术管理的工程师任组员。在分部工程验收阶段,各施工技术管理工程师担当该分部工程的验收职责,负责其验收工作,确保该分部工程能按计划如期完成;在阶段性施工验收(主体结顶或竣工),项目主任工程师全权担当验收职责,负责协助项目经理进行筹划、指挥各项目施工管理工程师进行验收准备工作。
不管在什么阶段,交工验收领导小组都必须服从业主、总包方和监理的领导、监督,以及质检站和消防局、劳动局有关专家的指导。同时,对一些专业分包单位在验收时,也要积极地进行配合,确保整个工程在硬件与软件设施上都能够达到预期的设计目标。
五、交付使用后的保修措施
1.工程服务计划
我公司作为该工程的总承包单位,在向建设单位提交工程竣工验收报告的同时,附上一份东港B-05地块商务办公楼工程的质量保修书和建筑工程质量修理通知书。此质量保修书中阐明我公司的工程服务计划(即按照2000年的《建设工程质量管理条例》第六章)、组织人员、联系方式、保修范围、保修期限及保修责任等。计划每年第三季度,我公司将对保修期内的工程组织一次质量回访。一般交工后半年内,以后每隔半年左右回访一次,直至交工后五年为止。调查掌握竣工后工程质量情况,了解业主的要求,及时解决发现的质量问题,为确保工程质量做好竣工后的服务工作。
2.工程服务组织
我公司在工程竣工后成立一个工程服务领导小组,公司总工任组长,质量管理处处长任副组长,质量管理处及项目部成员为组员,根据工程使用情况,及时由公司领导组织质量、技术人员和项目部管理人员对建设单位进行回访,征得顾客对公司在本工程中的质量、使用和合同执行的意见,搞好双方配合协调,切实做好工程服务工作。
3.工程服务措施
我公司在以往大量的工程施工中,建立了一整套有系统的工程质量保修体系。我公司将在本工程的施工任务完成交工后,在合同规定的保修期内,实施“用户回访制”,定期了解交工工程的使用情况。如果发生质量问题做到随叫随到。选派资深技术人员和操作人员对质量问题进行分析讨论。制定施工方案并进行维修操作。对维修结果做到定期监控,并报公司备案。
第十三章 施工组织管理模式及总分包之间配合措施
一、施工组织及项目管理
1.施工组织管理模式
东港B-05地块商务办公楼工程作为东港城区规划较大的商务楼之一,我公司上至领导,下至基层施工人员,都对建好本工程有各方面的信心和决心,针对该工程的重要性,为最终实现投标人对业主、监理、设计院所承诺的目标,特成立工程项目总指挥部。我公司采取项目经理负责制的管理模式,我公司将成立东港B-05地块商务办公楼工程项目总指挥部,由公司副总经理担任项目总指挥,指挥部成员由公司各部门负责人担任,全过程地对本工程进行指挥及领导工作。项目部设项目经理一人、项目副经理一人,项目技术负责人一人,施工组成人员部署:项目经理部下设生产计划部、翻样工程部、材料设备部、安全标化部、土方工程部、安装工程部、装修工程部、合约核算部、财务部、技术质量部、资料管理部、工程测量组等13个部门组成,总人数在18人以上。在项目实施全过程中涵盖其质量、工期、安全、成本的管理点上,使之指令能及时、高效地运行,确保本工程快速、优质、顺利进行,各项指标圆满完成。
具体项目管理组织体系详见下表。
东港B-05地块商务办公楼工程投入项目管理班子人员表
| 职务 | 姓名 | 学历 | 上岗资格证明 | 职称 | 从业时间 | 目前上岗工程 | 身份证 | |||
| 证书
名称 |
级别 | 证号 | 专业 | |||||||
| 项目
负责人 |
方定国 | 本科 | 建造师 | 一
级 |
0189900 | 建筑 | 工程师 | 1992 | 无 | 330902197108026916 |
| 项目
技术 负责人 |
包世意 | 大专 | 技术
负责 |
中级 | C005733 | 建筑 | 工程师 | 1992 | 无 | 330902196411076911 |
| 现场施工人员 | 董富平 | 大专 | 施工员 | 中岗 | 330950110600042 | 建筑 | 助理
工程师 |
1993 | 无 | 330902197304087919 |
| 质量员 | 应世君 | 大专 | 质量员 | 中岗 | 330950420600021 | 建筑 | 助理
工程师 |
1998 | 无 | 330902197804117918 |
| 安全员 | 李和国 | 大专 | 安全员 | 中岗 | 舟建安[1003] | 建筑 | 助理
工程师 |
1989 | 无 | 330902196905236938 |
| 资料员 | 叶建丰 | 大专 | 资料员 | 中岗 | 330950710500209 | 建筑 | 助理
工程师 |
1994 | 无 | 33090219770206291X |
| 材料员 | 李佩君 | 本科 | 材料员 | 中岗 | 330950310700006 | 建筑 | 技术员 | 2001 | 无 | 330902198111096928 |
| 造价员 | 方忠国 | 本科 | 造价员 | 中岗 | 浙060L300027 | 建筑 | 高级
工程师 |
1984 | 无 | 330902196706086914 |
| 申请人认为应设的其他管理人员 | ||||||||||
2.1项目部组成机构职责
(1)总承包指挥部
是总承包体的最高权力机构,负责总承包工程的一切重大决策。
协调项目与公司之间的关系,从宏观上保障整个工程顺利施工。
定期参加工程施工例会。
考核决定对项目经理和主要岗位人员的奖罚。
随时检查项目现场和项目管理工作,监督项目运行。
(2)技术专家组
针对该工程造型较复杂,工期紧,质量要求等特点,我公司在项目运行全过程中设立技术专家组,邀请设计院、政府部门及各科学领域的资深专家成立技术专家组,针对工程技术难点如深基坑支护及土方工程、后浇带处理、防水工程、屋面工程、渗漏水问题、确保工程质量保证措施,提出指导性意见,供项目部决策,真正发挥科技是第一生产力作用,以科技创品牌,创效益,为项目快速,优质施工保驾护航。
(3)合约核算部
具体负责项目预算成本的编制和成本控制工作;
参与供应商的选择工作;
配合财务科编制开支预算和资金计划;
具体负责与业主和分包的结算工作,编制项目月度申请款、分包付款文件;
具体负责项目合同管理、造价确定。
(4)财务部
协助项目经理的工作,具体负责项目财务和税务事务;
具体负责项目资金计划和各类财务报表的编制工作;
具体负责工程款的收支工作;
负责工资奖金发放工作;
配合核算科成本控制工作和准备竣工决算报告;
(5)材料设备部
协助项目经理工作,具体负责项目物资设备的采购和供应工作,提供物资价格数据;
具体负责本项目物资采购合同的编制工作和供应商的选择工作;负责供应商的日常管理工作;
参与项目质量保证计划的编制工作;配合财务部编制资金计划;
具体负责竣工时库存物资的善后处理;
及时准确地为施工生产部门提供呈报业主和监理工程师审批的各类材料样品。
(6)安全标化部
协助项目副经理工作,负责项目安全生产、文明施工和环境保护工作;
参与编制项目质量保证计划,负责编制安全文明施工组织管理方案和管理制度并监督实施;
负责安全生产和文明施工的日常检查、监督、消除隐患等管理工作;
负责管理人员和进场工人安全教育工作;负责安全技术审核把关和安全交底;负责每周的全员安全生产例会;
负责项目确保市级双标化文明工地的组织和管理活动;负责安全目标的分解落实和安全生产责任制的考核评比;负责开展各类安全生产竞赛和宣传活动;
负责文明施工资料的收集整理工作;
(7)生产计划部
协助项目副经理工作,具体负责整个项目的总控进度计划、阶段进度计划以及相关保证措施的编制和落实;
在项目总控进度计划和阶段进度计划的指导下,编制详细的月度、周和日计划;
参加计划协调例会,对进度计划的实施过程进行监控,并根据反馈信息及时发现问题,调整进度计划并上报项目副经理;
结合进度计划及其保证措施,对抢工措施、资源投入、劳动力安排、材料设备进出场等问题提出建议报副经理审核;
协助安全文明施工、质量体系运行和创优工作;
(8)物资采购部
具负责项目物资采购计划,进场计划和统计计划;
负责编制项目物资领用管理制度和日常管理工作;
负责物资进出库管理和仓储管理,负责监督检查所有进场物资的质量,协助技术质量部做好技术资料的收集、整理工作;
负责编制施工设备的使用计划;
(9)技术质量部
协助项目主任工程师工作,负责项目施工的技术工作;
参与编制项目质量保证计划,安全文明施工组织管理方案;负责安装工程外的各类施工方案的编制工作;协助安装部编制机电安装预埋工程施工方案;
负责技术资料收集整理工作,项目阶段交验和竣工交验;
负责新技术、新材料、新工艺在本项目的推广应用和科技成果的总结工作;
负责项目质量监督、质量管理、创优评奖和ISO9000、14000贯标工作;
负责管理项目质量检检小组的工作,实施项目过程中工程质量的质检工作,并与政府质量监督对口工作;
负责项目全员质量保证体系和质量方针的培训教育工作;
负责分部分项工程工序质量检查和质量评定工作;
负责工程创优和评奖的策划、组织、资料准备和日常管理工作;
最终负责竣工和阶段交验技术资料和质量记录的整理、分装工作;负责项目阶段交验和竣工交验;
负责质量事故的预防和整改处理工作。
(10)测量组
负责测量技术方案的编制工作;
具体负责平面控制网建立,平面位置放样,负责标高控制,柱梁定位,沉降观测及测量准确性、及时性。
2.2项目主要负责人分工及介绍
(1)项目经理
项目经理是企业法定代表人在工程项目上的代理人,受法定代表人的委托,对项目的施工全过程、全方位负责,本工程项目经理由我公司慎重研究后推出。
项目经理的主要职责是:
负责组织指挥本工程项目的实施,对业主负责;
负责组建项目经理部,调配并管理项目所需的人才、资金、物资、设备等生产要素;
负责工程合同的起草、洽谈、签约和管理;
负责处理与本项目有关的外部联系;
负责协调总、分包之间的配合协作工作;
对工程项目质量、安全、工期、成本和现场文明施工负全责;
(2)项目副经理
负责总体和阶段进度计划的编制、分解、协调和落实工作;
根据生产要求,认真调配落实项目部里人力、物资、设备与生产等要素。
协助项目经理分管安全标化部门的工作和市级双标化工地达标工作;
负责与业主、监理等的现场协调和沟通的组织领导工作;
根据分管的工作,向项目经理建议内部分配方案和奖励或处罚违规人员;
(3)项目技术负责人
组织相关部门和人员代表项目参与与业主、监理或设计方等就施工方案、技术、设计、质量等方面的问题的会议、讨论或磋商;
主持施工组织设计和重大技术方案和测量方案并负责审核、把关;
参与分包商选择,负责分包商技术方案的审核工作;
参与项目质量策划并督促技术方案和施工组织设计主要内容的落实工作;
十项新技术在本工程的推广和使用进行指导并把关,并申报市级示范工程;
协助项目领导和组织创优工作;
负责ISO9000(2000版)和14000的落实工作;
3.项目经理及主要管理人员常驻现场的保证措施
项目经理与企业法人代表是项目的代表人,全权负责履行工程合同,对工程的工期、质量、安全、成本等全面领导,故项目经理在本工程的施工全过程中,不得离开本项目,投标人承诺不经业主同意,决不擅自撤换项目经理,为了保证施工管理的连续性,项目其他主要管理人员不经业主同意,原则上也不予撤换。对本工程我公司高层领导都投入了极大的关注,为了达到对业主的各方面指标的实施,本工程将列入公司系统重中之重的项目,项目部人员将根据工程情况进一步充实,决不会减弱,为了表示我方的诚意和决心,在本工程施工阶段,主要项目管理人员可以接受业主或监理工程师的考勤,出勤率满足不了业主的要求,投标人愿意按招标文件规定及合同有关约定处罚。
二、对安装工程管理、配合、协调措施
1.本工程安装的主要特点
(1)时间紧,本工程总工期430天,扣除前期准备工作及室外工程施工工期,安装应全部结束,交付业主使用。
(2)质量标准
本工程质量目标为确保合格工程。
2.施工组织设计的审核
施工组织设计融汇了承包商施工前期的准备工作及施工步骤,机电管理从以下几方面审核。
(1)形象的施工总计划表必须满足总计划及开业要求。
(2)提供现场施工人员的架构表及资格证书。
(3)施工现场办公室等面积校核,施工机械设备、用水量用电量等校核。
(4)深化施工图的出图计划审核。
(5)材料、设备到达现场的时间计划表审核。
3.进度计划的控制
(1)按月计划对执行情况进行考核、评定。
施工总包管理中,对工程进度的控制,显得格外重要,这事关合同的履行和大楼的开业,因此,要求安装分包依据总工期,制订总的施工节点计划,在此基础上按月制订月度计划,其必须有实物量及工日数,每月25日递交供总包部审核,总包部则按工程实际情况, 编排指导性的节点计划和指令计划,统一协调,每周机电例会上对分包计划执行情况进行考核、评定。
(2)要求安装分包制订阶段性施工收尾计划及建立日报表制度。
在阶段工程完成之际,要求排出施工收尾计划,并通知总包、监理、业主进行复核、核验。建立日报表制度,其需体现每天施工人数、内容、区域及落手清、安全文明生产等情况。
(3)建立月报告制度
要求安装分包于每月25日递交月报表,其需详细反映材料、图纸送审及审批后材料进场完成情况,哪些需配合协调事宜,将影响工程进度的问题及设计悬而未决等内容,以专题发文及月报告形式报告总承包部抄送业主。
4.施工技术管理
(1)设备进场吊运,安装的技术论证及施工协调。
设备进场吊运就位,涉及到建筑结构、加固措施、起吊技术等各方面专业。为此总包需汇同土建、机电分包对设备运输路线,设备吊机起吊方式,结构承重负载及加固措施召开专题协调会,明确各自职责,商讨技术方案,并亲临现场统一协调、督促,直到协调到位。
(2)设备单机运转及系统调试。
机电分包在设备、系统安装结束后,在条件具备下,将进行试运转及系统调试。总审核其调试方案及单机运转测试方案,并监控调试、运转全过程,确保设备及系统的正常开通。
(3)组织安装分包单项工程调试及消防总联动调试。
(4)消防部门对工程开业之前的消防验收是政府部门验收程序中的重要环节,因此,安装分包先进行有关消防联动的单机调试,如:采暖、通风分包的防排烟系统,增压送风系统,电器分项的消防弱电报警系统,应急发电机系统切换,电梯分项的电梯应急迫降,对各相关系统的测试技术数据,分析、归纳并审核准确程度,在此基础上进行消防总联动调试,以满足消防验收与竣工。
5.安装分包与土建之间的施工协调
作为施工的主要单位,与总包单位的协调配合是协调工作的主要内容。协调配合好坏将直接到施工进度、施工质量、施工成本、施工效果等。
安装分包单位将完全服从总包的管理,视总包对工程的总工期目标及质量目标为安装的目标,配合总包做好总体协调工作。
积极与总包方沟通,反映施工情况,给总包提供对工程有利的合理化建议;
本工程中存在着多工种作业的分包商,在施工中相互交驻或同工程面“撞车”是在所难免的,遇到该种情况,积极主动地向总包反映,并完全服从总包的安排,确保工程顺利进行;
根据总包的进度计划,按时间段组织施工,不以种种理由拖延计划,必要时将实行加班加点或两班工作制,确保工期总目标的实现;
积极配合总包方做好所有工程文件的收、发文程序和单位、分部、分项工程的划分及交竣工资料表样的确认工作,确保整个工程资料管理形成体系化。
与土建的协调应遵守平等互利,对工程有利的原则。一切为业主着想,一切为工程提供便利条件;
在结构阶段重点要做好安装预留预埋工作,在深入理解施工图纸的基础以及时以书面形式提供预留孔洞尺寸、位置,并积极安排施工人员进行预埋工作。预埋件穿过防水层时,在预埋前主动与土建单位技术人员协商,拿出预埋方案,以保证土建防水层完好;
在土建楼面作业时,重点落实其标高、安装尺寸,对大型通风设备配件考虑好其运输吊装通道,并及时组织就位安装,绝不使工程造成返工、拆除,保证好土建产品;
在卫生间施工时准确地依据卫生洁具的型号尺寸及布置进行大样图的绘制,提出施工要求尺寸,积极与土建协调联系,把卫生间的施工搞好;
在土建墙面上配合施工时,采用专用花岗石切割设备,使其开槽规范,在结构和砼墙开洞时采用专用进口电动开孔机,做到定位准确,开孔规范,决不乱砸乱打,野蛮施工;
无吊顶的区域,对已安装完毕的灯具、开关插座面板等末端设备在系统调试之前用单面不干胶作保护层,以免土建单位在拆脚手架等工作时遭到污染和破坏。
对已完成的墙面、地面,在安装灯具(尤其是吸顶灯)、开关插座面板等未端设备时,先在其边框贴一层保证膜,安装完后再撕去,以免安装时对墙面、地面造成损坏或污染。
6.安装工程与其它专业单位的协调配合措施
在与装饰配合时,积极做好工序安排,在按设计做好隐蔽验收的基础上交付装饰单位,并在施工中仔细复核标高、尺寸,及时报告监理、业主与施工单位,绝不损坏装饰产品;
在精装修完成进行安装衔接阶段要严格控制出入施工人员,进行登记出入证管理,减少损坏因素,同时操作人员要戴白手套施工,保证装饰产品一尘不染;
对需要嵌入吊顶安装的未端设备如消防喷淋头、散流器、风口等,在吊顶封板之前,画出详细的局部布置图,标志各末端设备的布置位置、吊顶开孔尺寸,提交装饰单位进行吊顶板开孔,以保证该部分设备安装尺寸的精确性。
装饰吊顶封板后,安装消防喷淋头、筒灯等末端设备时,先在吊顶板开孔周围贴一层保护膜,安装完毕后再撕开,以保证末端设备安装过程中不致对吊顶板造成污染或损坏。
对需要留检查孔、检查口的地方,在吊顶封板之前,用联络单及时通知装饰单位。联络单中要注明吊顶留孔的位置及尺寸大小,以便于装饰单位施工。
做好产品的自身保护工作,对自己安装的设备及器具要进行封闭管理,诸如卫生洁具等。对变配电设备安装好后可靠包扎起来,避免污染,影响电气元件的使用,同时对电气产品诸如配电箱、柜等做好防水工作。
7.施工前准备工作
(1)落实有关施工人员精心做好图纸会审,设计交底等工作,及时编制施工预算,以便解决施工疑难问题。
(2)明确技术质量要求,结合现场具体情况及有关资料,编制施工方案及分项工程组织设计,满足不同阶段施工要求。
(3)精心绘制各类管道综合布置图,明确各系统管道的标高位置,统一设置各系统管道的吊点支架,合理安排各系统管道安装的施工顺序,制定各系统管道按此顺序施工“交通规则”,满足吊顶的最大高度,保证综合安装的质量。
(4)对分包单位做好技术交底,落实施工工艺,明确施工程序。
(5)编制施工机具计划、劳动力计划,安排施工队伍进场等。
(6)总承包对分包单位编制的施工组织设计或施工方案进行评审。
8.结构施工阶段计划管理
(1)本工程在基础结构施工中,安装预埋管件和土建配合工作较为密切,主要为各种设备的基础埋件埋置,预埋配管等,同时进一步落实和检查设备预留孔洞的位置尺寸,并对土建的设备吊装预留孔洞的尺寸,预留吊点的埋设,楼板的负载予以检查确认,为今后设备顺利全面安装提供可靠的质量保证;当土建底板底层钢筋绑扎完后,随即敷管配合;当土建拆模后,立即对预埋管、留孔位置进行疏通整理,发现堵塞及时处理。另外应加强同土建联系,积极创造良好的施工条件。
(2)随着结构升高,安排好立管的安装。安装要在底层创造施工面,抓紧各层的风管、水管,电管的安装,尽早完成吊顶内的工作量,为精装饰开创作业面。
(3)当主体结构施工进行一个阶段后,安装要在标准层开展水、电、风施工,确定水、电、风、设备各工种统一标高位置,以“样板层引路”达到计划进度节点,确保总进度计划的实施。
(4)干湿作业装饰施工阶段计划管理。当主楼结构封顶后,管道、电气、空调、设备等安装工程逐步进入全面铺开,安装与土建、安装与装饰、安装与各专业施工单位大量的交叉施工的矛盾成为突出。因此,总承包管理的重点就是及时做好各分包单位安装工程负责人和各专业施工人员之间的横向协调联系工作,合理解决施工先后顺序,确定施工合理搭接,充分利用空间做到既能保证工程进度,又能确保安全质量和产品保护。
(5)精装修施工阶段计划管理。此时,安装已进入总体和设备调试阶段,各类管道经过分系统,分区域泵水,清洗试压;电气变配电工程进行调试送电,按总调试方案的顺序对设备落实系统调试和试运转,使其功能上达到设计要求。同时,应做好试压、送电、机械运转等记录,做到资料齐全不漏,分系统向业主代表办理好竣工验收交付手续。点、验收、签订,以确保设备安装的质量,设备的吊运就位要制定具体的吊装方案。
第十四章 本工程的施工重点及难点、关键技术阐述
一、针对本工程建筑的测量
1.概述
该工程施工场地较狭窄、建筑落地面积较大,平面及立面组合复杂多变,特别是结构上部柱梁结点较多且设计要求严格,测量放线作为工程开工的头道工序且始终贯穿于整个工程的各个施工阶段,其正确与否是尤为重要的。为指导工程施工,确保工程质量,我们认为测量工作应采取从整体到局部,高精度控制低精度的程序进行。
2.施工平面控制
根据场地条件,建筑物平面形状和其主要点线分布情况,按便于观测,长期保留使用为原则,首先在总平面布置图上设计一个平面控制网,以网中确定的几条基本直线,作为施工放样的控制线。
平面控制网测设使用我公司拥有的瑞士徕卡TCR702电子全站仪(该仪精度测角2″,测距2+2PPM,具有红外测距、无反射棱镜测距、三维坐标测量、对边测量、悬高测量、自动目标识别、马达驱动、激光对中等多种测量功能),以现场附近的两个城市导线点为施测依据,进行平面控制网测设。场区平面控制网的精度等级根据《工程测量规范》按1级建筑方格网布设。
控制网的各项技术指标必须符合表1的规定。
附表1
| 等级 | 全站仪 | 测角中误差(″) | 测距中误差(mm) | 边长相对中误差 |
| 一级 | 测角2″
测距2+2PPm |
±5 | <15 | 1/30000 |
平面控制网测定后,为防止控制点碰动造成测量差错,对控制点采取必要的安全保护措施,即用混凝土加固后再用砖砌或钢管围护。平面控制网在施工期内定期进行检查复核,如发现控制点碰动可采用三联脚架直接对控制点坐标进行校核。
3.标高基准点
在现场土质比较坚硬且安全可靠的地方埋设三个标高基准点,具体埋设位置由现场施工人员会同建设,监理方踏勘选定,这三个标高基准点计划一点多用,即既可用来控制地下室和楼层标高,又可作为沉降观测的水准点。标高基准点埋设后,使用精度不低于S1型精密水准仪按国家二等水准测量精度要求,从建设方指定的等级水准点上采取往返测量法将高程引测至标高基准点上。其往返较差应小于±4L1/2,标高基准点测量的主要技术指标应符合表2的规定。
附表2
| 等级 | 水准仪 | 每千米高差全中误差(mm) | 往返测较差(mm) |
| 二等 | S1 | ±2 | ±4L1/2 |
表中L为往返或闭合水准路线长度(单位:km)。
标高基准点埋设后定期进行高程检测,并对基准点采取必要的安全保护措施(砖砌或用钢管围护)。
4.平面位置放样
4.1自然地面上测设平面位置
该建筑的平面位置放样以测定的平面控制网为施测依据,使用日本PTS-Ⅲ05电子全站仪,采用极坐标法测设(极坐标法不仅能获得较高的施测精度,且不存在误差累积)。
为便于采用极坐标法测放平面位置,正式放样前先根据设计图所示关系尺寸、相关角度将待放点的测量坐标全部算出,经校对无误后再根据站点、后视点(起始方向)与待放点间的关系进行坐标反算,即换算出放样所需的极坐标(极距、极角)。极坐标计算采用自编的“ZBFY”程序在PC-E500电子手薄上操作并打印出。
实地放样时,将全站仪安置在控制点上,先测设出地下室的主角点、折线点、主要轴线点,然后再测放其余的桩点。
当有些桩点因场地或通视条件影响无法一次性放出时,可将仪器移至与待放点相对较近的控制点上进行测放,也可视定位条件灵活采用如直角坐标法、距离交会法等其他测量方法测设。为保证测设质量,在整个测设过程中应注意观察仪器长水准器气泡是否居中(气泡中心位置偏离整置中心不超过1格),并对起始方向经常作归零检查(归零差<5″);若测设时遇有较强日光则打伞遮阳保护仪器,以免仪器受暴晒后发生内部变化,影响观测精度。
桩点全部测设完毕,经自检确认无误后,填写定位记录单报现场监理或建设单位复验认可。
建筑物定位放样的各项技术指标必须符合下表的规定。
| 建筑
结构 |
全站仪 | 测距相对
中误差 |
测角中
误差(″) |
在测站上测定高差
中误差(mm) |
根据起始水平面在施工水平面上测定高程中误差(mm) | 竖向传递轴线点中误差(mm) |
| 水准仪 | ||||||
| 钢筋砼 | 2″3+2PPm | 1/20000 | ±5 | ±1 | ±6 | ±4 |
| S1 |
由于轴线桩在基坑开挖时将被挖去,由现场测量员负责在开挖区以外安全可靠的地方测设出引桩或龙门板作为下一步基坑开挖的依据。
二、工程建筑质量通病分析与预控
1.防止渗漏的施工专项技术措施
对质量通病的防治在有关章节中的施工工艺中也制定了相应的预防措施,现将如何防治渗漏的技术措施在此详细述说一下。
1.1外墙渗漏水
(1)外墙壁面梁模穿墙横楞洞
铲除预留孔四壁残浆余渣,清除干净洞口中垃圾和灰尘,充分洒水湿润,预留洞四壁刷一度107胶水泥浆(107胶掺量为水泥用量度5%)并对洞的四壁抹3-5mm厚1:3水泥砂浆,砂浆稠度10cm 。
将一块隔夜充分湿润的砖从长度向中间一斩为二块,在砖的四周侧面刮抹10mm左右厚1:3水泥砂浆,分别从外墙内外侧嵌入预留洞中,务必使此砖的四壁砂浆与洞壁砂浆紧密结合,山墙上洞的半洞不用砖镶嵌,而是嵌捣C20细石砼(塌落度6-8cm)边捣边捻细石砼,或全部用C20细石砼捣密实,模板支成叁、畚箕状,拆模后将突出墙面砼凿出。
(2)外墙身头缝
砖或砌块隔夜堆充浇水湿润,冲除表面灰尘和垃圾。
外墙砖墙砌筑时头缝隙不准有“装头缝”,务必满刮头缝砂浆,砌块头缝必须洒水湿润后用砂浆或细石砼嵌捣实,且对墙壁砌块头缝必须湿润后用砂浆或细石砼嵌捣实,且对墙壁砌块外侧头缝用1:2水泥砂浆嵌8mm左右厚。
不能有瞎头缝,凡发现个别瞎头缝,必须开平出宽大于8mm,深80mm头缝。清除缝中垃圾、灰尘后,用石棉水泥嵌实。
外窗框子做缝对外窗樘子缝,先对墙体洒水湿润后,用1:2水泥砂浆(稠度6-8cm)内外对称嵌,分两次,间隔12小时以上,表面要压实、打毛,比樘子两侧面凹5mm左右。
(3)窗台及窗台窗下帽头接缝
窗台砖面与窗下框口帽头距离为100mm,清除干净窗台面疏松物、垃圾和灰尘、窗台先洒水湿润后用C20细石砼嵌密实,尤其是窗框下面与窗台要压实,抹平顺、打毛,窗台的细石砼作窗框侧面凹缝,面压实抹光,窗台内面与窗框下口平。
隔2-5天,在窗盘角细石砼表面和窗下帽头底15mm宽处,刷两度815防水涂料,厚1-1.5mm。
分两层粉内外窗台,两层间隔时间一昼夜以上,底层用1:2.5水泥砂浆,面层用1:2水泥砂浆,砂用中砂,每层操作前要认真洒水湿润,圆档高压20mm左右,比窗下框面外侧凹5mm左右。
后砌填充墙,应分二次砌筑,第一次砌筑以梁底下留斜砖,砖侧面对角垂直为标准)高度为标准,相隔一昼夜,在梁底刷掺10%107胶的水泥浆,后用掺10%107胶水的合胶砂浆砌筑斜砖,而后进入装饰工程。
1.3穿楼地面管
(1)项目部派专人负责补洞。
(2)凿除预留洞四壁松动物,清除干净垃圾和灰尘,支好底模,充分洒水湿润,管子外壁和预留洞壁一度107胶水泥浆,趁湿润浆时补洞。
(3)先做10-20mm厚1:2水泥砂浆,后嵌捣C15细石砼,比洞口低20mm左右,表面压光,抹平,打毛,窝洞后挂牌明示,24小时内不得碰动管子。
(4)隔12天,刷厚1-1.5mm的815防水涂料或刷一度避水浆。
(5)815防水涂料成膜后,用1:2水泥砂浆嵌实。表面与楼地面基层平。
(6)待做好楼地面后,在管子洞四周用1:2水泥砂浆做好“小锥体”。
1.4水盘、地漏落水管头外四壁
(1)水盘、地漏等落水头外四壁先浇3-5mm厚麻丝白漆,然后用1:1水泥砂浆嵌密实。
(2)窝后挂牌明示,24小时内不准碰动,不准盛水。
1.5厕所间地面与墙相接阴角处渗漏水
在阳台地两短边和厕所地面四边阴角处清除干净垃圾、灰尘,充分洒水湿润,随粉随刷一度107胶水泥浆(107胶掺量为水泥用量的15%),用1:2水泥砂浆分两层抹一条三角带,两次间隔12小时以上,在面层施工前,蓄水48小时,做到无渗漏水再施工面层。
1.6水管接头及水设备
(1)铸铁管渗漏
在地面发料前派专人用目测方法逐根检查铸铁管有否裂缝用灌水或外壁冲水检查铸铁是否砂眼,发现有裂缝和砂眼须割除后利用。
(2)铸铁管接头
上段铸铁管位置经校正后,将上端头临时固定牢再嵌石棉水泥,用凿子分皮嵌结实,挂牌明示,24小时内不准摇动,凡被碰动,须凿除石棉水泥,重新嵌实。
(3)检修孔
在检修孔盖板里平面上,沿孔壁位置满垫宽×高为15×10mm石棉水泥,然后对准盖住洞口,拧紧螺丝。
(4)倒水盘地漏及水盘落水头。
落水头外侧垫橡皮圈,圈上部管。橡皮圈下用石棉水泥嵌密实,拧紧下轧端,窝后二天内不准沉水。
2.关键部位质量通病预防技术措施
2.1屋面工程
(1)泛水处
屋面泛水处等防水层必须铺贴,且必须做好泛水底,还要用水泥砂浆压牢。
(2)落水头处
女儿墙里侧面弹出+50(屋面结构面以上)水平标高线,供做落水头和天沟找坡用,落水口标高要比防水层低落10-15mm,屋面找坡时,先做塌饼,用以控制屋面泛水。
落水头窝法
项目部派专人负责窝法。
凿除洞四壁松动物,清理干净垃圾和灰尘,支好底模,充分洒水湿润,刷一度掺107胶水泥砂。
先捣10-20mm厚1:2水泥砂浆,后捣C20细石砼,细石砼面比洞口低20mm左右,表面稍刮平和打毛。
窝洞后挂告明示,24小时内不得碰动。
隔1~2天后,刷两度851防水漆料(厚1-1.5mm)或刷一度避水浆。
用1:2水泥砂浆嵌平洞口,且面夯实际上锉毛。
做屋面防水层时,务必从落水口开始,先涂刷防水粘结材料,后做防水层。
2.2砼与砖砌围护墙间的垂直与水平裂缝防治
砖墙与砼结构之间的施工缝,由于两者材料收缩性能的不同,容易使粉刷层发生明显的垂直和水平收缩裂缝,可采取以下技术措施尽可能好地加以克服:
(1)在围护墙砌筑时,必须将两侧垂直缝灌满砂浆,不得留有空隙;对于顶部的水平缝,采用定制斜砖砌筑,但一定要用砂浆将缝隙严密嵌满、嵌实。
(2)在两种不同材料的水平和垂直缝交接处,粉刷前应增设400mm宽钢板网(两边各200mm左右),使裂缝进一步分散和减小,以避免集中产生一条较大的收缩裂缝。
(3)适当推迟面层的施工,让粉刷层有一个较长的干燥和收缩时间,并在面层施工时,对可能产生的小裂缝处粘贴薄型自粘绑带布进一步增加抗裂,通过以上三项措施,即可较好地克服开裂通病。
2.3厕所间地坪倒泛水
(1)在厕所间,四壁弹出200mm墨线(结构面以上),利用透明塑料水管平尺或长水平尺加木直尺,按照四壁上水平墨线,对0.5%泛水,做出塌饼。
(2)浇筑厕所间细石砼楼地面时,先按塌饼出竖头,再根据竖头从离门口远处向近处摊细石砼。
(3)最后对门口脚印处务必填补细石砼,使之满足向落水口泛水要求。
2.4雨水管及下水管道局部堵塞、排水不畅
雨水管及下水管道局部堵塞和排水不畅是交工验收以后经常发现的通病,对用户的使用十分不便,并且疏通困难,严重影响施工单位的声誉,为此,施工中除按时要求留设疏通检修口外,重点是加强教育、管理和保护措施,特别是在粉刷阶段严禁在管道内倾倒清洗用废浆水,作好管道口临时封堵保护措施,并在交工前采用大水量(小水量试验不出)排水试验,确保管道排水畅通。
2.5基坑回填土易出现的问题和预防措施
基坑填土如处理不当,地坪在今后使用过程中将出现断层、开裂等现象。根据我公司多年来的施工经验及本工程的特点,我们分析了在回填土工程施工中可能出现的问题及相应预防、处理措施。
2.5.1填土出现橡皮土
原因:在含水量很大的腐殖土、泥炭土、粘土或粉质粘土等原状土上进行回填,或采用这种土作土料回填,当对其进行夯击或碾压,表面易形成一层硬壳,使土内水分不易渗透和散发,因而使土形成软塑状态的橡皮土。
措施:夯实填土时,适当控制填土的含水量;避免在含水量过大的原状土上进行回填;填方区如有地表水时,应设排水沟排走,如有地下水应降低至基底。
处理:可用干土石灰粉等吸水材料均匀掺入土中降低含水量,或将橡皮上翻松、晾干、风干平至最优含水量范围,再夯(压)实。
2.5.2填土密实度达不到要求
原因:(1)填方土料不符合要求;(2)土的含水率过大或过小,因而达不到最优含水率下的密实度要求;(3)填土厚度过大或夯实遍数不够;(4)碾压机械能量不够,影响深度较小,或行驶速度过快。
措施:选择符合要求的主料回填;按所选用的压实机械性能,通过试验确定含水量控制范围内每层铺土厚度、压实遍数、行驶速度;严格进行水平分层回填、压(夯)实;加强现场检验。
处理:如土料不符合要求,可采取换土或掺入石灰、碎石等措施压实加固;土料含水量过大,可采取翻松、晾晒、风干或掺入干土重新压(夯)实,含水量过小或碾压机械能量过小,可采取增加压实遍数或使用大功率压实机械碾压等措施。
2.5.3回填土沉陷
原因:(1)回填土料含有大量有机杂质和大块;(2)填土水按规定厚度分层回填夯实,或底部松填。仅表面夯实,密安度不够;(3)局都有软弱上层或地坑、积水坑等施工时未处理或发现。
措施:适当选用回填土料认真控制含水量在最优范围内;严格按规定分层回填夯实;对原自然软弱上层进行处理;有机杂质、地坑等清理干净。
处理:若车库地坪已经裂缝破坏应视情况采取局部或全部返工;局部处理锤、凿将空鼓部位打碎,填塞灰土或碎石粘土混合物夯实,在重做面层。
3.现浇楼板防裂专项措施
产生裂缝的原因比较复杂,常见的有:①配合比不当,混凝土自体收缩是混凝土出现裂缝的根本原因所在;②塑性及干缩裂缝。混凝土浇筑时外界气温高,昼夜温差大,气候干燥,致使表面失水过快、过多引起开裂;③混凝土坍落度偏大,在振捣时表面积聚大量浮浆,施工人员未及时清除,致使混凝土成型后表面强度不够;④振捣不实造成沉降裂缝;⑤局部保护层过薄;⑥养护不到位,保温措施不利,造成混凝土收缩和温度裂缝;⑦混凝土未达到预定强度前过早受载,且施工荷载较大。
针对楼板混凝土开裂的因素,我们将严格执行舟山市建管局关于楼板混凝土开裂的有关文件精神,在施工中将采取以下一些预防措施和控制办法:
(1)抓好混凝土原材料质量和混凝土配合比设计
选用稳定性好的大厂水泥,严格控制粗细骨料的含泥量,规定石子、黄砂含泥量不得大于1%,达到减少混凝土自身收缩的目的。掺加水泥量5%~10%的Ⅰ级优质粉煤灰掺和料和高效减水剂,可以改善混凝土的工作性,在保证水灰比不变的情况下,可以减少水泥用量,降低混凝土收缩。
混凝土配合比设计应符合国家现行有关标准,科学设计配合比,确定适宜的坍落度,适当的砂率、水灰比、水泥用量,选用适宜掺和料。总之,在保证强度的前提下,不宜过多增加水泥用量,坍落度不宜过大。
(2)加强施工操作控制,提高混凝土抗拉强度。
模板支撑系统要牢固稳定,严禁支撑下沉,混凝土浇筑时必须搭设运输道,以免钢筋踩翻,并严格控制楼板钢筋不超高,在浇筑混凝土时为保证板厚,除拉线控制外,采用同板厚尺寸的“十”字撑插点控制。
主体结构混凝土的坍落度保证在30mm~50mm。施工现场每班不得少于3次检查,对超出坍落度规定范围的实测结果应及时通报技术负责人作适当调整,将坍落度检测作为控制、评定混凝土拌合物质量的依据。
楼板采用平板振捣器振捣密实,无气泡为止(梁用振捣棒),振捣充分,但也要避免过度,若出现局部过振须将表面浮浆刮去。
(3)加强混凝土的养护
混凝土养护应在浇筑完毕后12h内进行。冬季特别注意保温工作,防止温度应力引起混凝土开裂,保温应在混凝土初凝前进行。另外,注意调整混凝土的浇筑时间,气温高的时段尽量不浇筑。
(4)严禁出现楼板贯通缝,在混凝土强度未达到1.2MPa时不准上人施工。根据气温变化,每隔1周做1次1.2MPa混凝土条件强度检测,以确定上人时间。严禁在楼板上大量集中堆载,规定堆载不超过2KN/m2。
三、冬季施工专项技术措施
本施工组织设计所涉及的冬季施工专项技术措施包括以下施工内容:模板工程、钢筋工程、混凝土工程、脚手架工程和砌体工程等。
1.舟山市历年气候情况
据资料反映,舟山市冬季的气温平均值在3度,低于5度的日平均气温持续时间约为84天。
当室外日平均温度连续5天低于5度的日平均气温持续时间约为84天。
当室外日平均气温连续5天低于5度时,即转入冬季施工。凡次年初春连续7昼夜不出现负温时即转入常温施工。
2.冬季施工准备及安排
2.1人员准备及安排
冬季施工的人员要做好保暖工作,防止人员发生冻伤事故。由于天气寒冷,白天要尽可能地安排足够的人员施工,尽可能不要加夜班,冬季天气变短,常有降霜现象,早上不要太早上班,晚上也不要太晚下班。下大雪天气由于地上积雪结冻,人员容易滑倒,故不得开工。对于外架施工人员,在架上有大霜冻的情况下不得从事外架作业。后勤部门要及时采购好劳保用品,并发放到位,烤火设施也应及时地投入使用。
冬季也是一个防盗的重点季节,项目主要及时按排好足够的保卫人员进行夜间巡逻,防止工地上材料及设备失窃。
2.2材料设备安排
冬季的材料可能发生短缺现象,采购大宗材料可能比较困难,为此我们要提前作好材料供应计划,及时与商家签定供应合同。为保证材料的供应及时性,防止发生商家违约引起的供应不足,我们在采购大宗材料地要同时与两家及以上的供应商签定购销合同,保证材料及时进场。
各种外加剂和保温材料要及时地采购进场,以保证施工需要,并作好保存工作。砖、砂不得被雨水淋湿,防止结冻。
3.冬季施工方法
3.1冬季钢筋工程施工技术措施
3.1.1冬季钢筋工程的基本要求
(1)在负温条件下使用的钢筋,施工过程中要加强管理和检验。钢筋在运输、加工过程中注意防止撞击、刻痕等缺隐。特别是在使用高强度钢筋时尤应注意。
(2)在负温情况下不宜在室外焊接,如必须在室外焊接,其环境温度不宜低于-20度,焊后未冷却的接头,严禁碰到冰雪。
(3)当室外有霜的天气,也不得焊接,如必须焊接的,要先将焊接部分的霜解除,并且在焊接前要进行预热处理。
(4)在混凝土浇筑时,如果钢筋表面有冰霜,要进行解冻处理。即应可用热水冲洗钢筋表面后才能浇筑混凝土。
3.1.2负温闪光对焊
(1)冬季在负温条件下对焊时宜在室内进行。
(2)负温闪光对焊,采用预热闪光对焊或采用:闪光—预热—闪光焊接工艺。钢筋端面比较平整时,宜采用预热闪光对焊;端头不平整时,宜采用闪光—预热—闪光焊接工艺。
(3)负温闪光对焊与常温焊接相比,其调伸长度增加10%—20%,以利于增大加热范围,增加热储备量,降低冷却温度,改善接头性能,变压器级数应降低1-2级,以能保证闪光顺利为准,在闪光过程开始以前,可将钢筋接触几次,使钢筋温度上升,以利于闪光过程顺利进行。浇化过程中期的速度适当减慢;预热时的接触压力适当提高,预热间歇时间适应增长。
3.1.3负温电渣压力焊
负温电渣压力焊的焊接步骤与常温相同,但焊接参数需作适当调整。其中焊接电流的大小,应根据钢筋直径和焊接时的环境温度而定。它影响渣池温度、粘度、电渣过程的稳定性和钢筋熔化速度。当焊接电流过小时,常发生断弧,使焊接通电时间过短,钢筋端面熔化不均匀,不能紧密接触,不易保证接头的熔合,故应适当加大通电时间。
3.1.4钢筋低温度电弧焊
焊接工艺应符合下列要求:①进行帮条平焊或焊接平焊时,第一层焊缝,先从中间引弧,再向两端运弧;立焊时,先从中间向上方运弧,再从下端向中间运弧,以使接头端部的钢筋达到一度的预热效果。在以后各层焊缝的焊接时,采取分层控温施焊,层间温度控制在150℃~350℃之间,以起到缓冷的作用。②坡口的加强焊缝的焊接,应分两层控温施焊,焊接时,宜采用几个接头轮流施焊。
3.2冬季混凝土工程施工技术措施
(1)冬期施工浇灌混凝土的施工稠度不宜过大。实验室对施工人员申请的配合比严格审核,并根据冬期施工规范规定,开出混凝土级配单。施工单位应根据实验室提供的混凝土配合比计量拌制混凝土,不准任意加水,混凝土搅拌时间应比常温延长50%。在拌制混凝土过程中,质量检查人员和负责的实验人员随时检查混凝土配合比用料计量情况及混凝土坍落度是否符合要求。
(2)冬期施工拌制混凝土有的砂、石、水的温度,均需保持正温。为此,应优先考虑采用加热水的方法。对于水泥应存放在车库房内,在拌制混凝土时,随用随搬,当日搬出的当日用完。
(3)冬期浇筑的混凝土在受冻前的抗压强度不低于:①硅酸盐水泥或普通硅酸盐水泥配制的混凝土为设计标叼的30%;②矿渣硅酸盐水泥配制混凝土为设计标号的40%。但混凝土强度等级为C10及以下时,不得小于5.0N/mm2,当施工需要提高混凝土强度等级时,应按提高后的强度等级确定。
(4)模板外和混凝土表面覆盖的保温层,不应采用潮湿状态的材料,也不应将保温材料直接铺盖在潮湿的混凝土表面,新浇混凝土表面应铺一层塑料薄膜;
(5)浇筑混凝土时,及时收听天气预报,尽量安排在天气晴好、气温较高的期间浇筑混凝土。
(6)冬斯施工混凝土质量检查除应符合国家现行标准《混凝土结构工程施工质量验收规范》及其他国家有关标准规定外,尚应符合下列要求:①检查外加剂质量及掺量。商品外加剂进入施工现场后应进行抽样检验,合格后方准使用;②检查水、有料、外加剂。③检查混凝土从入模到拆除保温层或保温模板期间的温度。
(7)模板和保温层在混凝土达到要求强度并冷却到5℃后方可拆除。拆模时混凝土温度与环境温度差大于20℃时,拆模后的混凝土表面应及时覆盖,使其缓慢冷却。新浇筑的混凝土如果受冻,由于拌合水冻结成冰,水结成冰后的体积增加约9%,同时水泥的水化作用也停止进行。在恢复正温养护以后,水泥浆体中的孔隙率将比正常凝结的混凝土显著增加,从而使混凝土的各项物理力学性能全面下降。如抗压强度约损失50%,抗渗等级降低为零,混凝土与钢筋的粘结力也有大幅度的降低。因此遭受过冻害的混凝土不仅力学强度降低而且耐久性能严重劣化。如在施工时增加混凝土中的水泥用量提高混凝土的强度等级,虽然抗压强度可能相应增加,但耐久性仍得不到改善。因此从保证混凝土工程全面质量出发,在冬季施工中必须防止混凝土在硬化初期遭受冻害,并尽早获得强度。
(8)冬季施工用的混凝土,为了缩短养护时间,宜选用硅酸盐水泥或普通硅酸盐水泥。本工程为超高层建筑,期混凝土的抗压强度要求很高,为了减少冻害,要全同砼供应商家合理配比。配合比中的用水量降低到最低限度,即可通过控制坍落度,加入减水剂和防冻剂,优先选用高效减水剂。同时,为了防止钢筋锈蚀,在钢筋混凝土中,氯盐掺量不得超过水泥重量的1%。
(9)本工程的所采用的砼均由我公司下属子公司搅拌站供应,我方相应的技术人员会搅拌站的技术人员共同解决低温状况下的混凝土的拌制所产生的问题。由于长途的运输,我们必须考虑混凝土的热量损失。在拌制过程中我们交采用加热水拌制,内掺加防冻剂和减水剂的方法进行处理。确保混凝土的入模温度达到要求。
(10)对于混凝土的养护,在气温高于0℃以上时,我们采用自然养护方式。当大气温度低于-3℃且高于-15℃时,我们采用蓄热法进行养护即覆盖塑料薄膜和麻袋方法进行养护,-3℃至-8℃时采用一层采用薄膜和麻袋进行养护,-9℃至-15℃时采用薄膜和麻袋进行养护。
3.3冬季脚手架工程施工
冬季脚手架的施工过程中,应当注意以下几点:
(1)在搭设脚手架时,钢管上不得有冰雪霜冻,以保证扣件与钢管连接牢固;如果钢管上有冰雪霜冻应予以清除。
(2)在下雪和下雨天,不得从事外架的搭设和拆除。
(3)在有霜冻的天气里,施工人员不得过早地施工,以防施工人员在架上滑倒而跌落下来造成事故。
(4)在有大风的天气里,不得人事外架的施工。
3.4冬季砌体工程施工技术措施
3.4.1材料的要求
(1)砌体在砌筑前应消除表面污物、冰雪等,遭水浸后冻结的砖或砌块不得使用。
(2)砂浆宜优先采用普通硅酸盐水泥拌制,冬季砌筑不得使用无水泥拌制的砂浆。
(3)石灰膏或电石膏等宜保温防冻,如遭冻结,应经融化后方可使用。
(4)拌制砂浆所用的砂,不得含有直径大于1CM的冻结块和冰块,应尽可能的防止砂、石灰膏被结冻。
(5)冬季砌筑砂浆的稠度宜比常温施工时适当增加水泥。可通过增加石灰或粘土的办法来解决。砌砌体时,稠度应为8—13cm。
(6)搅拌砂浆的时间比常温下要适当延长,一般要比常温增加0.5-1倍。
(7)在冬季施工过程中尽可能的减少砂浆的热量损失,在随拌随用,运输时也不要二次倒运,自然条件下普通砂浆的掺盐砂浆的储存时间不宜超过12min或20min。运输用的车或槽在每日下班前应用热水清洗干净,以防冻结。
3.4.2冬季砌筑方法
(1)冬季砌筑宜采用“三一砌筑法”,即一铲灰、一块砖、一挤揉。
(2)砖砌体的水平和垂直灰缝的平均厚度不要大于10mm,灰缝的厚度也不可小于8mm,施工时要经常检查灰缝的厚度和均匀性。
(3)每天收工前,将外墙的垂直缝填满,上面不铺灰浆,同时用草帘等保温材料将砌体上表面加以覆盖。第二天上班时,应先将砖表面的霜雪扫干净,然后再继续砌筑。
(4)冬季砌筑工程要加强质量的控制。在施工现场留置的砂浆试块,除按常温规定要求外,尚应增设不少于丙组与砌体同条件养护试块,分别用于检验各龄期强度和转入常温28天的砂浆强度。
(5)在砌筑过程中,严格使用已遭冻结的砂浆,不准单以热水掺入冻结的砂浆内重新搅拌使用,也不宜在砌筑时向砂浆内掺水使用。
(6)砂浆在使用时温度不低于5℃,砂浆必须随拌随用。
(7)冬期砌筑砂浆稠度,宜比常温时适当增加(负温条件下砖不浇水,考虑增大砂浆稠度)。
(8)冬期施工中,每日砌筑后在砌体表面覆盖草垫保温,砌筑表面不得留有砂浆。在继续砌筑前,应扫净砌筑表面。
(9)冬期砌筑工程进行质量控制,在施工日记中按常规要求外,尚应记录室外空气温度、暖棚温度,砌筑时砂浆温度、外加剂量以及其他有关资料。
3.5其它
(1)切实做好冬期施工准备工作,向基层和生产班组进行详细的安全技术交底,备齐安全施工必须的机具材料和设施。
(2)使用有毒的化学附加剂(如亚销酸钠等),必须有醒目的“有毒标志”,并指定专人负责保管,建立严格的领用管理制度,使用时向领导人交代清楚。
(3)冬期施工期间,遇有迷雾、大雪或六级以上大风严禁登高作业。
(4)起重机在雨雪天气工作时,应先经试吊,证明制动器灵敏可靠,方可进行作业。
(5)施工现场供电线路,遇有六级以上大风、大雪天气应立即组织人员巡视检查,发现问题及时采取措施修正。
(6)冬季使用的机械设备在入冬前应结合保养计划普遍进行一次换季保养,检查全部技术性能状态。
(7)混凝土搅拌机、砂浆搅拌机、混凝土泵等机械在停止运转后,必须将机械内物料倒完,用水冲洗干净,交将积水放尽,空气压缩机停止运转后,应将储气罐内积水放尽。
(8)氧气瓶应有防震胶圈,旋紧安全钢罩,冻结时应用热水加热,不准用火烤,乙炔气管用后需清除管内积水,胶管防止回水的装置遭冻结时,应用热水或蒸汽加热解冻,严禁用火烤。
(9)加强冬季施工安全检查,内容为安全措施的执行情况和安全生产设施装备。发现违章作业和不安全因素,及时整改。
(10)冬季施工,我们也要做好防火防盗工作。冬季里,天干物燥,加上施工现场有各种焊接操作,带来了严重的安全隐患,我们在各楼层的固定位置都设置了灭火器。
(11)随着冬季的进入,也接近过春节的日期,小偷也会更加活跃,加上天气寒冷,夜间的值班人员也懒于出门巡逻,放松警惕感等各方面因素,给我们的施工现场财产的安全带来了严重的安全隐患。为此,我们在现场要加强警力,并且项目负责人要不定时间的进行查香警卫班的人啼是否到位,是否在巡逻。
(12)春节将至,民工大多要回家过年,我项目部将督促人工分包商对工人的工资进行结算,以防引起不必要的麻烦。
四、对突发事件的预料及相应措施
工程的施工过程是一项庞大的系统运作过程,内外影响因素繁多,难以正常控制。因此应当做好应急处理预案,避免意外紧急情况对正常施工造成重大影响。
根据多年来重大工程施工经验,本工程实施过程中有以下几方面的紧急情况需要特别注意:
1.重大气象灾害
舟山地区对施工造成影响的重要气象灾害主要有台风和冰雹。因此,施工中要特别注意对外脚手架系统、临边防护、活动房结构的方案设计、实施。此外,还将于市气象台建立联系,定期获取30天内气象预测,如有紧急预报,及时采取检查加固措施。
2.人身伤害事故
施工现场人身伤害事故按伤害对象可分为外部人员伤害和施工人员伤害两种。对于前者,将加强现场管理,外来人员进出登记,进入操作面必须佩戴安全帽并有现场人员陪同,部分危险区域禁入。
对于后者,将加强员工安全教育,设专人巡视并建立危险区域警示制度。同时,将加强施工技术方案的管理,特别是对于模板、脚手架、塔吊搭拆等重点专项方案的管理。根据的管理要求,上述方案和施工组织设计均应按重大工程审批程序进行重点审核,以保证其合理性、可靠性。对于技术方案的实施情况,还将由主任工程师进行验收检查,公司定期检查。还设有关键工序施工令制度,对于大跨度、大空间结构混凝土浇捣前,塔吊投入使用前,外架投入使用前等重要关键工序,均要求现场主任工程师、项目经理验收签字,报总工程师签发施工令。通过以上各项制度,可以最大限度地避免可能产生恶劣影响的重大人身伤害事故发生。
3.传染病疫情
在施工现场的管理中,对传染病的防止也是一项重要的工作,为此将采取以下措施:
(1)现场工人均由在建其他项目调入,不吸收外来班组,避免可能引起的输入性传染。
(2)项目部设置医务室,调配医务人员充实现场。
(3)办公室、现场由专人进行消毒,喷洒消毒药水。
(4)现场食堂除做好消毒卫生工作外,服务人员佩戴口罩,提供醋、蒜泥以及一次性碗筷。
(5)各办公室、施工区域注意通风。设专人清理打扫,消灭卫生死角。生活区垃圾及时清运。
(6)落实专人与附近卫生防疫部门建立联系,发现可疑症状人员及时送医院就诊,有关费用由项目部先行垫付。
(7)现场进行相对封闭,减少人员外出和外来人员进入。
第十五章 针对本工程的施工总承包管理
由于本工程相关的分包或专业分包工程量大,项目多,所有分包工程均要纳入本次招投标总承包管理范围之中。故我们作为总承包方,不管在质量、进度、安全、文明施工等方面都要进行总承包管理。
本次施工组织设计主要叙述如何协调好本项目施工的外部关系(包括业主、各分包单位、监理单位、政府部门、设计单位、材料供应商等),保证项目施工正常进行。
总承包商是业主工程意图的主要实施者。总承包商因其责任必须对业主负责;并在监理工程师的直接监督指令下进行工程建设;并应符合地方政府的法律法规,依照国家的有关规范、法律,满足社会的需要和要求;并在设计图纸为依据的条件下建设工程。项目部是直接与上述单位协调的联系人和责任人,也即是项目公共关系。
业主
上级主管单位
政府机构
新闻媒介
公司
当地社区
监理
设计单位
业务联系
分包单位
总承包项目经理部
项目公共关系对象图
一、与业主的协调配合措施
我们愿意以科学的管理,周到的服务,按照业主的要求保质、保量、按期完成本工程。我们将按照合同要求积极进行施工准备,尽早开工,严格履行合同中所规定的职责和义务,并在施工过程中充分发挥我们的优势。本着全心全意为业主服务的精神做好以下几方面的工作:
我们将严格执行业主的决议,绝对服从业主的管理;
积极配合业主进行场内的施工准备工作,为业主排优解难;
在熟悉图纸的基础上及时准确地编制工程预算书和施工进度计划,提供甲供设备及材料清单报送业主,并派出具有丰富经验的采供人员密切协助业主进行设备材料订购的“三批”、“一算”等联系工作,加大设备和材料采购过程与工程施工衔接力度;
密切配合业主进行设备、材料的交接和检验工作。我公司参加过许多重点大型项目施工,对进口和国产设备及材料性能有一定的了解和供应经验,安装分包单位并有专业电气、仪表调试中心,理化分析中心,可对业主供应的设备、材料做质量检测、数据整定、产品鉴定,为业主提供可靠的测试报告和索赔依据,以保证产品质量;
安装分包单位积极配合业主进行市政配套等工作,如供水、供电、供气、环保等配合工作;
安装分包单位积极协助业主进行弱电系统的设备选型、工程设计及安装配合工作,以满足功能的需要,并根据工程需要配备专业调试技术人员,确保工程如期投入使用;
积极配合业主进行工程修改、方案确定、技术论证,从业主要角度出发,提出材料代用建议,并做合理的经济分析,直到业主满意为止,同时绝不借故小修小改拖延工期。
一旦工程控制点工期发生紧张,我公司将积极组织人员进场并实行加班、加点或二班工作制,确保工程按期竣工;
工程施工中,每时每刻我们都将站在业主的立场上,切实从使用舒适,操作方便,便于维修的角度进行施工,为业主提供最好的服务。
积极做好文明施工工作,确保市级文明工地,从施工阶段就树立起标志性的形象,为业主争光。
二、与监理工程师的协调配合措施
1.于开工前书面报告施工准备情况,获监理认可后方可开工。
2.开工前将正式施工组织设计及施工计划报送监理工程师审定。
3.各类检测设备和重要机电设备的进场情况向监理申报,并附上年检合格证明或设备完好证明。
4.施工用各类建筑材料均向监理报送样品、材质证明和有关技术资料,经监理审核批准后再行采购使用。现场采样送检时有监理或业主代表见证。变更用材时,事前征请监理意见,不同意者不进行变更。
5.在选择分包队伍时,按业主及监理的要求提供分包单位的有关资料,征得业主和监理同意后再行与分包签定分包合同。
6.隐蔽工程完成,总包在检查合格的基础上,提前24小时书面通知监理。
7.若监理对某些工程质量有疑问,要求复测时,总包项目部将给予积极配合,并对检测仪器的使用提供方便。
8.及时向监理报送分部分项工程质量自检资料和混凝土、砂浆强度报告。
9.若发现质量事故,及时报告监理和业主,并严格按照共同商定的方案进行处理。
10.合同签定后一个月内,向监理和业主报送施工图预算。
11.工程全部完工后,经认真自检,再行向监理工程师提交验收申请,经监理复验认可后,转报业主,组织正式竣工验收。
12.在竣工验收前7天,将质量保证资料交监理审查。
三、与政府部门之间的协调措施
1.此处的政府指当地政府、工商行政管理机关、市容监察部门、税务部门、公安交通部门、质量监督站、安全监督站、消防管理部门、劳动局等。
2.自觉接受政府的依法监督和指导,随时了解国家和政府的有关方针、政策,掌握近期的市场信息,熟悉当地的法规和惯例。
3.一切项目管理活动都须遵纪守法。
4.通过经常性的上门咨询和信息发布等形式,沟通与政府部门间的关系。
5.主动向工商税务部门依法纳税,主动与公安交通部门取得联系,求得施工占用道路的批准和运输的畅通。
6.主动与司法部门联系,求得法律的保护和指导。
7.主动与市容监察部门联系,搞好施工现场周围地区的环境卫生。
8.积极主动地呈报各类资质证件,申请开工报告,争取尽早开工。
9.主动与质监站、安监站联系,定期或不定期地请质检站的专家们现场指导工作。积极配合市质量监督站对施工现场的各种考核和检查,并及时整改存在的质量问题。配合质量监督站对本工程的初验和核验,并及时提交完整的竣工资料。
10.积极配合市质量监督站对施工现场的检查和考评工作,并及时整改施工中存在的安全隐患,杜绝安全事故。
四、处理好公司与项目外部环境的关系
公司作为项目管理的上一级机构,将从以下几个方面作好配合工作:
与业主签定施工合同,明确施工范围和责任,并全权委托项目经理部履行对业主的合同承诺;
与政府部门保持良好的工作联络,支持他们对项目进行检查、监督和指导;
对工程施工中的重大变更事件保持密切关注,努力作为为业主为分忧,强化项目部对业主的服务功能;
加强对工程进度、质量、安全、文明施工、服务等的常规监控,使施工的每一过程都让业主满意。
五、与新闻媒介的关系
通过新闻媒介取得社会对项目建设的了解和支持,并扩大所属企业和项目经理部的社会影响力。
六、与设计单位的协调配合措施
设计院作为该工程项目的设计者,对该项目的设计思路、设备依据、设计意图有深刻的了解,故与设计单位的协调配合是完整体现设计意图,使工程既能满足使用要求,又在费用上有所控制的重要手段。为此我公司将在施工中做好以下几方面的工作:
认真熟悉图纸,深刻理会意图,在此基础上认真做好设计交底和图纸会审工作;
虚心接受设计单位对工程施工的指导意见和建议,严格执行按图施工的工作方法,不随意改动图纸,改变设计意图,不盲目施工;
遇到施工中存在的问题,虚心请教设计单位及设计人员,并以书面的形式报告设计院,办理施工技术核定,决不自作主张,影响设计效果;
与设计院保持密切联系,并形成信息交流的反馈机制,定期或不定期的请设计单位进行施工现场指导,并认真按其意见组织施工,真正使设计、施工紧密结合起来,不造成脱节。
七、与设备材料供应商的协调配合措施
由于材料供应的及时与否、质量的好坏将直接影响到施工过程及质量,在这方面我们将充分了解地方情况,掌握市场信息,及时提供各种材料采购计划,对材料供应单位进行完善的考察,并根据合同来履行材料的采购任务。同时,在资金的安排上,尽量满足材料采购所需,确保供应及时,施工顺利。
附图、附表
一、拟投入的主要施工机械设备表
二、劳动力计划表
三、计划开、竣工日期和施工进度网络图
四、施工总平面图
拟投入的主要施工机械设备表
| 序号 | 机械或设备名称 | 规格
型号 |
数量 | 国别
产地 |
制 造
年 份 |
额定
功率 (KW) |
用于施
工部位 |
备注 |
| 1 | 桩机 | GPS-15 | 6 | 浙江 | 2000 | 40 | 基础施工 | |
| 2 | 塔吊 | QTZ-60 | 1 | 浙江 | 2000 | 45 | 结构施工 | |
| 3 | 井字架 | 1 | 浙江 | 2003 | 25 | 结构和装饰施工 | ||
| 4 | 砼搅拌机 | JZ350C | 2 | 浙江 | 2002 | 5.5 | 结构和装饰施工 | |
| 5 | 闪光对焊机 | UNI-100 | 1 | 浙江 | 2001 | 100 | 结构施工 | |
| 6 | 钢筋切断机 | GQ40 | 2 | 浙江 | 2001 | 5.5 | 结构施工 | |
| 7 | 钢筋弯曲机 | GW40 | 2 | 浙江 | 2001 | 3 | 结构施工 | |
| 8 | 钢筋调直机 | LGT6/12 | 2 | 浙江 | 2001 | 2.5 | 结构施工 | |
| 9 | 电焊机 | BX3-300-2 | 2 | 浙江 | 2001 | 21.1 | 结构施工 | |
| 10 | 电渣压力焊 | GB-3601 | 4 | 浙江 | 2003 | 12 | 结构施工 | |
| 11 | 木工圆盘锯 | MJ104 | 2 | 浙江 | 2003 | 2.2 | 结构施工 | |
| 12 | 木工平刨床 | MB504 | 2 | 浙江 | 2003 | 3 | 结构施工 | |
| 13 | 插入式振捣器 | ZN50 | 16 | 浙江 | 2004 | 1.1 | 结构施工 | |
| 14 | 平板振动机 | ZW-7 | 4 | 浙江 | 2004 | 1.5 | 结构施工 | |
| 15 | 水泵 | 4 | 浙江 | 2004 | 5.5 | 结构和装饰施工 | ||
| 16 | 挖掘机 | 小松
PC300 |
4 | 浙江 | 2000 | 土方开挖 | ||
| 16 | ||||||||
| 17 |
劳动力计划表
单位:人
| 工种 | 按工程施工阶段投入劳动力情况 | ||||||
| 桩基础 | 地下结构 | 主体结构 | 装修工程 | 装修工程 | 扫尾 | ||
| 钻孔桩工 | 60 | 50 | |||||
| 木工 | 90 | 120 | 80 | 10 | 2 | ||
| 钢筋工 | 20 | 90 | 100 | 60 | 10 | 2 | |
| 砼泥工 | 20 | 80 | 80 | 60 | 10 | 2 | |
| 装饰泥工 | 160 | 200 | 5 | ||||
| 架子工 | 10 | 30 | 20 | 16 | 2 | ||
| 油漆工 | 40 | 60 | 4 | ||||
| 门窗
安装工 |
40 | 60 | 6 | ||||
| 塔吊司机 | 2 | 2 | |||||
| 机操工 | 2 | 10 | 20 | 20 | 20 | 2 | |
| 管道工 | 1 | 10 | 30 | 40 | 60 | 4 | |
| 电工 | 1 | 10 | 20 | 40 | 60 | 4 | |
| 防水工 | 10 | 40 | 40 | ||||
| 普工 | 20 | 40 | 40 | 40 | 40 | 10 | |
| 合计 | 124 | 402 | 482 | 660 | 586 | 43 | |
================================================================
说 明
星欣设计图库资料专卖店拥有最新最全的设计参考图库资料,内容涉及景观园林、建筑、规划、室内装修、建筑结构、暖通空调、给排水、电气设计、施工组织设计等各个领域的设计素材和设计图纸等参考学习资料。是为广大艺术设计工作者优质设计学习参考资料。本站所售的参考资料包括设计方案和施工图案例已达几十万套以上,总量在数千G以上。
雅居云录(https://yajuyun.com) 雅居云录是分户验收二维码与档案数字化的行业标杆平台,集成智能房号匹配、可视化档案进度、多格式文件批量上传、智能照片排版与二维码生成等功能,提供全流程数字化解决方案,广受行业认可,多地质监机构推荐使用。
雅居云录分户验收二维码后台核心功能:智能房号管理: 可视化呈现房号清单,结构清晰,查找便捷。 模板灵活可配: 内置多地验收模板,支持自定义编辑,快速适配。 批量上传支持: PDF文件和现场照片均支持批量上传、即时归档。 照片自动排版: 验收照片自动生成带PDF档案,节省人工排版时间。 二维码一键生成: 项目二维码秒速生成,支持预览与打包下载。进度可视看板: 实时查看任务状态与完成进度,辅助项目管理。
雅居云录分户验收二维码与电子档案平台专业、高效分户验收电子档案:自动匹配项目信息 · 批量上传 · 一键生成二维码 · 精美排版
雅居云录分户验收:批量上传,自动排版,省时省力,规范标准。