**********工程
(A-1~3、B-1~2#住宅楼)
陕西*****建筑工程公司
二O O四年五月
施工组织设计内容概要
总 工 期:按要求工期460天提前完成。
总 目 标:优质、高效、安全、文明、低耗。
质量目标:确保“合格”工程,争创“长安杯”。
安全目标:重大事故“五无”,轻伤事故频率≤2‰。
文明施工目标:创建省级“文明工地”。
新技术应用:创建省级科技示范应用工程。
工程管理体系:项目法施工。
质量管理体系:GB/T19001—2000质量管理体系—要求;
idt ISO9001—2000质量管理体系。
质量方针:塑造精品、真诚服务、进取创新。
服务理念:质量第一、用户至上。
主要施工方案及措施:
1、剪力墙模板采用全钢大模板,顶板模板采用双面覆塑胶合板大模板,确保模板和砼成型质量,模板支撑采用早拆体系,加快模板的安装和拆除速度。
2、采取一系列有效措施、使砼质量达到“清水砼”效果。
3、采取分段流水施工作业,加快施工进度,降低投入成本。
4、采用新技术、新工艺,确保工程施工质量。
目 录
第一章 编制说明……………………………………………………………01
第一节 编制依据………………………………………………………01
第二节 适用范围和说明………………………………………………01
第二章 工程概况……………………………………………………………02
第一节 总体说明………………………………………………………02
第二节 结构设计………………………………………………………02
第三节 建筑设计………………………………………………………03
第四节 给排水工程……………………………………………………05
第五节 采暖工程………………………………………………………05
第六节 电气工程………………………………………………………06
第七节 现场施工条件…………………………………………………08
第八节 本工程施工特点与施工难点…………………………………08
第三章 现场施工平面布置…………………………………………………09
第一节 现场平面布置图………………………………………………09
第二节 施工用电………………………………………………………10
第三节 施工用水………………………………………………………11
第四节 总平面布置统一管理…………………………………………12
第四章 施工方案……………………………………………………………14
第一节 工程测量方案…………………………………………………14
第二节 土方工程………………………………………………………19
第三节 钢筋工程………………………………………………………22
第四节 模板方案………………………………………………………41
第五节 砼工程…………………………………………………………56
第六节 砌体及轻质隔墙工程…………………………………………68
第七节 装饰工程………………………………………………………74
第八节 楼地面工程……………………………………………………81
第九节 门窗工程………………………………………………………84
第十节 屋面工程………………………………………………………88
第十一节 外脚手架与安全防护棚……………………………………98
第十二节 给排水工程 ………………………………………………112
第十三节 采暖工程 …………………………………………………124
第十四节 电气安装工程 ……………………………………………128
第五章 施工组织及施工进度计划…………………………………………138
第一节 施工段的划分 ………………………………………………138
第二节 主要工序安排 ………………………………………………138
第三节 劳动力安排 …………………………………………………139
第四节 施工进度计划 ………………………………………………140
第五节 项目经理部施工管理结构 …………………………………140
第六节 项目经理部管理人员组成 …………………………………141
第六章 质量保证措施………………………………………………………142
第一节 工程质量总目标 ……………………………………………142
第二节 质量保证体系 ………………………………………………142
第三节 质量保证措施 ………………………………………………150
第四节 预防渗漏、开裂保证措施 …………………………………153
第五节 防止质量通病措施 …………………………………………156
第七章 工期保证措施………………………………………………………169
第八章 施工部署……………………………………………………………173
第一节 施工指导思想 ………………………………………………173第二节 总体部署及主要施工方案的选定 …………………………173
第三节 施工准备 ……………………………………………………174
第九章 施工技术措施………………………………………………………176
第一节 确保工程质量的施工技术措施 ……………………………176
第二节 安装与土建配合施工技术措施 ……………………………179
第三节 季节性施工技术措施 ………………………………………181
第十章 施工机械设备配备情况 …………………………………………186
第一节 土建工程主要施工机械设备配备计划 ……………………186
第二节 安装工程主要施工机械设备配备计划 ……………………187
第三节 安全防护用品投入计划 ……………………………………188
第四节 周转材料计划 ………………………………………………188
第十一章 安全施工措施……………………………………………………189
第一节 危险性分析与控制内容 ……………………………………189
第二节 安全生产管理措施 …………………………………………190
第三节 安全生产技术措施 …………………………………………192
第四节 分项工程安全技术措施 ……………………………………194
第五节 消防措施 ……………………………………………………199
第十二章 文明施工措施……………………………………………………201
第一节 文明施工总目标 ……………………………………………201
第二节 文明施工管理措施 …………………………………………201
第三节 现场文明施工设计和标准 …………………………………202
第十三章 新技术的应用与推广……………………………………………208
第十四章 其它保证措施……………………………………………………211
第一节 总包管理协调配合施工措施 ………………………………211
第二节 工程档案文件收集保存 ……………………………………217
第十五章 主要施工材料计划表……………………………………………218
附图: 1、施工现场平面布置图
2、施工作业网络计划图
第一章 编制说明
第一节 编制依据
1、由中机国际工程咨询设计总院设计的本工程全套施工图纸及相关标准图集;
2、主要现行国家建筑施工验收规范、标准;
3、省、市关于对建筑施工技术、质量、安全规程及各项专项治理文件和规定;
4、我公司质量管理体系的有关文件;即《质量手册》、《程序文件》及《作业指导书》。
5、我公司对本工程的质量策划文件;
6、我公司历年积累的有关建筑施工的经验资料;
7、根据本工程特点,施工现场环境、自然条件等。
第二节 适用范围和说明
本施工组织设计适用于本工程施工图中所涉及的在招标文件所规定的招标范围的全部工程内容。
1、施工图纸内容包括:结构、建筑、给水排水、电气、暖通等工程。
2、施工图纸外包括:
①施工现场的临时设施布置;
②施工现场及周围建筑物、道路及地下管道的保护,安全和环保等措施;
③冬、雨季施工措施。
④安全施工临时用电。
第二章 工程概况
第一节 总体说明
某某某工程由A—1、A—2、A—3、B—1、B—2号楼共五栋住宅楼组成,其中A—1、B—1号楼地上七层,A—2、A—3、B—2号楼工程地下一层地上十一层,全部为剪力墙结构,总建筑面积约34500m2。各栋楼概况如下:
| 工程编号 | 结构形式 | 建筑层数 | 建筑面积
(m2) |
占地面积
(m2) |
檐口高度
(m) |
层高
(m) |
单元布局 |
| A—1 | 全剪力墙 | 地上七层跃八层 | 4319.37 | 613.84 | 24.45 | 3.0 | 二梯四户
46.400×14.500 |
| A—2 | 全剪力墙 | 地下一层、地上十一层跃十二层 | 7052.91 | 589.01 | 36.45 | 3.0 | 二梯四户
52.000×11.6 |
| A—3 | 全剪力墙 | 地下一层、地上十一层跃十二层 | 9075.41 | 748.75 | 36.45 | 3.0 | 三梯六户
66.510×13.200 |
| B—1 | 全剪力墙 | 地上七层跃八层 | 5711.96 | 787.66 | 24.45 | 3.0 | 三梯六户
67.560×14.000 |
| B—2 | 全剪力墙 | 地下一层、地上十一层跃十二层 | 8129.91 | 676.7 | 36.45 | 3.0 | 三梯六户
59.110×13.100 |
- 结构设计
本工程建筑工程类别为中高层住宅,为全剪力墙结构,使用功能主要用于民用住宅。
一、抗震设防分类
| 指标名称 | 内 容 | 指标名称 | 内 容 |
| 结构体系 | 剪力墙,地下一层,地上十一层,七层 | 抗震设防烈度 | 8度 |
| 结构安全等级 | 二级 | 建筑场地 | Ⅱ类 |
| 设计使用年限 | 50年 | 人防等级 | 6级; |
二、地基处理与基础
|
工 程 名 称 工 程 部 位 |
A-1 | A-2 | A-3 | B-1 | B-2 | |||
| 地基基础 | 整片3:7灰土垫层,厚度为1500mm,压实系数≥0.97 | |||||||
| 基础筏板(mm) | 有梁式筏板基础筏板厚400mm | 有梁式筏板基础筏板厚600mm | 有梁式筏板基础筏板厚600mm | 有梁式筏板基础筏板厚400mm | 有梁式筏板基础筏板厚600mm | |||
| 基础梁尺寸(mm) | 500×600 | 500×800 | 500×800 | 500×600 | 500×800 | |||
| 砼强度等
级 |
垫层基础 | C15 | ||||||
| 基础筏板 | C30 | C35 | C35、S6 | C35 | C35、S6; | |||
| 地下室外墙 | C35、S6; | |||||||
| 地下室内墙 | C35 | |||||||
| 地下室顶板 | C35、 | |||||||
| 砌体 | ±0.000以下墙体为240厚Mu10号实心粘土砖,M7.5号水泥砂浆砌筑 | |||||||
三、主体结构
| 结构材料 | 轻质隔墙 | 轻质隔墙厚度均为100mm,隔声量应大于40db,耐火极限应不小于1小时,具有一定的防潮防水性能。 | ||||
| 砼标号 | 基础顶面到屋面全部为C30 | 基础顶面到▽14.90m以下为C35;
▽14.90m以上到屋面为C30 |
基础顶面到▽8.90m以下为C35;
▽8.90m以上到屋面为C30; |
基础顶面到屋面全部为C30; | 基础顶面到▽14.90m以下为C35;
▽14.90m以上到屋面为C30 |
|
| 钢筋 | 采用HPB235、HRB335、HRB400钢筋 | |||||
第三节 建筑设计
| 工
程 名 称 工 程 部 |
A-1 | A-2 | A-3 | B-1 | B-2 | |
| 外墙装饰 | 外墙装饰为陶瓷贴面砖 | |||||
| 内墙面装饰 | 电梯井、管道井 | 水泥砂浆抹灰墙面刷普通内墙涂料 | ||||
| 电梯机房 | 水泥石灰膏砂浆抹灰墙面刷普通内墙涂料 | |||||
| 楼梯间 | 水泥石灰膏砂浆抹灰墙面刷乳胶漆; | |||||
| 卫生间、厨房 | 为釉面砖防水墙面,仅作10厚1:3水泥砂浆打底压实抹平,并作1.5厚水泥聚合物涂抹防水层 | |||||
| 客厅、卧室、书房、健身房 | 户内用房为水泥石灰膏砂浆压实抹光墙面,面层乳胶漆不做。 | |||||
| 顶 | 楼梯间、电梯机房 | 板底水泥石灰膏砂浆抹面刷乳胶漆 | ||||
| 顶棚 | 厨房、卫生间 | 顶棚为清水砼不抹灰 | |
| 客厅、卧室、书房、健身房 | 户内用房为板底水泥石灰膏砂浆抹面,面层乳胶漆不做。 | ||
| 地面 | 楼梯间 | 地面为60厚C15砼垫层上铺地砖地面 | |
| 厨房、卫生间 | 60厚C15砼垫层上做1:3水泥砂浆找坡层,坡向地漏,一次抹平干燥后做高分子涂膜防水层; | ||
| 户内其他房间 | 地面为60厚C15砼垫层找平。 | ||
| 楼面 | 楼梯间 | 细石砼叠合层上贴地砖楼面 | |
| 厨房、卫生间 | 为现浇砼楼板上做1:3水泥砂浆找平层最薄处20mm厚,坡向地漏,一次抹平后做1.5厚丙烯酸酯类高分子涂膜防水层, | ||
| 户内的其他房间 | 为60mm厚CL7.5轻基料混凝土垫层,做20mm厚1:3干硬性水泥砂浆结合层 | ||
| 门窗 | 户门为木质防火、防盗安全三防门,厨房门为铝合金推拉门,户内门为木门,阳台门为单框双玻塑钢门,外墙窗均为高保温单框双玻塑钢窗,凸窗的上下板贴25厚挤塑聚苯泡沫板保温。根据招标文件要求,所有的户内门只做预埋木砖,门扇和门框不安装。 | ||
| 外墙内保温 | 本工程外墙内保温采用50厚MD复合保温料保温层,楼梯间隔墙做20厚MD复合保温料保温层。 | ||
| 屋面 | 上人屋面 | 钢筋砼屋面板上做1:6水泥焦渣找坡层,最薄处30mm,坡度为2%,20厚1:3水泥砂浆找平层,聚乙烯丙纶复合防水卷材(350g)两道,35厚挤塑聚苯泡沫隔热板保温层,25厚1:3水泥砂浆找平层,40mm厚250×250彩色铺地砖用1:1水泥砂浆勾缝 | |
| 屋面 | 上人屋面 | 不上人屋面做法保温层(含保温层)以下做法同上人屋面,保温层以上做40厚C20细石砼不保护层。 |
| 地下室防水 | 地下室外围护结构外侧防水层采用聚乙烯丙纶防水卷材(350g/m2)一道,防水等级为三级,地下室防水保护层采用40厚聚苯泡沫板保护,保护层以外开挖1m内回填2:8灰土,分层夯实回填,1m以外采用素土回填夯实。 | |
第四节 给排水工程
本工程给水排水工程包括给水系统、热水系统、消火栓系统、生活排水系统、雨水系统、空调冷凝水系统等。
给水冷水管采用铝合金衬塑复合管(HK-LPP型),热熔连接,公称压力1.25MPa;
热水管采用交联聚乙烯(PEX),管径D20(外径),壁厚1.9mm,耐压不小于0.8MPa,埋地部分不允许有接头,配套管件连接,热水管敷设每层建筑地面垫层内,平面位置为靠墙边15cm处。
消火栓管采用焊接钢管,焊接连接,并刷樟丹两遍面漆两遍防腐。
排水立管、排水横干管为柔性抗震排水铸铁管,W型无承口橡胶密封圈接口,排水横支管、雨水管采用UPVC内螺旋排水塑料管,粘接连接。空调凝结水采用UPVC排水塑料管,粘接连接,管径为DN40,在每层楼板上方1.7m处预留40×40斜三通。
管道保温:消防栓管道在屋顶敷设时,采用岩棉壳保温,厚度δ=20mm,外包玻璃纤丝布保护。
地漏:卫生间、厨房地漏清扫口采用铜镀铬防返溢型,阳台、雨水采用无水封地漏,洗衣机旁采用洗衣机专用地漏。
第五节 采暖工程
本工程建筑采暖室外计算温度为-5℃,室内设计温度为卫生间20℃,其他房间18℃。采暖热水由户外热网引入,供水温度为80℃,回水温度为60℃。
采暖系统管道采用交联聚乙烯管,管材保证耐温90℃以上,耐压1.00MPa,室内采暖管道敷设于楼板垫层的室内小地沟内,管道埋地部分应为整根连续管,垫层内管道严禁设有接头,每米设同材料固定管卡一个,弯曲部分应设两处固定管卡。采暖管道穿墙时应埋设套管,套管与墙面平齐,套管与热水管间隙用聚乙烯保温材料塞实。管道穿卫生间地面时必须考虑防水措施。
散热器采用型钢柱形散热器,与散热器连接的明装管道采用焊接钢管,两种管材采用专用组合式活接头(塑/金属)连接。每组散热器上均设手动跑风阀,采暖供回水总立管上均设自动排气阀。
出屋面自动排气阀及非采暖房间钢管采用岩棉保温管壳保温,外包加筋铝铂保护层保温管壳厚度δ=40mm,埋地的交联聚乙烯管采用水泥膨胀珍珠岩保温。
第六节 电气工程
电气工程主要包括:照明、电力配电系统、综合布线系统、有线电视系统、楼字对讲系统、火灾报警系统、接地系统等。
1、照明、电力配电系统:
电源由小区配电室低压侧采用VV22-1KV电缆埋地引来电压380/220V。由于使用户内中央空调(三项负荷),户内进线为三相线。
照明计费箱暗装,装高底边距地1.4m。户内箱暗装,装高底边距地1.8m。导线除注明者外均采用BV-450/750V-2.5mm2型导线穿焊接钢管沿地板、墙等暗敷。导线穿管:2~3根SC15,4~6根SC20。所有插座回路均为BV-450/750V-3×4 SC20。配电线路过长处,按规范要求加装接线盒。
2、综合布线系统:
每个单元在一层进户处或地下室楼梯间安装数据及语音信息总配线架配线柜,每户设一台多媒体箱完成数据、语音、电视的配线,每户书房、卧室、起居室各设一个数据信息和一个语音信息插座,每户的主卧卫生间设一个语音信息插座。
每户均从总配线架引两根(一根语音、一根数据)五类非屏蔽双绞线至多媒体箱,从多媒体箱至户内各信息插座均采用一根五类非屏蔽双绞线,穿SC15钢管保护。
3、有线电视系统
有线电视放大器箱置于每单元四层(A-1、B-1)或三层和八层(A-2、A-3、B-1)楼梯间。每户起居室,卧室及书房各设一个有线电视插座。
有线电视进线电缆穿SC50进户后穿SC32焊接钢管埋地埋墙暗设至放大器箱,由放大器箱引至各单元各层分支器,电缆采用SYWV-75-9型同轴电缆,穿SC25焊接钢管埋顶板埋墙暗设;由放大器引至各户多媒体箱电缆采用SYWV-75-7型同轴电缆,穿SC20焊接钢管埋顶板埋墙暗设;由多媒体箱引至电视插座电缆采用SYWV-75-5型同轴电缆,穿SC15焊接钢管埋地埋墙暗设。
4、楼宇对讲系统
楼内设置可视楼字对讲系统。各单元首层入口防盗门上,设可视对讲主机和电控锁,各户内设置可视对讲分机,门顶设门磁,主卧室内设紧急按钮。
5、接地系统
在基础梁上用40×4热镀锌扁钢,将该建筑物的承台、筏板及柱子的钢筋连成电器通路,作为局部等电位联接和防雷接地合用接地极。本接地系统为联合接地方式,接地电阻不大于1欧。
本工程采用TN-C-S保护系统电源中性线在进户处做重复接地。住宅卫生间采用等电位联接,均选用BVR-1×4导线穿PVC16管与暖气管、浴盆、金属地漏、卫生设备可靠连结并引至LEB板等电位联接线的敷设方式,采用在墙内或地板内暗设。有线电视、电话、网络的进线电缆在入户处将电缆的金屑外皮与防雷接地装置连接。所有的配电箱、配电屏、钢管及设备等均需与接地网连接,PE线采用铜芯塑料线。
本工程防雷等级三类,在屋面不同标高的女儿墙上安装Ø12镀锌圆钢作为避雷带,避雷带支架为25×4镀锌扁钢,支架间距为1m,支架出女儿墙高度为0.25m,在屋面组成不大于24m×16m的网格;引下线利用构造柱内主筋至少焊接Ø24两根引至基础底板钢筋,屋面上所有金属构件与避雷带做良好的电气连接并引至引下线。
第七节 现场施工条件
本工程为群体住宅工程,施工现场场地基本平整,进场道路已通,达到“三通一平”的施工需要。临时供水、供电已接入现场。供水管径及供水量满足要求,最大供电容量为315KVA。施工基本条件已具备,进场后即可展开施工。
第八节 本工程的特点与施工难点
1、本工程地基处理采用1.5m厚3:7灰土,其中A-2、A-3、B-2号楼有一层地下室,基础埋设较深,基坑开挖必须采取有效措施,防止基坑塌方。
2、本工程基础为有梁式筏板基础,基础梁需吊模施工,由于每栋楼的基础纵向较长,施工时应采取有效的措施防止基础筏板砼裂缝。
3、本工程要求工期为460天,结合该工程实际需要,并结合我公司历年建筑施工经验和实例,计划提前竣工。由于工程量较大,必须对施工组织和安排进行合理规划,并在具体施工过程中加强管理、严格落实以确保工期的实现。
4、本工程施工期间经历春、夏、秋、冬,应做好冬季施工质量保证措施和安全防护。
5、现场周边环境属于市区,施工中对文明施工、安全防护、环境保护、噪声和粉尘控制要求非常严格,应确保施工对附近居民生活无明显不利影响。
第三章 现场施工平面布置
第一节 现场施工平面布置
施工平面布置图详见附图一:《某某某工程工程施工平面布置图》。
根据本工程现场实际情况及建筑物特点等,拟对施工中需用的机械及施工场地作如下布置。
1、场地围墙:按施工平面布置图砌筑施工现场围墙,以防止非施工人员进入施工场地,避免安全事故发生。围墙采用240厚普通粘土砖砌筑,围墙高度为2.5m,围墙外面用混合砂浆抹灰,刷白色外墙涂料。通道顶搭设双层安全防护棚,确保通行安全。
2、运输道路及主要入口:
在围墙上,醒目书写和悬挂各种安全标志牌,并布置大门。大门宽6米,为工地主要出入口,施工人员和物资进场的主要通道;为了保护环境卫生,避免车辆运输污染道路,在每个大门口设一个洗车台,车辆驶出工地前,对车进行冲洗。
3、施工塔吊、施工电梯、砼泵、钢筋加工车间及堆放场地、搅拌棚、砂堆放场地布置详细位置见施工总平面布置图。
4、钢筋加工棚设在塔吊旋转半径范围内,以便吊运钢筋。
5、搅拌站:本工程采用商品砼,基础和主体施工阶段不设搅拌站。在砌体和装修工程施工阶段,设砂浆搅拌场地和砖、砂等材料堆场。
6、大模板和钢化物资堆放场地:根据每栋楼的具体情况,灵活设置大模板和钢化物资堆放场地。钢化物资应根据施工进度分批进场,随时用于工程,尽可能少占用施工场地。
7、现场排水设施:
(1) 基坑水排除:基坑内周边设置环绕型排水明沟,垫层施工时沿周边作0.2%坡度坡向明沟。
(2) 地表雨水排除:在地下室外围回填土完工后,现场主要道路和材料堆放场地全部用100厚C15砼硬化,并修好排水坡度及排水沟,确保现场不积水。
第二节 施工用电
在建设单位提供的电源房设置配电室,现场临时用电必须符合JGJ46-88规范要求,从配电室引出的各路电源、均应采用三相五线制(TN-S接零保护系统),并做到一机一闸一漏电保护,同时施工用电,照明应分路设置。施工现场的总用电量计算如下:
1、机械设备用电量计算
施工机械设备用电量详见《主要机械设备供应计划表》。
现场用电高峰时,塔吊、升降机电动机额定总功率为:
∑P机=218.2KW
搅拌机、钢筋加工机械等电动机额定总功率为:
∑P机=105.2KW
对焊机、电焊机及电渣压力焊机:
∑P焊=108KVA
3、用电量计算:
取塔吊、升降机、砼输送泵K1=0.3, cosθ=0.7, η=0.86,
取搅拌机、及钢筋加工机械等K1=0.7, cosθ=0.68, η=0.86,
取电焊机K2=0.45
S机=K1ΣP动/ηcosθ+K2ΣP焊
=0.3×218.2/(0.86×0.7) + 0.7×105.2/(0.86×0.68) + 0.45×108
=283.3KW
照明用电按施工用电设备额定总功率10%考虑:
S照=283.3×10%=28.3KW
总用电量:
S总=S机+S照=283.3+28.3=311.5KW
根据招标文件,甲方提供的变压器容量为315KVA,施工现场临时用电311.5KVA,满足施工需要。
主供线路沿围墙内侧敷设,从配电箱到用电设备段采用穿管敷设,线路的具体走向见施工用水用电平面布置图。
施工临时用电的具体措施和线路的布置详见“施工临时用电方案”。
第三节 施工用水
现场施工用水总量包括现场施工用水,现场生活用水、生活区用水和消防用水四个方面,分别计算如下:
1、现场施工用水量按下式计算:
q1=K1·∑Q1N1/(T1·t) ·K2/(8×3600)
考虑砼、砂浆搅拌用水、养护用水,取N1=600L/m3,Q1=200m3,K1=1.10, K2=1.5, T1·t=1,则
q1=1.10×(200×600) ×1.5/(8×3600)=7.19L/S
2、现场生活用水量按下式计算:
q3=P1N3K4/(t×8×3600)
取P1=300人, N3=60L/人, K4=1.50, t=2, 则
q3=300×60×1.5/(2×8×3600)=0.47L/S
3、生活区用水量按下式计算:
q4=P2N4K3/(24×3600)
取P2=300人, N4=100L/人, K5=2.5, 则
q4=300×100×2.5/(24×3600)=0.87L/S
4、消防用水:q5=10L/S
5、施工现场总用水量:
因q1+q3+q4=8.53L/S<q5=10L/S
则总用水量:
Q=q5+(q1+q3+q4)/2=10+8.53/2=14.26L/S
6、管径选择
d=[4Q/(π·V·1000)]1/2
=[4×14.26/(3.14×2.5×1000)]1/2
=0.085m
选用管径d=100mm
根据以上计算,现场高峰用水时所需管径d=100mm,建设单位现场提供的管径满足施工需要。
主管采用∅100,按树枝形供水方式布置,支管采用∅40钢管,并设置相应的消防栓;另外,现场设一砖砌蓄水池,作为临时停水应急之用。
第四节 总平面布置统一管理
1、项目经理部以施工总平面图为依据,随时掌握现场动态,经常进行检查、监督管理。进入施工现场的施工单位应一律尊重总包单位的决定,服从总包单位的统一指挥。未经批准,任何单位均不得在现场任意占用场地(包括停车);不得在现场搭盖建筑物、构筑物;不得任意挖土或弃土;不得任意敷设、改移或拆除任何动力管线;不得任意挖开道路面和路基,断绝交通;不得破坏水沟,堵塞排水管道:不得向临近区域排泄积水或废水。
2、各个单位需要设置临时用房时,必须先写出申请,经项目经理部审定许可才能动工,在建筑过程中,要服从项目经理的检查和指挥,使用结束后要负责及时拆除、清理恢复原状,达到人离场清。
3、特殊情况下,各施工单位确需开挖道路面,阻碍正常交通,临时停水、停电时要提前书面申请报告,并在规定的有效期内完成,不得拖延,并及时按规定做好善后工作,负责恢复原状。
4、各单位运输及交通车辆要求按指定的道路进出停放。
5、进场的大宗安装材料、构件、设备、机具要在规定进场时间和装卸作业期限完成,并在规定时间存放在规定地点,避免交通堵塞和场地占用混乱,维持现场正常有序。
6、施工现场的水准点和轴线控制桩应有明显的标志,并加以妥善保护,任何人不得损坏。
7、砂石、钢筋、模板及其它经常性大宗施工材料,应根据施工进度计划安排,分批分期进场,场地要统一规划,严格控制堆放地盘,切实贯彻落实科学管理,严禁随心所欲,造成浪费、或堵塞交通运输等事故发生。
8、所有临时设施必须按照施工平面图规划要求办,按质量标准办,不能够马虎凑合,降低标准。
9、对整个现场的布置和保持,管理人员要经常督促检查,并落到实处。
第四章 主要工程施工方案
第一节 工程测量方案
1、本工程特点及测量要求
本工程多栋住宅楼小区,要求测量放线方法能因地、因时制宜,灵活适应,并配备功能相适应的专用仪器和采取必要技术及安全措施。
本工程将每栋楼按单元分段进行流水作业施工,因此,根据实际情况分别建立各级坐标控制网。在建筑红线总控制网的基础上,每栋楼分别建立能单独施工的二级控制网,每个二级控制网设8个坐标控制点,分别位于纵横外边轴线的延伸部位且易保护的位置;每栋楼各施工段分别建立能单独施工的三级控制网,每个三级控制网至少设置四个控制点,设置在±0.000楼面结构层上或基础筏板顶面,以此作为各轴线定位和楼层向上投侧的依据。
为保证每栋住宅楼的整体性和局部施工的精度要求,快捷准确地为施工提供轴线和标高,保证各工序的相互配合和衔接,绘制测量控制图及各局部测量控制图,精确计算出各测量控制点和各轴线之间的数据关系,以便能快速测量定位放线和快速检查验线,指导工程施工,并对工程测量中各个细节及步骤作出明确细致的要求。
为了确保工程质量,防止因测量放线差错造成损失,必须在施工各个阶段和各主要部位做好验线工作,并对测量工作作以下要求:
①测量计算要依据正确,方法科学,严谨有序,步步校核,结果准确。
②测量记录应做到原始、正确、完整、工整。
③测量验线要主动,依据要原始、正确、有效,验线使用的钢尺和仪器,要按计量法规定进行检定,验线精度符合规范要求,验线人员所用的仪器和测法要尽量与放线工作不同。
3、建立平面轴线控制网
首先应根据建筑设计总平面及墙体平面图所设计的坐标数据通过换算得出所需各控制点坐标和测量数据。依据城市规划建筑红线(桩)为基准点,在现场实测建筑物的主要控制轴线位置,并由此建立总平面轴线控制网,其主要作用有:
①控制该建筑物设计坐标,定位不出现偏差位移。
②作为基坑放线、土方开挖的测量依据。
③确保基础工程、主体工程的施工轴线连贯一致,不产生位移偏差。
④作为内控法测量基点建立依据。
轴线控制桩采用于50×50×700木桩,四周用砼保护,保护深度为400mm,控制采用桩上划十字线,十字线中心钉小钉。
由于该工程基础、地下室工程施工周期长,这就需要以平面轴线控制网为基准,保障提供每道工序的施工轴线的连贯与一致,也是基础垫层定位放线及内控网建立的测量依据。
总平面轴线控制网应为矩形,且各边能相互通视。以便闭合复核,控制网各边与建筑物纵、横轴线平行,各轴线控制桩分布在控制网的各边上,以便复核各轴线控制桩是否位移。如因现场条件限制不能建立矩形网,应切实保护好各轴桩,使其不得位移或丢失。
当施工至一层楼面时,在楼层板面上埋设150×150×8予埋钢板,并将轴线控制线精确投测钢板上,复核后用钢冲在钢板上打“十”字记号。此内控网基点的设立对±0.000以上工程施工极为重要和方便。
4、各施工阶段的施工测量方法
- 在±0.000施工以下工程施工阶段,用二级控制网轴线桩向垫层、筏板基础、±0.000楼面投测各轴线,即可确定各主要定位轴线的位置,再进行尺量即可分出各个轴线的位置。
- 在±0.000以上工程施工阶段,用内控法测量。利用一层板面埋设的150×150×8予埋钢板上的“十”字记号,向上各层投测各轴线控制点。
- 施工±0.000以上楼面时,在控制点位置留设150×150的方洞,以便向施工层投测控制点。
5、主体施工轴线垂直引测
(1)为满足本工程竖向垂直引测轴线需要,根据施工现场的具体情况,主楼各层放线竖向投测采用“内控法”来做垂直测量控制,使用DZJ2激光垂准仪。为了能满足施工和控制质量的要求,在每栋楼的每个单元楼面上面至少设4个内控基点,形成一个平面控制网,一层楼面砼施工前,在各控制点处预埋150×150mm铁件(铁件固定在板钢筋上),待砼强度达到一定强度后,根据控制网轴线关系,将各点投测在预埋铁件上,校核无误后刻上十字,用钢冲在十字的相交处冲上记号,用红油漆描好,作为向上投测的依据。
(2)在各层楼板面内控基点的相应位置预留150×150mm预留孔洞,作为向上投点的通光孔。垂直投测控制点采用激光垂直仪,每层向上投点时,孔上放一块玻璃光靶,每次投点时将激光垂准仪分别架在底层各个基准点上,严格对中整平,然后投点。为了消除仪器本身的系统误差和偶然误差,保证测量精度,在每一个基准点向上投测四个点,即仪器转90°、180°、270°、0°四个角度分别投影。形成四边形1、2、3、4,其中四边形对角线(13、24)的交点就是要投侧的控制点。每层控制点投到施工层后用仪器、钢尺进行复核检验,闭合后且精度达到要求方可放线施工。
2 1
3 4
内控法投测示意图
(3)为了能保证控制线竖向投测的精度,要求做到层间竖向测量偏差不得超过3mm,建筑全高(H)竖向测量偏差不得超过3H/10000。做到每投二层用仪器对各轴线关系进行校验,观测时要精密整平水平度盘水准管,以减少竖向不铅直的误差。
6、标高控制:
(1)现场建立统一的水准网点,水准网点应根据建设单位提供的水准点进行引测。地下室施工时,以备传递地下室各结构部位施工标高。
(2)±0.000以上主体施工时,根据所建立的水准网点,在首层内外墙上测出+0.500m标高线,作为各层施工标高向上传递的依据,用50m钢卷尺配备15Kg拉力器向上传递标高,每施工一层,在剪力墙竖筋上抄+0.500m标高的控制线,并用红油漆标注,以便柱、梁、门窗预留洞安装的标高控制,柱模板拆除后,应及时抄测+50cm建筑水平标高线,并用墨线弹出,以便为砌体和楼地面工程等提供标高。各层的标高控制线均应由首层外墙上的+0.500m标高线向上直接量取。当施工至高度超过一整钢卷尺长时,应在该层精确的测定第二条起始标高线。标高误差在层高控制应不超过±3mm全高控制应不超过±20mm。
7、沉降观测的控制:
沉降观测是确保建筑物结构安全的一项重要工作,除按设计要求埋点进行观测外,在操作方面应注意以下几点:
(1)建筑物的沉降观测依据建筑物附近已建立的水准网点进行观测。按要求,水准网点应由不少于三个水准点组成,埋设在相通视、振动小、安全稳定的地方,使其形成水准闭合网。水准点采用现浇砼桩按规范要求埋设,以便相互校核,防止其本身产生变形。水准点必须稳定坚固,定期进行高程检查,以保证沉降观测成果的正确性。
(2)为满足沉降观测的精度要求,采用精密水准仪ZeiSS DINll0电子水准仪配铟钢尺进行沉降观测。
(3)沉降观测应做到“四定”,既固定人员观测和整理资料;固定测量仪器及铟钢尺;固定使用水准点;固定测量方法和测量线路。
(4)沉降观测点应按设计要求及时埋设,±0.000以上主体阶段每施工完两层观测一次,装饰各阶段每两月观测一次,直至竣工。竣工后的观测周期,可根据建筑物的稳定情况确定,直至沉降稳定为止。
8、模板控制线:
当平面各轴线测放完后,如何能确保柱模板就位,将直接影响主体的垂直度。根据我们的经验,我们认为在层间平面放线时,应由模板内线向外量放并弹出200mm的控制线,这样既方便操作工人能将模板准确就位,加固自检,也便于各职能部门校核模板之用,从而使框架柱施工和主体垂直度有了可靠的保证。
9、测量成果管理措施
(1)人员组织
组建项目测量放线组,负责整个工程的控制测量、主轴线测量、标高传递、沉降变形测量及模板安装测量等测量放线任务。测放组长由具有丰富实践经验测量师担任,全权负责测放部的日常管理和人员调配工作。配备测量工2人,其余测量放线工3~4人。
(2)对各种线型均要弹墨线标示,墨线要清晰,墨线交接处要画红漆切边。对构件还要在线型旁边以红漆标明构件名称,以便施工。
(3)工程的控制线、控制高程必须经过技术负责人验线,其余各种测量线型必须经过各级工长验线。
(4)现场各种测量线型不得随意破坏。任何线型的更改必须经过项目技术负责认可。
10、为保证施工精度要求,配备测量放线仪器主要有
| 仪器名称 | 数量 | 用途 | 设备性能 |
| PENTAX—PTSV2
自动跟踪精密全站仪 |
1台 | 控制网测量 | 测角精度:2”
测距精度:2+2PPM |
| ZeiSS DINll0电子水准仪 | 1台 | 高程控制及精密水准测量 | 精度:每公里往返测0.3mm |
| DZJ2激光垂准仪 | 1台 | 主轴线的竖向传递 | 精度:1/40000 |
| J2-1光学经纬仪 | 1台 | 投测轴线 | 测角精度:2” |
| S3水准仪 | 2台 | 标高测量与传递 | 精度:每公里往返测3mm |
| 50米钢尺 | 2把 | 轴线量测 | 经过检定 |
第二节 土方工程
根据本工程土质特点,采用挖掘机挖土,配自卸汽车运土的施工方案。为确保工程质量,防止土方机械破坏工程桩以及避免受力层土体扰动,采用机械与人工共同开挖基坑土方的施工方案。
1、脏土外运:根据现场勘查,施工现场存大量的垃圾土和腐植土,应先采用装载机和自卸汽车将场地内的垃圾土和表面的腐植土清理外运出场地。
2、土方开挖:由于基坑较深,土方开挖分三层两次施工,选3台大斗容量挖掘机进行大开挖并配20辆自卸汽车运土。第一次开挖开挖深度大约3m左右,并开挖汽车坡道,第二次开挖至设计标高以上10cm处,然后人工清底、修边至设计标高,随挖随清,挖出的土方用自卸汽车外运出坑指定地点堆放,并依此形成流水施工作业。
3、基坑边坡:
根据基坑、土质和现场实际情况,由于基坑较深,基坑四周无其它建筑物,基坑内施工周期长,施工期间将面临雨季施工,对基坑边坡稳定造成一定的影响,确定基坑边坡坡度为1:0.5,基坑底灰土垫层底表高开始放坡,如由于场地限制局部不能按1:0.5放坡时,基坑边坡可进行支护,基坑边坡加固根据施工现场的实际情况和土质情况由专业施工单位和设计单位共同确定,编制单独的施工方案。
考虑到土层含水率高以及边坡使用周期长,在坑底四周做好排水沟和集水坑,以保证工程的正常施工。基坑上边四周1m以外应打钢管桩绑钢管护拦,护拦高度为1.2m。
4、降水方法:
由于基坑施工周期较长,施工期间雨水较多,雨水浸泡地基会对建筑物产生不均匀沉降问题。本工程基坑采用明沟排水,具体做法是:在3:7灰土垫层施工完后,在筏板外边1m左右处挖30×30cm明沟,并以2%的排水坡度排向集水坑,集水坑每30m设置一个,四周用砖砌筑,以防塌方。抽水采用2吋泥浆泵配胶皮管抽水,扬程7-10m,抽水量为3L/S。现场要与建设单位联系确定好排水位置,防止排水回灌基坑。排水要有专人负责。
5、灰土垫层施工
本工程砼垫层以下设计为1500mm厚整片3:7灰土垫层。灰土垫层施工采用灰土拌和机进行灰土拌和,装载机进行坑内运输,人工摊铺平整,压路机碾压密实。3:7灰土所用的土料不得含有有机杂质,使用前应过筛,其粒径不得大于15mm,白灰用袋装的熟石灰,要求粒径不得大于5mm,熟石灰中不得夹有未熟化的生石灰块,也不得含有过多的水分。灰土应拌和均匀,颜色一致,配合比符合设计要求。灰土施工时,应适当控制含水量,工地检查方法是用手将灰土紧握成团,两指轻捏即碎为宜,如土料水分过多或不足时,应凉干或洒水湿润,灰土拌好后应及时夯实,不得隔日夯打。灰土的虚铺厚度应为200~250mm,压实后的灰土三天内不得受水浸泡,灰土地基打完后,应及时修建基础或做临时遮盖,防止日晒雨淋。受浸湿的灰土,应在凉干后夯打密实。灰土的质量检查,宜用环刀取样,测定其干容重,压实系数不得小于设计要求和施工规范规定。基坑回填土环刀法取样数量为,每层100~500m2取样一组,但不得少于一组。
6、基坑回填:
待地下室结构施工完后,地下室外墙按设计要求做好防水层,并用聚苯泡沫板做保护层,然后进行土方回填,土方回填应待结构上至三层以上,悬挑脚手架搭设完成后进行。填土前应先拆掉基坑下外架,对地下室内外防水层进行隐蔽工程验收。挡土墙外围1m范围内采用2:8灰土回填,1m以外采用外购黄土回填,填土前检验土的含水率。含水量偏高时,可采用翻松晾晒,均匀掺入干土等措施;含水量偏低,可预先洒水湿润,增加压实遍数等措施。室外回填土应分层进行,每层虚铺厚度不大于25cm,用打夯机分层打夯密实,并按要求取点,用环刀法取样进行干容重试验,作好土方密实度试验报告记录。
第三节 钢筋工程
一、钢筋工程的制作加工
- 本工程主要采用HPB-235、HRB-335、HRB-400级钢筋,钢筋采用现场加工制作,手工绑扎,钢筋的运输采用现场配备的塔吊,辅以人工搬抬到位。
- 现场配备钢筋切断机四台,钢筋弯曲机六台,钢筋调直机三台,钢筋对焊机两台,钢筋滚压直螺纹机四台。
- 进场的钢筋必须有产品质量合格证书,并分厂家、分批号、分规格挂牌堆放,并由技术质量部门及时按规定取样进行复试,复试合格后、方可使用。对不合格钢筋要坚决退货。
- 钢筋的放样要提前准确地作出钢材原材料进场计划及钢筋配料表;材料部门应按计划及时组织材料进场。
- 钢筋加工制作时,要将钢筋加工表与设计图复核,检查下料表是否有错误和遗漏,对每种钢筋要按下料表检查是否达到要求,经过这两道检查后,再按下料表放出实样,试制合格后方可成批制作,加工成型的钢筋要按部位编号,分规格堆放整齐,并挂标识牌,以便管理和取用。
- 钢筋原材及半成品的堆放均位于塔吊的回旋半径之内,便于吊装。
二、钢筋分项工程的质量验收
-
- 一般规定
①当钢筋的品种、级别或规格需作变更时,应办理设计变更文件。
②在浇筑混凝土之前,应进行钢筋隐蔽工程验收,其内容包括:
a、纵向受力钢筋的品种、规格、数量、位置等;
b、钢筋的连接方式、接头位置、接头数量、接头面积百分率等;
c、箍筋、横向钢筋的品种、规格、数量、间距等;
d、预埋件的规格、数量、位置等。
-
- 钢筋的原材料应符合下列规定:
-
- 钢筋进场时,应按现行国家标准(钢筋混凝土用热轧带肋钢筋)GB1499等的规定抽取试件作力学性能检验,其质量必须符合有关标准的规定。
- 对有抗震设防要求的框架结构,其纵向受力钢筋的强度应满足设计要求;当设计无具体要求时,对一、二缎抗震等级,检验所得的强度实测值应符合下列规定:
-
- 钢筋的原材料应符合下列规定:
a、钢筋的抗拉强度实测值与屈服强度实测值的比值不应小于1.25;
b、钢筋的屈服强度实测值与强度标准值的比值不应大于1.30;
-
-
-
- 当发现钢筋脆断、焊接性能不良或力学性能显著不正常等现象时,应对该批钢筋进行化学成分检验或其他专项检验。
-
- 钢筋加工应符合下列规定:
-
①受力钢筋的弯钩和弯折应符合下列规定:
a、HPB235级钢筋末端应作180°弯钩,其弯弧内直径不应小于钢筋直径的2.5倍,弯钩的弯后平直部分长度不应小于钢筋直径的3倍;

b、当设计要求钢筋末端需作135°弯钩时,HRB335级、HRB400级钢筋的弯弧内直径不应小于钢筋直径的4倍,弯钩的弯后平直部分长度应符合设计要求

钢筋末端90°或135°弯折
c、钢筋作不大于90°的弯折时,弯折处的弯弧内直径不应小于钢筋直径的5倍。
②除焊接封闭环式箍筋外,箍筋的末端应作弯钩,弯钩形式应符合设计要求;当设计无具体要求时,应符合下列规定:
a、箍筋弯钩的弯弧内直径除应满足其弯弧内直径不应小于钢筋直径的2.5倍,弯钩的弯后平直部分长度不应小于钢筋直径的3倍规定外,尚应不小于受力钢筋直径;
b、箍筋弯钩的弯折角度:对一般结构,不应小于90°;对有抗震等要求的结构,应为135°;

箍筋示意图(135°/135°)
c、箍筋弯后平直部分长度:对一般结构,不宜小于箍筋直径的5倍;对有抗震等要求的结构,不应小于箍筋直径的10倍。
③钢筋调直宜采用机械方法,也可采用冷拉方法。当采用冷拉方法调直钢筋时,HPB235级钢筋的冷拉率不宜大于4%,HRB335级、HRB400级和RRB400级钢筋的冷拉率不宜大于1%。
④钢筋加工的形状、尺寸应符合设计要求,其偏差应符合表5.3.4的规定。
表5.3.4 钢筋加工的允许偏差
| 项 目 | 允许偏差(mm) |
| 受力钢筋顺长度方向全长的净尺寸 | ±10 |
| 弯起钢筋的弯折位置 | ±20 |
| 箍筋内净尺寸 | ±5 |
4、钢筋连接的连接应符合下列规定:
①纵向受力钢筋的连接方式应符合设计要求。
②在施工现场,应按国家现行标准《钢筋机械连接通用技术规程》JGJ107、《钢筋焊接及验收规程》JGJ18的规定抽取钢筋机械连接接头、焊接接头试件作力学性能检验,其质量应符合有关规程的规定。
③钢筋的接头宜设置在受力较小处。同一纵向受力钢筋不宜设置两个或两个以上接头。接头末端至钢筋弯起点的距离不应小于钢筋直径的10倍。
④在施工现场,应按国家现行标准《钢筋机械连接通用技术规程》JGJ107、《钢筋焊接及验收规程》JGJ18的规定对钢筋机械连接接头、焊接接头的外观进行检查,其质量应符合有关规程的规定。
⑤当受力钢筋采用机械连接接头或焊接接头时,设置在同一构件内的接头宜相互错开。
纵向受力钢筋机械连接接头及焊接接头连接区段的长度为35d(d为纵向受力钢筋的较大直径)且不小于500mm,凡接头中点位于该连接区段长度内的接头均属于同一连接区段。同连接区段内,纵向受力钢筋机械连接及焊接的接头面积百分率为改区段内有接头的纵向受力钢筋截面面积与全部纵向受力钢筋截面面积的比值。
同一连接区段内,纵向受力钢筋的接头面积百分率应符合设计要求;当设计无具体要求时,应符合下列规定:
a、在受拉区不宜大于50%;
b、接头不宜设置在有抗震设防要求的框架梁端、柱端的箍筋加密区;当无法避开时,对等强度高质量机械连接接头,不应大于50%;
c、直接承受动力荷载的结构构件中,不宜采用焊接接头;当采用机械连接接头时,不应大于50%。
⑥同一构件中相邻纵向受力钢筋的绑扎搭接接头宜相互错开,绑扎搭接接头中钢筋的横向净距不应小于钢筋直径,且不应小于25mm。钢筋绑扎搭接接头连接区段的长度为1.3ll(ll为搭接长度),凡搭接接头中点位于该连接区段长度内的搭接接头均属于同一连接区段。同一连接区段内,纵向钢筋搭接接头面积百分率为该区段内有搭接接头的纵向受力钢筋截面面积与全部纵向受力钢筋截面面积的比值。

钢筋绑扎搭接接头连接区段及接头面积百分率
注:图中所示搭接接头同一连接区段内的搭接钢筋为两根,当各钢筋直径相同时,接头面积百分率为50%。
同一连接区段内,纵向受拉钢筋搭接接头面积百分率应符合设计要求,当设计无具体要求时,应符合下列规定:
a、对梁类、板类及墙类构件,不宜大于25%;
b、对朴类构件,不宜大于50%;
c、当工程中确有必要增大接头面积百分率时,对梁类构件,不应大于50%;对其他构件,可根据实际情况放宽。
纵向受力钢筋绑扎搭接接头的最小搭接长度应符合《砼结构工程施工质量验收规范》附录B的规定。
附录B 纵向受力钢筋的最小搭接长度
B.0.1 当纵向受拉钢筋的绑扎搭接接头面积百分率不大于25%时,其最小搭接长度应符合表B.0.1的规定。
表B.0.1 纵向受拉钢筋的最小搭接长度
| 钢筋类型 | 混凝土强度等级 | ||||
| C15 | C20-C25 | C30~C35 | ≥C40 | ||
| 光圆钢筋 | HPB235级 | 45d | 35d | 30d | 25d |
| 带肋钢筋 | HRB335级 | 55d | 45d | 35d | 30d |
| HRB400级、RRB400级 | - | 55d | 40d | 35d | |
注:两根直径不同钢筋的搭接长度,以较细钢筋的直径计算。
B.0.2 当纵向受拉钢筋搭接接头面积百分率大于25%,但不大于50%时,其最小搭接长度应按本附录表B3.0.1中的数值乘以系数1.2取用;当接头面积百分率大于50%时,应按本附录表B.0.1中的数值乘以系数1.35取用。
B.0.3 当符合下列条件时,纵向受拉钢筋的最小搭接长度应根据本附录B.0.1条至B.0.2条确定后,按下列规定进行修正:
1 当带肋钢筋的直径大于25mm时,其最小搭接长度应按相应数值乘以系数1.1取用;
2 对环氧树脂涂层的带肋钢筋,其最小搭接长度应按相应数值乘以系数1.25取用;
3 当在混凝土凝固过程中受力钢筋易受扰动时(如滑模施工),其最小搭接长度应按相应数值乘以系数1.1取用;
4 对末端采用机械锚固措施的带肋钢筋,其最小搭接长度可按相应数值乘以系数0.7取用;
5 当带肋钢筋的混凝土保护层厚度大于搭接钢筋直径的3倍且配有箍筋时,其最小搭接长度可按相应数值乘以系数0.8取用;
6 对有抗震设防要求的结构构件,其受力钢筋的最小搭接长度对一、二级抗震等级应按相应数值乘以系数1.15采用;对三级抗震等级应按相应数值乘以系数1.05采用。
在任何情况下,受拉钢筋的搭接长度不应小于300mm。
B.0.4 纵向受压钢筋搭接时,其最小搭接长度应根据本附录B.0.1条至B.0.3条的规定确定相应数值后,乘以系数0.7取用。在任何情况下,受压钢筋的搭接长度不应小于200mm。
⑦在梁、柱类构件的纵向受力钢筋搭接长度范围内,应按设计要求配置箍筋。当设计无具体要求时,应符合下列规定:
a 箍筋直径不应小于搭接钢筋较大直径的0.25倍;
b 受拉搭接区段的箍筋间距不应大于搭接钢筋较小直径的5倍,且不应大于100mm;
c 受压搭接区段的箍筋间距不应大于搭接钢筋较小直径的10倍,且不应大于200mm;
d 当柱中纵向受力钢筋直径大于25mm时,应在搭接接头两个端面外100mm范围内各设置两个箍筋,其间距宜为50mm。
5、钢筋安装应符合下列规定:
①钢筋安装时,受力钢筋的品种、级别、规格和数量必须符合设计要求。
②钢筋安装位置的偏差应符合下表的规定。
钢筋安装位置的允许偏差和检验方法
| 项 目 | 允许偏差(mm) | 检验方法 | ||
| 绑扎钢筋网 | 长、宽 | ±10 | 钢尺检查 | |
| 网眼尺寸 | ±20 | 钢尺量连续三档,取最大值 | ||
| 绑扎钢筋骨架 | 长 | ±10 | 钢尺检查 | |
| 宽、高 | ±5 | 钢尺检查 | ||
| 受力钢筋 | 间距 | ±10 | 钢尺量两端、中间各一点,取最大值 | |
| 排距 | ±5 | |||
| 保护层
厚度 |
基础 | ±10 | 钢尺检查 | |
| 柱、梁 | ±5 | 钢尺检查 | ||
| 板、墙、壳 | ±3 | 钢尺检查 | ||
| 绑扎箍筋、横向钢筋间距 | ±20 | 钢尺量连续三档,取最大值 | ||
| 钢筋弯起点位置 | 20 | 钢尺检查 | ||
| 预埋件 | 中心线位置 | 5 | 钢尺检查 | |
| 水平高差 | +3,0 | 钢尺和塞尺检查 | ||
注:1 检查预埋件中心线位置时,应沿纵、横两个方向量测,并取其中的较大值;
2 表中梁类、板类构件上部纵向受力钢筋保护层厚度的合格点率应达到90%及以上,且不得有超过表中数值1.5倍的尺寸偏差。
三、钢筋的焊接、连接
本工程为全剪力墙结构,钢筋断面较大,受力钢筋大多为HRB400级钢筋,合理选用钢筋连接方案对保证工程质量、降低工程成本、加快工程施工进度尤为重要。依据本工程实际情况,对于∅18以下的钢筋宜采用绑扎搭接;钢筋直径≥∅18以上的钢筋宜采用等强度剥肋直螺纹连接;对于竖向钢筋直径≥∅18以上的钢筋应采用等强度剥肋直螺纹等强度剥肋直罗螺纹连接。
为了保证钢筋焊接,机械连接质量,确保每个施工工序受控,对钢筋的闪光对焊、电渣压力焊、等强度剥肋直螺纹连接施工工艺介绍如下:
1、闪光对焊工艺
①焊工必须持有有效考试合格证,对焊机及配套装置、冷却水、压缩空气等应符合要求。
②工艺流程:检查设备→选择焊接工艺及参数→试焊、作模拟试件→送试→确定焊接参数→焊接→质量检查。
连续闪光焊工艺过程
闭合电路→闪光(两钢筋端面轻微接触)→连续闪光加热到将近熔点→带电顶锻→无电顶锻。
预热闪光对焊工艺过程
闭合电路→断续闪光预热(两钢筋端面交替接触分开)→连续闪光加热到将近熔点(两钢筋端面徐徐移动接触)→带电顶锻→无电顶锻。
闪光—预热闪光对焊工艺过程
闭合电路→一次闪光平端面(两钢筋面徐徐接触)→继续闪光预热(两钢筋面交替接触分开)→二次连续闪光加热到将近溶点(两钢筋端面徐徐移动接触)→带电顶锻→无电顶锻。
③焊接工艺方法选择:
当钢筋直径较小,钢筋级别较低,可采用连续闪光焊。当钢筋直径较大,端面较平整,宜采用预热闪光焊;当端面不够平整,则应采用闪光—预热闪光焊。
④焊接参数选择:
闪光对焊时,应合理选择调伸长度,烧化留量,顶锻流量以及变压器级数等焊接参数。
⑤检查电源、对焊机及对焊平台,地下铺放的绝缘橡胶垫,冷却水,压缩空气等,一切必须处于安全可靠的状态。
⑥试焊,作班前试件;在每班操作前,应按选择的焊接参数焊接6个试件,其中三个作拉力试验。三个做冷弯试验,经试验合格后,方可按确定的参数成批生产。
⑦连续闪光对焊操作:
通电后,应借助操作杆使两钢筋端面轻微接触,使其产生电阻热,并使钢筋端面的凸出部分互相熔化,并将熔化的金属微粒向外喷射形成火光闪光,再徐徐不断地移动钢筋形成连续闪光,待预定的烧化留量消失后,以适当压力迅速进行顶锻,即完成整个闪光焊接。
⑧预热闪光焊操作:
通电后,应使两根钢筋端面交替接触和分开,使钢筋端面之间发生连续闪光,形成烧化预热过程。当预热过程完成,应立即转入连续闪光和顶锻。
⑨闪光—预热闪光焊操作:
通电后,应首先进行闪光,当钢筋端面已平整时,应立即进行预热,闪光及顶锻过程。
⑩.保证焊接接头位置和操作要求:
a. 焊接前和施焊过程中,应检查和调整电极位置,拧紧夹具丝杆。钢筋在电极内必须夹紧,电极钳口变形应立即调换和修理。
b. 钢筋端头如起弯或成“马蹄”形则不得焊接,必须煨直或切除。
c. 钢筋端头120mm范围内的铁锈、油污,必须清除干净。
d. 焊接过程中粒附在电极板上的氧化铁要随时清除干净。
e. 接近焊接接头区段应有适当均匀的镦粗塑性变形,端面不应氧化。
f. 焊接后稍冷却才能松开电极夹口,取出钢筋时必须平稳,以免接头弯折。
.质量检查:
在钢筋对焊生产中,焊工应认真进行自检,发现偏心、弯折、烧伤、裂缝等缺陷,应切除接头重焊,并查找原因,及时消除。
2、钢筋电渣压力焊工艺
钢筋电渣压力焊接是利用专用焊接机具,通电使两根被焊接钢筋之间形成电弧和熔渣池,将钢筋端部熔化,然后施加压力使钢筋连接形成焊接接头。本法具有工艺简单,容易掌握,工作条件好,工效高,焊接速度快,质量可靠,节省钢材,费用较低等优点。但瞬时电流较大,需较大容量的变压器设备。适用于现浇钢筋混凝土结构中竖向或斜向(斜度在4:1范围内)、直径14~40mm的Ⅱ、Ⅲ级钢筋的电渣压力焊接。
(1)、材料要求
①钢筋应有出厂合格证及试验报告,品种和性能应符合有关标准和规范的规定。
②焊剂:焊接Ⅱ级钢筋选用HJ431焊剂,Ⅲ级钢筋选用HJ431型或HJ330型焊剂,使用前须经 250℃烧焙1~2h利用回收焊剂重复使用时,应除去溶渣和杂质并经干燥。
(2)、主要机具设备
主要机具设备有:BX2—1000型弧焊机、焊接夹具、焊剂盒、启动控制筒(包括焊接电压表、电流表、时间继电器及自动报警器)、石棉绳、铁丝球、秒表、无齿锯等。
(3)、作业条件
①焊工应经过培训、考核,取得焊接合格证,可持证上岗。
②焊接机具设备以及辅助设备准备齐全、完好;使用电源、电压、电流经检查符合施焊要求。
③已搭设好必要的操作脚手架。
④钢筋端头已处理好,并清理干净;焊剂已焙烘干燥。
(4)、施工操作工艺
①施焊前,应将钢筋端部120mm范围内的铁锈、杂质刷净。焊药应经250℃烘烤。
②钢筋置于夹具钳口内,应使轴线在同一直线上并夹紧,不得晃动,以防上下钢筋错位和夹具变形。
③采用手工电流压力焊,宜用直接引弧法,先使上、下钢筋接触,通电后将上钢筋提升2~4mm,引燃电弧,然后继续提数毫米,待电弧稳定后,随着钢筋的熔化而使上钢筋逐渐下降,此时电弧熄灭,转化为电渣过程,焊接电流通过渣池而产生电阻热,使钢筋端部继续熔化,待熔化留量达到规定数值(约30~40mm)后,控制系统报警时切断电源,用适当压力迅速顶压,使之挤出熔化金属形成坚实接头,冷却1~3min后,即可打开焊药盒回收焊剂,卸掉夹具,并敲掉熔渣。
④采用自动电渣压力焊可采用10~12mm高铁丝圈引弧,即使焊接电流产生电阻热将铁丝熔化,再提起操作杆,使上下钢筋之间形成2~3mm的空隙,从而产生电弧。焊接工艺操作过程由凸轮自动控制,应预先调试好控制箱的电流、电压时间信号,并事先试焊几次,以考核焊接参数的可靠性,再批量焊接。
⑤电渣压力焊的参数可参照下表选用。
| 钢筋直径(mm) | 焊接电流(A) | 焊 接 电 压 (V) | 焊接通电时间(s) | ||
| 电弧过程u2.1 | 电渣过程u2.2 | 电弧过程 | 电渣过程 | ||
| 14 | 200~220 | 35--45 | 22—27 | 12 | 3 |
| 16 | 200~250 | 14 | 4 | ||
| 18 | 250~300 | 15 | 5 | ||
| 20 | 300--350 | 17 | 5 | ||
| 22 | 350--400 | 18 | 6 | ||
| 25 | 400-450 | 21 | 6 | ||
| 28 | 500-550 | 24 | 6 | ||
| 32 | 600-650 | 27 | 7 | ||
| 36 | 700--750 | 30 | 8 | ||
| 40 | 850--900 | 33 | 9 | ||
(5)、质量标准
①保证项目
钢筋应有出厂质量证明书和试验报告,钢筋的品种和质量、焊剂的型号、性能均必须符合设计要求和有关标准的规定。
②检验项目
a.钢筋对焊完毕应对全部焊接接头逐个进行外观检查。接头外观应焊包应均匀,凸出钢筋表面的高度应大于或等于4mm。钢筋与电极接触处,应无烧伤缺陷。接头处钢筋轴线的偏移不得大于0.1d,同时不得大于2mm;接头处弯折不得大于4°。对外观检查不合格的接头,应切除重焊。
b.强度检验以300个同类型接头(同钢筋级别;同钢筋直径)作为一批,取3个试件作拉力试验,其抗拉强度均不得低于该级别钢筋规定的抗拉强度值。若有一个试件的抗拉强度低于规定数值,应取双倍数量的试件进行复验;复验结果若仍有一个试件的强度达不到上述要求,该批接头即为不合格品。
(6)、成品保护
操作是不能过早拆夹具,以免造成接头弯曲变形。
②焊后不得敲砸钢筋接头,不准往刚焊完的接头上浇水冷却。
③焊接时搭好脚手架,不得踩踏已绑好的钢筋。
(7)、安全措施
①.电渣压力焊接机具设备的外壳应按零或接地,露天放置的焊机应有防雨遮盖。
②.焊接用电线应采用胶皮绝缘电缆,绝缘性能不良的电缆应严禁使用。
③.焊接变压器要符合安全电压要求,焊接过程中要防止焊剂或焊包铁水外溢伤人。
④.焊工操作应穿工作服,带防护手套与鞋盖,劳保用品应保持干燥。
⑤.在潮湿地方对焊时,应铺设干燥的木板或橡胶板等绝缘物作垫板。
⑥.用于电渣焊作业的工作台、脚手架,应搭设牢固、安全。
⑦.在雨期焊接,设备应有可靠的遮蔽防护措施,电线应保持绝缘良好,焊药应保持干燥,大雨天应禁止焊接施工。炎热天气,焊接场所要做好防暑降温工作。冬季要做好保温防护工作,在-20℃低温下,应禁止施工。
(8)、施工注意事项
①.焊接时应加强对电源的维护管理,严禁钢筋接触电源;焊接导线及钳口接线处应有可靠绝缘;变压器和焊机不得超负荷作业。
②.焊接工作电压和焊接时间是两个重要焊接参数,在施焊时不得任意变更参数;以免影响焊接质量。当变换其他品种、规格的钢筋进行焊接时,其焊接工艺的参数亦应相应调整,经试验、鉴定合格后方可采用。
③.焊接用焊剂要妥善存放保管,以防受潮变质,造成气孔多,影响焊接质量。
④.在整个焊接过程中,要认真掌握准焊接通电时间,注意电渣工作电压和电渣工作电压的变化,并根据其变化提升或下降钢筋,使焊接工作电压稳定在规定参数范围内。在顶压钢筋时,要保持压力数秒钟后方可松开操纵杆,以免接头偏斜或接合不良。在施焊时,要注意扶正钢筋上端,以防止上、下钢筋错位和夹具变形。钢筋焊接完毕,应注意检查钢筋是否竖直。如不顺直,应立即趁热将它拨正,然后稍停1~2min后拆下夹具,以免钢筋弯曲。
⑤.焊接过程中,如出现较严重的质量通病问题,不能满足使用要求,要分析原因,采取措施及时纠正。如接头出现咬边,主要原因是焊接电流太大,钢筋熔化过快;停机太晚,通电时间过长;或上钢筋端头未压人熔池中或压人深度不够。如接头未熔合,主要原因是焊接时上钢筋提升过大或下送速度过慢,钢筋端部熔化不良或形成断弧;或焊接电流过小或通电时间不够,使钢筋端部未能得到适宜的熔化量。如接头焊包不匀,主要原因是钢筋端头倾斜过大,或铁丝圈安放不正,而熔化量又不足,顶压时熔化金属在接头四周分布不匀而致。如接头夹渣,主要原因是通电时间短,上钢筋在熔化过程中还未形成凸面即行顶压,熔渣无法排出所致。又如接头偏心和倾斜,主要原因是钢筋端部歪扭不直,在夹具中夹持不正或倾斜;焊后夹具过早放松,接头未冷而却使上钢筋倾斜;或夹具长期使用磨损,造成上下不同心所致等,都应针对原因采取措施纠正,以保证质量。
4、滚压直螺纹连接:
1)滚压直螺纹加工与检验:剥肋滚压螺纹连接
采用剥肋滚丝机(型号:GZJ-32)先将钢筋的横勒和纵勒进行剥切处理,使钢筋棍丝前的柱体直径达到统一尺寸,然后再进行螺纹滚压成型。丝头加工长度为标准型套筒长度的1/2其公差为±2P(P为螺距),每加工10个丝头用通、止环规检查一次。经检合格的丝头,应由质检员随机抽样进行检查,以一工作班内生产的丝头为一个验收批随机抽样10%,且不得少于10个,合格率少于95%时应加倍复检,抽检中合格率仍少于95%时,应对全部钢丝头逐个检验,切去不合格丝头,查明原因,并重新加工螺纹。
2)滚压直螺套筒:
滚压直螺纹接头采用连接套筒,采用优质碳素钢,连接套筒的类型为:标准型、正反丝扣型、变径型、可调型。
3)现场连接施工:
①连接钢筋时,钢筋规格和套筒的规格必须一致,钢筋和套筒的丝扣应干净、完好无损。
②采用预埋接头时,连接套筒的位置、规格和数量应符合设计要求。带连接套筒的钢筋应固定牢靠,连接套筒的外露端应有保护盖。
③滚压直螺纹接头应使用扭力扳手或管钳进行施工,将两个钢筋丝头在套筒中间位置互相顶紧,接头拧紧力矩符合下表要求,扭力扳手的精度为±5%。
直螺纹钢筋接头拧紧力矩值
| 钢筋直径(mm) | 16~18 | 20~22 | 25 | 28 | 32 | 36~40 |
| 拧紧力矩(N.m) | 100 | 200 | 250 | 280 | 320 | 350 |
④经拧紧后的滚压直螺纹接头应作出标记,单边外露丝扣长度不应超过2P(为螺距)
⑤根据待接钢筋所在部位及转动难易情况,选用不同的套筒类型,采用不同的安装方法。
4)接头质量检测:
①工程中应用滚压直螺纹接头时,技术单位应提供有效的形式检验报告。
②钢筋连接作业开始前及施工过程中,应对每批进场钢筋进行接头连接工艺检验。工艺检验应符合下列要求:
每种规格钢筋的接头试件不应少于3根。
试件的钢筋母材应进行抗拉强度试验。
c) 3根接头试件的抗拉强度均不应小于该级别钢筋抗拉强度的标准值,同时不应小于0.9倍钢筋母材的实际抗拉强度。
③现场检验应进行拧紧力矩和单向拉伸强度试验。
④用扭力扳手按上表规定的接头力矩值抽检接头的施工质量。抽检数量:梁柱构件接头数的15%,且每个构件的接头抽检数不得少于一个接头,基础墙、板构件每100个接头作为一个检验批,不足100个也作为一个检验批,每批抽检3个接头。抽检的接头应全部合格,如果有一个接头不合格,则该验收批应逐个检查并拧紧。
⑤滚压直螺纹接头的单向拉伸强度试验按验收批进行。统一施工条件下采用同一批材料的同等级、同型号同规格接头,以500个为一个验收批进行检验。在现场连续检验十个验收批,其全部单向拉伸试验一次抽样合格时,验收批数量可扩大为1000个。
⑥对每一验收批,应在工程结构中随即抽取3个试件做单向拉伸试验。当3个试件抗拉强度均不小于A级接头的强度要求试时,该验收批判定为合格,如有一个试件抗拉强度不符合要求,应加倍取样复试。

四、钢筋绑扎
- 钢筋绑扎前要先熟悉图纸,并要对操作人员进行技术交底。绑扎前要核对配料表,校对成品钢筋的规格数量、下料长度、几何尺寸等是否与设计相符,发现问题及时解决。
- 钢筋的接头、搭接长度、锚固长度以及砼保护层等,严格按照图纸设计要求及施工规范施工,钢筋下料长度要求准确无误。钢筋的焊接接头和搭接头要错开布置,同一断面内的接头数量不得大于规范要求的百分比。砼保护层采用不低于砼设计强度的予制块(30×30及50×50)控制,剪力墙及梁柱侧面的砂浆垫块采用埋入20#铅丝绑扎在钢筋上。
- 钢筋的排距、间距、箍筋的间距严格按图纸设计尺寸和数量划线控制,绑扎梁柱箍筋时,弯钩的位置必须错开,箍筋应与主筋垂直,转角与主筋交叉点均要扎牢,平直点与主筋交叉点要隔点扎牢。对于顶板和墙板钢筋网片的绑扎,周边两行各交叉点要满点绑扎,中间部分呈梅花点绑扎,对于双向板要满绑,相邻绑扎点铅丝扣成八字形,以免钢筋歪变形;对于墙板内双排钢筋要每隔500mm加一道“∽”形筋,且与水平筋绑扎牢固,保证钢筋排距正确。
- 对于形式复杂部位,要事先研究好钢筋的绑扎顺序及其它工种配合的顺序,以减少绑扎困难及避免不必要的返工。
- 为防止框架柱钢筋在浇筑砼时搬动而使钢筋位移,框架柱模板上口每边至少绑扎两块砂浆垫块,并在框架柱楼面上5cm处加一道竖向钢筋定位箍筋,将主筋按设计间距焊在定位箍上。
四、各分项工程钢筋绑扎工艺
- 基础筏板钢筋绑扎:
本工程采用有梁式筏板基础,筏板厚度为400~600mm,基础梁高度大多为600~800mm,筏板配筋为双层双向筋,底板钢筋工程量大,穿插复杂,必须注意施工顺序:
(1)施工前弹出钢筋位置线,根据底板受力情况,确定下层钢筋哪个方向的钢筋在下面,以确保钢筋绑扎后位置的正确性。
(2)钢筋绑扎时,靠近外围两行的相交点每点都绑扎,中间部分可梅花型绑扎,双向受力钢筋应满绑。
(3)底排筋用C30砼垫块垫起,间距800,梅花状布置,确保保护层厚度。
(4)绑扎完下层钢筋后,摆放钢筋马凳,马凳筋采用ф18钢筋焊成三角撑,@1000。底部与下层筋点焊固定,马凳筋上纵向或横向焊接固定架立钢筋ф18@1000,并每隔3~5个马凳筋用在ф18斜撑筋斜拉固定,使架立钢筋骨架成为稳定体系,然后再绑扎双向上层钢筋。钢筋马凳见下图:

(5)、根据基础底板的受力特点,上下层的钢筋接头位置应错开布置,并符合规范规定和设计要求。
- 暗柱钢筋绑扎:
①按图纸要求间距,计算好每根柱子箍筋数量,先将箍筋都套在下层伸出的竖向主筋上。然后套结柱子主筋,钢筋接头的位置应相互错开,位置符合设计要求。
②在套接好的主筋上,用粉笔划出箍筋间距,然后将已套好的箍筋往上移动,由上往下采用缠扣绑扎。箍筋与主筋垂直,箍筋转角与主筋交点均要绑扎,主筋与箍筋非转角部分的相交点成梅花状交错绑扎,箍筋的接头应沿柱子竖向交错布置。柱基、柱顶、梁柱交接等处,箍筋间距应按设计要求加密。
③柱筋绑扎时应吊线控制垂直度,并严格控制主筋间距。
④下层柱的竖向钢筋露出楼面部分,宜用工具或柱箍将其收进一个柱筋直径,以利上层柱的钢筋搭拉,并与上层梁板筋焊接,当上下层柱截面有变化时,其下层柱钢筋的露出部分,必须在绑扎梁钢筋之前,先行收分准确。
⑤柱筋保护层:垫块应在柱立筋外皮上,或用塑料垫层卡卡在箍筋上,竖向间距一般在1m左右,水平方向沿柱断面每侧最少安装2个。以保证主筋保护层厚度的正确。
⑥当柱截面尺寸有变化时,柱钢筋收缩位置,应符合1: 6要求,尺寸要符合设计要求。
- 剪力墙钢筋绑扎:
①底板砼上放线后,应再次校正预埋插筋位置,位移严重时要按规定认真处理,必要时应找设计单位共同商定。
②先绑2~4根竖筋,并画好分档标志,然后于下部及1.5m处绑两根横筋定位,并在横筋上画好分档标志然后绑其余竖筋,最后绑其余横筋。
③墙筋所有交叉点应逐点绑扎,其搭接长度及位置要符合设计和规范要求,搭接处应在中心和两端处用铁丝绑牢。
- 双排钢筋之间应绑间距支撑钢筋,以保证钢筋的位置。
- 在双排钢筋外侧绑扎砂浆垫块或塑料垫块,以保证保护层的厚度。
- 配合其他工种安装预埋铁管件,预留洞口,其位置、标高均应符合设计要求。
4、 梁钢筋绑扎:
①当采用模内绑扎时,首先在主梁模板上按图纸划好箍筋的间距。
②主筋穿好箍筋,按已画好的间距逐个分开→固定弯起筋和主筋→穿次梁弯起筋和主筋并套好箍筋→放主梁架立筋、次梁架立筋→隔一定间距将梁底主筋与箍筋绑住→绑架立筋→再绑主筋。主次梁同时配合进行。
③箍筋弯钩的叠合处,在梁中应交错绑扎,并与两根架立筋绑扎,悬臂挑梁则箍筋接头在下。有抗震要求时,箍筋弯钩为135°,梁主筋外角处与箍筋应满扎,其余可梅花点绑扎。弯起筋和负弯距筋位置要准确,梁与柱交接处,梁钢筋锚入柱内长度应符合设计要求。
④梁纵向受力钢筋出现双层或多层排列时,两排钢筋之间应垫以直径∅25的短钢筋,如纵向钢筋直径大于25mm时,短钢筋直径规格与纵向钢筋规格相同。
⑤在主梁、次梁、板交叉处,板的钢筋在上,次梁的钢筋在中层主梁的钢筋在下层。
⑥主次梁钢筋绑扎完后,要在主筋下垫好垫块(或塑料卡),以保证主筋保护层厚度。
⑦板、次梁与主梁交叉处,板的钢筋在上,次梁的钢筋在中层,主梁的钢筋在下,当有圈梁或垫梁时,主梁钢筋在上。
⑧框架梁节点处钢筋穿插十分稠密时,应注意梁顶面主筋间的净间距要有留有30mm,以利灌筑混凝土之需要。
5、 板钢筋绑扎:
①清扫模板上刨花、碎木、电线管头等杂物,用粉笔在模板上划好主筋、分布筋间距。
②按画好的间距,先摆受力主筋,后放分布筋,预埋件、电线管、预留孔等及时配合安装。
③钢筋的搭接长度应符合设计要求,接头位置应相互错开,在受力钢筋直径30倍区段内,有绑扎接头的受力钢筋截面积占受力钢筋总截面面积为受拉区不得超过25%,受压区不得超过50%。
④板钢筋绑扎一般用顺扣或八字扣,除外围两根钢筋的相交点应全部绑扎外,其余各点可隔点交错绑扎(双向板相交点须全部绑扎),如板为双层钢筋,两层筋之间须加钢筋马凳,以确保上部钢筋的位置。
⑤绑扎负弯矩筋,每个扣均要绑扎,负弯矩筋下要架设直径不小于∅10的钢筋马镫,间距不大于500mm,最后在主筋下垫砂浆垫块。
⑥板上部的负钢筋(面加筋)要防止被踩下,特别是雨蓬、挑檐、阳台等悬臂板,要严格控制负筋位置。
6、楼梯钢筋绑扎
①在楼梯段底模上画主筋和分布筋的位置线。
②根据设计图纸主筋、分布筋的方向,先绑扎主筋后绑扎分布筋,每个交叉点均绑扎,如果有楼梯梁时,先绑扎梁后绑扎板筋,且板筋要锚固到梁内。
③底板筋绑扎完,待踏步模板吊邦支好后,再绑扎踏步钢筋。
④主筋接头数量和位置均要符合施工及验收规范要求。
五、钢筋的定位控制和保护层控制措施
1、墙、柱钢筋位置控制
(1)采用塑料卡环控制墙、柱钢筋保护层厚度
所有墙、柱钢筋全部采用圆形塑料卡环保护层垫块,间距不大于800mm,丁字墙暗柱筋、阴阳角暗柱筋在距墙角150mm处起步安装垫块,以此确保阴阳角处钢筋保护层厚度准确。圆形塑料卡环示意图:

(2) 采用定位箍和通长扁钢合页控制墙体顶部钢筋位置:

(3)采用撑杆控制墙体厚度:

(4)采用梯子筋控制墙体水平钢筋位置
梯子筋制作采用复合式(即:采用直径大一号的钢筋预制焊接成梯子筋作为竖向主筋和梯子筋2种功能),用于控制墙体水平筋间距和双排筋净距;当墙体长度>3m时每道墙安装不少于3道梯子筋,墙长在3m以内时,酌情安装。
(5)采用定位箍控制暗柱钢筋位置

2、楼板钢筋位置控制
(1)采用马鞍形塑料垫块控制钢筋保护层厚度
楼板、梁底部钢筋均采用马鞍形塑料垫块,间距不大600mm梅花形布置。塑料垫块断面示意图:

(2)采用钢筋马凳控制钢筋位置
楼板面筋均采用钢筋马凳,间距不大于600mm安放。马凳安装时绑扎固定在板的下层筋上,板底钢筋下垫有15mm塑料垫块。以此确保上下层钢筋间距及上层筋保护层厚度。钢筋马凳筋示意图:

(3)楼板预留洞处钢筋位置控制设计:

3、起步筋种类及位置
(1) 柱箍筋、墙体水平筋以距地面5cm为第一道起步筋;
(2) 墙体竖向筋起步位置为暗柱主筋有效范围外5cm处;
(3) 洞口梁箍筋起步位置为:
暗柱内梁箍筋距柱主筋7.50cm;板梁及顶层墙暗梁满设箍筋。
(4)顶板及楼梯板钢筋起步距墙边30cm。
七、成品保护措施
1、顶板浇注砼前,为防止板负弯距筋被踩踏变形,浇筑区摆设钢筋网凳马道,钢筋网凳采用Ø18、Ø8钢筋制作,每块尺寸为500×500。钢筋网凳并排摆放在浇筑区域的板负筋部位,浇筑砼时操作人员站在网凳上作业,钢筋网凳应边浇边挪位。钢筋网凳示意图:

(2)为防止墙柱浇筑时将甩槎筋污染,造成不必要的钢筋清理,在浇筑砼前在上部钢筋上套好塑料套管保护,并在砼浇注完成后对污染筋设专人及时清理。
(3)钢筋绑扎完毕后严禁吊卸重物至楼板上以免使上层钢筋塌陷。
第四节 模板工程
一、指导思想:
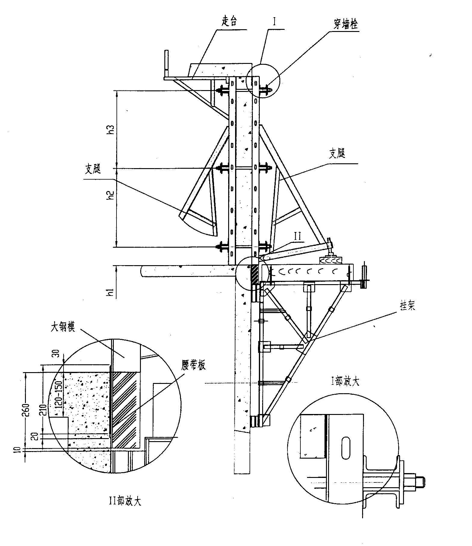
本工程为全剪力墙结构,为使本工程砼质量实现清水混凝土标准,达到优质结构施工目标,决定剪力墙采用小模板拼装大模板的施工工艺,总结我公司清水大模板施工经验,并对模板接缝、梁柱接头、墙与板接缝、门窗洞口的施工难点部位加以技术改进,由我公司技术开发部具体负责大模板设计,并委托专业模板公司进行专业化加工,确保模板制作质量。
本工程剪力墙面积较大,剪力墙厚度多为200mm,因此,为大模板施工带来方便。
本次模板方案为初步设计,主要以模板工程中比较难处理细部节点为主,施工前根据工程实际,将在此基础上作出详细模板方案设计,以精心的模板设计和优质的产品、优质的服务来保障优质的工程质量。
二、大模板结构设计
1、模板设计参数:
设计侧压力F=60KN/m2
2、模板组件材料选用:
-
- 面板: 面板选用t=6mm厚小模板,材质Q235-A。
- 阴角采用L80×8特制阴角模
- 竖肋: 选用φ48的钢管,材质Q235-A。
- 横龙骨.选用φ48的钢管,材质Q235-A。
- 模板连接采用对拉螺栓、蝴蝶扣进行连接。
3、模板结构:
(1)大钢模板整体结构图(见图-1)
①竖肋布置:竖肋布置是先以两端225,然后再从两端往中间以间距为n×300mm布置,余数尺寸留在中间(中间余数净空尺寸不超过380)。
②横肋布置:横肋竖向间距从下往上布置,间距为300m、600mm、700mm。
③边框布置:左、右、上下边框冲有模板联接孔(N×300)。

图-1 大模板结构图
(2)角模结构
①角模种类:角模分为阳角模板、可调阴角模板、固定阴角模板。
②角模结构图: (见图-2、3)

图-2 阴角大模板 图-3 阳角大模板
4、配板原则:
- 流水段划分:本工程以对称轴分为两个自然施工段,两施工段剪力墙的数量和平面位置基本对称,可流水施工。
- 由于本工程墙体结构东西两段平面布置基本相似,模板配制按第一流水段为基准。考虑到模板在本工程和其他工程的通用性,凡两个流水段间少量不通用部分的模板均另外配制,以尽量避免在模板上由于反复钻孔而影响墙而的外观效果。
5、配板选型
(1)配板高度的选用:本工程标准层高3000mm。剪力墙模板设计基本高度均选用2900mm,腰带板高度为260mm,外模板齐顶加设上部装饰条h=100mm,齐底加设下装饰条h=50mm,腰带板装饰条h=210mm,腰带板安装时装饰条上部凸出楼层层高30mm。其原因是施下方法要求每层的剪力墙上部混凝土内外平齐,拆掉模板后,布置腰带板并与顶板同时浇注。

2)考虑到模板塔吊吊装及运输问题,模板最大宽度为2400mm。
(3)内墙模板高选用2900mm,能保证内墙浇注高出板底30mm,在浇注顶板时,墙壁面与顶板处用木方顶紧,可保正墙面与顶板接茬线为清角,无错台。
6、模板拼缝
模板设计以假企口型式考虑,即模板边与阴角、阳角 用螺栓连接。外墙模板拼接按零间隙考虑,内墙留3~5mm间隙。这样可防止墙角部错台发生。

7、模板均按墙的实际尺寸配置。
8、支腿、走台及附件数量配置根据模板宽度设置一个或多个。走台设置时,只考虑一侧墙体就行。支腿、走台布置数量为:墙长小于2.1m时布置1个,墙长2~4m时布置二个,墙长4~6m时布置三个。
本工程楼层多,外形规则,使用挑架较为合适,不考虑外墙模板走台。
9、阴、阳角模:内外墙阴角模均为可调型式,外墙角模相应高度为3050mm;内墙角模高度为2900mm;外墙角模上下均装活动装饰条,上面装饰条高度为h=250,下面装饰条高度为h=50。外墙平面模板、角模在阳台、空调板位置时,按外墙处理。本工程选用一种规格的阴角模,局部采用不对称角模,墙体厚度200mm、进行计算,阴角模与大模板采用搭接的连接方式,正常使用时,由于搭接处留有3~5mm间隙,会产生相应的凸台,施工时,应随拆模随用扁铲剔平;为了防比角模向内倾斜,应用钩头螺栓钩住角模,拉结在大模板上。当角模大于300或窗口断开时,角模上设有穿墙孔位,防止涨模。阳角模尺寸一般为400×400,角模与大模板采用直接用螺栓连接的方式,并带有龙骨,角模与平面模板之间用模板连接板连接,防止涨模,加强角部的刚度。
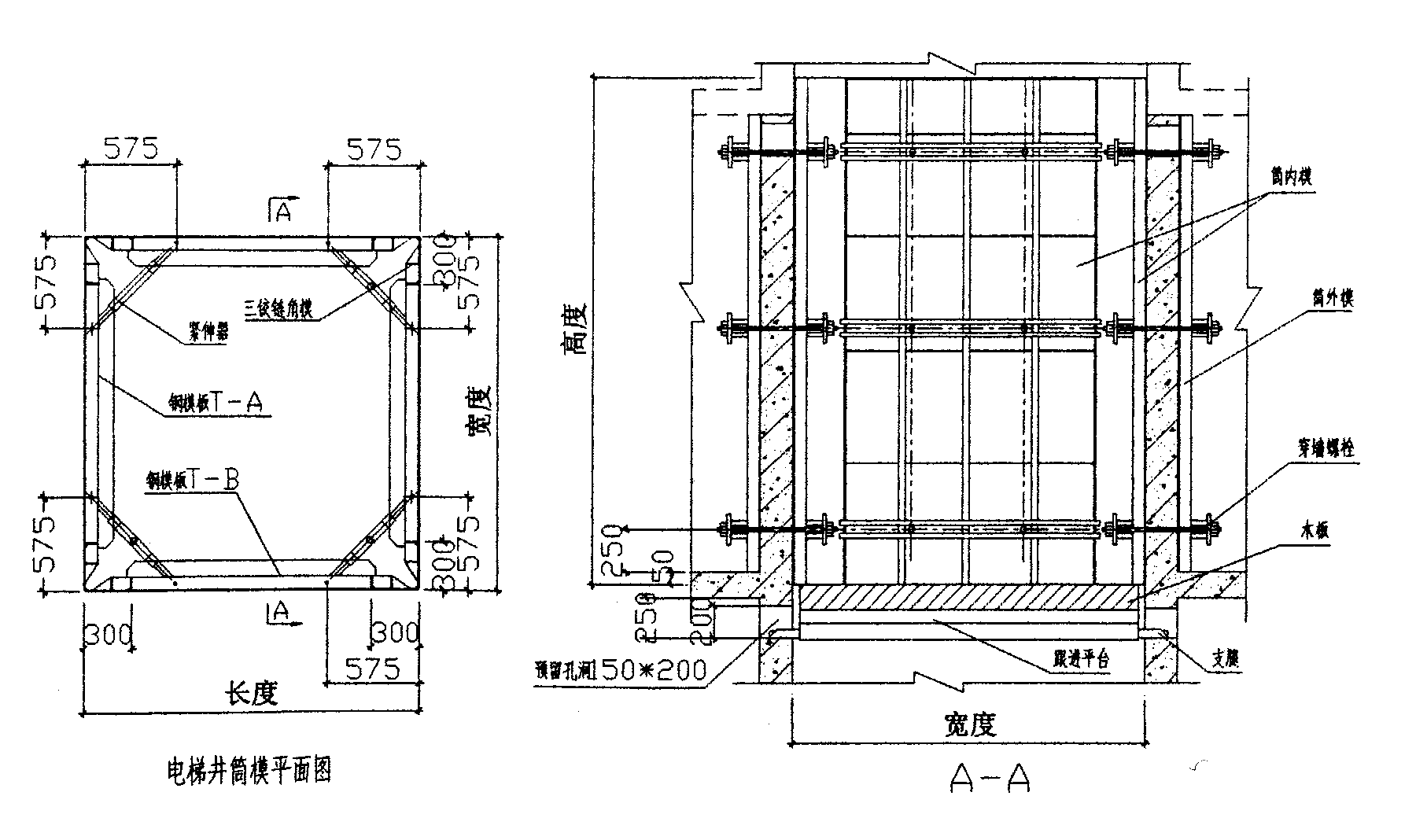
10、电梯井筒模:电梯井开间采用大模板拼装小钢模进行砼施工,同时带有跟进平台。本工程有四个电梯井,其中两个电梯井内安设砼布料机,为确保电梯井筒砼质量和电梯井内壁垂直,电梯井内均采用筒模支模,筒模分两种形式,其中一内部有活动支撑架,用导键拉动支撑架即可脱模,然后用塔吊提升,另一种筒模是用丝杠支撑其角部,旋转丝杆即可脱模,主要用于电梯井内设布料机的情况,然后以布料机井架作提升机构,用导键提升。电梯井筒模在门洞口开洞,以便人员操作。电梯井筒模详见附图。

11、对拉螺栓部位处理:本工程可选用T30带锥度的螺杆,拆模时只需从一侧卸掉楔板或卡环,另一侧螺母向里紧两扣,使螺栓和砼界面脱开,就很容易退出螺栓。不需使用塑料套管,既节省了人力,又节省了物力。为保证螺栓孔不漏浆,钢模面板上螺栓孔采用O型橡胶圈。(见附图)

12、本工程的设计难点在于剪力墙与门窗接合部处理,采用“专利”技术,门窗洞口及边梁均断开处理方式进行配板,局部采用钢木组合结构。可保证模板拼接平整和漏浆问题以及常见门窗跑模、不直等缺陷。(见附图)

13、梁墙结合部及梁模板处理:在墙体中间与梁交界处,梁截面较小时,为保证模板的流水通用性,采用预埋梁窝的方法,即在梁的外侧部位用钢丝网包严,防止漏浆,在墙浇筑完砼后,再在梁的位置绑筋。梁截面尺寸较大时,将此处模板断开,按通常剪力墙情况来配板。墙末端与梁交界处的处理方法与此相同,以上均为工地自己处理。(见附图)

14、丁字墙部位处理:本工程丁字墙处理采用补板型式,为防止涨模,模板与模板之间采用模板连接板加强拼接处的刚度(见附图)。

三、大模板施工
1、施工准备
(1)、熟悉模板结构和模板平面布置图。
(2)、安排好大模板堆放场地,由于大模板体积大,重量大,应堆放在塔式起重机半径范围之内,以便于垂直吊运,并把大模板的堆放场地平整好。
(3)、技术交底:第一次安装大模时,由技术部设计人员向全体现场主管大模技术人员和施工班组进行全面交底,并现场监督指导大模安装的全部过程.以后,则由项目技术主管工程师和项目大模主管副经理每次安装大模前向班级作技术交底。
(4)涂刷脱模剂:由于常用废机油对混凝土表面有一定的污染,脱模后混凝土表面呈褐色,影响混凝土观感,拟不采用。本工程拟采用成品化学脱模剂,由于清水砼对表面砼质量要求严格(不得出现气泡等),故对脱模剂应在试用的基础上确定。
2、大模板的安装与拆除施工工艺流程
外墙架提升、固定 砼 养 护 梁板、楼梯砼浇筑
抄平放线 梁板,楼梯绑钢筋
墙柱绑扎钢筋 梁板、楼梯支模
安装门窗洞模、水电预埋 清理刷隔离剂 拆钢模并吊至地面
墙柱钢筋隐蔽验收 墙柱钢大模安装及固定 墙柱砼浇筑
3、施工放线
清水砼施工要求精度高,取消抹灰层,各种钢大模板须对位安装,结构构件的施工必须一次到位,现场测量须提供各种施工的依据:
- 剪力墙控制线:即每层的测量放线控制网。
- 剪力墙轴线、结构尺寸线;
- 剪力墙暗柱线:砼结构中暗柱的结构尺寸线。
- 门窗洞口线;各种门窗洞口尺寸大小标示。
- 钢大模、阴阳角模板线:对各种钢大模板、阴阳角模板的位置、大小标示。
- 外墙大角垂直线及控制线:对建筑物的外墙大角用经纬仪检查并弹线标示,在大角内20cm处弹出大角控制线。
- 外墙、柱模安装线:外墙、柱钢大模的安装位置标示。
- 保证施工质量的各种标示线:
- 楼板模标高控制线:在钢筋上标示50cm标高线。
- 墙柱体砼浇筑标高控制线;
- 砼墙柱上口抄平线:在已浇筑砼墙柱上口梁底及楼板底面标高上22cm处标示。
4、模板安装
- 大模板安装前,应在钢筋办完隐蔽工程验收,弹好楼层的墙身线,门口线,及标高线,将楼面清理干净,检查墙体中心线、边线、模板安装线,并检查钢筋网片固定情况,电线管、电线盒与钢筋或大模板固定情况,门窗套内部安装完好,凡与砼相接触的预埋件,其表面均应刷涂脱模剂,门窗模的侧面与模板相接触处也相应要粘上海绵条。
- 大模板的试组装:
在正式安装大模板前,根据模板的编号进行试验性安装,以检查模板的各部尺寸是否合适。为确保放线精确,钢筋绑扎到位,大模安装准确,混凝土浇捣出来满足清水要求,因此在现场制作一个样板房,取一套间的墙体作为参照,用模板配置图上相应的大模板,以检查效果。
- 墙体钢筋阴角处,应焊好定位块,保证上下至少有一个定位块,防止角模的位移。
- 涂刷脱模剂:在模板、阴、阳角模、穿墙螺栓等表面上涂刷脱模剂,脱模剂涂刷要均匀,不得漏涂,便于脱模。
- 安装支撑架、三角支架等附件。
- 安装模板顺序:按照先横后竖原则,将模板吊至在模板平面布置的位置。再用撬杆移动模板到墙位线上。用支撑架调节模板的垂直度,安装好对拉螺栓。
- 纵横墙壁交接处,模板安装顺序为先立阴角模,底部需粘贴海棉条,并给临时同定,再支模板。
- 在内模就位前,模板底部应粘贴海绵条,防止墙体浇注砼时漏桨和烂根现象发生。
- 模板的安装就位后,检查模板拼缝处是否严密,竖向边框是否垂直,为防止漏浆。底部若有空隙,应用海棉或橡胶条塞严,但不可将其塞入墙体内,免影响墙体的断面尺寸,检查合格后,才能浇注砼。
- 平面模板之间联接时,先将两块模板对接处边框孔位边缘对齐,上、中、下用三个M16×40螺栓预紧,然后把模板联接板放入横龙骨中,在其中一块模板横龙骨的第四孔插入一块楔板,再将另一块楔板插入另一块模板横龙骨的第一寸孔位中,用锤子向下敲打楔板,使模板之间达到紧密相联,而后分别将楔板插入到各龙骨的第四孔和第一寸孔最后再把边框上孔位用螺栓全部拧紧。
- 平面模板与角部模板连接时,先将模板就位后,每个阴角处用三个阴角连接器分别安装在相应的横龙骨位置处,拧紧螺栓即可。阳角处在模板边框与角模边框孔位上安装螺栓拧紧。
- 砼浇注进程中,应有有关人员进行监视,发现问题应及时解决或汇报。
- 为避免浇筑混凝土时,因墙模高而产生离析现象,如采用布料杆时,下端必须加“串筒”或者是“软体导料管”,以免因浇筑砼时下料高度较高,对模板的侧压力过大造成涨模。并在下料时,应避免在墙体中间下料,尽量在墙体的交接处进行下料,下料速度不宜过快,应均匀进行。
- 浇注砼时必须按照有关规定和规范进行施工。
- 安装模板注意事项:
-
- 安装外墙大模板之前,必须先检查外墙架的安全设施是否完备和大模板附墙支座是否牢靠。
- 要放好模板的位置线,保证大模板就位准确。应把下层竖向装饰线条的中线,引至外侧模板下口,作为安装该层竖向衬模的准线,以保证该层竖向线条的顺直。在外侧大模板底面10cm处的外墙上,弹出楼层的水平线,作为内外墙模板安装以及楼梯、楼板等构件的安装依据。防止因楼板出现较大的竖向偏差,造成内外侧大模板难以合模等现象。
- 当安装外墙大模板时,应先安装内侧大模板,并采取防倾措施和垂直度校正后,再安装外侧大模板。当安装外侧大模板时,应先使大模板搁置在附墙支座上,带和内侧大模板可靠连接后,摘除塔吊的吊钩。
-
5、大模板拆卸
-
- 大模板的拆除:当混凝土强度大于1.2MPa时,方可拆除大模板,但在冬季施工时应视冬施方法和混凝土强度增长情况决定拆模时间。拆模原则是先浇先拆,后浇后拆,与浇注顺序一致。
- 大模板拆除顺序及要求:先拆外侧大模板后拆内侧模板,先拆平面模板,后拆角模。在拆外侧大模板时,应先卸下排螺栓,再拆中排螺栓,后卸上排螺栓。在卸上排螺栓前,塔吊吊勾应先勾住大模板,以防不测。拆除门窗洞口框模时,要先拆除窗台模并加设临时支撑后,再拆除洞口角模及两侧模板。
- 每块大模板的拆除顺序是:应先将穿墙螺栓等连接件拆除,再松动支撑架的地脚螺栓,使模板与墙面脱离。当局部地方有吸附时,可在模板下部用撬杆松动,但不得在墙上晃动或用大铁锤进行敲砸。拆下的附件应及时进行清理,放入工具箱中,以便周转使用。
- 穿墙螺栓的正确拆除方法是:当要拆除大模板时,可松动楔板,同时将另一方向的螺母向里紧两扣,使螺杆与混凝土界面脱开,然后可将穿墙栓轻松卸下。切不可用铁锤敲打,以免螺杆折弯。
- 角模的拆除:由于角模的两侧都是混凝土,吸附力较大,因而当拆除平面大模板时应立刻松动角模,使角模与混凝土界面脱开。若时间过长会造成角部模板拆模困难,因而在拆除角模时应注意其拆模时间,不要太长。当拆模较困难时,可先将模板外表面的砼清除,然后再用撬杆在模板下部撬动,但不得在墙上晃动或用大铁锤进行敲砸。角模拆除后,突出部分的砼应及时进行剔除,凹口部位应及时用等强砂桨修补。
- 脱模后在起吊人模板前,要认真检查穿墙螺栓等附件是否全部拆完,是否与其它模板有勾、挂、兜、绊的地方,同时检查模板吊环的焊缝是否开焊,有无裂纹,起吊时,吊环应落在模板重心部位,并应垂直缓慢提升无障碍后,方可吊出,吊运时不得碰撞墙休。大模板起吊前,还应检查吊装用绳索、用具及每块模板上的吊钩是否牢靠,然后将吊钩挂好,解除一切约束,稳起稳吊。
- 大模板落地或周转至另一工作面时,必须一次安放稳固,倾斜角在75~80°。模板及其配件拆除后,应及时将模板上的混凝土及水泥浆用扁铲或钢丝刷、砂纸进行清除干净,且刷好脱模剂以备下次使用。脱模剂一定要涂刷薄而均匀,不能刷得过多,否则会造成砼表面产生许多气眼。在楼层上涂刷脱模剂时,要防止将脱模剂溅到钢筋上。
- 大模板放置时,下面不得压有电线和气焊管线。
- 脱模后,如发现混凝土表面有破损,经有关人员检查后,应及时用同一品种水泥所拌制的砂浆进行修补。同时,对装饰线、穿墙螺孔、墙面气眼等进行修补、堵塞、打磨,并注意颜色要均匀一致。
6、大模板保养
-
-
- 大模板进场后,穿墙螺栓和地脚螺栓等应刷好机油。
- 模板面板正面必需刷好脱模剂。脱模后应将模板面灰渣清理干净,涂刷脱模剂后待用。
- 在使用过程中及堆放时应避免碰撞,防止模板倾覆。
- 模板多次使用后检查有无过大变形及损坏,并及时维修。
-
四、大模板安全文明施工
-
-
-
- 结构施工中,必须支搭防护网和安全网,防护网要随层上升,并高出作业1m以上。
- 大模板的存放场地必须平整夯实,不得存放在松土和凸凹不平的地方。雨季施工不得积水,存放大模板处严禁坐人和逗留,存放应按施丁总平面图分区存放。
- 当风力达到5级时(含5级),应停止吊装。
- 大模板走台严禁安放在外墙外侧模板上,即严禁人员从外墙外侧模板上通过。
- 模板施工前,必须进行安全技术交底。
- 模板施工应设专人指挥,统一信号,密切配合。信号指挥工和挂钩人员,必须在安全可靠的地方才可以操作,严禁人随模板一起吊运。
- 所有模板配件拆除完毕后,方可将模板吊走.起吊前必须复查一遍,模板的穿墙栓是否拆完,没问题时才可起吊模板,杜绝冒险蛮干作业.垂直吊运必须采取两个以上的吊点,方可将模板吊走。不允许一次吊运二块模板。
- 支拆模板应按顺序进行,模板及支撑在固定前,禁止攀登,不准在拆除的模板上操作,支撑架各连接必须扣紧,勿遗漏。使用中应经常检查支撑架有无拆改、松扣、脱钩现象,发现问题及时整改。
-
-
五、剪立墙大模板检验质量标准
1、基本要求
(1)大模板安装必须垂直,角模方正,位置标高正确,两端水平标高一致。
(2)模板之间的拼缝及模板与结构之间的接缝必须严密,不得漏浆。
(3)门窗洞口必须垂直方正,位置准确。门窗采用后立口的作法,位置要准确,模框要牢固,并便于拆除。
(4)脱模剂必须涂刷均匀。
(5)拆除大模板时严禁碰撞墙体。对拆下的模板要及时进行清理和保养,如发现变形、开焊,应及时进行修理。
(6)门窗洞口模板必须牢固不变形,对>1.0m的门窗洞口拆模后应加以支护。
(7)外墙、电梯井筒及楼梯间墙支模时,必须保证上下层接槎顺直,不错台,不漏浆。
2、大模板制作质量标准
| 项 目 | 质量标准 | 检测工具与方法 |
| 1.平面尺寸 | 0,-2 | 钢卷尺测量 |
| 2.板面平整度 | ≤2mm | 2m靠尺,塞尺测量 |
| 3.对角线长 | 3mm | 钢卷尺测量 |
| 4.模板翘曲 | L/1000 | 放置在于台上,对角拉线用直尺检查 |
| 5.孔眼位置 | ±2mm | 钢卷尺测量 |
| 6.模板边平直 | 2mm | 拉线用直尺检查 |
3、大钢模板安装质量标准
| 序号 | 项目名称 | 允许偏差 | 检验方法 |
| 1 | 每层垂直度 | 3mm | 用2m靠尺 |
| 2 | 位置 | 2mm | 尺量 |
| 3 | 上口宽度 | 2mm | 尺量 |
| 4 | 标高 | 5mm | 拉线和尺量 |
| 5 | 表面平整度 | 2mm | 用2m靠尺、楔形塞尺 |
| 6 | 墙轴线位移 | 3mm | 尺量 |
| 7 | 预留管,预留孔中心线位移 | 3mm | 拉线和尺量 |
| 8 | 预留洞中心线位移 | 10mm | 拉线和尺量 |
| 9 | 预留洞截面内部尺 | 10mm | 拉线和尺量 |
| 10 | 模板接缝宽度 | 1.5mm | 拉线和尺量 |
| 11 | 预埋钢板中心线位移 | 3mm | 拉线和尺量 |
六、常见质量问题与防治措施
| 序号 | 质量问题 | 防 止 措 施 |
| 1 | 内墙墙底砼烂根 | 模板底部缝隙处加设木条或粘贴海绵条,防止漏桨和烂根现象发生。 |
| 2 | 墙体钢筋移位外露 | 采用塑料卡环;进行保护和定位,或使用定位钢筋撑。 |
| 3 | 墙体垂直度偏差或不平度超差 | 模板变形,应进行修复;支模时应加强坠吊检查。 |
| 4 | 墙厚不一致 | 采用定位钢筋分布在墙体钢筋内,支模时顶在大模板的竖肋位置。 |
| 5 | 阴角不垂直、不方正 | 检查角模是否变形,变形应及时进行修复。阴角两侧粘贴海绵条。 |
| 6 | 阳角不垂直 | 检查角模是否变形,变形应及时进行修复。 |
| 7 | 梁柱接头处漏 | 柱模尺寸采用负偏差,模板上部加设凸条,砼浇注后粘巾海绵条。 |
| 8 | 砼脱模粘连 | 脱模剂涂刷均匀,完整;脱模时间过早,仲强度达到1MPa方可拆模。 |
第五节 砼工程
本工程结构砼强度等级为C30~C35,结构砼全部采用商品砼,泵送运输。
1.商品砼质量控制:
本工程全部采用商品砼,要求商品砼厂家所用的水泥、砂子、石子、外加剂、水等必须符合有关标准规定。施工单位应提前向砼厂家申请砼配合比,并按形象进度提出月、旬砼供应量计划。砼厂家应提前将砼配合比单送交施工单位和监理单位审查。砼施工前,施工单位填写砼申请单,明确砼标号、计划数量、浇筑部位、浇筑时间、坍落度要求、石子粒径、缓凝时间要求等。砼厂家应及时将水泥、外加剂出厂合格证明书及检验报告、砂石骨料检验报告、砼强度报告、商品砼出厂合格证书等送交施工单位。
砼运到施工现场后,检查砼的坍落度及和易性,混凝土拌合物应搅拌均匀、颜色一致,具有良好的流动性、粘聚性和保水性,不泌水、不离析。对不符合要求的砼,坚决退货,进场后的砼不得加水搅拌。对砼坍落度进行随即抽样检查,抽检数量为每10车砼坍落度检验不得少于一次,且每一个工作班不得少于两次。对砼坍落度达不到要求的退回厂家。
结构混凝土的强度等级必须符合设计要求。用于检查结构构件混凝土强度的试件,应在混凝土的浇筑地点随机抽取。取样与试件留置应符合下列规定:
①同一工作班、同一配合比混凝土每100m3为一取样单位,每一取样单位留置试块四组,四组分配形式如下;一组为28d标准试块、 一组为备用60d标准养护试块、一组为拆模用试块、一组为备用试块;
②对于特殊情况下同配合比连续搅拌1000m3以上的混凝土,可按200m3为一取样单位,留置试块组数同上;
③对于有抗渗要求的混凝土施工,还需留置抗渗试块,留置以同一工作班、同一配合比每100m3为一取样单位,每一取样单位留置两组试块:一组为同条件试块、一组为标准养护试块。
2、泵送砼:
在结构施工中采用泵送砼工艺时,砼泵型号的选择正确与否是直接影响今后施工进度的第一步。根据类似工程的以及本公司的机械情况,决定选用四台HBT60C砼输送泵,完全满足本工程的要求。
1〉泵机布置及敷设砼输送管道
(1)泵机及管路的布置其平面布置考虑以下原则:
①泵机受料口与砼车出料高差的匹配。
②考虑备用泵的位置。
③泵机固定和移动方便。
④泵管的干线应平直且能覆盖整个工程,以保证砼全部泵送。
(2)敷设输送管道时,应严格遵守下列规定:
①尽可能避免采用曲率半径小的弯管和长度短的锥形管。
②管件必须布设在坚实的基础上,并固定牢靠,以承受在泵送过程中产生的周期性颤动.防止管道产生漂移和变形并破坏管接头的密封构造。
⑧在泵机出口与垂直立管之间应设置一定长度的水平管,其总长应为垂直管总高的1/3。设置此段水平管之目的在于:增大混凝土倒流的阻力,防止由于垂直管混凝土柱重力作用而产生的混凝土倒流,减小分配阀换向阻力,并提高混凝土泵的吸入效率。
④在泵机出口处应设置一段弯曲管路,使混凝土柱能以某一角度流动,以缓减轴向力的不利影响。
⑤往基坑浇筑混凝土用的下斜管道的倾角不得大于7°。在下斜管道端部应接长度为高程差5倍的水平管道。如因地形限制,水平管长度不能满足上述要求时,可增设弯管以增大混凝土下滑阻力。当下斜管道的斜度大于7°时,应在斜管的管端加装一个放气阀,以排除斜管中的空气,使水泥浆布满整个管壁。
⑥垂直向上压送用的立管应可能避免采用弯管向上安装。垂直向下输送用的立管,应加设若干弯管,并应与建筑结构拉结牢固。
⑦在垂直立管的起点处必须设置坚固可靠的竖直支撑,以承受周期性的脉冲作用。
⑧砼浇筑方向应与泵送方向相反,在砼浇筑过程中,只允许拆管段,不能增设管段。
2〉作业条件:
①泵送作业、模板及其支撑设计除按正常计算外,还应考虑脉冲水平推力和输送砼速度快引起过载及侧压力,以确保模板支撑系统有足够强度、刚度和稳定性。
②施工前应根据浇筑的砼量、工期、构件的特点,泵送能力等确定砼的初凝时间,布料方法,并编制浇筑作业方案。
③泵送前应办理好隐蔽工程验收手续,模板已清理干净,并淋水湿润。
④砼泵的操作人员须经过培训考核后,才能上岗操作。
⑤浇捣砼楼面时,应搭设操作平桥或交通走桥,防止踩踏钢筋。
⑥检查油箱,水箱的油位,水量适宜,各油管接头坚固。
⑦准备好清洗泵机和管道的机具,如棉球清洁管接头等。
⑧空载起动泵机前,应在料车内加一半的水量,使活塞在缸筒内移动时,不至于摩擦力过大,损坏活塞。
⑨检查液压油是否干净,查看真空表上指针,若指到“红色”范围内,应拆除更换清洗滤清器。
⑩准备好润滑管道的水泥砂浆,一般用1:2水泥砂浆,坍落度为12~16cm。
⑾泵机空载应运行一段时间,观察工作状态是否正常,正常后才能泵送砼。
3〉泵送工艺:
①泵送砼前,先把储料斗内清水从管道泵出,达到湿润和清洁管道的目的,然后向料斗内加入砼配合比相同的水泥砂浆(或1:2水泥砂浆),润滑管道后即可开始泵送砼。
②开始泵送时,泵送速度宜放慢,油压变化应在允许范围内,待泵送顺利时,才用正常速度进行泵送。
③泵送其间,料斗内的砼量应保持不低于缸筒口上100mm到料斗口下150mm之间为宜。避免吸入效率低,容易吸入空气而造成塞管,太多则反抽时会溢出并加大搅拌轴负荷。
④砼泵送宜连续作业,当砼供应不及时时,需降低泵送速度,泵送暂时中断时,搅拌不应停止。
⑤泵送中途若停歇时间超过20min,管边又较长时,应每隔5min开一次,泵送小量砼,管道较短时,可采用每隔5min正反转2~3行程,使管内砼蠕动,防止水离析,长时间停泵(超过45min)气温高,砼坍落度小时可能造成塞管,宜将砼从泵和输送管中清除。
⑥泵送先远后近,在浇筑中逐渐拆管。
⑦在高温季节泵送,宜用湿草袋覆盖管道进行降温,以降低入模温度。
⑧泵送管道的水平换算距离总和应小于设备的最大泵送距离。
4〉泵送结束清洗泵管及砼的回收:
①泵送将结束时,应估算砼管道内和料斗储存的砼量及浇捣现场所欠砼量(∅150mm径管内每10m有0.175m3),以便决定拌制砼量。
②当砼泵送快要结束时,计算管内砼存量是否满足所需的浇筑量。当满足时,停止泵送,等泵管内压力为零时,把泵机前一节管道拆开(竖弯管前1.2m处安装一截止阀,阻止砼回流),塞入两个比管径稍大的海棉球,然后泵水(清洗水不得排入浇筑的砼内),将管内砼全部推至作业层。砼泵送结束时,竖管内残余砼利用自重从进料口排出,随后封住出口向管内灌满水,开启出口利用水的自重清洗输送管,一般两次即可。
④凡管道经过的位置要平整,管道应用支架或木垫楞等垫固,不得直接与模板、钢筋接触、若放在脚手架上,应采取加固措施。
⑤垂直管穿越每一层楼板时,应用木枋或预埋螺栓锚固。
⑥对施工中途新接驳的输送管应先清除管内杂物,并用水或水泥砂浆润滑壁。
⑦用布料机浇筑砼时,应避免对侧面模板直接冲击。
⑧垂直向上管和靠近砼泵的起始砼输送管宜用新管或磨损较少的管。
⑨泵送中途停歇时间一般不应大于60min,否则要予以清管或添加自拌砼以保证机连续工作。
⑩最初泵出的砂浆应均匀分布到较大的工作面上,不能集中一点浇筑。
⑾泵送过程中,要做好开泵记录,机械动行记录,压力表压力记录,泵送砼量记录以及砼塌落度抽查记录。
5〉砼泵送主要安全技术措施:
①泵机要随时检查乳化剂冷却润滑水箱中的水量是否足够和干净,一般每工作8小时要更换一次。
②当泵送运行声音变化,油压增大,管道振动是堵管的先兆,应该采取措施排除。
③泵送停歇后再启动时,要注意压力表压力是否正常,避免经常处于高压工作,预防塞管。
④砼泵输出的砼浇捣面处不要堆积过量,以免引起过载。
⑤拆除管道接头时,应先进行多次反抽,卸除管道内砼压力,以防砼喷出伤人。
⑥清管时,管端应设置挡板或安全罩,并严禁管端站人员,以防喷射伤人。
⑦清洗管道可用压力水洗或压缩空气洗,但两种形式不允许同时采用,可以中途换为气洗,但气洗中途绝对禁止转换为水洗。严禁用压缩空气清洗布料机。
6〉产品保护:
①泵送砼一般掺有缓凝剂,其养护方法与不掺外加剂的砼相同。应在砼终凝后才能浇水养护,并且要加强早期养护。
②浇筑板砼时为了减少收缩裂缝,待砼表面无水渍时,宜进行第二次研压抹光。
③由于泵送砼的水泥用量大,宜进行蓄水养护,或覆盖湿草袋,麻袋等物,以减少收缩裂缝。
3、砼浇筑:
混凝土采用泵送混凝土,在楼面上用液压式布料机配合布料,布料机布置在电梯井内,并配自动提升机构,其布料半径为12~24m,布料范围可覆盖整个楼面。布料机布置位置施工平面布置图。
砼浇筑的一般要求:
浇筑前应对模板浇水湿润,柱模板的清扫口应在清除杂物及积水后再封闭。
(1)混凝土自吊斗口下落的自由倾落高度不得超过2m,如超过2m时必须采取措施。
(2)浇筑竖向结构混凝土时,如浇筑高度超过3m时,应采用串筒、导管、溜槽或在模板侧面开门子洞(生口)。
(3)浇筑混凝土时应分段分层进行,每层浇筑高度应根据结构特点、钢筋疏密决定。一般分层高度为插入式振动器作用部分长度的1.25倍,最大不超过500mm。平板振动器的分层厚度为200mm。

(4)使用插入式振动器应快插慢拔,插点要均匀排列,逐点移动,按顺序进行,不得遗漏,做到均匀振实。移动间距不大于振动棒作用半径的 1.5倍(一般为300~400mm,见下图)。振捣上一层时应插入下层混凝土面 50am,以消除两层间的接缝。平板振动器的移动间距应能保证振动器的平板覆盖已振实部分边缘。

(5)浇筑混凝土应连续进行。如必须间歇其间歇,时间应尽量缩短,并应在前层混凝土初凝之前,将次层混凝土浇筑完毕。间歇的最长时间应按所有水泥品种及混凝土初凝条件确定一般超过2小时应按施工缝处理。
(6)浇筑混凝土时应派专人经常观察模板钢筋、预留孔洞、预埋件。插筋等有无位移变形或堵塞情况,发现问题应立即浇灌并应在已浇筑的混凝土初凝前修整完毕。
-
-
-
- 剪力墙砼浇筑
- 如柱、墙的混凝土强度等级相同时,可以同时浇筑,反之宜先浇筑柱混凝土,预埋剪力墙锚固筋,待拆柱模后,再绑剪力墙钢筋、支模、浇筑混凝土。
- 剪力墙浇筑混凝土前,先在底部均匀浇筑5cm厚与墙体混凝土成分相的水泥砂浆,并用铁锹人模,不应用料斗直接灌人模内。
- 剪力墙砼采取分层浇筑方法,每层浇筑厚度控制在60cm左右,砼下料点应分散布置循环推进,连续进行,因此必须预先安排好混凝土下料点位置和振捣器操作人员数量。砼浇筑要连续,其间隔时间不得大于砼的初凝时间,并加强接槎处砼振捣,严禁漏振、乱振、和在砼浇筑高度相当高时回振下部砼。
- 振捣棒移动向距应小于50cm,每一振点的延续时间以表面呈现浮浆为度,为使上—卜层混凝土结合成整体,振捣器应插入下层混凝土5cm。振捣时注意钢筋密集及洞口部位,为防止出现漏振,须在洞口两侧同时振捣,下灰高度也要大体一致。大洞口的洞底模板应开口,并在此处浇筑振捣。
- 为保证砼浇筑质量,确定剪力墙与梁和顶板砼采用分别浇筑的施工方案,并划分两个施工流水段进行流水施工作业,在剪力墙砼浇筑前应搭好施工操作平台及跑道,并用薄钢板加工四个1.2×1.5×0.2m三边带反沿的砼下料斗。由于下料点比较分散,在砼下料时应多点布置点,以提高砼整体浇筑速度,延长各分点振捣时间,确保砼振捣质量,减少因砼浇筑速度过快而产生砼侧压力过大造成的胀模现象。
- 浇筑砼遇到洞口时,洞口两侧砼浇筑高度要大体一致,振捣时,振动器应距洞口两侧同时下料振捣,振动棒应距洞边300mm以上,以防洞口变形。砼振捣要均匀密实,特别是墙厚较小,门窗洞口结构加筋与连接交错钢筋较密的部位,应采用中∅30振动棒,其它墙梁部位采用∅50振动棒,考虑到墙窗洞下墙体砼封模后无法直接振捣,可事先将窗洞下口留成活口,待砼浇至该位置并振捣密实后再行封模和加固。大洞口下部模板应开口并补充振捣。
- 使用插入式振捣器,振捣间距不应大于30cm,振捣时应快插慢拔,砼表面不再出现气泡为止。现场要备有HZ-30和H2-50两种规格振捣器,对于钢筋密集处,采用HZ-30插入式振捣器振捣。剪力墙施工缝应留置在顶板砼下表面以上10mm处。顶板砼采用平板式振动器振捣。用刮杠刮平,木抹子收平,施工时应严格控制砼结构标高。
- 为避免烂根现象,支模前应先将施工缝处松散砼剔除干净,并将模板根部的缝隙用砂浆封堵。每次浇筑墙板、柱砼时,先浇水湿润墙、柱根,再浇筑50mm厚左右与结构砼同标号的砂浆,然后紧接着浇筑砼,新旧砼接搓处要加强振捣,保证接槎砼密实。
- 混凝土墙体浇筑完毕之后,将上口甩出的钢筋加以整理,用木抹子按标高线将墙上表面混凝土找平。每个施工流水段的剪力墙与顶板砼分别浇筑,剪力墙顶面应按标高抹平,否则将会造成现浇板与剪力墙接槎处烂根现象或钢筋在剪力墙根部保护层过大的现象。因此,在砼浇筑前,工长必须向施工作业班组做出书面及口头相结合的质量、进度及安全技术交底。在砼浇筑过程中,要安排木工和钢筋工值班检查,发现问题及时处理以确保砼浇筑质量。由于砼工作量较大,作业时间长,要组织二班或三班作业班组连续施工。
- 梁、板混凝土浇筑
-
-
①梁、板应同时浇筑,浇筑方法应由一端开始用“赶浆法”即先将梁根据梁高分层浇筑成阶梯形,当达到板底位置时,再与板的砼一起浇筑,随着阶梯不断延伸,梁、板砼浇筑连续向前推进。
②梁柱顶点钢筋较密时,浇筑此处砼时宜用细石子同强度等级砼浇筑,并用小直径振捣棒振捣。
③浇筑板时虚铺厚度应略大于板厚,用平板振捣器垂直浇筑方向来回振捣,厚板可用插入式振捣器浇顺筑方面拖拉振捣,并用铁插尺检查砼厚度,振捣完毕后用木抹子抹平。施工缝处或有预埋件及插筋处用木抹子找平。浇筑板砼时不允许用振捣棒铺摊砼。
④施工缝位置:宜沿着次梁方向浇筑楼板,施工缝应留置在次梁跨度中间1/3范围内。施工缝的表面应与次梁轴线或板面垂直,单向板的施工缝留置在平行于板的短边的任何位置。施工缝用木板或钢丝网挡牢。
⑤施工缝处须待已浇筑砼的抗压强度不小于1.2Mpa时才允许继续浇筑,在继续浇筑砼前,施工缝砼表面应凿毛,剔除浮动石子,并用水冲干净后,先浇一层水泥浆或与混凝土成分相同的水泥砂浆,然后继续浇筑砼,应细致操作振实,使新旧砼紧密结合。
⑥楼板砼保证平整度、标高满足找平层的质量要求,减少找平层厚度的方法。为了保证地面平整,采用在墙体钢筋上强出标高线,模板面上每隔1.5米做出标高点,表面用大杠找平,保证楼面标高、平整、接槎处观感达到标准,要求达到水泥砂浆找平层的质量标准。
-
-
-
- 楼梯砼浇筑:
-
-
①楼梯段砼自下而上浇筑,先振实底板砼,达到踏步位置时再与踏步砼一起浇捣,不断连续向上推进,并随时用木抹子将踏步上表面抹平。楼梯混凝土应连续浇筑完成。
②施工缝:楼梯砼宜连续浇筑完,根据结构情况可留设于楼梯平台板跨中或楼梯段1/3范围内。
③用于检查结构砼质量的试件,应在施工现场随机取样制作,试件的留置数量应符合规范规定,同时在每个施工阶段内至少留置一组同一条件下养护试块,用来测定不同配合比和不同气温条件下砼的早期强度,用来确定砼的拆模时间。
-
-
-
- 施工缝的留置:
-
-
对于有防水要求地下室外墙,应在筏板上200~300mm处设置水平施工缝,浇筑砼导墙,并按防水规范及设计要求设置-300×2mm钢板止水带。
剪力墙与顶板的水平施工缝位置留置在顶板底面向上10mm处,浇筑墙板砼应严格控制施工缝标高,施工缝太高会造成顶板钢筋保护层在墙板根部太大,施工缝太低会出现顶板模板与墙板接槎处漏浆,影响工程质量。施工缝处砼一定要振捣密实,并用木抹抹平,待砼初凝后再用木抹将表面搓毛,消除表面裂缝。由于施工缝处墙板插筋较密,操作应细致、认真,确保砼密实。
在浇捣剪力墙砼前,先浇水湿润,再浇50mm厚与砼同标号的水泥砂浆,并与砼浇捣同步进行,以使施工缝处砼结合密实。砼要振捣密实,不得出现蜂窝、狗洞、麻面等现象。浇顶板砼时,与墙板接缝处先浇水湿润,再浇一层同强度等级的水泥砂浆,水泥砂浆应与顶板砼浇筑同步进行,确保施工缝处结合密实。
为保证外墙面砼接槎平整,地下室外墙砼浇筑完后拆模时,外侧面上半部的模板暂不拆除,且不得松动,靠穿墙螺栓拉接在砼墙上,这样可以保证浇筑楼层处砼时接槎平顺。
-
-
-
- 砼浇筑高度的控制:
-
-
①外墙浇筑高度控制:在外墙筋上每隔2米设置一处标高控制点。
②楼板一次找平技术:以板面标高为基准,在柱筋上表示出板面以上50cm的控制标高,从板端开始,沿纵向或横向,每4m竖向设置一根∅8“L”型钢筋,待梁筋就位稳定后,与梁箍筋焊接牢固,在其上面标示设计板面标高之上的0.5m控制标高。砼浇注过程中拉线控制梁板面高度。
③在板砼刚刚浇筑完后,剪力墙跟部采用3m左右长50×100铝合金方管做刮杠,根据控制标高线进行找平,然后用刮杠进行房间大面积找平,多余浮浆清理到未浇到的部位。砼初凝表面收水后,先用木刮杠大面积拖平,然后用木抹子搓平,以消除同表面的裂缝,再用长板鬃刷蘸水梳出顺长纹理。
-
-
-
- 同条件砼试块取样要求
-
-
(1)墙、柱、板每层至少留置三~四组同条件砼试块,一组用于检验是否达到拆模强度;两组用于结构实体检验,另一组备用。
(2)顶板每次浇注砼均留置一组同条件砼试块,用于拆模时是否达到规定要求的强度。
(3)同条件砼试块应放置于同部位楼层内,与结构同条件养护,拆模后的试件继续放在楼层内,并焊铁笼上锁保护,其养护时间根据施工要求而定。
4、混凝土的养护
混凝土浇筑完毕后,应按施工技术方案及时采取有效的养护措施,并应符合下列规定:
(1) 应在浇筑完毕后的12h以内对混凝土加以覆盖并保湿养护;
(2) 混凝土浇水养护的时间:对采用硅酸盐水泥、普通硅酸盐水泥或矿渣硅酸盐水泥拌制的混凝土,不得少于7d;对掺用缓凝型外加剂或有抗渗要求的混凝土,不得少于14d;
(3) 浇水次数应能保持混凝土处于湿润状态;混凝土养护用水应与拌制用水相同;
(4) 采用塑料布覆盖养护的混凝土,其敞露的全部表面应覆盖严密,并应保持塑料布内有凝结水;
(5) 混凝土强度达到1.2N/mm2前,不得在其上踩踏或安装模板及支架。
注:1 当日平均气温低于5℃时,不得浇水;
2 当采用其他品种水泥时,混凝土的养护时间应根据所采用水泥的技术性能确定;
3 混凝土表面不便浇水或使用塑料布时,宜涂刷养护剂;
4 对大体积混凝土的养护,应根据气候条件按施工技术方案采取控温措施。
5、成品保护措施
(1)砼楼梯踏步保护措施:拆除上模整修合格后及时涂刷养护液,然后安装并固定踏步护角板。
(2)柱角、墙角、门窗口棱角保护措施:在拆除模板涂刷养护剂后,及时将预制周转性护角板固定在立角和下角上,待顶板模支完后拆除,转上一施工层使用。
6、质量记录
砼工程施工应具备以下质量记录:
-
-
- 水泥出厂质量证明。
- 水泥进场试验报告。
- 外加剂出厂质量证明。
- 外加剂进场试验报告及掺量试验报告。
- 混合料出厂质量证明。
- 混合料进场试验报告及掺量试验报告。
- 砂子试验报告。
- 石子试验报告。
- 混凝土配合比通知单。
- 混凝土试块强度试压报告。
-
⑾ 混凝土强度评定记录。
⑿ 混凝土施工日志(含冬施日志)。
⒀ 混凝土开盘令。
第六节 砌体及轻质隔墙工程
一、 设计做法:
本工程地下室采用MU10普通粘土砖实心砖,M7.5水泥砂浆砌筑。±0.00以上填充墙采用200厚加气砼块,M5混合砂浆砌筑。内隔墙大多采用轻质隔墙板。
二、 砖砌体施工
(一)技术要求
(1)砌筑材料应按规定的质量标准及出厂合格证进行验收,同时现场取样送检,合格后方可使用。砌筑前应按照设计要求,做好砂浆配合比,集中拌制砂浆,并按规范要求做砂浆试块强度试验。
(2)墙体砌筑时应控制砌块的含水率≤15%。
(3)砌体的转角,丁字接头处应同时砌筑,并使纵横墙咬合,纵横交接处未咬槎时应设拉结措施。
(4)门过梁构造措施参照图纸要求施工。
(5)剪力墙与填充墙连接处,应按建筑施工图中的位置,在结构施工时沿柱或墙高每隔500mm在墙宽范围设置2∅6墙体拉结筋,拉结筋锚入柱墙内200mm,并伸出柱面1000mm,砌墙时与通长筋焊接,焊接采用单面焊接头按50%错开。并沿填充墙通长布置或至门窗洞边。
(二)砌体工程的施工准备
1、装卸砌体时,应堆放整齐,严禁倾卸丢掷。
2、砌块堆放应符合下列要求:
(1)现场砌块应按不同规格和分别整齐堆放。堆垛上应设明显标志。堆放场地必须平整,并应有排水措施。
(2)砌块的堆置高度不宜超过2m,垛与垛之间应留有适当的通道。
(3)砌体施工前,应先将砌筑面抄平,然后按图纸放出轴线。
(三)砌筑工艺
1、施工程序
放砖墙线→检查柱、墙预留连结筋,构造柱、圈梁预埋钢筋→画皮数杆→选砖→砌筑→浇筑构造柱、圈梁→门窗洞过梁安装→上部砌体
2、施工要点
(1)、砖、加气块在砌筑前应提前1~2d或隔夜浇水湿润,其含水率控制在10~15%左右,但室外温度低于5℃时不得浇水。
(2)、多孔砖砌筑前应试摆,保证组砌合理,在不够整砖处,如无半砖规格,用普通粘土砖补砌。
(3)、在砌砖前,先要立(画)皮数杆,拉(挂)线,砌体的水平灰缝厚度和竖向灰缝宽度宜为10mm,但不应小于8mm,也不应大于12mm。砌体灰缝应砂浆饱满,横平竖直、均匀平顺,水平灰缝饱满度不得低于80%,竖缝不得出现透明缝、瞎缝。严禁用水冲浆灌灰缝。
(4)、采用铺浆法砌筑时,铺浆长度不得超过700mm,施工期间气温超过30℃时,铺浆长度不得超过500mm。在砌筑时,不可摆砖,应采取挤压方法砌筑,使砖砌体灰浆饱满度达到80%。
(5)、砌筑时,严格按规范要求施工,随时检查墙面的垂直度与平整度,及灰缝的均匀程度及砂浆饱满度等,并校正所发现的偏差,确保砌体工程质量符合标准要求,砌筑过程中应及时清除舌头灰,并清扫墙面,完工后及时清理落地灰,做到工完场清。
(6)、砌填充墙的部位应在剪力墙或柱上按设计要求和施工规范要求设置拉接筋。填充墙砌至接近梁、板底时,应留一定空隙,待填充墙砌筑完并至少间隔一周后,在将其补砌挤紧。顶头砖用侧砖、或立砖斜砌挤紧,其倾斜度宜为60°度左右,砌筑砂浆应饱满、密实。
(7)、窗洞两边应按要求预埋与砖块一样大小的木砖或砼预制块备以安装门窗,木砖或预制砼块应距窗洞上下口各18cm,中间均匀分布,间距不得大于500cm。
(8)、为了防止外墙渗漏,本工程拟对外墙砌体里外两面均进行勾缝,以保证灰缝的密实度。
(9)、管线的留置方法,当设计无具体要求时,可采用弹线定位后凿槽或开槽,不得采用錾砖预留槽。
(10)、每一楼层或每250m3砌体中每种强度等级的砂浆,至少制作一组试块(每组六块)进行强度测定。如砂浆的原料、配比以及强度等级变更时,也应制作试块以便检查。
(四) 质量要求:
a、砌体表面的平整、垂直度、灰缝厚度及砂浆饱满度等,必须符合质量验收规范规定,并随时检查、校正。
b、砌筑砂浆配合比应经试验确定,并严格按照设计配合计量,砖、砂浆的品种、强度等级应符合设计要求。
c、砌体灰缝应横平竖直,并填满砂浆。严禁通缝、瞎缝、游丁走缝等。
d、填充墙的顶面与上部结构接触处,须用实心砖斜砌挤紧,并填砂浆。
(五) 成品保护
1.施工中,应采取措施防止砂浆污染墙、柱表面;在临时出入洞或料架周围,应用草垫、木板或塑料薄膜覆盖。
2.墙体拉结钢筋、抗震组合柱钢筋、各种预埋件、暖卫管线、电气管线,均应注意防护,不得随意碰撞、拆改或损坏。安装暖卫、电气设备和管线时,也不得随意拆打,剔凿墙体。
3.安装脚手架、吊放预制构件或安装大模板时,指挥人员和吊车司机应密切配合,认真操作,防止碰撞砌好的砖墙。
4.墙面预留脚手眼,应用与原墙相同规格、色泽的砖嵌砌严密,不留痕迹。
5.冬期低温下砌筑收工时,表面应用草垫、塑料薄膜作适当覆盖保温,防止冻坏墙体。
(六) 安全措施
1.脚手架应经检查后方能使用。砌筑时不准随意拆改和移动脚手架,楼层屋盖上的盖板或防护栏杆不得随意挪动拆除。
2.在架子上砍砖时,操作人员应面向里把碎砖打在架板上,严禁把砖头打向架外。挂线用的坠砖,应绑扎牢固,以免坠落伤人。
3.脚手架上堆砖不得超过三层(侧放)。采用砖笼吊砖时,砖在架子上或楼板上要均匀分布,不应集中堆放。灰桶、灰斗应放置有序,使架子上保持畅通。
4.采用里架砌清水墙时,不得站在墙上勾缝或在墙顶上行走。
5.起吊砖笼和砂浆料斗时,砖和砂浆不能装得过满。吊臂工作范围内不得有人停留。
6.操作人员应戴好安全帽。高空作业时应挂好安全网。
(七) 施工注意事项
1.在砌筑过程中,要经常检查校核墙体的轴线和边线,当挂线过长,应检查是否达到平直通光一致的要求,以防轴线产生位移。
2.清水墙砌筑排砖时,必须将立缝排匀,砌完一步高架子,每隔2m间距,应在丁砖立棱处用托线板吊直划线,二步架往上继续吊直弹粉线,由底往上所用2/3砖的长度应使一致;上层分窗口位置时必须同下层窗口保持垂直,以免墙面出现游丁走缝。
3.立皮数杆要保持标高一致,盘角时要均匀掌握灰缝,砌筑时小线要拉紧,不得一层线松,一层线紧,以防水平灰缝出现大小不匀。
4.构造柱、外墙内大模板混凝土墙体以及圈梁混凝土浇筑,混凝土要分层进行,振动棒不得直接碰冲墙体,以免造成砖墙鼓胀。如在振捣时发现砖墙已经鼓胀变形,应随时拆除重砌。
5.砌筑混水墙,应注意溢出墙面的灰渍(舌头灰)应随时刮尽,刮平顺;半头砖应分散使用;首层或楼层的第一皮砖砌筑要查对皮数杆的层数及标高;一砖厚墙砌筑外面要拉线,以防出现墙面沾污、通缝、不平直以及砖墙错层造成螺旋墙等疵病。
6.构造柱砌筑应注意使构造柱砖墙砌成马牙槎,设置好拉结筋,应从柱脚开始先退后进;当齿深120mm时,上口一皮应按先进60mm后,再上一皮进120mm,以保证混凝土浇灌时上角密实;构造柱内的落地灰、砖渣杂物应清理干净,防止夹渣,以免影响构造柱的整体性。
三、轻质隔墙板施工
本工程内隔墙采用轻质隔墙板,轻质隔墙板板是以低碱快硬特种水泥为胶结材料,以膨胀珍珠岩为轻骨料,以抗碱玻璃纤维为增强材料,同时加入外加剂复合而成的复合材料。
2、施工准备
①材料准备:轻质隔墙板板进场应检查出厂合格证及检测报告,并进行外观检查,检查合格后方可使用;其他材料:胶结料(水泥、108胶)、玻璃带等。
②机具准备:料桶、刷板、撬棍、腻子刀、靠尺、扫帚等。
③基层准备:剔除室内超高部分,清除浮灰。
3、 轻质隔墙板安装工序
①放线:按照设计图纸尺寸及位置放线。
②配板:根据放样设计图的编号配板,安装前要核对编号。
③角接材料配制:水泥:108胶:水=2:1:0.2。
④接口抹灰
(1)用棕刷板将结合处大净,去除浮灰。
(2)用108胶刷板的企口及顶、侧粘结部位(108胶:水=1:1)。
(3)用配好的胶结材料将企口凹槽刮平,板的顶部要刮成八字形。
④立板:将板立起,正位后,用撬棍把板撬起与顶部粘牢,时粘结面密实,然后用木楔将下口塞紧并用靠尺校正。
⑤板缝处理
(1)用腻子刀将口缝处挤出的胶结料刮平,其板缝处理后应看不到板缝。
(2)板下口缝隙大于20mm时,用1:1:2豆石砼捻口,小于20mm时,用1:2.5水泥砂浆捻口。
⑥取木楔、捻楔口:上述工序三天后,才能取出木楔,再用上述方法将楔口捻死。取木楔时严禁乱砸、乱打、松动板子。
⑦焊接:按设计安装节点图将板与主体墙及板与板上的预埋件焊牢。焊件焊缝不可高于板面。
⑧贴玻纤带:将裁口处缝内残渣、余灰扫净,板缝刷108胶一道,将浸胶的玻纤带贴在板缝处,压平赶实。
⑨用胶结材料将裁口缝刮平。
4、安装质量标准
(1)水平位移不超过3mm。
(2)平整度2m靠尺不超过3mm。
(3)垂直偏差:2m靠尺不超过3mm。
(4)各部位粘胶面,胶结料必须饱满,梁块板缝挤严后,缝宽度不得大于3mm,裁口处胶料不得鼓出裁口凹面1mm。
(5)裁口缝处贴玻纤带刮腻子后,不得有缝隙和缺陷。
5、施工中的注意事项
(1)板在安装过程中严禁用锤子敲砸,地面超高时,应剔除超高部分,不得剔凿板材,硬塞硬砸,损坏板材。
(2)胶结料的拌制应严格按配合比操作一次不得过多,中途不得加水稀释。
(3)在安装立板时,不得来回错动板,以免胶结料失去胶性。
(4)板缝中挤出的多余的胶应立即铲除,以保证下道工序无障碍。
第七节 装饰工程
根据施工图和建设单位要求,住户内装饰部分做至室内墙面抹会完,地面做至结构层,有吊顶的顶棚不做,贴瓷砖、地砖的卫生间等做完室内防水层,公共部分楼梯间、电梯厅地下室等和外墙装饰根据图纸要求做完。
1、总体安排和要求
(1)装修工程施工时,室内粗装修随砌体由下往上逐层施工,外墙装饰为一次由上往下施工完成。装修工程开始前,各分项工程先做样板,经各有关部门验收后展开全面施工。
(2)组织专业的施工班组,分别承担各分项装饰工程,实行定任务、定质量、定标准、定时间,分包到组,实行优质超产重奖、劣质重罚,保证质量,保证工期。
(3)材料供应:订货前取样品交设计、甲方审后方可进货,对易产生色差、规格差的材料的材料应选择同一厂家同一批产品。
2、施工组织与配合:
本工程装饰工程量较大,材料品种繁多、工期紧,质量要求高,土建与安装需要交叉作业,因此组织计划、施工协调配合非常重要。土建要先做好卫生间的抹灰等,为安装创造条件,对直接影响土建施工的安装工序也要提前安排施工。土建安装要定期召开生产协调会,解决进度安排,互相配合及产品保护等事宜。
3、施工顺序:
根据设计图纸,本工程室内装饰主导流水线为:做墙面抹灰塌饼及门窗洞口护角→主体结构分层验收→门窗框安装→天棚抹灰→墙面抹灰→楼地面→吊顶→安装布线→门窗扇安装→顶棚、墙面涂料→油漆玻璃→安装电器、灯具→土建收尾。
待主体结构施工完后,至上而下进行外墙装饰施工。
4、质量控制:
①装饰工程施工必须实行样板制(样板间样板层),即先做出样板,经质检部门及监理单位共同检查鉴定,一致认可达到质量优良标准后,方可大面积展开施工。装饰分部工程必须达到优良质量标准。
②项目部要制定、贯彻、落实技术交底制度、质量员跟班检查制度、产品保护制度、土建安装交接制度等行之有效的管理制度,以保护施工操作质量。
5、工艺要求和施工要点:
(1)抹灰工程
1)一般规定
①.抹灰工程的砂浆等级应符合设计要求。
②.抹灰工程所用的砂浆配比,材料品种,应按设计要求选用。
③.抹灰砂浆的配合比和稠度等,应经检查合格后,方可使用,掺有水泥或石膏拌制的砂浆,应控制在初凝前用完。
④.砂浆中掺用外加剂时,其掺入量应由试验确定。
⑤.木结构与砖结构、混凝土结构等的相接处基本表面抹灰,应先铺钉金属网,并绷紧牢固,金属网与各基体的搭接宽度不应小于100mm。
⑥.室内墙面、柱面和门洞的阳角,宜用1:2.5水泥砂浆做护角,其高度不应低于2m,每侧宽度不小于50mm。
⑦.外墙抹灰工程施工前,应安装好门窗、阳台栏杆和预埋铁件等,并将墙上的施工孔堵塞密实。
⑧.外墙窗台、窗楣、雨篷、阳台、压顶和突出腰线等,上面应做流水坡度,下面应做滴水线或滴水槽,滴水槽的深度和宽度均不应小于10mm,并整齐一致。

滴水槽(线)示意图
⑨.水泥砂浆的抹灰层应在湿润的条件下养护。
⑩.大面积的石灰膏抹面应事先经试验室试验后,得出既保证质量又便于操作的稠度及凝结时间才能施工。
⑾.一般抹灰按质量要求分为普通、中级和高级三级。我公司按高级抹灰施工:阴阳角找方,设置标筋,分层赶平、修整,表面压光。
⑿.厕所、天沟等凡有泛水需要的地台抹灰应做成倾向出水口的泛水坡度。
⒀.凡面层灰浆要压光的,最后一次“过硬匙”,应在灰浆初凝后“收身”(即经过灰匙压磨而灰浆表层不会变成糊状)及时进行。
⒁.抹灰用砂宜用中砂,使用前应过筛,不宜采用特细砂。
⒂.抹灰掺和料用粉煤灰
⒃.施工前,应预先做样板(样品间),并经公司质量管理部门认可后,方可进行。
2)水泥砂浆或混合砂浆抹墙面和天棚:
①抹灰前必须将穿越墙面和楼板的管道洞嵌填实,管道背后应在安装前抹灰。
②内墙抹灰前,先在地面上放出各层各房间的粉刷厚度大样线条,放样线距墙的抹灰厚度控制在1~2cm以内,放样线必须阴角方正,阳角整方。
③顶棚抹灰前,根据+50cm线找出靠近顶板四周的水平线,然后用粉线包在顶板四周弹出一条水平操作线,为顶棚抹灰控制线。抹灰先抹顶棚四周,圈边找平。
④套方,吊直,作灰饼。抹底层灰前必须先找好规矩,即四角规方,横线找平,立线吊直,弹出基准线和踢脚线,并根据室内抹灰要求做好灰饼。
⑤墙面冲筋,待灰饼结硬后,使用与抹灰层相同的砂浆。在上、下灰饼之间做线30~50mm宽的灰浆带,并以上、下灰饼为准压尺推平,冲筋完成并待稍干后,才能进行墙面底层抹灰作业。
⑥做护角:根据灰饼和门框边离墙面的空隙,用方尺规方后,分别在阳角两边吊直和固定好靠尺板,抹出水泥砂浆护角,并用阳角抹子推出小圆角,最后利用靠尺板,在阳角两边50mm以外位置,以40o斜角将砂浆切除、清净。
⑦抹底层灰和中层灰:在墙体湿润的情况下抹底层灰,对砼墙体表面宜先刷、甩水泥素浆一遍,然后抹底层灰,底层灰厚度一般控制在5~7mm,待底层灰稍干后,再以同样砂浆抹中层厚度为7~9mm。中间灰抹完磨平后,应全面检查其垂直度、平整度、阴阳角是否方正、顺直,发现问题应及时修补处理。
⑧抹罩面层:采用425#水泥,建筑胶调和成腻子,一般为三遍,每刮一遍必须棱角整齐,阴角通顺,干燥后磨砂纸。
⑨抹灰施工要点:
抹灰前应检查窗框位置是否正确,与墙连接是否牢固,铝合金门窗所用的嵌缝材料应符合设计要求,且嵌塞密实,并事先粘贴好保护膜,抹灰前必须先找好规矩,即四角规方、横线找平、立线吊直、弹出基准线和踢脚线;室内墙面、柱面的阳角和门窗洞的阳角,用1:2水泥砂浆抹出护角,并用捋角和水泥器浆捋出小圆角;砼基层在抹灰前应先用1%烧碱清洗墙面油污,然后用掺水重2%的建筑胶1:1水泥胶浆甩在墙面或顶上,终凝浇水养护直至水泥砂浆疙瘩全部粘接在砼表面并有较高的强度(用手掰不动为止)后,再进行墙面和顶棚抹灰,砖墙面和墙面在抹灰前对墙面应提前一天充分浇水湿润。水泥砂浆面层压光不得少于两遍,且应掌握好压光时间,以免造成空鼓和麻面,罩面后次日进行洒水养护。纸筋灰罩面宜在底子灰5~6成干时进行,罩面分两遍压实赶光。窗台、窗楣、雨蓬、压顶和突出腰线等,要严格按细部做法和要求,精心施工,在施工前应弹好基准线,并对基层做细致的处理,防止出现空鼓、歪斜、倒泛水、上下不顺直等现象,造成返工。
(2)外墙贴面砖
1)施工准备:
①双排外架应提前搭设好,其横竖杆及拉杆等应离开墙面和门窗口角150~200mm。架子的步高和支搭要符合施工要求和安全操作规程。
②阳台栏杆、预留孔洞及排水管等应处理完毕,门窗框扇要固定好,并用1:3水泥砂浆将缝隙堵塞严实,塑钢门窗框边缝所用嵌塞材料应符合设计要求,且应塞堵密实,并事先粘贴好保护膜。
③墙面基层清理干净,脚手眼、窗台、窗套等事先砌堵好。
④按面砖的尺寸、颜色进行选砖,并分类存放备用。
⑤大面积施工前应先放大样,并做出样板墙,确定施工工艺及操作要点,并向施工人员做好交底工作。样板墙完成后必须经质量部门鉴定合格后,还要经过设计、甲方、监理和施工单位共同认定,方可组织班组按照样板墙要求施工。
2)外墙面贴面砖操作方法
① 基层处理:首先将凸出墙面的混凝土剔平,对光滑混凝土墙面应用砼界面剂处理,并用钢丝刷满刷一遍,再浇水湿润。
② 吊垂直、套方、找规矩、贴灰饼:若建筑物为高层时,应在四大角和门窗口边用经纬仪打垂直线找直;如果建筑物为多层时,可从顶层开始用特制的大线坠绷铁丝吊垂直,然后根据面砖的规格尺寸分层设点、做灰饼。横线则以楼层为水平基准线交圈控制,竖向线则以四周大角和通天柱或垛子为基准线控制,应全部是整砖。每层打底时则以此灰饼作为基准点进行冲筋,使其底层灰做到横平竖直。同时要注意找好突出檐口、腰线、窗台、雨篷等饰面的流水坡度和滴水线(槽)。
③ 抹底层砂浆:先刷一道掺水重10%的建筑胶水泥素浆,紧跟着分层分遍抹底层砂浆(常温时采用配合比为1:3水泥砂浆),第一遍厚度宜为5mm,抹后用木抹子搓平,隔天浇水养护;待第一遍六至七成干时,即可抹第二遍,厚度约8~12mm,随即用木杠刮平、木抹子搓毛,隔天浇水养护,若需要抹第三遍时,其操作方法同第二遍,直至把底层砂浆抹平为止。
④ 弹线分格:待基层灰六至七成干时,即可按图纸要求进行分段分格弹线,同时亦可进行面层贴标准点的工作,以控制面层出墙尺寸及垂直、平整。
⑤ 排砖:根据大样图及墙面尺寸进行横竖向排砖,以保证面砖缝隙均匀,符合设计图纸要求,注意大墙面、通天柱子和垛子要排整砖,以及在同一墙面上的横竖排列,均不得有一行以上的非整砖。非整砖行应排在次要部位,如窗间墙或阴角处等。但亦要注意一致和对称。如遇有突出的卡件,应用整砖套割吻合,不得用非整砖随意拼凑镶贴。
⑥ 浸砖:釉面砖和外墙面砖镶贴前,首先要将面砖清扫干净,放入净水中浸泡2h以上,取出待表面晾干或擦干净后方可使用。
⑦ 镶贴面砖:镶贴应自上而下进行。在每一分段或分块内的面砖,均为自下而上镶贴。从最下一层砖下皮的位置线先稳好靠尺,以此托住第一皮面砖。在面砖外皮上口拉水平通线,作为镶贴的标准。
在面砖背面宜采用1:2水泥砂浆,砂浆厚度为6~10mm,贴上后用灰铲柄轻轻敲打,使之附线,再用钢片开刀调整竖缝,并用小杠通过标准点调整平面和垂直度。
另外一种做法是,用1:1水泥砂浆加水重20%的建筑胶,在砖背面抹3~4mm厚粘贴即可。但此种做法其基层灰必须抹得平整,而且砂子必须用窗纱筛后使用。
另外也可用胶粉来粘贴面砖,其厚度为2~3mm,用此种做法其基层灰必须更平整。
如要求釉面砖拉缝镶贴时,面砖之间的水平缝宽度用米厘条控制,米厘条用贴砖用砂浆与中层灰临时镶贴,米厘条贴在已镶贴好的面砖上口,为保证其平整,可临时加垫小木楔。
女儿墙压顶、窗台、腰线等部位平面也要镶贴面砖时,除流水坡度符合设计要求外,应采取顶面面砖压立面面砖的做法,预防向内渗水,引起空裂;同时还应采取立面中最低一排面砖必须压底平面面砖,并低出底平面面砖3~5mm的做法,让其超滴水线(槽)的作用,防止尿檐而引起空裂。
⑧ 面砖勾缝与擦缝:面砖铺贴拉缝时,用1:1水泥砂浆勾缝,先勾水平缝再勾竖缝,勾好后要求凹进面砖外表面2~3mm。若横竖缝为干挤缝,或小于3mm者,应用白水泥配颜料进行擦缝处理。面砖缝子勾完后,用布或棉丝蘸稀盐酸擦洗干净。
3)质量要求:
面砖镶贴必须牢固,无歪斜、缺棱掉角和裂缝等缺陷;表面应平整、洁净,色泽协调、无变色、泛碱、污痕和显著的光泽受损处;面砖的接缝应嵌填密实、平直,缝隙宽窄均匀、颜色一致;阴阳角处的砖搭接方向正确,非整砖使用部位适宜。
4)应注意的质量问题
① 空鼓、脱落;
-
-
- 因冬季气温低,砂浆受冻,到来年春天化冻后容易发生脱落。因此在进行室外贴面砖操作时应保持正温,尽量不在冬期施工。
- 基层表面偏差较大,基层处理或施工不当,如每层抹灰跟的太紧,面砖勾缝不严,又没有洒水养护,各层之间的粘结强度很差,面层就容易产生空鼓、脱落。
- 砂浆配合比不准,稠度控制不好,砂子含泥量过大,在同一施工面上采用几种不同的配合比砂浆,因而产生不同的干缩,亦会空鼓。应在贴面砖砂浆中加适量建筑胶,增强粘结,严格按工艺操作,重视基层处理和自检工作,要逐块检查,发现空鼓的应随即返工重做。
-
② 墙面不平:主要是结构施工期间,几何尺寸控制不好,造成外墙面垂直、平整偏差大,而装修前对基层处理又不够认真。应加强对基层打底工作的检查,合格后方可进行下道工序。
③ 分格缝不匀、不直:主要是施工前没有认真按照图纸尺寸,核对结构施丁的实际情况,加上分段分块弹线、排砖不细,贴灰饼控制点少,以及面砖规格尺寸偏差大,施工中选砖不细,操作不当等造成。
④ 墙面脏:主要原因是勾完缝后没有及时擦净砂浆以及其他工种污染所致,可用棉丝蘸稀盐酸加20%水刷洗,然后用自来水冲净。同时应加强成品保护。
第八节 楼地面工程
本工程楼地面仅做至结构层,卫生间厨房、淋浴、洗消等房间地面将防水层做完,以便二次装修施工方便。楼地面工程在施工前要根据建设单位的要求,编制详细的施工工艺标准进行技术交底。
-
-
-
-
- 轻骨料砼垫层施工
-
-
-
1.混凝土拌制
根据配合比计算出每罐混凝土的用料。后台要认真按每罐的配合比用量称量、投料,严格控制加水量,搅拌要均匀,搅拌时间一般不少于 90s。
2.混凝土浇筑
(1)先应清除基土上的泥土和杂物,并应有排水或防水措施。对干燥非粘性土应适当洒水湿润,表面不得存有积水。
(2)混凝土应用手推车或机动翻斗车运至浇筑地点。运送时防止离析或水泥浆流失。如有离析,应进行二次拌合。
(3)浇筑高度超过2m时,应使用串筒或溜槽下料,以防止发生离析现象。
(4)混凝土浇灌由一端向另一端进行,采用平板式振动器振捣。
(5)混凝土应按分块(间)一次连续浇筑完成,如有间歇,应按规定留置施工缝。混凝土浇筑时间一般不应超过2h。
(6)混凝土振捣密实后,表面应用木抹子搓平。如垫层的厚度较薄,应严格控制摊铺厚度,用大杠细致刮平表面。有排水要求的垫层,应按放线找出坡度,一般不应小于2%。
3.混凝土养护
垫层浇筑完后,应在12h左右覆盖的浇水,养护时间一般不少于7d。
-
-
-
-
- 水泥砂浆楼地面:
-
-
-
1.清理基层
将基层表面的积灰、浮浆、油污及杂物清扫掉并洗干净,明显凹陷处应用水泥砂浆或细石混凝土垫平,表面光滑处应凿毛并清刷干净。抹砂浆前1d浇水湿润,表面积水应予排除。
2.冲筋、贴灰饼
根据墙面弹线标高,用1:2干硬性水泥砂浆在基层上做灰饼,大小约50mm见方,纵横间距约1.5m左右。有坡度的地面,应坡向地漏一边。如局部厚度薄于10mm时,应调整其厚度或将高出的局部基层凿去部分。
3.配制砂浆
面层水泥砂浆的配合比宜为1:2(水泥:砂,体积比),稠度不大于35mm,强度等级不应小于M15。水泥石屑砂浆为1:2(水泥:石屑,体积比),水灰比为0.40。使用机械搅拌,投料完毕后的搅拌时间不应少于2min,要求拌合均匀,颜色一致。
4.铺抹砂浆
灰饼做好待收水不致塌陷时,即在基层上均匀扫素水泥浆(水灰比0.4~0.5)一遍,随扫随铺砂浆。若待灰饼硬化后再铺抹砂浆,则应随铺砂浆随找平,同时把利用过的灰饼敲掉,并用砂浆填平。
5.找平、压头遍铺抹砂浆后,随即用刮尺或木杠按灰饼高度,将砂浆找平,用木抹子搓揉压实,将砂眼、脚印等消除后,用靠尺检查平整度。抹时应用力均匀,并后退着操作。待砂浆收水后,随即用铁抹子进行头遍抹平压实至起浆为止。如局部砂浆过干,可用茅柴帚稍洒水;如局部砂浆过稀,可均匀撒一层1:1干水泥砂(砂需过3mm筛孔)来吸水,顺手用木抹子用力搓平,使互相混合。待砂浆收水后,再用铁抹子抹压至出浆为止。
6.二遍压光
在砂浆初凝后进行第二遍压光,用钢抹子边抹边压,把死坑、砂眼填实压平,使表面平度整。要求不漏压,平面出光。有分格的地面,压光后,应用溜缝抹子溜压,做到缝边光直,缝明细。
7.三遍压光
在砂浆终凝前进行,即人踩上去稍有脚印,用抹子压光无抹痕时,用铁抹子把前遍留下的抹纹全部压平、压实、压光,达到交活的程度为止。
8.养护
视气温高低在面层压光交活24h内,铺锯末或草袋护盖,并洒水保持湿润,养护时间不少于14d。
9.抹踢脚板
一般在抹地坪面层前施工。有墙面抹灰层的,底层和面层砂浆宜分两次抹成,无墙面抹灰层的,只抹面层砂浆。抹底层砂浆系先清理基层,洒水湿润,然后按标高线量出踢脚板标高.拉通线确定底灰厚度,贴灰饼,抹1:3水泥砂浆,刮板刮平,搓毛,浇水养护。抹面层砂浆系在底层砂浆硬化后,拉线贴粘靠尺板,抹1:2水泥砂浆,用刮板紧贴靠尺垂直地面刮平,用铁抹子压光,阴阳角、踢脚板上口,用角抹子溜直压光。
三、楼梯间铺贴地板砖楼地面
(1)地面铺贴应在墙面粉刷完成后进行,同时应将基层清理干净,剔掉落地灰等杂物,并清水湿润。
(2)抄平弹线,冲筋:根据50cm水平控制线画出地面标高,弹出找平层的水平线。并按水平线作灰饼,然后按灰饼进行冲筋。
(3)抹找平层:冲好筋后,在空档内刷素水泥结合层,用1:3干硬性水泥砂浆随刷素浆随抹找平层,抹时用铁抹子拍实,用木抹子搓平。
(4)弹线排砖,找平层凝固后,在房中心弹出纵横方向相互垂直的控制线,并以中间向四周排砖块试铺,到房间边缘处赶不上整块时,应切砖,但应使两边对称,且不得少于1/2砖。
(5)铺贴:在大面积铺贴地板砖前,应先进行选砖,把规格尺寸相同的砖排在同一空间。进行试铺,试铺无误后,先在房内两侧根据砖的要求把两侧的砖铺好找平,然后以两侧的砖为标准,挂线铺贴中间的地砖。
(6)铺砖时先在找平层上刷好素水泥浆结合层,然后用1:3干性水泥砂浆铺贴楼层,用抹子抹平后,把地板砖平放在粘接层上,用橡皮锤敲实敲平,使其边缘跟线平齐,然后把地砖揭掉翻过来,使背面朝上,在背面抹一层1:0.5的素水泥浆,要抹平抹严,最后把地板砖放回原位,放时注意四角同时放平敲实。每铺完一行砖时,要用靠尺检查其平整度,横向砖棱跟线,纵向缝隙顺直,地板砖在铺前应放在水中浸4小时后,取出晾干再用。
第九节 门窗工程
本工程使用木质三防门、塑钢门等,所有的外墙窗均采用单框双玻塑钢门窗。
各种门窗委托有加工能力的厂家进行加工,并负责安装。在门窗安装前,要提前弹好门窗的位置线(标高线、进出线、中线)提供给外协单位,外墙门窗的进出线要依据外墙塔饼厚度确定,中线要依据外墙洞口位置和外装饰板或面砖排列确定,标高线依据楼层+50cm线确定。
塑钢门窗安装
一)、材料要求
1.塑料门窗的规格、型号应符合设计要求,五金配件配套齐全,并具有出厂合格证。
2.玻璃、嵌缝材料、防腐材料等应符合设计要求和有关标准的规定。
3.进场前应先对塑料门窗进行验收检查,不合格者不准进场。运到现场的塑料门窗应分型号、规格以不小于70º的角度立放于整洁的仓库内,下部放置垫木。仓库内的环境温度应小于50℃;门窗与热源的距离不应小于1m,并不得与腐蚀物质接触。
4.搬运门窗时应轻拿轻放,严禁抛摔,并保护好其护膜。
二)、施工操作工艺
1.将不同型号、规格的塑料门窗搬到相应的洞口旁竖放。当有保护膜脱落时,应补贴保护膜,并在框上下边划中线。
2.如果玻璃已装在门窗上,应卸下玻璃,并做好标记。
3.在门窗的上框及边框上安装固定片,其安装应符合下列要求:
(1)检查门窗框上下边的位置及其内外朝向,并确认无误后,再安固定片。安装时应先采用直径为Ø3.2的钻头钻孔,然后将十字槽盘端头自攻螺钉M4×20拧入,严禁直接锤击钉入。
(2)固定片的位置应距门窗角、中竖框、中横框150~200mm,固定片之间的间距应不大于600mm。不得将固定片直接装在中横框、中竖框的挡头上。
4.根据设计图纸及门窗扇的开启方向,确定门窗框的安装位置,并把门窗框装入洞口,并使其上下框中线与洞口中线对齐。安装时应采取防止门窗变形的措施。无下框平开门应使两边框的下脚低手地面标高线30mm。带下框的平开门或推拉门应使下框低于地面标高线10mm。然后将上框的一个固定片固定在墙体上,并应调整门框的水平度、垂直度和直角度,用木楔临时定位;窗的上下框中线与洞口中线对齐后,窗的上下框四角及中横框的对称位置用木楔临时固定。当下框长度大于0.9m时,其中间也用木楔塞紧。然后调整垂直度、水平度及直角度。
5.当门窗与墙体固定时,应先固定上框,后固定边框。固定方法如下:
(1)混凝土墙洞口采用射钉或塑料膨胀螺钉固定。
(2)砖墙洞口采用塑料膨胀螺钉或水泥钉固定,并不得固定在砖缝上。
(3)加气混凝土洞口,采用木螺钉将固定片固定在胶粘圆木上。
(4)设有预埋铁件的洞口应采取焊接的方法固定,也可先在预埋件上按紧固件规格打基孔,然后用紧固件固定。
(5)设有防腐木砖的墙面,采用木螺钉把固定片固定在防腐木砖上。
(6)窗下框与墙体的固定可将固定片直接伸人墙体预留孔内,并用砂浆填实。
6.安装门连窗或组合窗时,门与窗采用拼樘料拼接、拼樘料与洞口的连接方法如下:
(1)拼樘料与混凝土过梁或柱子的连接应符合第5条第(4)款的规定。
(2)拼樘料与砖墙连接时,先将拼樘两端插入预留洞中,然后用C20细石混凝土浇灌固定。
7.应将门窗框或两窗框与拼樘料卡接,并用紧固件双向扣紧,其间距不大于600mm;紧固件端头及拼樘料与窗框之间缝隙用嵌缝油膏密封处理。
8.门窗框与洞口之间的伸缩缝内腔应采用闭孔泡沫塑料、聚氨酯发泡等弹性材料分层填塞。之后去掉临时固定用的木楔,其空隙用相同材料填塞。
9.门扇应待水泥砂浆硬化后安装。
10.门窗玻璃的安装应符合下列规定:
(1)玻璃不得与玻璃槽直接接触,应在玻璃四边垫上不同厚度的橡胶垫块。边框上的垫块应用聚氯乙烯胶加以固定。
(2)将玻璃装入框扇内,然后用玻璃压条将其固定。
(3)安装双层玻璃时,玻璃夹层四周应嵌人中隔条,中隔条应保证密封,不变形、不脱落;玻璃槽及玻璃内表面应干燥、清洁。
(4)镀膜玻璃应装在玻璃的最外层;单面镀膜层应朝向室内。
11.门锁、执手、纱窗铰链及锁扣等五金配件应安装牢固,位置正确,开关灵活。安装完后应整理纱网,压实压条。
三)、质量标准
(一)保证项目
1.塑料门窗及其附件质量必须符合设计要求和有关标准的规定。
2.塑料门窗安装的位置、开启方向,必须符合设计要求。
3,塑料门窗安装必须牢固;预埋件数量、位置、埋设连接方法及防腐处理必须符合设计要求。
(二)基本项目
1.塑料门窗扇安装应符合以下规定:
(1)平开门窗扇关闭严密,搭接量均匀,开关灵活,密封条不脱槽。开关力:平铰链≤80N,30N≤滑撑铰链≤80N。
(2)推拉门窗扇关闭严密,扇与框搭接量符合设计要求,开关力≤100N。
(3)旋转窗关闭严密,间隙基本均匀,开关灵活。
2.塑料门窗附件安装齐全,位置正确,安装牢固,使用灵活,达到各自的使用功能。
3.塑料门窗框与墙体间缝隙填嵌饱满密实,表面平整、光滑,无裂缝,填塞材料、方法符合设计要求。
4.塑料门窗表面洁净,无划痕、碰伤,型材无开焊断裂。门窗处于关闭时,扇与框间无明显缝隙,密封面上的密封条应处于压缩状态。
5.塑料门窗带密封条的压条必须与玻璃全部贴紧,压条与型材的接缝处应无明显缝隙,接头缝隙≤1mm。玻璃密封条与玻璃及玻璃槽口的接触应平整,不得卷边、脱槽。
6.门窗玻璃不得直接接触型材,玻璃应平整、安装牢固,不应有松动现象,玻璃表面应洁净,单面镀膜玻璃的镀膜层应朝向室内。若为双层玻璃时,夹层内不得有灰尘和水气,双玻隔条不得翘起,单面镀膜玻璃应在最外层,镀膜层应朝向室内。
四)、施工注意事项
1. 塑料门窗安装时,必须按施工操作工艺进行。施工前一定要划线定位,使塑料门窗上下顺直,左右标高一致。
2.安装时要使塑料门窗垂直方正,对有劈棱和窜角的门窗扇必须及时调整。
3.门窗框扇上若粘有水泥砂浆,应在其硬化前用湿布擦干净,不得用硬质材料铲刮窗框扇表面。
4.因塑料门窗材质较脆,所以安装时严禁直接锤击钉钉,必须先钻孔,再用自攻螺钉拧入。
第十节 屋面工程
一、工程做法
本工程采用倒置式防水屋面,屋面做法为:上人屋面为钢筋砼屋面板上做1:6水泥焦渣找坡层,最薄处30mm,坡度为2%,20厚1:3水泥砂浆找平层,聚乙烯丙纶复合防水卷材(350g)两道,35厚挤塑聚苯泡沫隔热板保温层,25厚1:3水泥砂浆找平层,40mm厚250×250彩色铺地砖用1:1水泥砂浆勾缝。不上人屋面做法保温层(含保温层)以下做法同上人屋面,保温层以上做40厚C20细石砼保护层。
二、基层处理:
(1)将结构层上的杂物,垃圾清除后,并用水冲洗干净,并检查有无渗漏,一旦发现要认真处理到不渗水为止。凡凸出基层的砼疙瘩、钢筋头、落地砂浆等用凿子凿去。
(2)完成伸出屋面的所有管道,预埋落水斗子。
(3)各种出屋面管道预留孔洞用细石砼分两次浇灌密实。
(4)竖向主管及落水头子四周与基层接触处应留宽20mm的凹槽,用防水油膏填实。
三、水泥炉渣找坡
找坡层铺设前,按设计要求的坡度及流水方向,找出屋面坡度走向,拉线控制找坡层的铺设厚度,最薄处厚度应控制在30mm厚。做找坡层所用的炉渣,粒径为5~40mm,不得含有石块、土块、和未燃尽的煤块,堆积密度为500~800kg/m3,材料按水泥:炉渣=1:6的配合比加水搅拌均匀,施工时应按排水坡度先坍饼冲筋,然后大面积铺设,找坡层应拍振密实,表面出现泛浆,并用木抹子搓平,其排水坡度、纵向天沟的坡度均应符合设计要求,以保证坡度准确。
四、屋面找平层:
-
-
-
- 屋面找平层应符合《屋面工程技术规范》(GB50207-94)规定。
- 找平层与突出屋面结构的连接处及基层的转角处均应均应做成R=20mm的圆角或直角。沟边,管道边等部位的交接处和转角处均应抹成圆弧型。
- 屋面防水天沟纵向坡度不宜小于1%,内排水的雨水口应做成略低的凹坑。
- 根据设计坡度(包括天沟的坡度),拉线做基准块,按排水方向冲筋,冲筋距离在1.5m左右为宜。
- 找平层应留置分格缝,缝宽为20mm,分格缝纵横面最大间距不应大于6m。
- 按配合比拌合好水泥砂浆,拌合稠度控制在7cm。水泥砂浆应按分格块铺平,用刮杠靠冲筋条刮平,找坡后用抹子搓平,铁抹子压光。(最后一次压光在砂浆初凝后,终凝前完成),要注意把死坑,死角的砂眼抹平。
- 找平层表面压实平整,收水后应二次压光;并凝固后要浇水养护,养护时间一般不少于7天,不得有酥松、起砂、起皮现象;干燥后即可进行防水的施工。
-
-
五、屋面聚乙烯丙纶复合卷材防水层施工
(—)、施工准备
一个施工组7人:清理基层1人,制运胶3人,铺贴卷材2人,复杂部位1人。使用器具见下表。
铺贴复合卷材施工器具表
| 序号 | 器具名称 | 规格 | 单位 | 数 量 | 备 注 |
| 1 | 小器皿 | 个 | 1 | ||
| 2 | 刮 板 | 300mm | 个 | 2 | 硬橡胶 |
| 3 | 搅拌器具 | 个 | 1 | 电动搅拌器或硬竹把 | |
| 4 | 制胶容器 | ≥100升 | 个 | 2 | 根据用量可用半截油桶 |
| 5 | 剪子 | 把 | l | 普通民用 | |
| 6 | 刀子 | 把 | 2 | 壁纸刀 | |
| 7 | 清扫工具 | 把 | 根据情况扫帚、小铲等 | ||
| 8 | 称量工具 | 台 | 1 | 10~50公斤 | |
| 9 | 腻 刀 | 40mm | 把 | 2 | |
| 10 | 毛 刷 | 300mm | 把 | 1 | 弯把 |
(二)、施工材料及用量施工材料及用量应按防水层构造进行计算和确定,可按结构分项查表计算:
聚乙烯丙纶(SBC120)屋面防水构造分项用料表(每平方米)
| 序号 | 工程构造 | 材料名称 | 材料规格 | 单位 | 数 量 | 备 注 |
| 1 | 防水层 | SBC120复合卷材 | m2 | 1.10~1.15 | 单层防水 | |
| 2 | 防水层粘接 | SBC120胶粘剂
(白乳胶) |
kg
kg |
0.0565
0.384 |
配比2.5%(重量)
配比17%(重量) |
|
| 水泥 | 425# | kg | 2.26 | |||
| 3 | 防水层粘接 | 聚氨酯胶 | 低粘度 | kg | 2 | 低粘度 |
| 4 | 防水层接缝 | 聚氨酯胶 | JYM-110 | kg | 0.079 | 屋面防水 |
(三)、施工操作程序
验收基层(找平层)→清扫基层(找平层)→制备粘接胶→处理复杂部位→铺贴复合卷材→检验复合卷材施工质量→保护层施工→验收。
(四)、粘接胶的配制
1、水泥胶的配制
① 水泥添加SBC120胶粘剂的配制方法
粘贴防水层时,SBCl20胶粘剂含量为水泥重量的2.5%,即一袋水泥(50kg)配用一袋胶粘剂(1.25kg)。配制时将一袋胶粘剂与6kg-10kg的水泥千混均匀,然后边搅拌边将其加入到27.5K~32.5Kg的水中,搅拌均匀后逐渐加入剩余的水泥,边加入水泥边搅拌,搅拌至无凝块、无沉淀、无气泡即可使用。
注意事项:量水时,将包装箱内的大塑料袋上口翻向箱外,按标线计量、防水卷材粘贴后24小时内禁止向水泥胶处洒水。
② 水泥添加乳白胶的配制方法
乳白胶与水泥的重量比为17%时,每公斤水泥加水控制在0.38kg-0.48kg,白乳胶与水泥的重量比为7%时,每公斤水泥加水控制在0.45kg-0.55k。配制时,先把乳白胶放人制胶容器中,边搅拌边加水,加水后搅拌至白乳胶全部溶解,再边搅拌边加水泥,加完水泥搅拌至均匀无凝块、无沉淀、无泡沫即可使用。
② 聚氨酯胶的配制方法
将甲、乙组分按体积比1:1(重量比1:1.5)在干燥容器中混和搅拌均匀后即可使用,如乙组分有沉淀时,搅拌均匀后使用。
注意事项:该胶粘剂属双组分反应固化型,在使用时必需严格按比例要求配制,根据施工现场实际情况和用量随使随配,严禁向胶粘剂内加入任何溶剂。
(五)、SBCl20复合卷材施工
复合卷材施工必须在找平层验收合格后进行,原则上复合卷材的粘贴,对基层的含水率无特殊要求,只要无明水即可施工,因当有明水现象时,水泥胶被过份稀释,使粘接层出现过薄、不均匀、漏粘等现象,卷材粘贴后防水层以下水份含量过高,影响了卷材粘接强度及施工质量。但基层含水量也不宜过低,过低时会导致水泥胶严重脱水、粉化,使水泥无法进行正常的水化反应,不能凝结硬化。通过实践证明,当基层含水率在30%-50%时,复合卷材的施工效果最佳。
复合卷材采用水泥添加专用配套胶(SBCl20胶粘剂)或白乳胶(聚醋酸乙烯乳液)制成的水泥胶(简称水泥胶)与基层满面粘贴。
1、复杂部位处理
防水层施工前,应按图纸要求先做好复杂部位(屋面的凸出部位、雨水口、天沟、檐口、檐沟;地下防水的阴角、阳角、穿墙管等)的附加层,复杂部位的附加层用复合卷材、水泥胶或聚氨酯胶处理粘接。
2、复合卷材铺贴
-
-
-
- 屋面防水复合卷材粘贴方向按GB50207-94第4.1.7条规定确定,地下防水工程粘贴方向可根据实际情况确定。复合卷材铺贴时,先在铺贴部位将复合卷材预放3m~12m(地下工程可预放2m~3m),找正方向后,在中间处固定,将卷材一端卷至固定处粘贴,这端粘贴完毕后,再将预放的卷材另一端卷回至已粘贴好的位置,连续铺贴自至整幅完成。铺贴方法:将水泥胶用毛刷涂到基层(找平层)和卷材对应的表面上厚约1.0mm,然后粘贴卷材,同时在卷材上表面用刮板将粘接面排气压实,排出多余部分粘接胶,这是保证工程质量的关键。
- 垂直面复合卷材粘贴必须纵向粘贴,自上向下对正,自下向上排气压实,要求基层与卷材同时涂胶,厚度均约1.0mm。
- 复合卷材的损伤疵点应做附加层,附加层卷材应宽出疵点周边120mm,地下防水附加层用聚氨酯胶满粘,屋面防水附加层可用水泥胶满粘。
-
-
3、接缝施工
①复合卷材接缝搭接宽度:长边接缝为100mm,短边接缝为120mm。相邻短边接缝应错开1m以上,水平转角处(墙面与墙面的夹角)接缝距转角大于0.3m,附加层接缝必须与防水层接缝错开0.3m以上。
②屋面防水接缝采用搭接方式用水泥胶或双组份JYM—110聚醚型聚氨酯胶粘剂(简称聚氨酯胶)粘接。
③接缝涂胶部位要求基层干净、干燥。
④屋面防水用水泥胶接缝时,接缝与卷材粘贴可同时进行,两个粘接面同时涂胶,接缝满粘,胶层厚度为1.0mm~1.6mm,接缝压实后在接缝边缘再涂刷一层水泥胶,厚度为0.8mm~1.0mm,涂刷宽度从接缝边缘向两边延伸30mm,接缝不允许有露底、打皱、翘曲、起空现象:
⑤用聚氨酯胶接缝时应在粘接胶固化后进行,具体操作方法:翻起上层卷材,将胶涂在下层卷材上,涂胶应连续均匀,厚度为1.0mm左右,最小胶接不得小于35mm,涂胶后粘合压实;翻起时应防止复合卷材与基层剥离。
(六)、工程断续保护
复合卷材施工过程发生中断要做好复合卷材的保护措施,特别是中断期较长或中断期间复合卷材施工现场有外界损坏因素的,必须做好复合卷材保护。工程断续保护主要防止意外或人为对复合卷材的损坏,其因素主要注意:①机械损坏;②高空落物损坏;③人为损坏;④风刮剥离;⑤人工或自然堆落物损坏;⑥高温烧烫损坏;⑦化学物质损坏等。
(七)、 SBC120复合防水卷材施工注意事项
1、复合卷材施工温度范围较宽,最适宜的温度在5℃~25℃。环境温度0℃及以下时禁止使用水泥胶粘接,环境温度-5℃及以下时不能使用聚氨酯胶粘接。
2、白天可以正常施工,夜间气温低于0℃时,在温度降至0℃以前应做好防水层的保温防护措施,使其温度保持在0℃以上。
3、复合卷材施工温度高于25℃时,应立即向施工后的复合卷材表面喷水降温,防止卷材变形起鼓。
4、复合卷材施工须在3级风以下进行,雨、雪天禁止施工。施工后如遇大风,复合卷材的端头部位用重物压住防风。
5、当采用聚氨酯胶时,禁止使用溶剂稀释,以防止复合卷材溶胀变形。
6、屋面防水复合卷材粘贴面积要求85%以上,地下防水粘贴面积要求90%以上,粘接层必须连续。
7、复合卷材铺贴过程中有打皱无法纠正时,应断开打皱处,按接缝处理。
8、采用聚氨酯胶搭接接缝,铺贴复合卷材时不能将水泥胶涂在复合卷材搭接处,以免影响接缝粘接。
9、采用盖条接缝时,在涂胶前应将接缝处表面固化的水泥胶清除干净。
10、复合卷材铺贴后,复合卷材下部不允许存在硬性颗粒及杂质,以免损坏复合卷材。
11、施工人员必须穿软底鞋,避免损坏复合卷材。
12、水泥胶涂刷后应马上粘贴复合卷材,防止胶中水分散失,影响粘贴质量。
六、保温层铺设:
保温层采用35mm厚挤塑聚苯泡沫板,铺贴前应在找坡层上弹好控制线,控制好排水坡度,保温材料的铺设应紧贴基层铺设,铺平垫稳,坡度正确,同时做好防雨准备,施工完毕应填写隐蔽工程记录,经验收合格后即进行下道工序施工。
七、保护层施工
复合卷材外露时,为防止意外损坏和紫外线照射,需加保护层延长复合卷材使用寿命。本工程上人屋面面层为防水及保温层上做30厚的粗砂层和20厚1:4水泥砂浆找平层,撒素水泥面并撒适量清水,25厚1:3:0.15(水泥:砂:107胶)建筑胶水泥砂浆结合层,粘贴8~10厚防滑地砖面层面层,留3mm宽砖缝,干水泥缝,每3m×6m留10mm宽伸缩缝,冷玛蹄脂填实。不上人屋面面层为防水层上做25厚水泥砂浆保护层。
保护层施工前必须在防水层验收合格后;并将防水层表面清扫干净;保护好施工材料运输通道的卷材,施工人员应穿软底鞋操作。
保护层施工前应先在卷材表面涂刷一层水泥胶,施工完保护层后应做好养护工作。保护层施工后,待其充分固化且含水率小于9%时,应对烟道、通汽孔、雨水口等复杂部位用聚氨酯胶补强,补强层应从补强部位向外延伸200mm以上,厚1.0mm以上。
八、屋面工程施工注意事项
①.严格选用屋面防水材料,按设计文件中注明使用的防水材料品种规格性能要求,选用符合质量标准的防水材料,屋面防水材料必须具有出厂合格证和准用证,在使用前还需按规定抽样送检,经复试合格后方可使用。
②.屋面基层与突出屋面的结构(女儿墙,变形缝的连接处以及基层的转角处(落水口、屋脊、天沟)均应做成圆弧。圆弧半径为50mm。
③屋面的坡向应正确,排水坡度必须准确,符合工程设计要求和规范规定,屋面排水坡度为2%,天沟、檐沟纵向坡度不小于1%,沟底水落差不小于200mm,水落口周围直径500mm范围内坡度不应小于5%,水落口处铺设附加层的范围内其找平层应做成20mm的凹坑,确保铺设附加层处不产生积水,排水畅通。水落口处屋面做法见下图:

④.对于穿过屋面板的管道四周,用C20细石砼浇灌密实,伸出屋面管道周围的找平层应做成圆锥台,高度为150mm,管道与找平层间应留下凹槽,并嵌填密封材料。防水层在管道收头处用金属箍箍紧,高度不小于250mm并用密封材料封严,天沟水平落水口处不得使用水平盖板,要用钟罩形落水帽,女儿墙侧面落水口处应加铁篦子。

⑤.屋面保温层应做排汽道,纵横贯通,并应与大气连通的排汽孔相通。屋面每36m2面积设一个排汽孔,排汽孔应做好防水处理,其出口距屋面高应不小于250mm。保温层还应在女儿墙根部留置30mm宽的通长缝隙。

⑥.卷材防水层的铺贴必须粘结牢固,表面应平整,无滑移、翘边、气泡、邹折等缺陷。改性沥青卷材防水应平行屋脊铺贴,上下层卷材部的相互垂直铺贴。
⑦.卷材铺贴应采用搭接法,上下层即相邻两幅卷材的搭接缝应错开,平行于屋脊的搭接缝应顺流水方向搭接,高聚物改性沥青防水卷材搭接宽度80mm,叠层铺设的各层卷材,在天沟于屋面的连接处,应采用叉接法搭接,搭接缝应错开;接缝宜留在屋面或天沟侧面,不宜留在沟底。
⑧.屋面泛水严禁外贴法施工,在女儿墙内侧和凸出屋面结构处,卷材的立面高度不应小于250mm。在砼女儿墙上,卷材可直接贴在墙面上,收头上口处用金属板遮盖,其上口用密封材料封固。

高度低于600mm的砼女儿墙及檐沟、天沟等部位,卷材收头应在女儿墙顶面或栏板顶面,并用水泥钉钉牢做法如下图:

⑨保护层厚度不小于10mm,并在分隔缝处断开,分隔缝横间距不宜大于6m,在女儿墙交接处应留宽度为30mm的缝隙,缝隙均用密封材料嵌填,在泛水处应铺设卷材或涂膜附加层。用细石砼做保护层,砼应振捣密室,表面应抹平压光,并@1000mm设置分格缝,分隔缝砼处断开,分格缝用油膏嵌缝。

⑩泛水部位细石砼保护层应做成半径为200mm的圆弧角,并沿纵向@2000mm设置15mm宽分格缝。
.

8、质量要求
①屋面找平层的坡度必须符合设计要求,内部排水落水口周围应做成略低的凹坑,表面平整不得有集水坑。
②找平层与突出屋面结构的连接处和转角处应做成圆弧形钝角,且整齐平顺。
③分格缝的留设、位置和间距应符合设计和施工规范规定。
④保温材料的强度、容度、导热系统和含水率及配合比必须符合设计要求。
第十一节 外脚手架与安全防护棚
根据实际情况,本工程施工外架在施工三层以下结构及地下室结构时,采用落地式双排外架,在施工三层以上结构时,采用型钢悬挑式脚手架。
施工外架搭设宽度1.05m,架子立杆纵向间距1.50~1.8m,并根据主体结构外形具体情况进行排设,架体的步距为1.80m,内排立杆距建筑物墙体0.30m。
三层以下落地式脚手架从地下室筏板上开始搭设,满足三层以下施工需要。在施工至三层楼板后,安装悬挑工字钢梁,开始搭设施工外挑架。A-1、B-1号楼外挑架搭从三层设到屋面层,共九~十步架,架体高度为15~18m,A-2、A-3、B-2号楼外挑架分段搭设,从三层~七层为第一搭设段,从八层~屋面层为第二搭设段,每段八步架15m高,可满足三层以上主体结构施工和装饰阶段施工。
外架采用密目安全网全封闭式维护,在建筑物四周和人行通道满搭安全防护棚。安全防护棚搭设两层,层间间距为1m,各层满铺竹串片脚手板防护。
A、脚手架
一、落地式脚手架搭设顺序
摆放扫地杆→逐根树立杆,随即与扫地杆扣紧 → 装扫地小横杆并与立杆扣紧→安装第一步大横杆(与各立杆扣紧)→安装第一步小横杆(与各立杆扣紧)→安装第二步大横杆→安装第二步小横杆→加设临时斜撑杆(上端与第二步大横杆扣紧,在装设两道连墙杆后拆除)→在大横杆绑扎搁置脚手板的小横杆→铺脚手板→绑扎栏杆(上杆距脚手板1.2m,下杆距脚手板0.5m)→满挂密目安全网并绑扎牢固 →设连墙杆→搭设第三步大横杆和小横杆→设剪刀撑→脚手架小横杆→铺脚手板→满挂密目安全网并绑扎牢固 →搭接立杆随着工程进度搭设下一步脚手架。
二、脚手架搭设构造要求:
1、纵向水平杆的构造应符合下列规定:
纵向水平杆宜设置在立杆内侧,其长度不宜小于3跨;
纵向水平杆接长宜采用对接扣件连接,也可采用搭接。对接、搭接应符合下列规定:
1)纵向水平杆的对接扣件应交错布置:两根相邻纵向水平杆的接头不宜设置在同步或同跨内;不同步或不同跨两个相邻接头在水平方向错开的距离不应小于500mm;各接头中心至最近主节点的距离不宜大于纵距的1/3;
2)搭接长度不应小于1.0m,应等间距设置3个旋转扣件固定,端部扣件盖板边缘至搭接纵向水平杆杆端的距离不应小于100mm;
3)当使用木脚手板、竹串片脚手板时,纵向水平杆应作为横向水平杆的支座,用直角扣件固定在立杆上。
2、横向水平杆的构造应符合下列规定:
(l)、主节点处必须设置一根横向水平杆,用直角扣件扣接且严禁拆除。主节点处两个直角扣件的中心距不应大于150mm。在双排脚手架中,靠墙一端的外伸长度不应大于0.4倍架子宽度,且不应大于500mm;
(2)、作业层上非主节点处的横向水平杆,宜根据支承脚手板的需要等间距设置,最大间距不应大于纵距的1/2;
(3)、当使用木脚手板、竹串片脚手板时,双排脚手架的横向水平杆两端均应采用直角扣件固定在纵向水平杆上。
3、脚手板的设置应符合下列规定:
(1)、作业层脚手板应铺满、铺稳,离开墙面120~150mm;
(2)、木脚手板、竹串片脚手板等,应设置在三根横向水平杆上。当脚手板长度小于2m时,可采用两根横向水平杆支承,但应将脚手板两端与其可靠固定,严防倾翻。脚手板的铺设可采用对接平铺,亦可采用搭接铺设。脚手板对接平铺时,接头处必须设两根横向水平杆,脚手板外伸长应取 130~150mm,两块脚手板外伸长度的和不应大于300mm;脚手板搭接铺设时,接头必须支在横向水平杆上,搭接长度应大于200mm,其伸出横向水平杆的长度不应小于 100mm。
(4)、作业层端部脚手板探头长度应取150mm,其板长两端均应与支承杆可靠地固定。
4、立 杆
(1)、每根立杆底部应设置底座或垫板。
(2)、脚手架必须设置纵、横向扫地杆。纵向扫地杆应采用直角扣件固定在距底座上皮不大于200mm处的立杆上。横向扫地杆亦应采用直角扣件固定在紧靠纵向扫地杆下方的立杆上。当立杆基础不在同一高度上时,必须将高处的纵向扫地杆向低处延长两跨与立杆固定,高低差不应大于1.0m。靠边坡上方的立杆轴线到边坡的距离不应小于500mm。
(3)、脚手架底层步距不应大于2m。
(4)、立杆必须用连墙件与建筑物可靠连接,连墙件布置间距应符合规范要求。
(5)、立杆接长除顶层顶步可采用搭接外,其余各层各步接头必须采用对接扣件连接。对接、搭接应符合下列规定:
①.立杆上的对接扣件应交错布置:两根相邻立杆的接头不应设置在同步内,同步内隔一根立杆的两个相隔接头在高度方向错开的距离不宜小于500mm;各接头中心至主节点的距离不宜大干步距的l/3;
②.搭接长度不应小于1.0m,应采用不少于2个旋转扣件固定,端部扣件盖板的边缘至杆端距离不应小于100mm。
(6)、立杆顶端宜高出女儿墙上皮1.0m,高出檐口上皮1.5m。
(7)、双管立杆中副立杆的高度不应低于3步,钢管长度不应小于6m。
5. 连墙杆
(1)、连墙杆的数量设置,高度≤50m的双排脚手架竖向间距不得大于3倍步距,水平间距不得大于3倍纵距,每根连墙杆覆盖面积不得大于40m2。
(2)、连墙件的布置应符合下列规定:
①宜靠近主节点设置,偏离主节点的距离不应大于300mm;
②应从底层第一步纵向水平杆处开始设置,当该处设置有困难时,应采用其它可靠措施固定;
③宜优先采用菱形布置,也可采用方形、矩形布置;
④一字型、开口型脚手架的两端必须设置连墙件,连墙件的垂直间距不应大于建筑物的层高,并不应大于4m(2步)。
(3)、对高度在24m以下的单、双排脚手架,宜采用刚性连墙件与建筑物可靠连接,亦可采用拉筋和顶撑配合使用的附墙连接方式。严禁使用仅有拉筋的柔性连墙件。
(4)、对高度24m以上的双排脚手架,必须采用刚性连墙件与建筑物可靠连接。
(5)、连墙件的构造应符合下列规定:
①连墙件中的连墙杆或拉筋宜呈水平设置,当不能水平设置时,与脚手架连接的一端应下斜连接,不应采用上斜连接;
②连墙件必须采用可承受拉力和压力的构造。采用拉筋必须配用顶撑,顶撑应可靠地顶在混凝土圈梁,柱等结构部位。拉筋应采用两根以上直径4mm的钢丝拧成一股,使用时不应少于2股;亦可采用直径不小于6mm的钢筋。
(6)、当脚手架下部暂不能设连墙件时可搭设抛撑。抛撑应采用通长杆件与脚手架可靠连接,与地面的倾角应在45°~60°间;连接点中心至主节点的距离不应大于300mm。抛撑应在连墙件搭设后方可拆除。
(7)、架高超过40m且有风涡流作用时,应采取抗上升翻流作用的连墙措施。
6. 剪刀撑与横向斜撑
(1)、双排脚手架应设剪刀撑与横向斜撑,单排脚手架应设剪刀撑。
(2)、剪刀撑的设置应符合下列规定:
①每道剪刀撑跨越立杆的根数宜按5~7确定。每道剪刀撑宽度不应小于4跨,且不应小于6m,斜杆与地面的倾角宜在45°~60°之间;
②高度在24m以下的单、双排脚手架,均必须在外侧立面的两端各设置一道剪刀撑,并应由底至顶连续设置;中间各道剪刀撑之间的净距不应大于15m。
③高度在24m以上的双排脚手架应在外侧立面整个长度和高度上连续设置剪刀撑;
④剪刀撑斜杆的接长宜采用搭接,搭接长度不应小于1.0m,应采用不少于两个旋转扣件固定,端部扣件盖板的边缘至杆端距离不应小于100mm。
⑤剪刀撑斜杆应用旋转扣件固定在与之相交的横向水平杆的伸出端或立杆上,旋转扣件中心线至主节点的距离不宜大于150mm。
(3)、横向斜撑的设置应符合下列规定:
①横向斜撑应在同一节间,由底至顶层呈之字型连续布置,斜撑应用旋转扣件固定在立杆上,旋转扣件中心线至主节点的距离不宜大于150mm;
②一字型、开口型双排脚手架的两端均必须设置横向斜撑,中间宜每隔6跨设置一道;
③高度在24m以下的封闭型双排脚手架可不设横向斜撑,高度在24m以上的封闭型脚手架,除拐角应设置横向斜撑外,中间应每隔6跨设置一道。
三、脚手架的搭设
用扣件式钢管搭设的脚手架,是施工的临时结构,要承受施工过程中的各种垂直和水平荷载。因此脚手架必须有足够的承载力、刚度和稳定性。在施工过程中,在各种荷载作用下不发生失稳、倒塌及超过容许要求的变形、倾斜、摇晃或扭曲现象,以保证安全施工。
(一)、施工准备
单位工程负责人应按施工组织设计中有关脚手架的要求,向架设和使用人员进行技术交底。
钢管扣件式脚手架采用∅48×3.5 A3焊接钢管,扣件用可锻铸铁扣件,其机械性能和化学成分应符合有关规范规定和技术标准,对进场的钢管、扣件、脚手板等进行检查验收,不合格产品不得使用。
搭设脚手架所用的钢管、扣件使用前必须进行挑选。有变形、裂缝、磨损严重的钢管和有砂眼、裂纹、断裂、松扣等不合格的扣件严禁使用。
经检验合格的构配件应按品种、规格分类,堆放整齐、平稳,堆放场地不得有积水。
(二)、搭 设
1. 脚手架必须配合施工进度搭设,一次搭设高度不应超过相邻连墙件以上二步。
2. 每搭完一步脚手架后,应按规范规定校正步距、纵距、横距及立杆的垂直度。
3. 底座安放应符合下列规定:
①落地式脚手架底座、垫板均应准确地放在定位线上;
②垫板宜采用长度不少于2跨、厚度不小于50mm的木垫板,也可采用槽钢。
4. 立杆搭设应符合下列规定:
①严禁将外径48mm与51mm的钢管混合使用;
②相邻立杆的对接扣件不得在同一高度内,错开距离应符合规范的构造要求;
③开始搭设立杆时,应每隔6跨设置一根抛撑,直至连墙件安装稳定后,方可根据情况拆除;
④当搭至有连墙件的构造点时,在搭设完该处的立杆、纵向水平杆、横向水平杆后,应立即设置连墙件;
⑤顶层立杆搭接长度与立杆顶端伸出建筑物的高度应符合规范构造要求。
5. 纵向水平杆搭设应符合下列规定:
①纵向水平杆的搭设应符合规范的构造规定;
②在封闭型脚手架的同一步中,纵向水平杆应四周交圈,用直角扣件与内外角部立杆固定。
6. 横向水平杆搭设应符合下列规定:
①搭设横向水平杆应符合构造规定;
②双排脚手架横向水平杆的靠墙一端至墙装饰面的距离不宜大于100mm;
7. 纵向、横向扫地杆搭设应符合构造规定。
8. 连墙件、剪刀撑、横向斜撑等的搭设应符合下列规定:
①连墙件搭设应符合构造规定。当脚手架施工操作层高出连墙件二步时,应采取临时稳定措施,直到上一层连墙件搭设完后方可根据情况拆除。
②剪刀撑、横向斜撑搭设应符合规范规定,并应随立杆、纵向和横向水平杆等同步搭设,各底层斜杆下端均必须支承在垫块或垫板上。
9. 门洞搭设应符合规范规定。
10. 扣件安装应符合下列规定:
①扣件规格必须与钢管外径相同;
②螺栓拧紧扭力矩不应小于40Nm,且不应大于65Nm;
③在主节点处固定横向水平杆、纵向水平杆、剪刀撑、横向斜撑等用的直角扣件、旋转扣件的中心点的相互距离不应大于150mm;
④对接扣件开口应朝上或朝内;
⑤各杆件端头伸出扣件盖板边缘的长度不应小于 100mm。
11. 作业层、斜道的栏杆和挡脚板的搭设应符合下列规定:
①栏杆和挡脚板均应搭设在外立杆的内侧;
②上栏杆上皮高度应为 1.2m;
③挡脚板高度不应小于180mm;
④中栏杆应居中设置。
12. 脚手板的铺设应符合下列规定:
①脚手板应铺满、铺稳,离开墙面120~150mm;
②采用对接或搭接时均应符合规范构造规定;脚手板探头应用直径3.2mm的镀锌钢丝固定在支承杆件上;
③在拐角、斜道平台口处的脚手板,应与横向水平杆可靠连接,防止滑动;
④自顶层作业层的脚手板往下计,宜每隔12m满铺一层脚手板。
⑤悬挑脚手架底步架必须用木脚手板或竹串片脚手板铺满、铺严,与建筑物之间缝隙应封盖严实。
13.搭设完脚手架后,应随时挂设安全网。安全网采用防火阻燃密目式安全网(2000目),规格为1800×6000mm,设立于立杆和护身栏杆内侧,四周满挂围护,安全网应封严,与脚手架固定牢靠。
四、搭设脚手架应注意事项:
1.按照规定的构造方案和尺寸进行搭设,并注意杆件的搭设顺序。
2.拧紧扣件,拧紧程度要适当,要求扭力矩控制在40~50Nm为宜。
3.扣件开口应朝上,但用于连接大横杆的对接扣件开口应朝架子内侧,螺栓朝上,避免开口朝上,以防雨水进入。
5.搭设工人必须持有效上岗证上岗。搭设或拆除脚手架时,必须佩带安全带,先挂好安全带后,方可操作。
6.搭设时及时与结构拉结或采取临时支顶,以确保搭设过程的安全。
7.随时校正杆件的垂直和水平偏差,避免偏差较大。
8.没有完成的脚手架,每日完工时,一定要确保架子稳定,以免发生意外。
9.搭设完脚手架后,应组织有关人员进行分层分段验收,应细致的检查每一个受力构件位置、绑扎质量等是否满足要求,并作好记录,合格后方可使用。悬挑脚手架分段搭设完毕,内部验收合格后,应报上级部门验收,并报送安检站审核复验,发现隐患,及时整改。
五、钢管脚手架拆除:
1. 拆除脚手架必须认真向操作人员进行安全技术交底,拆除时应设警戒区,设置明显标志,并有专人警戒,禁止行人进入。
2. 拆除脚手架前的准备工作应符合下列规定:
①应全面检查脚手架的扣件连接、连墙件、支撑体系等是否符合构造要求;
②应根据检查结果补充完善施工组织设计中的拆除顺序和措施,经主管部门批准后方可实施;
③应由单位工程负责人进行拆除安全技术交底;
④应清除脚手架上杂物及地面障碍物。
3. 拆除脚手架时,应符合下列规定:
①拆除作业必须由上而下逐层进行,严禁上下同时作业;
②连墙件必须随脚手架逐层拆除,严禁先将连墙件整层或数层拆除后再拆脚手架;分段拆除高差不应大于2步,如高差大于2步,应增设连墙件加固;
③当脚手架拆至下部最后一根长立杆的高度(约6m)时,应先在适当位置搭设临时抛撑加固后,再拆除连墙件;
④当脚手架采取分段、分立面拆除时,对不拆除的脚手架两端,应先按规范构造规定设置连墙件和横向斜撑加固。
3.严格遵守拆除顺序,由上而下,后绑者先拆,先绑者后拆。一般是先拆栏杆、脚手板,而后拆小横杆、大横杆、立杆等。
4.统一信号,上下呼应,动作协调,当松开与另一人有关的结扣时,应先告知对方,以防坠落。
5.拆下的扣件和配件应用滑轮及绳索及时送至地面,严禁高空抛扔。卸料时应符合下列规定:
①各构配件严禁抛掷至地面;
②运至地面的构配件应及时检查、整修与保养,并按品种、规格随时码堆存放。
六、脚手架检查与验收
1、脚手架及其地基基础应在下列阶段进行检查与验收:
1)基础完工后及脚手架搭设前;
2)作业层上施加荷载前;
3)每搭设完10~13m高度后;
4)达到设计高度后;
5)遇有六级大风与大雨后;寒冷地区开冻后;
6)停用超过一个月。
2、进行脚手架检查、验收时应根据下列技术文件:
1)《扣件式脚手架安全技术规范》(JGJ130-2001)第8.2.3~8.2.5条的规定;
2)施工组织设计及变更文件;
3)技术交底文件。
3、脚手架使用中,应定期检查下列项目:
① 杆件的设置和连接,连墙件、支撑、门洞桁架等的构造是否符合要求;
② 地基是否积水,底座是否松动,立杆是否悬空;
③ 扣件螺栓是否松动;
④ 高度在24m以上的脚手架,其立杆的沉降与垂直度的偏差是否符合规范规定;
⑤ 安全防护措施是否符合要求;
⑥ 是否超载。
4. 脚手架搭设的技术要求、允许偏差与检验方法,应符合 “脚手架搭设的技术要求、允许偏差检查表”规定。(详见附表)
5. 安装后的扣件螺栓拧紧扭力矩应用扭力板手检查,抽样方法应按随机分部原则进行。抽样检查数目与质量判定标准,应按下表的规定确定。不合格的必须重新拧紧,直至合格为止。
扣件拧紧抽样检查数目及质量判定标准
| 项次 | 检查项目 | 安装扣件数量
(个) |
检查数量
(个) |
允许
不合格数 |
| 1 | 连接立杆与纵(横)向水平杆或剪刀撑的扣件;接长立杆、纵向水平杆、纵向水平杆或剪刀撑扣件 | 51~90
91~150 151~280 281~500 501~1200 1201~3200 |
5
8 13 20 32 50 |
0
1 1 2 3 5 |
| 2 | 连接横向水平杆与纵向水平杆的扣件(非主节点处) | 51~90
91~150 151~280 281~500 501~1200 1201~3200 |
5
8 13 20 32 50 |
1
2 3 5 7 10 |
B、安全防护棚
(1)防护棚搭设为防止施工时异物坠落,在人行通道处设置防护棚,防护棚搭设两层,两层之间距离为0.7~1m,每层均满铺脚手板,并铺一层密目安全网。
(2)防护棚悬挑端头应设置栏杆,栏杆不低于1.2m,并不少于二道横杆,栏杆内面用竹笆片维护。
(3)人行通道防护棚两边采用单排立杆搭设,并采用八字形斜撑杆将防护棚顶部支撑,防护棚立杆间距和斜撑杆间距不得大于1.5m。
C、安全管理措施
一、“四口五临边”安全防护措施:
1.分层施工的楼梯和楼梯段边,必须搭设临时护栏。
2.施工电梯和脚手架等与建筑物通道两侧边,必须搭设防护栏杆;地面通道上部搭设安全防护棚。施工电梯出入口用∅14钢筋焊高1.8m钢筋铁栅门,钢筋铁栅门钢筋间距不应大于100mm,不上人时应随手关门。
3.一般情况下不允许搭设各种垂直运输接料平台,若确实需要搭设接料平台时,除两侧设置防护栏杆外,平台应设置安全门或活动防护栏杆,并且接料平台应根据荷载计算后要有详细的设计计算书,经有关技术负责人和监理及安全部门审核后方可施工,确保施工安全。
4.尚未安装栏杆或栏板的阳台,以及尚未砌砖墙窗下口和结构外墙留洞处,在脚手架分段拆除时,必须搭设1.8m高防护栏杆,并挂密目安全网围护。防护栏杆应与墙体连结牢固。
5.电梯井洞口必须设防护栏杆或固定栅门,固定栅门高1.8m,宽1.4m,下部焊180mm高挡脚板,栅门用∅14钢筋焊成,钢筋间距150mm。
6.现浇板上的预留洞口,必须设置牢固的盖板,以防物体从洞口坠落伤人。
7.施工现场通道附近的各类洞口与坑槽等处,除设置防护设施和安全标志外,夜间还应设红灯警示。
8.建筑物外架四周除满挂密目安全网防护外,在建筑物四周地面必须搭设防坠隔离棚和通道隔离棚,防坠隔离棚搭设宽度为6m。
9.施工现场附近的人行通道和操作棚,必须搭设双层安全防护棚,防护棚用竹笆覆盖蓬严。
10.所有的防护棚栏杆和防护门应用红、白油漆间隔涂刷做醒目标志。
11.凹进建筑物平面的采光天井以及电梯井内如无脚手架,应每隔三层并最多隔10m通过螺栓孔挂设水平安全网。
二、防电避雷、防大风及防火措施:
1.在高低压线路下方均不得搭设脚手架,脚手架的外侧边沿与外电架空线路边线之间必须保持足够安全距离。
2.脚手架防雷接地可用建筑物本身防雷接地系统,每隔30m左右予埋穿墙钢套管或钢筋吊环,并与主体结构防雷装置部位的竖向钢筋焊接牢固,防雷装置电阻不得大于30Ω。
3.外脚手架的连墙杆应严格按要求设置,并固定牢靠,应在梁板上设置予埋套环,内外用扣件卡死。连墙的水平间距为4~6m,竖向距离为3~5.4m 。
4.在施工期间遇有雷雨、大风天气时,脚手架上的操作人员应离开,停止作业。
5.施工期间工地应有专人负责发布天气预报资料,通报全体施工人员,以便安排工作和采取措施。
6.垂直悬挂密目安全网(2000目)和兜挂平安全网(孔径2cm)均应采用阻燃防火安全网。安全网必须有合格证、安全检验证和准用证。
7.在脚手架高处焊接作业时,应采取用非燃性材料做接火盘,大风天气焊接应设挡风板,防止火花飞溅造成架板及防护设施燃烧,引发火灾事故。严格执行动火审批制度(电气焊属三级动火)。
8.在施工层附近必须配设灭火器材。
三、脚手架的维护与管理:
1.搭设完脚手架后,架体应满刷黄色防锈漆。连墙杆刷铁红色油漆,挡脚板刷黄色油漆,防护栏杆刷黄、黑相间油漆,间距300mm。
2.使用完毕的脚手架(包括构配件)应及时回收、入库,分类堆放。
3.凡弯曲、变形的杆件应先调直,损坏的构配件应先修复后方能入库存放。
4.要定期对脚手架的构配件进行除锈、防锈处理。扣件要涂油,螺栓用煤油清洗,涂机油防锈。
5.脚手架使用的扣件、螺母、垫片等小配件极易丢失,在支设时应及时将多余件收回存放,在拆除时亦及时检修,不得乱放乱丢。
6.建立健全脚手架工具材料的领发、回收、检查、维修制度,按照谁使用、谁维修、谁管理的原则,实行限额领用方法,以减少丢失和损耗。
四、脚手架的安全管理
脚手架搭设人员必须是经过按现行国家标准《特种作业人员安全技术考核管理规则》(GB5036)考核合格的专业架子工。上岗人员应定期体检,合格者方可持证上岗。
项目部成立外架施工作业领导小组,负责对作业人员进行相关的安全质量技术交底和施工过程的监督、检查。
架子工程施工前必须根据现场施工状况和本市施工安全条例对所有外架作业人员进行书面的详细的安全、质量、技术交底,并做到签字手续齐全。
搭设脚手架人员必须戴安全帽、系安全带、穿防滑鞋。
脚手架的构配件质量与搭设质量,应规范规定进行检查验收,合格后方准使用。
作业层上的施工荷载应符合设计要求,不得超载。不得将模板支架、缆风绳、泵送混凝土和砂浆的输送管等固定在脚手架上;严禁悬挂起重设备。
当有六级及六级以上大风和雾、雨、雪天气时应停止脚手架搭设与拆除作业。雨、雪后上架作业应有防滑措施,并应扫除积雪。
脚手架的安全检查与维护,应按规范规定进行。安全网应按有关规定搭设或拆除。
在脚手架使用期间,严禁拆除下列杆件:
1)主节点处的纵、横向水平杆,纵、横向扫地杆;
2)连墙件。
不得在脚手架基础及其邻近处进行挖掘作业,否则应采取安全措施,并报主管部门批准。
临街搭设脚手架时,外侧应有防止坠物伤人的防护措施。
在脚手架上进行电、气焊作业时,必须有防火措施和专人看守。
工地临时用电线路的架设及脚手架接地、避雷措施等,应按现行行业标准《施工现场临时用电安全技术规范》(JGJ 46)的有关规定执行。
搭拆脚手架时;地面应设围栏和警戒标志,并派专人看守,严禁非操作人员入内。
五、外架使用的安全要求:
(1)作业层的施工荷载(作业人员、器具、材料的重量)标准值,不得超过3KN/m2。
(2)架面上设置的材料应码放整齐稳固,不影响施工操作和人员通行,严禁人员在架面上奔跑、退行或倒退拉车。
(3)作业人员在架上的最大作业高度应以可进行正常操作为宜,禁止在架板上加垫物以增加操作高度。
(4)在作业中,禁止随意拆除架体的基本物件。
(5)施工人员在架上作业时,应注意自我保护和安全意识,避免发生碰撞或落物,严禁在架上戏闹和坐在栏杆上等不安全处休息。
(6)人员上下外架必须走专门的安全通道,严禁攀援脚手架上下。
(7)每步架完成后,必须将剩余材料移至上(下)步架或室内,清理架面,在任何情况下,严禁自架上向下抛掷材料或倾倒垃圾。
第十二节 给水排水工程
一、施工程序:
1、给排水管道安装施工程序:
施工准备→配合土建预留孔洞,预埋铁件、套管→总干管、立管安装→水平支管安装→管道系统灌水试验或水压试验→卫生器具安装就位→器具镶接→盛水、通水试验→竣工验收。
2、室内消火栓管道安装施工程序:
施工准备→配合土建预留孔洞→消防干管安装→消火栓箱安装、支管安装→水压试验→联动试运行→竣工验收。
3、室内自动喷水灭火系统安装施工程序:
施工准备→配合土建预留孔洞、预埋过墙套管→立管及喷淋管安装→水压试验→配合装饰安装喷头→系统试验→联动试运行→竣工验收。
二、给排水具体施工方法和措施:
1、给水管道安装:
A、准备工作:
- 图纸会审完毕,熟悉图纸,领会设计意图。其他技术资料齐全,已进行技术、质量、安全交底。
- 土建基础工程已基本完成,管沟已按设计坐标、标高做好,已达到施工要求。
- 管道穿基础、墙的孔洞,穿过地下室或地下构筑物外墙的刚性、柔性防水套管,根据设计要求的坐标、标高和尺寸按相关工艺标准要求预留完毕。
- 土建主体已基本完成,现浇混凝土楼板孔洞已按图纸要求的位置及尺寸预留好。
- 管道穿过的房间内,位置线及地面水平线已检测完毕,室内装饰的种类、厚度已确定。
- 施工人员已进行图纸会审和技术、质量、安全交底,熟悉图纸、熟悉暖卫工程施工及验收规范。
B、给水立管安装:
- 在二层楼板上找出立管的中心位置,经过核实孔洞或套管没有问题,以后各层均用此种方法进行复核。如果有的洞和套管不能用则要进行认真的修整,一定要符合要求。
- 经吊线后,再在墙上画出支架孔洞的位置,可用冲击电钻或榔头钻子打出支架洞,敷设好支架。
- 给水立管预制一般以楼层管段长度为单元进行。为了施工快捷和尽量减少安装时上管件的原则,预制时应尽量将每层立管所带的管件,配件在操作台上或操作机具上装配好。在预制管段时,若一个预制管段带数个不同方向的管件,预制中要严格找准朝向。
- 立管安装时,从一层阀门处往上,逐层安装给水立管,
C、支管安装:
- 根据图纸设计的横支管位置与标高,结合卫生器具和各类用水设备进水口的不同情况,按土建已经确定的地面水平线及抹灰层厚度,排尺找准横支管穿插墙孔洞的中心位置,用十字线标记在墙面上。
- 按穿墙孔洞位置标记,用錾子、手锤或者冲击电钻进行预留孔洞的修整或凿打墙孔洞,使孔洞中心线与穿墙管道中心线吻合,且孔洞直径应大于管外径20~30mm。凿打、修整孔洞时遇有钢筋不得随意切割,应与土建技术人员研究,必要时应制定可靠措施方可处理。
- 由每个立管各甩头处管件起,至各横支管所带卫生器具和各类用水设备进水口位置止,最出横支管各管段间的尺寸,记录在草图上。
- 按图纸设计要求的材质、规格、型号选择符合质量要求的管材及管材相适应的管件、配件等,并清除管腔内污杂物。
- 根据实际量的尺寸,按图纸设计的管道排列顺序用比量法下料。
- 按有关工艺标准确定管道支(长、吊)架的位置与数量。
- 按设计要求或规范规定的坡度、坡向及管中心与墙面距离,由立管甩头处管件口底皮挂横支管的管底皮位置线。再依据位置线标高和支(托、吊)架的结构形式,凿打出支(托、吊)架的墙眼。一般墙眼深度不小于120mm,应用水平尺或线坠等,按管道底皮位置线将已预制好的支(托、吊)架,涂刷防锈漆后,依有关工艺标准支架安装工艺要求,栽牢、找平、找正。
- 按横支管的排列顺序和尽量减少现场接口以施工方便的原则,预制出各横支管的各管段。预制时应按有关标准接口工艺施工,注意接口质量,并以90度的两个方向将预制管段按有关标准调直工艺规定调直,同时找准横支管上各甩头管件的位置与朝向,确保横支管安装后,连接卫生器具给水配件和各类用水设备等短支管位置的正确。
- 待预制管段预制完及所栽支(托、吊)架的塞浆达到强度后,可将预制管段依次放在支(托、吊)架上,按有关标准接口、调直工艺连接、调直好接口,并找正各甩头管件口的朝向,紧固卡具,固定管道,将敞口处做好临时封堵。
- 用水泥砂浆封堵穿墙管道周围的孔洞,注意不要突出抹灰面。
D、连接卫生器具的给水配件和用水设备短支管的安装:
- 安装卫生器具给水配件及各类用水设备的短支管时,应从给水横支管甩头管件口中心吊一线坠,再根据卫生器具进水口需要的标高量取给水短管的尺寸,并记录在草图上。
- 根据量尺记录选管后用比量法下料,接管至卫生器具给水配件和用水设备进水口处。安装时要严格控制短管的坐标与标高,使其满足安装卫生器具给水配件的需要。
- 栽好横支管上的托钩(或托架),要求栽牢、平正、靠严,若采用塑料管或铜管,其与金属卡具之间采用塑料带或橡胶垫相隔。
- 施工后,随时封堵好横支管上的临时敞口。
(3)、排水管道安装:
A、准备工作:
-
-
- 图纸已经会审,技术资料齐备,已进行技术、质量、安全交底。
- 土建基础工程或地下室主体工程基本完成,管沟已经砌筑完毕,并已达到施工要求;或者,地下室预埋件,支架已施工完,基础或者地下室墙壁穿管的孔洞已按设计位置、标高和尺寸预留好。
- 一层或二层卫生器具的样品已进场,进的材料、机具能保证连续施工。
- 土建主体工程基本完成,预制机械安装完毕,现浇楼板穿管孔洞已按设计图纸要求地位置和尺寸预留好。高层建筑排水管道的预制与安装,一般可与土建砌筑及吊装作业间隔2~3层进行,其他均和多层建筑施工条件同。
- 通过管道的室内位置线及地面基准线,已检测完毕,室内装饰种类、厚度已定或墙面粉刷已结束。
- 设备层、技术层、管道井内的模板已经拆除,并已清扫干净。
-
B、地沟内排水管铺设:
1)排水立管安装:
-
- 按照立管的中心位置,逐层吊线检查孔洞或者套管的中心位置是否准确,不能使用的孔洞或套管必须进行修整或改装,使所有的孔洞或套管位置正确。按照吊线的位置确定立管支架的具体位置,打洞或用冲击电钻钻眼,敷设支架。
- 确定各层立管上检查口及带卫生器具或横支管的支岔口位置与中心标高,把中心标高线划在靠近立管的墙上。然后按照管道走向及各管段的中心线标记进行测量,并标注在草图上,检查口的中心距立管所在地室内地面1m处,其他支岔口中心标高,应保证在满足支管设计坡度的前提下,横支管上距立管最远的端部,连接卫生器具排水短管管件的上承口面、距顶棚楼板面应有不小于100mm的距离。一般在普通居住的卫生间,一层之中仅带一个大便器,其支岔管的中心距顶棚300~350mm。同时选择和确定所用排水管材种类相对应的管件及其数量,标注在安装草图中。
- 用木尺杆或钢卷尺,从地下管立管甩头承口底部量起,逐一将伸缩节、检查口、各支管口中心标高尺寸量准后标注在画好的草图上。为便于分段施工和调整位置,每层楼板上方留一个承口,一直量至顶层出屋顶,应超过当地历史上最大积雪高度。遇高层建筑,为方便起见,经核定尺寸后,可制备量棒在管道井内定位。根据从下往上逐层安装的原则,按设计要求的管材规格、型号作好选材、清理工作。要求铸铁管管壁厚薄均匀,内外光滑整洁,无砂眼,无裂纹,无疙瘩和飞刺,清理浮沙和粘沙以及污垢。要求塑料内外光滑,管壁厚薄均匀,色泽一致,无气泡,无裂纹,清除污垢。
- 尽量减少安装时连接“死口”和确保接口质量的原则,应尽量增加立管的预制管段长度。
按照实际量尺绘制的各类草图,选定合格管子和管件,进行配管和截管(即断管)预制的管段配制后,按各草图核对节点间尺寸及管件接口朝向。同时,按设计要求确定伸缩节的位置。
-
- 管道安装自下而上逐层进行,先安装立管,后安装横管,连续施工。
2)排水横支管安装:
-
- 根据管材、管件排列情况按设计要求或规范规定具体确定管道支、托、吊架的位置。
- 根据设计要求的横支管坡度及管中心与墙面距离,由立管分支岔口管底皮挂横支管的管底皮位置线,再根据位置线标高和支、托、吊架具体位置、结构形式,凿打出支、托、吊架的墙眼,其深度不小于120mm,应用水平、线坠等,按管道位置线交已预制好的支、托、吊架栽牢、找正、找平。
- 按横管排列,组对的顺序和应量减少的连接死口,要使安装方便,应将横管进行管段预制,预制时应按排列顺序,按本标准接口工艺规定,将管段立直或水平进行组装,并以90度的两个方向将管段用线吊直找正。同时,要严格找准各管件甩口的朝向,应确保横管安装后连接卫生器具下面排水短管的承口为水平。预制后的管段接口应进行养护。
- 待预制管段接口及支托、吊架塞堵砂浆达到强度后,用绳子通过楼板眼将预制管段按排管顺序依次从两侧水平吊起,放在支、(托、吊)架上,对好各接口,用卡具临时卡稳各管段,设直各接口及各管件甩头的方向,再按本标准的接口工艺连接好各接口,紧固卡子使之牢固。对接口进行养护,将各敞口的管头临时用木塞等塞严封牢。
3)卫生器具下穿楼板短管安装:
a、需要和卫生器具一起安装的短立管,应按本标准卫生器具安装工艺进行。
b、安装楼板以上的排水短管时,应先按土建在墙上给定的地面水平(标高)线,挂好通过短管中心十字线的水平直线,再根据不同类型的卫生器具需要的排水短管高度从横支管甩头处量准确性尺寸,下料接管至楼板上,在量尺、下料、安装时,要严格控制短管的标高和坐标,使其必须满足各卫生器具的安装要求,并将各敞口用木塞 等封闭严实,牢固。
c、楼板下悬吊管道的清扫口,通常用两个45度弯头接至楼面处,用堵丝盖严。
d、楼板上的孔洞,从楼板上吊住横板,再用水湿润和冲净污物,以大于等到于该楼板混凝土设计强度等级的细石混凝土捣灌严必,混凝土达到强度后拆掉模板。
(4)、UPVC塑料排水管安装:
1)、排水UPVC管道施工必须做好前期的配合土建工作,首先要认真熟悉图纸,与甲方落实对各种器具的具体要求,确切落实各种器具的型号、规格和具体尺寸。
2)、根据各种器具的实物尺寸绘出留洞的平面详图,并且与原设计图纸对照,如果不符,及时通过监理通知土建进行变更,在土建施工的过程中,安装密切配合土建,确保留洞的准确性,避免造成以后用不上再重新打洞,影响结构质量。
3)、UPVC排水管及配件在进场时要认真地进行检查,看有无破损、残缺、裂纹等现象,保证质量没有问题才能进入施工现场。
4)、此建筑排水管均采用UPVC管,并且采用粘接工艺,所以要求使用的胶粘剂必须标有生产厂家名称、生产日期和使用期限,而且必须要有出厂合格证和使用说明书。管材、管件和胶粘剂应由同一生产厂家配套供应。管材和管件在运输、装卸和搬运时,应小心轻放,不得抛、摔、滚、拖,也不得烈日曝晒。
5)、UPVC管道系统安装前,应对材料的外观和接头配合的公差进行仔细检查,检查管材内外壁应光滑、平整,无气泡、无裂口、无明显的痕纹和凹陷,管端的端面必须平整并垂直于轴线,管材和管件配合的公差不允许超过规定值,不可发生互相承插不进或者太松的情况。
6)、UPVC管道施工前,必须清除管材和管件的污垢和杂物,避免油漆、沥青、机油等有机物污染。在抹胶粘剂前一定要认真擦净尘埃和油污,确保粘接质量。施工时必须认真阅读CJJ/T29-98《建筑排水硬聚氯乙烯管道工程技术规程》,其中对施工方法和技术要求均有详细说明。
7)、排水横管施工安装必须按图纸达到坡度的要求。
排水管的坡度为DN150 I=0.01 DN100 I=0.02
DN75 I=0.025 DN50 I=0.035
8)、排水管道施工程序是先地沟、后地上,先立管、后支管,特别地下和地沟部分必须按照图纸要求的标高和坡度严格施工,认真做好隐蔽工程试验,请甲方代表验收后,才能进行下一道工序。在土建封顶时,排水管道必须提前伸出屋面,以保证土建屋面的施工质量。要求排水毛坯尺寸准确无误,随干随时封好管口,避免掉进杂物而堵塞管道。
9)、施工中,UPVC排水立管均按图纸要求,每层设置伸缩节,立管必须按设计规定设置检查口,检查口的位置和朝向应便于检修,安装高度要符合规范规定。
10)、在UPVC管道施工过程中,支架敷设必须随时跟上,支架要有足够的强度,埋设牢固,与管道要服贴。
11)、为了检查排水管道渗漏情况,必须要进行灌水试验。此项检验工作进行时,要通知监理参加,认可后及时填写灌水试报告。
(5)、柔性抗震排水铸铁管安装:
1)铸铁排水管及管件规格、品种应符合设计要求。灰口铸铁的管壁薄厚应均匀,内外光滑整洁,无浮砂、包砂、粘砂,更不允许有砂眼、裂纹、飞刺和疙瘩。承插口的内外径及管件造型规格,法兰接口平正,光洁严密,地漏和返水弯的扣距必须一致,不得有偏扣、乱扣、分扣及丝口不全等现象。
2)柔性排水铸铁管安装施工必须做好安装前期配合土建工作,首先认真熟悉图纸,与甲方落实对各种卫生器具的具体要求,确切落实各种器具的型号、规格和具体尺寸。
3)根据各种卫生器具的实物尺寸绘出留洞的平面详图,并与原设计图纸对照,如果不符,及时通过监理通知土建进行变更。在土建施工的过程中,安装密切配合土建,确保洞留洞的准确性,避免造成以后用不上再重新打洞,影响结构质量。
4)排水铸铁管及管件材料进场时,必须认真检查,配件要与管道配套,防止配件与管子之间承插口相互插不进的情况发生。
5)在铸铁管施工中,要做好材料进场检验工作,检查直管及管件不得有破损、残缺、裂纹、砂眼,管壁内外必须光滑,管件承口密封斜面应光滑、平整,无铸造缺陷。经检查保证质量没有问题,才能进行表面除锈及防腐刷油。
6)安装前必须将承口、插口及法兰压盖工作面上的泥砂附着物清除干净。
7)具体操作时:
①、必须在插口上画好安装线,保持插口与承口内端部间隙5~10毫米,并在插口处壁上画好安装线,其安装定位线所在的平面应与管道的轴线垂直。
②、插口端先套入法兰压盖,再依次套入密封橡胶圈,使橡胶圈边缘与安装定位线对齐,要求定位准确。
③、将插口端推入承口内,并要求插入管的轴线与被插入管的轴线在同一直线上。
④、拧紧法兰螺栓,紧固螺栓时,要使橡胶密封圈均匀受力,两个对角螺栓同时拧紧,一次不要拧得过紧,而应分次逐个拧紧。
(6)、消火栓系统焊接钢管焊接安装:
1)、消防管道施工时,必须做好前期配合土建的工作,首先要认真熟悉图纸,在土建施工过程中配合土建,确保预留孔洞及套管的预埋工作,做到施工中有专人负责配合,为以后管道安装打好基础。
2)、在施工中要做好消防栓、箱等消防器材,系统配备的阀门、开关等部件的进场检验工作,必须严把质量关,坚决杜绝不符合设计要求的设备和材料进场,并且要求产品生产厂家必须随设备和材料提供产品合格证等技术证明文件。
3)、消防管道采用焊接钢管,要求材料进场前认真地检查管材的外观质量,外径和壁厚必须符合GB/T3091-2001对钢管的质量要求,必须要有材质证明书和产品合格证。
4)、消防管道采用焊接和法兰连接,管道焊接时要求管子切口要平正,切口宜采用机械方法切割,当采用氧气乙炔火焰切割时,必须保证尺寸正确和表面平整,而且切口表面应无裂纹、重皮、毛刺、凹凸、缩口、溶渣、氧化物、铁屑等。
5)、钢管壁厚超过4mm,对口焊接前必须坡口,管道坡口加工宜采用机械方法,也可采用氧气乙炔火焰等加工方法。采用热加工方法加工坡口后,应除去坡口表面的氧化皮、溶渣及影响接头质量的表面层,并立即将凹凸不平处打磨平整。
6)、钢管对口焊接必须平直,管口对好后要认真地进行检查,确认符合要求后才能施焊。
7)、管道在组对、焊接、安装过程中必须对管子、管件、阀门等内部清理干净,法兰、焊缝及其它连接件应设置在便于检修处,并不得紧贴墙壁、楼板和管架。
8)、法兰连接必须认真检查法兰密封面及密封垫片,不得有影响密封性能的划痕、斑点等缺陷。垫片周围应整齐,垫片厚度必须均匀,垫片尺寸应与法兰密封面相符,螺栓要对称上紧,保证不渗漏。
9)、管道连接时不得用强力对口、加偏垫或加多层垫等方法来消除接口端面的空隙、偏斜、错口或不同心等缺陷。
10)、当管道安装工作有间断或间歇时,应及时封闭敞开的管口。
11)、管道安装完毕后,必须按照图纸和规范的要求分段进行水压试验,并提前通知监理工程师或甲方代表届时参加,试压经过监理认可后,及时填写管道严密性试验报告,请监理或甲方签章。
12)、消防管道安装过程中,支架必须随时跟上,支架要达到足够的强度,埋设要牢固、平整。
13)、管道防腐必须严格按设计的要求进行,涂刷要求无漏涂,不得有脱皮、起泡、流淌的现象。
14)、消防箱安装必须平正、牢固。消火栓中心位置离箱体侧面和后壁的距离必须符合规定要求,消火栓中心标高按《建筑设计防火规范》GBJ16-87(2001年版),栓口离地面高度为1.1米。如果采用特殊的消防箱,消火栓中心高度须征得有关消防部门的认定。消火栓在消防箱内的位置和高度按标准图施工。
(7)、卫生器具安装:
A、总的要求:
1)卫生器具墙上固定的支、托架安装的必须平正,与器具接触应紧密,不允许松动和摇晃。
2)卫生器具安装位置应正确、平直,垂直度允许偏差不得超过3mm。器具安装高度必须达到规范的要求,洗脸盆自地面至上边缘必须达到800mm,单独器具允许偏差不得超过正负10mm,决不允许随心所欲,任意安装。
3)卫生器具进出口与管道必须连接严密,阀门等附件必须开启灵活、冲洗顺畅,安装后必须认真地逐个进行盛水试验,试验时必须通知监理参加认可,试验后及时填写卫生器具盛水试验记录,要坚决避免“滴、跑、冒、漏、堵”等质量通病在该工程发生。
4)卫生器具安装完后,要采取保护措施,避免器具损坏。
B、蹲式大便器安装:
1)、将大便器试安装在水封存水弯管上,用红砖在大便器的四周临时垫好,然后核对蹲便器的安装位置、标高,符合质量要求后,用水泥砂浆砌好蹲便器四周经过润湿的红砖,在便器下和水封存水弯管周围添入白灰膏拌制的炉渣。
2)、核对蹲便器的位置与标高,确认无误后取下蹲便器,用油灰腻子做成首尾相连的圆圈,放入水封存水弯管内或排水短管的承口内,再重新把蹲便器安在存水弯管上,稳正找平,将便器的排出口均匀压入存水弯管的承口内,再将挤出承口的腻子抹光刮平。
3)、在蹲便器两侧用楔型砖挤住,再用水泥砂浆将蹲便器与砖接触的两侧抹成“八”字形,留出安装胶皮碗的进水口。
C、低水箱、坐便器安装:
1)低水箱配件安装:
低水箱中带溢水管的排水口安装与塞风安装相同。溢水管口应低于水箱固定螺孔10~20mm。
低水箱浮球阀安装与高水箱相同,有补水管者把补水管上好后煨弯至溢水管口内。
安装扳手时,先将圆签署塞入低水箱左止角方孔内,把圆盘上入方螺母内用管钳拧至松紧适度,把挑杆煨好勺弯,将扳手轴插入圆盘孔内,套上挑杆拧紧顶丝。
安装低水箱翻板式排水时,将挑杆与翻板用尼龙线连接好。扳动扳手使挑杆上翻板活动自如。
2)低水箱、坐便器稳装:
将坐便器预留排水管口周围清理干净,取下临时管堵,检查管内有无杂物。
将坐便器出水口对准预留排水口放平找正,在坐便器两侧固定螺栓眼处画好印记后,移开坐便器,将印记做好十字线。
在十字线中心处剔Ø20×60mm的孔洞,把Ø10mm螺栓插入孔洞内用水泥栽牢,将坐便器试稳,使固定螺栓与坐便器吻合,移开坐便器。将坐便器排水口及排水管口周围抹上油灰后将坐便器对准螺栓放平,找正,螺栓上套好胶皮垫、眼圈上螺母拧至松紧适度。
连体式的无需挂装水箱,可直接安装水箱铜器,根据水箱的具体要求,将水箱内的各配件进行组合安装。
水箱进水管安装。用设计要求选用的上水管,弯头或三通,截止阀及角阀,活接头,管接头,从给水甩头接至低水箱进水口配件,上水管应横平竖直,朝向正确,接口严密。
D、台式洗脸盆安装:
1)洗脸盆零件安装:
安装脸盆下水口:先将下水口根母、胶垫卸下,将上垫垫好油灰后插入脸盆排水口孔内,下水口中的溢水口要对准脸盆排水口中的溢水口眼。外面加上垫好油灰的胶垫,套上眼圈,带上根母,再用自制扳手卡住排水口十字筋,用平口扳手上根母至松紧适度。
安装脸盆水嘴:先将水嘴根母、锁母卸下,在水嘴根部垫好油灰,插入脸盆给水孔眼,下面再套上胶垫眼圈,带上根母后左手按住水嘴,右手用自制八字死搬手将锁母紧至松紧适度。
洗脸盆稳固:台式洗脸盆,要求土建砌好支座,装好大理石台板。大理台板安装前,应按脸盆尺寸形状开好孔洞。
(8)、管道支架制作安装:
(1)支架制作必须严格按照标准图的要求选料,材质必须符合国家标准要求,吊卡和托架加工选用圆钢,扁铁、角铁大小必须符合设计要求,选用的螺栓大小和长短要与支架相匹配。
(2)支架下料必须准确、规矩,钻孔绝不允许用气割、气焊。支架组对必须平整,焊接必须采用电焊,对接处必须满焊,不得点焊。
(3)支架加工好后,要清除焊渣,经除锈后刷红丹漆防腐。
(4)支架敷设和安装必须按照图纸和规范要求,位置和距离正确。埋设必须牢固,安装必须平整,与管道必须服贴。
第十三节 采暖系统安装
(一)施工顺序
采暖工程安装施工程序:
施工准备→钢材、设备进场检验→配合土建预留孔洞、预埋套管→分区立、干管安装→管道试压、暖气散热器试压→散热器就位→支管镶接→系统水压试验→系统调试、试运行→竣工验收。
(二)具体施工方法及措施:
- 干管安装
1)、按施工草图进行管段的加工预制,包括断管、套丝、上零件、调直、核对尺寸,按环路分组编号,码放整齐。
2)、安装卡架,按设计要求或规定间距安装。吊卡安装时,先把吊棍按坡向、顺序依次穿在型钢上,吊环按间距位置套在管上,再把管抬起穿上螺栓拧上螺母,将管固定。安装托架上的管道时,先把管应位在托架上,把第一节管装好U型卡,然后安装第二节管,以后各节管均照此进行,紧固好螺栓。
3)、干管安装应从进户或分支路点开始,装管前要检查管腔并清理干净。在丝头处涂好铅油缠好麻丝,一人在末端扶平管道,一人在接口处把管相对固定对准丝扣,慢慢转动入扣,用一把管钳咬住前节管件,用另一把管钳转动管至松紧适度,对准调直时的标记,要求丝扣外露2~3扣,并清掉麻头依此方法装完为止(管道穿过伸缩缝或地沟处,必须先穿好钢套管)。
4)、制作羊角弯时,先煨两个75度左右的弯头,在联接处锯出坡口,主管锯成鸭嘴形,拼好后即应点焊,找平、找正、找直后,再进行施焊。羊角弯接合部位的口径必须与主管口径相等,其弯曲半径应为管径的2.5倍左右。
5)、分路阀门离分路点不宜过远。如分路处是系统的最低点,必须在分路阀门前加泄水丝堵。丝接应与管道联接调直后安装。其放风管应稳固,如不稳可装两个卡子。
6)、采用焊接钢管,先把管子选好调直,清理好管腔,将管运到安装地点,安装程序从第一节开始;把管口位置找正,对准管口使预留口方向准确,找直后用气焊点焊固定(管径≤50mm以下点焊2点,管径≥70mm以上点焊3点),然后施焊,焊完后应保证管道正直。
7)、遇有伸缩器,应在预制时按规范要求做好预拉伸,并做好记录。按位置固定,与管道连接好。伸缩器应按要求位置安装好导向支架和固定支架,并分别安装阀门、排气阀等附属设备。
8)、管道安装完,检查坐标、标高、预留口位置和管道变径等是否正确,然后找直,用水平尺校对复核坡度,调整合格后,再调整吊卡螺栓U型卡,使其松紧适度,平正一致,最后焊牢固定卡处的止动板。
9)、摆正或安装好管道穿结构处的套管,填堵管洞口,预留口处应加临时管堵。
(2)立管安装:
1)、核对各层预留孔洞位置是否垂直,吊眼、剔眼、栽卡子。将预制好的管道按编号顺序运到安装地点。
2)、安装前先卸下阀门盖,有钢套管的先穿到管上,按编号从第一节开始安装。涂铅油缠麻丝将立管对准接口转动入口,一把管钳咬住管件,一把管钳拧紧,拧到松紧适度,对准调直时的标记,要求丝扣外露2-3扣,预留口平正为止,并清净麻头。
3)、检查立管的每个预留口标高、方向、半圆弯等是否正确、平正。将事先栽好的管卡子松开,把管放入卡内拧紧螺栓,用吊杆、线坠从第一节管开始找好垂直度,扶正钢套管,最后填堵孔洞,预留口必须加好临时丝堵。
(3)散热器安装:
1)、按设计图要求,利用所作的统计表将不同型号、规格和试压完毕的散热器运到各房间,根据安装位置及高度在墙上画出安装中心线。
2)、柱型带腿散热器固定卡安装。从地面到散热器总高的3/4画水平线,与散热器中心线交点画印记,此为15片以下的双数片散热器的固定卡位置。单数片向一侧错过半片。16片以上者应栽两个固定卡,高度仍在散热器3/4高度的水平线上,从散热器两端各进去4~6片的地方栽入。
3)、钢制柱翼型散热器,托钩高度应按设计要求并从散热器的距地高度上返45mm画水平线。托钩水平位置采用画线尺来确定,画线尺横担上刻有散热片的刻度。画线时根据片数及托钩数量分布的相应位置,画出托钩安装位置的中心线,挂装散热器的固定卡高度从托钩中心上返散热器总高的3/4画水平线,其位置与安装数量同带腿片安装。
4)、用錾子或冲击钻在墙上测画出的位置打孔洞,用水冲净洞内杂物,将各组散热器全部卡子、托钩栽好。
5)、将钢制柱翼型散热器的炉堵和炉补心抹油,加石棉橡胶垫后拧紧。
6)、带腿散热器安装,炉补心朝着立管方向,将固定卡里边螺母上至距离符合要求的位置,套上两块夹板,固定在里柱上,带上外螺母,把散热器推到固定的位置,再把固定卡的两块夹板横过来放平正,用自制管扳子拧紧螺母到一定程度后,将散热器找直、找正,垫牢后上紧螺母。
7)、将挂装柱型散热器轻轻抬起放在托钩上立直,将固定卡摆正安装。
(4)支管安装:
1)、检查散热器安装位置及立管预留口是否准确。量出支管尺寸和灯叉弯的大小(散热器中心距墙与立管预留口中心距墙之差)。
2)、配支管,测量出支管的尺寸,减去灯叉弯的量,然后断管、套丝、煨灯叉弯的调直。将灯叉弯两头抹铅油缠麻,装好油任,连接散热器,把麻头清净。
3)、暗装或半暗装的散热器灯叉弯必须与炉片槽墙角相适应,达到美观。
4)、用钢尺、水平尺、线坠校对支管的坡度和平行距墙尺寸,并复查立管及散热器有无移动。按设计或规定的压力进行系统试压及冲洗,合格后办理验收手续,并将水泄净。
5)、立支管变径,不宜使用铸铁补芯,应使用变径管箍或焊接法。
(5)施工时应特别注意的几个问题:
1)、该工程为热水采暖系统,绝不允许有倒坡现象的发生,管道坡度按3‰施工。
2)、散热器组对前要认真检查有无裂纹、蜂窝、砂眼及连接内螺纹是否良好,有缺陷的必须清理出来,决不能将就使用。暖气片内部必须清理干净,认真地清刷对口,以保证组对后散热器严密、平正、不渗漏。进行单体试压,请甲方进行验收。
3)、散热器安装必须平正、牢固,横支管安装应有坡度,按规范要求,当支管全长小于或等于500mm,坡度值为5mm;全长大于500mm时为10mm,以利于排气。
第十四节 电气工程
一、电气工程施工顺序
1、照明配电工程施工程序:
施工准备→配合土建预埋各种套管→配管至各灯头盒→配管至开关盒、插座盒→照明配电箱安装→电缆敷设→管内穿线→配电箱接线→检测绝缘电阻→电气器具安装→电气调试→试运行→竣工验收。
2、接地工程施工程序:
施工准备→基础接地极施工→等电位接线箱(盒)预留预埋→根据图纸要求连接等电位连线→接地装置与基础梁钢筋引出接地线连接并与PE线连接→接地电阻测试→竣工验收。
3、弱电工程(电话、有线电视、呼叫系统)施工程序:
施工准备→配合土建预埋管至盒、箱→盒、箱埋设安装→线槽安装→部分明管敷设→隐蔽验收。
4、火灾报警及消防联动控制工程施工程序:
施工准备→配合土建预埋管至探测器盒→配管至模块盒及各种线盒→管内穿线→检测绝缘电阻→设备及探测器、模块、消防报警器等安装→单体调试→联动调试→竣工验收。
二、电气具体施工方法和措施:
(1)电气配管工程:
1)、配管及预埋前,必须熟悉施工图纸,除完全掌握图纸设计功能及敷设途径、方法外,还应与暖通、给排水等有关专业核对图纸,并与土建建筑图详细对照,如发现差错,应及时找设计更正。
2)、认真整理施工图纸中发现的疑难问题,参加设计方的图纸会审及交底工作,力求将图中问题解决在施工以前。
3)、根据图纸及相关标准编制材料计划,管、箱、盒规格正确。
4)、做好施工班组技术、质量、安全交底工作。
5)、做好管、箱、盒、材料进场验收工作,防止不合格品材料使用在工程中,电管除满足规范要求,还应无严重锈蚀,管内不得有尖锐棱角,箱、盒尺寸符合设计规定。
6)、敷设电线钢管时,应采用套管焊接,其套管长度为管直径的1.5~3倍,焊接处应刷防锈漆进行防腐。明敷时再外刷调合漆。
8)、暗配于混凝土内的钢管内部应刷防锈漆,暗配于土质地面内的钢管内部刷防锈漆,外部刷沥青漆,其余情况下的所有配管,内外部均应刷防锈漆,刷漆前应认真除锈。
9)、钢管应用机械切割机下料或钢锯下料,并应清除端口毛刺, 保证管口光滑,绝不允许气焊割口。
10)、在现浇混凝土板、墙、柱内配管时,除按位置埋设线盒,还应做好固定工作,以防灌注混凝土震动时位置偏移,管口应采取封堵措施,以免水泥浆流入堵塞管子,影响穿线。
11)、线管煨弯应保证足够的弯曲半径,暗配时弯曲半径≥6倍管子外径。
12)、钢管经过盒、箱、管箍处,应用Ø6~Ø8圆钢做接地跨接,盒、箱也应做好接地焊接,接地焊接长度≥30毫米。
13)、盒、箱定位应准确,符合设计及施工规范要求,采用水平仪或用找平塑料软管逐一校正准确。同一室内的同规格箱、盒,误差应≤5毫米,相邻误差应≤1毫米。
14)、砖墙内配管,应在土建粉刷前敷设到位,箱、盒及配管应在粉刷前采用强度等级不小于M10的水泥砂浆固定,保护层厚度大于15mm。砖墙上开槽宜采用开槽机, 以保证砌体质量。
15)、土建拆模后应及时找出预埋在混凝土内的盒、箱,并用铁丝试通管路,做好管口及箱、盒的临时封堵保护工作。对于试不通的管子及早处理,进行修补,以免影响土建质量和总体进度。
16)、吊顶内配管,一般应在吊顶内其它专业管道施工以后进行,线管尽可能贴近龙骨敷设,敷设途径应合理、整齐、并用吊支架进行固定,焊管应进行油漆防腐、接地跨接可靠。
17)、埋于地坪内的暗配管要做好临时固定,浇灌砼时,不致使管子发生大的位移和挤压。
18)、JDG套接紧定式电气专用导管安装:
A、施工前的准备:
a、检查所需管材、器材、连接配件应符合国家现行技术标准的规定,并应有产品的合格证及材料出厂检验报告等质量证明书。
b、管材及连接配件的规格、型号应与设计图一致,接线盒、直管接头、爪型螺纹管接头、直角弯管、金属线管管卡、开关盒、插座盒等的规格与面板、盖板相配套。
c、管卡、支架、吊杆及箱盒等金属部件、紧固件均应镀锌。
d、施工所需工具、辅材等已准备就序。
B、具体操作要点:
a、管子切断:常用钢锯、无齿锯、砂轮锯进行切管,将需要切断的管子长度量准确,放在钳口内卡牢固,断口处平齐不歪斜,管口刮挫光滑,无毛刺,管内铁屑除净。
b、管子连接:采用直管接头连接,长度为管外径的2.0~3.0倍,管的接口应在直管接头内中心即1/2处,根据配管线路的要求采用90度弯管接头时,管接口应插入直角弯管的承插口处,并应到位,再使用专用搬手,将紧固螺丝上紧至螺帽拧断,在联接口处涂抹沿油,使其整个线路形成完整的统一接地体。
c、冷煨法:电线弯管可采用冷煨法及定型弯管。一般管径Ø25mm及以下时,可使用手板煨管器,即将管子插入煨管器,逐步煨出所需弯度,管径Ø32mm及以上时,可使用液压弯管器。
d、管入箱、盒 应采用爪型螺纹管接头,使用专用搬子锁紧,爪型根母护口要良好,使金属箱、盒达到导电接地的要求,箱、盒开孔应整齐,且与管径相吻合,要求一管一孔,不得开长孔。
e、管路固定:钢筋砼墙及楼板内的管路,每隔1000mm左右用铅丝绑扎在钢筋上;砖墙或砌体墙剔槽敷设的管路每隔1000mm左右用沿丝、铁钉固定。
C、注意事项:
a、使用手扳煨弯器时移动要适度,用力不要过猛。
b、使用液压煨管器或液压煨管机时,模具要配套、管子的焊缝应在侧面。
c、暗配管路配管后应及时加管堵把管口堵严,扫管时,发现堵管及时修复。
d、管口不齐有毛刺,断管后未及时挫口,应用锉把管口挫平齐,去掉毛刺再配管。
e、箱、盒与螺纹管接头应按操作工艺进行,否则造成电气接地不良,管与管连接时,管件应配套使用,否则管子连接松动,电气接地不良。
f、现浇砼楼板上配管时,应留人看守,以免振捣时损坏配管及箱、盒移位,遇有管路损坏时,应及时修复。
19)、暗配管在施工过程中,应每层做质量评定及检验批隐蔽验收,并有甲方代表或监理参与。
(2)、管内穿线和接线:
1)、导线规格、型号应符合设计要求,应有产品合格证及检验报告。
2)、管内穿线前应熟悉图纸,了解电气系统的原理、设备的控制及联锁、灯具的控制方式,并了解每根管内有几个回路数、几对导线以及导线的规格型号,始、终端在何处,导线能不剪断的地方尽量不剪断,以免浪费导线和导线过多产生接头。
3)、照明和电力系统按规范对管内导线应有分色,相线和零线的颜色应不同;同一建筑物导线颜色选择统一;配电箱电源线及所有三相电源的干线,相线A、B、C为黄、绿、红三色,零线为淡兰色,保护接地线(PE)为黄绿相间双色线;照明支线、火线为红色;开关线为黄色;零线为淡兰色;保护接地线为浅黄绿色; 其余设备的导线也应有明显的色泽区分。
4)、管内穿线前一定要清理干净管内积水和杂物,并在管口套好护圈。
5)、管内穿线时,应采用放线架人工放线,导线应顺直地穿入管中,在放线、穿线过程中,防止导线在管内扭绞,以免影响导线质量。
6)、所有管内导线不得有接头,所有接头应放在接线盒内或者在电气设备端子上进行。
7)、导线在与电气设备或器具连接时,应对敷设的全部线路进行接线及绝缘电阻值测试,要求1千伏以下的电气线路在500V 摇表测试绝缘电阻值应不小于0.5兆欧,线路要求全部接通,且符合设计要求。
8)、导线在接线盒内连接宜采用压接帽,多股铜线在连接设备或接线端子时,必须使用接线鼻子。
(3)、电缆桥架安装:(含弱电线槽安装)
1)、桥架施工前应在现场实测实量,根据平面尺寸确立直线段及弯头数量,以便订购、制作。
2)、桥架应防腐良好,连接螺栓应采用镀锌件。
3)、桥架安装前应先安装支架或吊架,支(吊)架应平直、牢固,安装支(吊)架前应先放线,水平桥架支架安装间距为1.5-3米,垂直安装的支架间距不大于2米,支架安装前应作防腐处理。
4)、金属电缆桥架及其支架在全长范围内应有不少于2处与PE线干线相连接。
5)、桥架外壳每段应采用软铜绞线(≥4平方毫米)做接地跨接,并和PE线连接。
6)、竖井内桥架过楼层应参照《电气竖井设备安装》JSJT-155做防火堵燃处理,堵料必须采用指定厂家合格产品。
(4)、电缆敷设(预分支电缆安装):
1)、电缆敷设前,应核对电缆规格、型号是否与图纸相符合,并应具有产品合格证。
2)、电缆穿管前要清除管内杂物,电缆弯曲R倍数要符合规范规定,电缆敷设前要对电缆进行绝缘检测,合格后方能进行施工。
3)、了解电缆敷设的途径,起端和终端一定要弄清楚,以免造成浪费。控制电缆敷设途径也要按原理图仔细核对,避免差错。
4)、电缆在桥架内敷设,应在首端、末端及拐弯分支处装设标志牌,标志牌上注明线路编号。桥架上电缆每隔2米应加以固定。
5)、预制分支电缆安装:
A、施工前的准备:
a、预分支电缆施工前,一定要配合土建在配电小间楼(地)板按电缆规格预留孔洞。
b、预分支电缆订货前要给厂家提供楼层高度、分支接头离地面高度及进楼层配电箱为上进线还是下进线,并提出主干电缆规格、分支电缆规格及电缆进线箱至配电小间距离。
c、预分支电缆订货前要制定电缆敷设方法(由地面拉起法还是楼顶放下法)以便厂家包装、运输。
d、预分支电缆敷设前应预埋好横担、吊钩及线夹。
e、预分支电缆敷设前要对电缆进行绝缘检测,合格后方能进行施工。
B、预分支电缆垂直敷设时,一般按以下步骤进行:
a、将电缆盘放在线架上,(通常电缆盘放在楼下,采用地面向上拉起法,将电缆提升上去)。
b、通过卷扬机或其他方法将电缆提升到顶部。
c、当金属网套提升到房顶后,将网套挂在事先准备好的挂钩上。
d、对主干线中间部位进行固定。
e、将分支线接入配电箱。
f、进行主干线路的连接。
g、固定所有主干线及分支线卡。
C、预分支电缆敷设时应注意以下事项:
a、事先确认预制分支部分能否安全穿过贯通各层孔洞。
b、采取必要的预防措施,防止提升过程中,分支部分通过孔洞时受损伤。
c、安装时不应过分强拉分支电缆,待主干电缆安装固定后,再将分支电缆绑扎解开。
d、使用提升电缆的绳索应能承受电缆重量4倍以上的抗拉强度。
e、电缆提升完毕后,应立即用适当方法加以固定,以免电缆坠落受损,单芯电缆禁止使用铁质夹具,防止涡流效应。
f、电缆垂直和水平敷设时,穿楼板和墙体处均应按防火规范要求,采用防火堵料封堵。
(5)、配电箱、柜及电气器具安装:
1)、所有照明柜、箱应安装牢固,垂直偏差不得大于规范及设计要求。
2)、所有配电箱、控制柜的型号及规格应符合设计要求,垂直偏差不得大于规范要求;箱体开孔必须采用开孔器,严禁用气焊割孔;墙上明装箱体用膨胀螺丝固定;墙上暗装箱体应用水泥砂浆固定, 面板四周紧贴墙面,配管进箱内应整齐,并不大于5毫米。
3)、所有配电箱、柜均应分别设置零线和保护地线(PE)端子,明管敷设至箱体应采用锁母,并焊好保护地线(PE)。
4)、箱内接线排列整齐,并有明显回路编号,各开关启闭灵活,多股铜线应用压线鼻,凡有电气元件的箱、柜,门扇均应接PE线。
5)、电气器具等配件均应齐全,无机械损伤,导线进入器具绝缘保护应良好。
6)、照明灯具安装应牢固,多股软线应搪锡;螺口灯头,零线必须接在灯头螺纹的端子上。
7)、灯具安装前应先放线定灯位,避免安装时偏差过大,吊链荧光灯双链应平行。
8)、开关、插座安装高度应符合设计规定,开关控制相线,单相三孔插座,接线严格按左零右火,上线为接地线连接。
9)、暗装箱、盒均需采用专用接线盒,接线盒四周不应有空隙, 安装后板面端正,紧贴墙面。
10)、安装在同一建筑内的开关、插座,宜采用同一系列产品, 且操作灵活,接触可靠。开关的安装位置应便于操作, 开关边缘距门的距离为0.15~0.2米。
11)、竖井内配电箱挂墙明装,下口距地1.5m。
12)、设备用房配电箱、动力箱挂墙明装,下口距地1.5m。
13)、动力配电柜抬高地坪200mm落地安装。
(6)接地工程安装:
1)、接地极利用基础主筋,按基础接地施工图施工。
2)、钢筋焊接应两边焊接,搭接长度为圆钢直径6倍且焊缝不得有夹渣、气孔,扁钢搭接长度为扁钢宽度2倍且三个棱边焊接。
3)、接地引下线的具体位置要按设计规定施工,并在图中规定的柱子上引出接地电阻测试点。
4)、各电气竖井内管道及桥架外壳均与接地线(PE)可靠连接。
5)、凡进出建筑物的所有金属管道预留洞处均需埋设不少于二块100×100×10钢板,以便与管道作接地连接。
6)、竖井内安装接地扁钢前应吊线垂直,安装完后用金属卡子加以固定,焊接部位需进行防腐处理。
7)、配合土建按设计图纸要求在建筑内敷设等电位接线端子箱。
8)、将各电气装置的金属外壳及其它金属管道、支架等可导电部分与等电位接线端子内导线接通。
9)、配合土建按设计图纸在各卫生间敷设管线及接线盒。
10)、将卫生间内所有金属部件与等电位接线盒内导线连通。
11)、利用桩基基础将主筋做接地体的安装:
a、根据图纸位置(引下线所处的桩基位置),在土建梆扎好基础钢筋时,把基础出地面的任意两根元钢(最好对称两根元钢)用元钢连焊在一起,再把承台的两根主筋和已连接好的桩基两根主筋连焊在一起,并和引下线柱内的两根主筋同时焊接在一起,然后把引下线柱内已焊接的两根主筋和基础梁的两根主筋连焊在一起,(引下线的两根主筋为对角的两根主筋)每根引下线柱内都应按以上方法进行和基础梁内主筋进行连接,基础梁的两根主筋焊接在一起,形成一个均压环。
b、如土建的主筋采用加套管压接连接时,应在套管两端的主筋上用元钢进行跨连焊接。且所有的焊接,跨接元钢不得小于Ø12元钢。
c、利用基础主筋做接地装置时应在正负零以上,0.5M处的钢筋上焊接厚度为3~5mm长宽度为100×100mm钢板一块钢板上焊接线鼻子一个(或螺栓)以备检查测试接地装置电阻值是否满足设计要求。
(7)、弱电工程(电话、有线电视、呼叫系统)安装:
(1)弱电部分配管以前首先应熟悉图纸,必须对整个系统原理有所了解,才能进行配管。
(2)配管具体措施方法及要点参照电气部分。
(3)熟悉施工规范GB50200-94《有线电视系统工程技术规范》,并认真对班组进行质量技术和安全交底。
(4)根据设计图纸和现行规范编制设备、材料计划。
(5)认真进行材料进场检验工作,对管材规格、型号、数量、质量进行检查。
(6)连接线盒两端的焊管必须跨接地线。
(7)弱电管线接线盒不得与强电管线接线盒合用。
(8)弱电线槽安装基本方法同电缆桥架安装。
(8)、火灾报警控制工程安装:
(1)配管前首先应熟悉图纸,必须对整个系统原理有所了解,才能进行配管。
(2)配管具体措施方法及要点参照电气部分。
(3)紧密配合土建进度,墙、柱内配管时一定要查对平面位置,特别是消防报警部分中模块盒及各设备的具体位置,必须查对通风专业及水暖专业图纸,以免造成线盒位置偏移。
(4)熟悉施工规范《火灾自动报警系统施工验收规范》GB50166-92,并认真对班组进行质量技术和安全交底。
(5)根据设计图纸和现行规范编制设备、材料计划,认真进行材料进场检验工作,对缆线器材规格、型号、数量、质量进行检查。
(6)缆线在布放前,两端应贴有标签,表明起止位置,标签书写清楚、正确。
(7)待土建装修工程开始后,安装各编址模块、探头、声光报警器等,施工组长负责把好第一关,施工工长总把关,质量员复检,确保安装接线准确无误。
(8)安装调试前对每一控制机构进行复核,确认无误后,通过微机进行逐一调试,最后填写调试报告。
附表2
主要调试仪表、仪器一览表
| 序号 | 名称 | 型号规格 | 单位 | 数量 | 备注 |
| 1 | 兆欧表 | 5050 500V | " | 1 | |
| 2 | 数字万用表 | DT890A | " | 1 | |
| 3 | 指针万用表 | MF14 | " | 1 | |
| 4 | 漏电保护校验器 | 套 | 1 | ||
| 5 | 数字钳型电流表 | DT—266 | 台 | 1 | |
| 6 | 接地电阻测试计 | DZ40 | " | 1 | |
| 7 | 电子秒表 | SET--1 | " | 1 | |
| 8 | 热球风速仪 | 201 | 台 | 1 | |
| 9 | 数字转速表 | DT2235A | 台 | 1 | |
| 10 | 叶轮风速仪 | DFA | 台 | 1 | |
| 11 | 倾斜式微压计 | 61 0-2KP | 台 | 1 | |
| 12 | 毕托管 | 1米 | 根 | 1 | |
| 13 | 干湿表 | 台 | 1 | ||
| 14 | 热球风速仪 | 60 | 台 | 1 | |
| 15 | 热球风速仪 | 60 | 台 | 1 | |
第五章 施工组织及施工进度计划
第一节 总工序安排
1、基础工程工序安排
定位测量→验线→土方开挖→3:7灰土垫层→筏板基础砼垫层→(筏板及基础梁钢筋→筏板基础模板→筏板砼→地下室剪力墙→地下室顶板施工→地下室四周防水层施工→基坑外围素土回填夯实。
2、主体结构工序安排
楼面放线→剪力墙钢筋→剪力墙钢筋验收→安装剪力墙模板→浇筑剪力墙混凝土→支梁、顶板模板→梁、板钢筋(专业预留预埋) →梁、板钢筋验收→浇梁板砼→养护→下一层楼面放线。
3.0 砌体及轻质隔墙板
在主体工程施工至四层后插入砌体工程施工,砌体工程可随主体由下而上进行,待主体封顶后,由上而下进行施工,以配合室外装饰工程的尽早展开。
4.0 装饰工程
室外装饰工程在主体封顶后由上而下进行,室内装饰工程在主体工程验收的情况下,可随砌体的施工顺序进行。塑钢门窗框安装随外墙贴面砖工程同步进行,以配合外墙面砖的排砖尺寸,也可防止外墙装饰时大量的砂浆通过窗洞口运输,造成窗框污染和破坏。内墙门框安装在大面积墙面抹灰结束后再进行,以防止砂浆运输造成门框损坏,门框安装完毕后二次进行门窗套抹灰。楼地面工程在室内外装饰工程全部完工后进行。
第二节 施工段的划分
在基础和主体施工阶段,将每栋楼按单元分自然流水段,进行分段流水施工作业,并在每个施工段内组织模板、钢筋、砼浇筑等工序的流水施工,基础筏板一次施工完成不分段。装饰施工阶段,将三层以下作为一个施工段,三层以上作为一个施工段,在门各施工段内组织砌体工程、轻质隔墙板安装工程、室内抹灰工程、楼面防水层施工、楼地面工程、电气工程、给排水工程、暖通工程的等分项工程的流水施工作业。科学的组织,精心的安排,确保施工进度按计划完成。
第三节 劳动力安排
劳动力准备分基础工程、主体工程装饰工程三个阶段准备。各阶段投入的工种及人数,如下表:
各施工阶段劳动力计划表
| 工 种 | 基础工程施工阶段 | 主体工程施工阶段 | 装饰工程施工阶段 | 备 注 |
| 木 工 | 180 | 200 | 20 | |
| 钢筋工 | 100 | 100 | 8 | |
| 砼 工 | 60 | 60 | 6 | |
| 瓦 工 | 10 | 80 | 20 | |
| 架子工 | 20 | 24 | 18 | |
| 电焊工 | 4 | 4 | 3 | |
| 机械工 | 6 | 6 | 6 | |
| 抹灰工 | 0 | 0 | 180 | |
| 试验工 | 2 | 2 | 2 | |
| 测量工 | 2 | 2 | 2 | |
| 防水工 | 15 | 0 | 15 | |
| 普 工 | 15 | 15 | 15 | |
| 水 工 | 6 | 6 | 18 | |
| 电气工 | 8 | 8 | 12 | |
| 通风工 | 0 | 0 | 12 | |
| 合计 | 428 | 507 | 337 |
第四节 施工进度控制计划
本工程要求总工期为460天,各栋楼主要分部分项工程进度控制计划详见附图一:“施工作业进度计划”。
第五节 项目经理部的组织机构
1、组织机构:
根据本工程具体情况,我公司将组织一个强有力的管理机构,派精兵强将组建项目经理部。项目经理部设经理一人,技术副经理一人,安装副经理一人,下设技术质量组、生产安全组、材料动力组、安装组、财务劳资组等机构;设土建综合工长五人、安装专业工长三人,专职质量员三人、安全员二人、材料员二人、预算员二人、财务劳资二人、行政后勤一人。项目生产副经理分管生产安全组、材料动力组、安装组;技术副经理分管技术质量组;项目经理部所需人力、物力资源在全公司范围内调配,技术管理人员都将选调具有丰富施工经验的人员。
项目经理部组织机构见下图:
项目经理部组织机构图
项目经理
财务劳资组
安 装 组
技术质量组
生产安全组
材料动力组
安装副经理
生产副经理
技术副经理
施工班组
2、项目经理部对本工程实施项目总体目标控制管理,即项目经理负责制、项目管理责任制、项目成本核算制等项目法施工模式,项目经理部对工程施工过程的工期进度、工程质量、安全生产、文明施工、项目核算等负全责。
3、施工过程中,项目经理部将以项目法施工为核心,以优质、高速、安全、文明为主轴,不断优化生产诸要素,加强动态管理,科学组织、精心施工,大力采用先进施工技术,有效推广全面质量管理,坚持质量、安全两个保证体系,在创优质、安全、文明的条件下,确保各阶段工期控制目标,最终确保合同工期的实现与提前完成。
第六节 项目经理部管理人员组成
某某某工程项目经理部管理人员名单详见下表:
项目经理部管理人员一览表
| 序号 | 职 务 | 姓 名 | 职 称 | 备 注 |
| 1 | 项目经理 | 工程师 | 壹级项目经理 | |
| 2 | 项目副经理 | 工程师 | 壹级项目经理 | |
| 3 | 项目副经理 | 工程师 | 贰级项目经理 | |
| 4 | 主任工程师 | 工程师 | 技术总负责 | |
| 5 | 施工员 | 助理工程师 | 土建施工 | |
| 6 | 施工员 | 助理工程师 | 土建施工 | |
| 7 | 施工员 | 助理工程师 | 管道施工 | |
| 8 | 施工员 | 助理工程师 | 电气施工 | |
| 9 | 机械工长 | 技师 | ||
| 10 | 技术员 | 工程师 | 土建技术 | |
| 11 | 技术员 | 工程师 | 安装技术 | |
| 12 | 质检员 | 技师 | 土建 | |
| 13 | 质检员 | 技师 | 安装 | |
| 14 | 材料员 | 助理经济师 | ||
| 15 | 安全员 | 工程师 | ||
| 16 | 测量员 | 技师 | ||
| 17 | 试验员 | 技师 | ||
| 18 | 资料员 | 助理经济师 |
第六章 质量保证措施
第一节 工程质量总目标
本工程的质量总目标为:确保“合格工程”,争创“长安杯”优质工程。
为了达到该质量总目标,在施工全过程中,以目标管理统揽全局,以经济承包为杠杆,以全面推广应用GB/T 19001-2000(idt:ISO 9001-2000)国际质量管理体系为手段,开展质量管理工作。将单位工程质量总目标分成各分部工程、分项工程的分目标,各质量分目标落实到具体人头上,并实行经济承包,实行关键工序、关键时候重奖重罚,使每个项目员工和目标直接相关,对目标负责,并给每个项目员工以压力和动力,最大限度地调动和发挥每个员工的生产积极性和聪明才智,提高员工的质量意识。
第二节 质量保证体系
我公司按照国际标准化组织颁布的ISO9001-2000质量标准,建立起一套行之有效的文件化的质量保证体系。该体系包括了从工程项目的投标、签定合同到竣工交付使用,直到交工后保修与回访的全过程,充分体现了GB/T 19001-2000(idt:ISO 90001-2000)的要求。该体系以质量手册为核心和指导,以程序文件为日常工作准则,以作业指导书为操作的具体指导,所有质量活动都有质量计划并具体反映到质量记录中,使得施工过程标准化、规范化、有章可循、责任分明。
1、质量管理机构及其主要职责
成立以项目经理为组长,项目总工程师为副组长,有关职能部门负责人为组员的质量管理领导小组,制定创优规划和措施,做到施工过程每个环节都处于受控状态,每个过程都有《质量记录》,实现施工全过程可追溯,把质量管理切实落实到施工生产全过程中。开展QC小组攻关活动,成立基坑围护、主体结构施工、防水等三个QC小组,进行质量攻关,贯彻GB/T 19001-2000质量保证体系,定期召开质量研讨会,发现问题及时改正,以确保工程质量目标的实施。
2、项目部关键岗位、业务管理组职责和权限如下:
2.1项目部经理项目经理负责贯彻执行公司的质量方针和质量目标,对项目部的施工质量负全责,明确内部的职能和分工,保持质量管理体系运行的有效性。具体负责:
1)负责项目部的全面管理工作。
2)负责贯彻公司的质量方针和质量目标,并组织宣贯、分解落实。
3)负责项目部的组织机构设置、职责分配、资源配置等。
4)任命并授权各岗位职能人员。
5)项目部主持物资采购、劳动分供方的调查,签定项目部物资采购合同、劳务分供方承包合同。分公司的项目部物资采购合同由分公司经理批准。
6)参与产品实现过程的策划及管理评审。
7)负责与顾客的联络、沟通和交付后的服务的实施工作。
8)分管财务劳资组。
2.2生产副经理
1)对项目部的施工过程负主要组织、管理责任。
2)负责项目部施工现场安全管理、材料动力设备管理、文明施工管理。
参与交、竣工验收组织工作。
3)批准项目部施工计划、物资采购计划和机械设备检修/维护保养计划。
4)参与工程产品实现过程的策划。负责组织施工准备工作。
5)参与物资采购、劳务分供方的调查。主持入场教育。
6)分管生产安全组、材料动力组。
2.3技术副经理
1)负责项目部内部及外部技术质量活动的组织与沟通、协调。
2)对项目施工技术、质量管理负主要管理责任,
3)参与图纸会审和技术交底的组织工作,并负责设计变更的复核确认。
4)参与组织施工组织设计/施工方案的编制,负责解决施工中的技术问题。
5)负责工程项目施工过程检验和试验管理工作。
6)参与不合格品的评审、处置及纠正和预防措施实施、验证的组织工作。
7)负责工程项目竣工技术资料。编制的组织工作。
8)参与物资采购、劳务分供方合同评审。
9)分管技术质量组。
2.4安装副经理
1)对项目部的安装工程质量管理负主要责任,对安装工程施工的资源配置负责。
2)分管安装组工作,对安装组与项目部其它业务组的接口和协调及土建、安装工程施工协调负责。
2.5技术质量组
1)负责质量管理体系文件、工程技术文件的管理。
2)参与技术措施的制定,解决施工中的技术问题。
3)负责进货及施工过程的检验、试验的管理,对工程质量实施监督检查工作。
4)负责检验、测量和试验设备的管理及新购材料的检验和试验工作。
5)负责单位工程项目测量定位放线工作。
6)负责不合格品评审、处置及纠正和预防措施的实施、验证。
7)监督本项目部各职能组有效地实施本公司的质量管理体系文件。
8)负责工程项目技术资料与质量记录的收集、整理和保管工作。
9)参与入场教育。参与物资采购合同的评审。
10)参与图纸会审及施工组织设计的编制。
2.6生产安全组
1)负责施工过程控制及安全生产和文明施工管理。
2)负责项目部的月、旬生产计划的编制,提出材料需用计划,参与评审合格劳务分供方,并负责管理。
3)负责项目部安全技术措施的实施及安全教育,负责特种作业人员资格管理;监督检查安全工作和施工环境。
4)负责施工过程中班组自检、互检、工序交接的管理。
5)参与入场教育。
6)参与图纸会审及施工组织设计的编制。
2.7材料动力组
1)负责编制材料采购计划及采购合同。
2)组织物资分供方调查、评价、复评工作,并保存记录。
3)负责对进场材料的验收工作。
4)负责施工现场和材料仓库的材料管理工作。
5)负责施工现场机械设备的日常管理和检修/维护保养管理工作。
2.8安装组
1)负责项目安装工程的施工过程实施及控制。
2)负责对安装项目生产、安全、技术质量的控制。
3)负责与项目部其它业务组的接口和协调工作。
2.9财务劳资组
1)负责项目部管理人员、操作人员的培训和入场教育的组织工作。
2)组织劳务分供方调查、评审工作,并保存记录。
3)负责项目部施工合同(含劳务分供方承包合同)执行的有关事宜。
2.10技术员
1)参与施工图纸会审,参与编制施工组织设计/方案,技术交底,解决施工中的技术问题。
2)指导施工班组按施工组织设计/施工方案/技术交底/作业指导书组织施工,并监视实施。
3)参与工程项目的隐蔽验收和技术复核工作。
2.1l质量检查员
1)负责进货物资的质量验证工作。
2)负责对施工工程质量检验\验证和跟踪检查。
3)负责分部分项质量等级的核定及资料的整理工作。
2.12质保员.
1)负责项目部质量管理体系文件的领取、分发、保管。
2)负责本项目部质量管理体系有效地实施控制管理工作。负责收集、整理和保管施工过程中发生的工程技术资料、质量记录,整编竣工资料并移交、归档。
3)负责工程项目专用文件及资料的接收、登记、保管(含保管顾客的文件、资料)工作。
4)负责按规定上报质量统计报表。
2.13试验员(计量员)
1)负责进货物资的取样送试工作。
2)负责各种配合比的委托和现场的试验工作。
3)按规定要求制作砼和砂浆试块,并按时送试。
4)负责监督砼、砂浆的计量工作,并建立台帐。
5)负责保管及维护好试验设备,负责检验、试验仪器(含测量仪器)的送检、校验管理工作。
2.14测量员
1)负责工程项目的定位放线,高程引测及传递,轴线控制及测量成果图的绘制工作,保存好测量成果资料。
2)负责测量仪器的保管和保养、送检校验工作。
2.15施工员(工长)
1)负责组织实施项目部的月、旬生产计划。
2)编制物资需用计划和提出采购要求,
3)合理组织人力物力,按时完成进度计划,实施各项施工安全、技术交工作。
4)实施工程项目的隐蔽验收和技术复核工作。
5)负责做好施工记录及特殊过程的连续监视记录。
6)负责分项工程质量评定的组织工作,组织进行工序交接,对本专业工种(含劳务分供方)的施工过程控制质量负责。
7)负责现场管理,安全生产和文明施工的实施。
2.16安全员
1)贯彻安全法规和公司的安全规章制度,监视操作人员按规章制度做好安全生产和文明施工。
2)参与各项安全技术措施的制定及安全施工技术交底,对施工过程中的安全进行跟踪检查。
3)负责各项安全防护设施的检查及验收工作,监督检查安全施工环境。纠正违章操作和违章指挥。
4)定期进行安全教育。
5)参与处理工伤事故,保存安全事故记录,及时上报。
6)负责特种作业人员资格管理。
2.17机械设备管理员
1)负责编制项目部机械设备项修计划
2)负责工程项目所需机械、设备的安装、维修保养及管理工作。
3)负责组织机械设备进场就位,对机械设备的安全运行负责。
4)建立机械设备台帐,保存机械设备技术资料。
2.18材料员
1)负责物资采购工作,按需用计划及时组织进场。
2)保证所采购的物资质量符合工程要求。
3)坚持做到在规定的合格分供方中采购,索取相应质量记录。
4)负责周转材料的租赁,及时结清内外帐款。
2.19仓库保管员
1)负责现场材料的收、发和保管(含保管顾客的物资)工作。
2)参与进场物资的验证工作,做好进场材料的登记、标识,保存好原始凭证。
3)负责所有进场物资的堆放和贮存工作,做到存放整齐,保证帐、卡、物相符,标识明显、准确、齐全。
4)建立物资台帐,及时处理当日业务,坚持月终盘点制度。
5)负责存放物资的安全,确保存放物资完好。
2.20预算员、计统员
1)参加图纸会审,负责工程的预、决算工作。
2)负责工程项目的形象进度、产值和材料消耗的统计报表工作。
3)负责工程量的计算和工程签证工作。
2.21财务劳资员
1)负责上报培训需求,保存项目部各项培训记录。
2)负责劳务分供方人员管理工作。
3)及时准确地搞好劳资的统计报表和原始台帐,
4)加强现场劳动纪律管理,严格考勤和请销假制度。
2.22施工班组(操作工人)
1)服从领导,爱岗敬业,讲究职业道德。
2)严格按规程、质量标准及作业指导书要求操作,树立“质量第一”的敬业意识。
3)遵守安全操作规程,认真执行安全施工“十大禁令”。
4)按时完成各项任务,做到文明施工,工完场清。
5)做好产品保护,珍惜和爱护自己或他人的劳动成果。
3.0 质量管理制度
3.1岗位责任制:按质量目标分解,将质量责任层层挂牌,层层落实。由质检员行使质量否决权和奖罚权。
3.2奖罚制:拉大班组优良与合格的工资差距,质量评定按楼层各部位分开进行,实行优质重奖,劣质重罚的方法,最大限度地调动工人的积极性。
3.3材料进场检查制:要特别注意杜绝无准用证书水泥的使用:进口钢筋要进行化学分析;商品砼进场要核实砼强度等级和检验坍落度;装饰材料、门窗等成品、半成品先选定样品,再按样品验收大宗进料。
3.4三检制:主要分项工程质量严格检查,坚持“自检、交接检、专检”三检制。
3.5隐检制:根据施工进度安排预检、隐检计划,进行预检、隐检程序,办理预检、隐检手续,并及时履行签字归档。
3.6工程例会制:
3.6.1外联工程例会:汇报工程进展情况;听取业主、监理、质检站及设计院等各方面的指导和意见:提出施工或图纸上的问题、方案措施:协调与业主外包专业工程施工单位的矛盾、协作关系。
3.6.2内部工程例会:总结工程施工的进度、质量、安全情况,传达外联工程会议精神,明确各专业的施工顺序和工序穿叉的交接关系及质量责任,加强各专业工种之间的协调、配合及工序交接管理,保证施工顺利进行。
3.6.3成品保护制度:在施工过程中,后插入的工序,应采取确实行措施,如覆盖、防护等进行保护,免遭污染或破坏。
4.质量保证的检测试验手段与措施
4.1设立中心试验室,保证工程质量
为保证工程质量,设立中心试验室,全权负责本工程的试验工作和各项原材料的进货检验工作,并在使用之前,向监理提交制造商的质量证明,并且经监理批准,严禁不合格品进入工地,按规定做好混凝土、砂浆试件的制作、养护质量检验工作,严把混凝土及喷射混凝土集料的计量和工程材料质量关。
4.2测量采取“三固定”的措施
为了保证测量的精度,除配备先进的测量仪器外,并按规范要求定期、准确、全面地进行观测,做好与邻近工程标段的贯通联测,做好工程测量的相互衔接,同时采取“三固定”的措施,即仪器固定(含附件)、人员固定、观测线路固定(包括镜位固定和观测次序固定)。
5 质量保证措施
5.1牢固树立“质量第一”的观念,明确质量标准
在全体施工人员中,定期组织质量教育,牢固树立“质量第一”的观念,在施工中坚持“谁施工谁负责”的原则,在每道工序施工前,主管工程师必须向有关方面做好技术交底,并向施工人员说明各道工序的质量要求和标准,使班组人员和管理人员明确工序操作规程的质量要求,不掌握操作工艺,不明确质量标准的人员严禁上岗操作。
5.2完善内部承包责任制
完善内部承包责任制,制定质量奖惩办法,将工程质量与个人的效益挂钩。对关键工艺、工序进行技术员跟班作业,指导、监督实施。
5.3狠抓工序,健全制度
5.3.1建立以群众自控为基础,互检与专检相结合的质量“三检”制度。
5.3.2保证各个分项工程质量的特殊措施。
5.3.3实施技术干部、质检员工点质量负责制。
5.3.4质量检查员具有质量否决权。
5.3.5做好资料的收集、整理、归档。
第三节 质量保证措施
1、把好原材料质量关,严格执行物资采购控制程序,所有材料采购前,必须先进行分供方评价,列出合格分供方名单,然后按名单采购。同时还必须满足以下要求:一是要编制材料采购计划;二是要签订采购合同;三是对采购材料按检验和试验控制程序,进行检验或验证,确保所有材料、制品的质量,经检验合格的材料方可使用,不合格材料要按不合格品控制程序规定进行处理。
-
- 对顾客提供的材料(甲供材)要按程序要求把关、技术质量组按规定负责对顾客所供产品进行检验或验证,库管员负责对顾客(或顾客指定的分供方)所供产品的验收、贮存和防护工作,经过验证和检验合格的材料方可使用。
- 按照产品标识和可追溯性程序要求,所有进场材料都要进行标识控制,重点要对物资使用过程标识控制,施工过程中形成半成品,成品的标识控制,隐蔽工程中产品标识控制。防止不同规格批次、类别的产品误用或混用,确保在需要追溯时,产品有准确的标识。
- 加强对项目施工的过程控制,包括计划控制,项目协调控制,特殊过程控制,机具设备维护、检验、测量和试验设备控制、安全控制、变更控制、应急状态控制、工程技术问题控制、工程质量控制,质量记录控制,物资采购控制。使工程从开工起就受到质量保证体系全方位、全过程,全要素的有效控制,确保工程施工向着既定的质量目标顺利前进。
- 过程检验和试验是施工中起保障作用的重要环节之一,项目部要负责编制分部、分项工程的检验和试验计划,并严格组织实施。未经检验,试验的过程,或必须的试验报告未收到前,不能转入下一道工序,要认真填写“三检记录”,“质量监督和检验工作记录”,对于出现的一般质量问题,应通过整改并填写跟踪验证记录,对出现的一般不合格品,要启动不合格品控制程序进行处理。
- 对所有用于工程的测量,检验和试验设备的能力和精度都要定期进行控制,以确保测量、检验和试验数据准确可靠。
(1)依据国家关于计量器具分类管理办法分类登记控制。
(2)严格按国家规定的检定周期进行检定。
(3)编制检定计划,认真登记台帐。
(4)计量器具标识管理。
(5)加强使用控制和管理控制。
7、通过对纠正和预防措施进行控制,消除产生质量问题的潜在因素,确保工程质量。
(1)实行质量跟踪检查制度,在施工过程中,施工员和专职质检员要按施工工序进行跟踪检查验收,实行质量否决制度,经济上要切实落实优质优价政策。
(2)砼采用微机自动记量时,要根据结构施工的不同部位,砼的不同强度要求,正确输入砼配合比,经常校验自动计量器,确保砼强度等级符合设计要求。施工现场应建立标准养护室和同条件养护点,严格按规范规定取样留置试件测试。
(3)加强定位放线的测量工作,严格按已制定的测量控制方案,指定专业测量人员负责测量工作。重点控制轴线、标高、几何尺寸、建筑物及电梯井的垂直度。测量仪器要按规定进行校核,避免仪器误差。
(4)推广钢筋定位新工艺,保证成型钢筋的几何尺寸和纵向钢筋的位置,现浇楼板钢筋要设置马凳筋和高标号砂浆垫块来保证钢筋位置和保护层厚度。
(5)认真做好模板设计,重点是剪力墙模板(特别是门窗洞口),要保证剪力墙不胀模,门窗洞口方正不变形。
(6)非承重空心砖填充墙,其下部必须砌筑三层普通实心砖。
(7)认真对多水房间地面标高进行控制,加强执行管孔补洞工艺标准,处理好地面坡度及地漏高度防止倒坡及渗漏水发生。
(8)采用甩浆或刷粘结剂等工艺,认真处理好砼与粉刷层之间的结合,防止抹灰层出现空鼓。
(9)成立QC小组,对工程质量通病制订课题,组织攻关,开展质量创优活动。
(10)制定产品保护制度,对楼梯踏步、门窗边框、卫生洁具等进行有效围护,对各类管道口,在施工过程中要采取封闭保护措施,防止砂浆及垃圾进入,造成堵塞。
(11) 坚持样板引路制度,在工程进入装饰装修阶段后,外粉刷、铝塑板饰面、内墙磁砖、花岗岩、楼地面磁砖、花岗岩、内墙抹灰等分项工程开始施工时,要先做样板间或样板块,经过有关人员综合验收认可后,方可进行大面积施工。
(12)实行跟班检查制度,在施工过程中施工员和质量检查员要随施工工序进行跟踪检查验收达不到质量验收标准,必须及时返工或整修。实行质量否决制度,在经济上要奖优罚劣。
(13)坚持见证取送样制度,对于进场原材料构配件,要坚持见证取样送样制度,凡未执行者,必须对其工程质量进行全面检测鉴定。
(14)坚持材料准用证制度,施工中所采购的各种材料都必须是建设厅颁发了准用证的材料,以保证原材料的质量。
(16)加强职工技术质量教育,组织职工定期学习“建筑法”“建设工程质量管理条例”、“工程建设房屋建筑部分标准强制性条文”和省结构专项治理决定等国家和地方建筑工程法律、法规,学习研讨技术标准,施工新工艺、新技术、新材料和先进的施工经验,努力提高职工的质量意识和技术业务水平。
第四节 预防渗漏、开裂保证措施
1、外墙窗周围防渗漏
①考虑到窗下框很难塞缝密实,因此,窗框在安装前必须先用掺有膨胀剂的防水砂浆填塞下框凹糟,但不能填满,应予留约10mm左右空隙,待砂浆有一定强度后方可安装窗框。门窗框与墙空隙要保证在2.0~2.5cm之间,待框洞口四周冲洗干净后方可用掺有适量膨胀剂的干硬性防水砂浆分两层挤实、压光,不得用落地灰堵缝;然后在外侧涂刷防水胶两道。窗框与墙的空隙要严格填堵密实,这是防止渗水的关健。
②窗台抹灰内高外低,外窗台保证有20%的坡度。
③加强对塑钢门窗自身质量的检查,所有接缝、螺丝眼均要涂玻璃胶,认真封闭,消除一切可能导致渗水的缝隙。
④加强对窗框四周堵缝工作的交接检,每个窗堵缝完后均应由专职质检员验收,合格后质检员签字方可进入下一道程序。
2、卫生间防渗漏
①底板及上返的一段墙要作防水处理。
②卫生间、浴室等多水房间要降低20mm,下面做排水管,及时将积水排出。
③卫生间的楼板施工完毕要做蓄水试验,一旦发现渗漏要尽早处理。
④地面应坡向地漏方向,坡度为l%~3%,地漏口标高应低于地面标高不小于20mm。

⑤地面标高应低于门外地面标高不小于20mm。
⑥地面及墙面找平层均采用1:2.5~1:3水泥砂浆。
⑦墙面的防水层应由顶板底做到地面,地面为刚性防水层时,应在地面与墙面交接处预留10mm×10mm凹槽,嵌填防水密封材料,地面柔性防水层应覆盖墙面防水层150mm。
⑧洁具、器具等设备沿墙周边和门框、预埋件、穿过防水层的螺钉周边均应采用高性能密封材料密封。
⑨柔性防水层上,应先做水泥砂浆保护层,后做面层。
- 地漏口周围、直接穿过地面或墙面防水层管道及预埋件的周围与找平层之间应预留宽10mm、深7mm的凹槽,并嵌填密封材料。地漏离墙面净距离宜为50mm~80mm。地漏应低于排水表面5mm,与地面结合处应严密,牢固、整齐、美观。

- 非热力管道穿过楼板时,用C20细石砼填缝,并在立管周围做20×20的凹槽,凹槽内用防水油膏嵌填密实,管道周围应做成圆锥形或馒头状高凸。

3、屋面防渗漏、开裂
①在屋面结构和女儿墙结构施工完后,清除杂物,结构层清除干净后用水冲洗,并认真检查有无渗漏,一旦发现要认真处理到不渗漏为止,然后再做保温层和防水层。
②施工穿屋面的管道,必须将管道与预留孔洞边的空隙用防水砂浆堵实,或加套管。
③檐口、女儿墙泛水处的收口,应多涂几遍涂料,或用密实材料封严。
④屋面模板等强度达到100%再进行拆除。
⑤地漏周围直径500范围内坡度不小于5%,并用防水涂料或密实材料涂封,其厚度不小于2mm,地漏与砼基层的接缝处应留宽20、深20的凹槽,嵌填密封材料将接口处封严。
4、梁板开裂
①板的四个大角可采用密布钢筋网,以防板角裂缝。
②管线的埋置不允许过密,保证板的有效截面和钢筋的有效高度。
5、渗漏、开裂处理
所有渗漏问题必须在施工过程中解决,否则建设局不予验收,如出现渗水,应采用以下措施:
①先检查出漏水部位,再将渗漏范围尽量缩小,面漏缩为线漏,线漏缩小到一点或数点。
②做膨胀水泥砂浆抹面,先将基层清洗干净,并保持湿润,在处理好的基层上先抹压一层膨胀水泥净浆,约1~2mm厚,在净浆终凝前再抹压1:2膨胀水泥砂浆。常温下施工后8~12小时覆盖潮湿养护,并保持潮湿养护不少于14天。
渗漏产生的原因与防治措施表
| 产生渗漏的部位 | 产生渗漏的原因 | 渗漏防治措施 |
| 外墙砌体与梁、板、柱的连接处 | 1、连接处砂浆不饱满、不密实产生缝隙。
2、连接处因灰缝过宽而收缩开裂或因过窄而无法堵逢。 3、基层处理不净,产生脱离缝。 |
1、严格控制连接处灰缝的宽度与砂浆饱满度;
2、在连接处贴一条宽500密日钢丝网; 3、在钢丝网范围内采用防水砂浆抹灰。 |
| 外墙与铝合金窗框四周连接处。 | 基层处理不净、堵逢不严、空鼓、窗框角和钉眼封闭不严 | l、清净基层,刷水泥浆联结膜;
2、窗框四周支模灌防水砂浆; 3、窗周外侧300范围内采用防水砂浆抹灰。 4、窗框角和钉眼采用玻璃胶封注严密。 |
| 女儿墙与屋面结合处 | 1、结合处结构施工缝未清干净产生脱离缝;
2、结合处建筑构造不合理。 |
1、施工缝清理干净,先下50厚防水砂浆,再灌女儿墙砼;
2、女儿墙与屋面阴角处做好圆角泛水及滴水线。 |
| 卫生间楼面 | 1、管道周围封堵不严;
2、楼板薄、砼质量差; 3、楼面积水、排水不畅。 |
1、管道周围清净后,用防水砂浆分两次浇灌;
2、楼面做防水层; 3、楼面抹灰找坡后,要放水试坡,确定无积水再面层。 |
第五节 防止质量通病保证措施
1、模板工程
模板安装前,先检查模板的质量,不符质量标准的不得投入使用。
(1)柱模板:
通病现象:
炸模、断面尺寸鼓出、漏浆、混凝土不密实,或蜂窝麻面、偏斜、柱身扭曲、上、下节柱子错位。
防治措施:
①根据规定的柱箍间距要求钉牢固。
②成排柱模支模时,应先立两端柱模,校直与复核位置无误后,顶部拉通长线,再立中间柱模板。
③四周斜撑要牢固。
④安装上层外墙柱模时,把模板和竖压杆(方木)向已浇灌砼墙柱伸下50左右,再压下横杆,利用己浇灌砼原预埋螺杆箍紧模板,确保不漏浆,上下不错位。
(2)梁模板:
通病现象:
梁身不平直、梁底不平及下挠、梁侧模炸模、局部模板嵌入柱梁间、拆除困难、梁底漏浆。
防治措施:
①支模时应遵守边模包底模的原则,梁模与柱模连接处,下料尺寸一般应略为缩短。
②梁侧模必须有压脚板、斜撑、拉线通直后将梁侧钉固。梁底模板按规定起拱。
③混凝土浇筑前,模板应充分用水浇透。
④防止梁底部漏浆采用梁底部加可调架或在靠近梁底部位置加对拉螺杆加固。
(3)板模板:
通病现象:
板中部下挠,板底混凝土面不平。
防治措施:
①楼板模板厚度要一致,搁栅木料要有足够的强度和刚度,搁栅面要平整。
②支顶要符合规定的保证项目要求。
③板模按规定起拱。
(4)保护模板的拆模方法
①安装时最后在边角处安装小块长方形模板,当一个开间铺2块大模板,中间可有意铺1条小模板,拆模用铁撬先拆出这个小模板,然后用木楔楔入大块模,一块一块拆下。
②拆墙模、柱模或板模时均应用木楔先楔入,使模板与砼表面脱离,再用铁撬撬模。
2. 钢筋工程
(1)竖向钢筋偏位质量通病的防治措施
①在立框架柱的模板支撑系统前,应在柱子每侧的混凝土楼面上预埋中18的钢筋头作为支点,每侧不小于两点,并使斜支撑能与支点有牢固的连接,起到撑顶、反拉和调节垂直度的作用。
②图纸会审与钢筋放样时注意梁、柱筋的排列,尽量减少竖向主筋因排列问题而产生的位移。
③在梁柱节点钢筋密集处,在柱与梁顶交界处,扎筋时给框架柱增加一个限位箍筋,用电焊将它与梁的箍筋点焊固定,再将柱主筋逐一绑扎牢固,并沿柱高临时绑扎间距不大于@500的箍筋,确保节点处柱筋在浇砼时不会发生偏位。
④加强砼的现场浇筑管理工作,认真进行技术交底,严禁将整车或整料斗的砼直接灌注到柱、墙内,不得随意冲撞构件的钢筋骨架,应先将砼卸在盘板上。再均匀下料,分层浇筑,分层振捣,这样既能保证砼的施工质量,又可防止撞偏钢筋骨架。
⑤在进行竖向钢筋的搭接、焊接和机械连接前应先搭好脚手架,在上部通过吊线,用钢管固定出上部的箍筋位置,使接长的钢筋能准确地套在箍筋范围内,这样在脚手架上安装柱的钢筋,绑扎箍筋,既安全,又能保证框架柱骨架不扭曲、不倾斜,还能提高工效。
(2)钢筋加工
①钢筋开料切断尺寸不准:根据结构钢筋的所在部位和钢筋切断后的误差情况,确定调整或返工。
②钢筋成型尺寸不准确,箍筋歪斜,外形误差超过质量标准允许值:对于I级钢筋只能进行一次重新调直和弯曲,其他级别钢筋不宜重新调直和反复弯曲。
(3)钢筋绑扎与安装
①钢筋骨架外形尺寸不准:绑扎时宜将多根钢筋端部对齐,防止绑扎时,某号钢筋偏离规定位置及骨架扭曲弯形。
②保护层砂浆垫块厚度应准确,垫块间距应适宜,否则导致平板悬臂板面出现裂缝,梁底柱侧露筋。
③钢筋骨架吊装入模时,应力求平稳,钢筋骨架用“扁担”起吊,吊点应根据骨架外形预先确定,骨架各钢筋交点要绑扎牢固,必要时焊接牢固。
④钢筋骨架绑扎完成后,会出现斜向一方,绑扎时铁线应绑成八字形。左右口绑扎发现箍筋遗漏、间距不对要及时调整好。
⑤柱子箍筋接头无错开放置,绑扎前要先检查:绑扎完成后再检查,若有错误应即纠正。
⑥浇筑混凝土时,受到侧压钢筋位置出现位移时,就及时调整。
⑦同截面钢筋接头数量超过规范规定:骨架未绑扎前要检查钢筋对焊接头数量,如超出规范要求,要作调整才可绑扎成型。避免闪光焊工程质量通病
(4)对焊焊接
表面烧伤、接头轴线偏移和弯折,接头结合不良、接头氧化缺陷、接头过烧缺陷、热影响区淬火脆裂以及接头区域有裂纹等现象。
3、砼工程
(1)砼浇筑
①蜂窝。产生原因:振捣不实或漏振;模板缝隙过大导致水泥浆流失,钢筋较密或石子相应过大。预防措施:按规定使用和移动振动器。中途停歇后再浇捣时,新旧接缝范围要小心振捣。模板安装前应清理模板表面及模板拼缝处的黏浆,才能使接缝严密。若接缝宽度超过2.5mm,应予填封,梁筋过密时应选择相应的石子粒径。
②露筋。产生原因:主筋保护层垫块不足,导致钢筋紧贴模板;振揭不实。预防措施:钢筋垫块厚度要符合设计规定的保护层厚度;垫块放置间距适当,钢筋直径较小时垫块间距宜密些,使钢筋自重挠度减少;使用振动器必须待混凝土中气泡完全排除后才能移动。
③麻面。产生原因:模板表面不光滑;模板湿润不够:漏涂隔离剂。预防措施;模板应平整光滑,安装前要把粘浆清除干净,并满涂隔离剂,浇捣前对模板要浇水湿润。
④孔洞。产生原因:在钢筋较密的部位,混凝土被卡住或漏振。预防措施:对钢筋较密的部位(如梁柱接头)应分次下料,缩小分层振捣的厚度;按照规程使用振动器。
⑤缝隙及夹渣。产生原因:施工缝没有按规定进行清理和浇浆,特别是柱头和梯板脚。预防措施:浇注前对柱头、施工缝、梯板脚等部位重新检查,清理杂物、泥沙、木屑。
⑥墙柱底部缺陷(烂脚)。产生原因:模板下口缝隙不严密,导致漏水泥浆;或浇筑前没有先浇灌足够50mm厚以上水泥砂浆。预防措施:模板缝隙宽度超过2.5mm。应予以填塞严密,特别防止侧板吊脚;浇注混凝土前先浇足50~100m厚的水泥砂浆。
⑦梁柱结点处(接头)断面尺寸偏差过大。产生原因:柱头模板刚度差,或把安装柱头模板放在楼层模板安装的最后阶段,缺乏质量控制和监督。预防措施:安装梁板模板前,先安装梁柱接头模板,并检查其断面尺寸、垂直度、刚度,符合要求才允许接驳梁模板。
⑧楼板表面平整度差。产生原因:振捣后没有用拖板、刮尺抹平;梯级和斜水部位没有符合尺寸的模具定位;混凝土未达终凝就在上面行人和操作。预防措施:浇捣楼面应提倡使用拖板或刮尺抹平,梯级要使用平直、厚度符合要求和模具定位;混凝土达到1.2Mpa后才允许在混凝土面上操作。
⑨基础轴线位移,螺孔、埋件位移。产生原因:模板支撑不牢,埋件固定措施不当,浇筑时受到碰撞引起。预防措施:基础混凝土是属厚大构件,模板支撑系统要予以充分考虑;当混凝土捣至螺孔底时,要进行复线检查,及时纠正。浇注混凝土时应在螺孔周边均匀下料,对重要的预埋螺栓尚应采用钢架固定。必要时二次浇筑。
⑩混凝土表面不规则裂缝。产生原因:一般是淋水保养不及时,湿润不足,水分蒸发过快或厚大构件温差收缩,没有执行有关规定。预防措施:混凝土终凝后立即进行淋水保养;高温或干燥天气要加麻袋草袋等覆盖,保持构件有较久的湿润时间。厚大构件参照大体积混凝土施工的有关规定。
缺棱掉角。产生的原因:投料不准确,搅拌不均匀,出现局部强度低:或拆模板过早,拆模板方法不当。预防措施:指定专人监控投料,投料计量准确;搅拌时间要足够;拆模应在混凝土强度能保证其表面及棱角在拆除模板不受损坏时方能拆除。拆除时对构件棱角应予以保护。
钢筋保护层垫块脆裂。产生原因:垫块强度低于构件强度;沉置钢筋笼时冲力过大。预防措施:垫块的强度不得低手构件强度,并能抵御钢筋放置时的冲击力;当承托较大的梁钢筋时,垫块中应加钢筋或铁丝增强;垫块制作完毕应浇水养护。
柱混凝土强度高于梁板混凝土强度时,应按图在梁柱接头周边用钢网或木板定位,并先浇梁柱接头,随后浇梁板混凝土。
计量不准确。砂、石、水泥(包括散装水泥和水)未经计量或计量不准;外加剂没有按程序操作,而导致混凝土质量下降。
有台阶的构件,应先待下层台阶浇筑层沉实后再继续浇筑上层混凝土,防止砂浆从吊板下冒出导致烂根。
浇筑悬臂板应使用垫块,保证钢筋位置正确。
严禁踩踏钢筋,确保钢筋配置符合设计要求。
(2)混凝土缺陷的处理:
①麻面:先用清水对表面冲刷干净后用l:2或1:2.5水泥砂浆抹平。
②蜂窝、露筋:先凿除孔洞周围疏松软弱的混凝土,然后用压力水或钢丝刷洗刷干净,对小的蜂窝孔洞用1:2或l:2.5水泥砂浆抹平压实,对大的蜂窝露筋按孔洞处理。
③孔洞:凿去疏松软弱的混凝土,用压力水或钢丝刷洗刷干净,支模后,刷涂纯环氧水泥浆进行封闭处理;裂缝较严重时,可用埋管压力灌浆。
(3)泵送砼
①混凝土输送管道的直管布置应顺直,管道接头应密实不漏浆,转弯位置的锚固应牢固可靠。
②混凝土泵与垂直向上管的距离宜大于10m以抵消反堕冲力和保证泵的振动不直接传到垂直管,并在垂直管的根部装设一个截流阀,防止停泵时上面管内混凝土倒流产生负压。
③向下泵送时,混凝土的坍落度应适当减小,混凝土泵前应有一段水平管道和弯上管道才折向下方。并应避免垂直向下装置方式以防止离析和混入空气,对压送不利。
④凡管道经过的位置要平整,管道应用支架或木垫枋等垫固,不得直接与模板、钢筋接触,若放在脚手架上,应采取加固措施。
⑤垂直管穿越每一层楼板时,应用木枋或预埋螺栓加以锚固。
⑥对施工中途新接驳的输送管应先清除管内杂物,并用水或水泥砂浆润滑管壁。
⑦尽量减少布料器的转移次数,每次移位前应先清出管内混凝土拌合物。
⑧用布料器浇注混凝土时,要避免对侧面模板的直接冲射。
⑨垂直向上管和靠近混凝土泵的起始混凝土输送管宜用新管或磨损较少的管。
⑩使用混凝土时,如发现坍落度损失过大(超过2cm),经过现场试验员同意,可以向搅拌车内加入与混凝土水灰比相同的水泥浆,或与混凝土配比相同的水泥砂浆,经充分搅拌后才能卸入泵机内,严禁向储料斗或搅拌车内加水。
泵送中途停歇时间一般不应大于60min,否则要予以清管或添加混凝土,以保证泵机连续工作。
最初泵出的砂浆应均匀分布到较大的工作面上,不能集中一处浇筑。
若采用场外供应预拌混凝土时,现场必须适当储备与混凝土配比相同的水泥,以便制砂浆或自拌少量混凝土。
泵送过程,要做好开泵记录、机械运行记录、压力表压力记录、塞管及处理记录、泵送混凝土量记录、清洗记录,检修时做检修记录,使用预拌混凝土要做好坍落度抽查记录。
4、砌体工程
①墙身轴线位移。造成原因:在砌筑操作过程中,没有检查校核砌体的轴线与边线的关系,以及挂准线过长而未能达到平直通光一致的要求。
②水平灰缝厚薄不均。造成原因:在立皮数杆(或框架柱上画水平线)标高不一致,砌砖盘角的时候每道灰缝控制不均匀,砌砖准线没拉紧。
③墙面游丁走缝。造成原因:砖的长、宽尺寸误差较大,砌前没有进行实测及挑选,排砖撂底时没有把竖缝排列均匀,或没将窗口位置引出,使砖的竖缝尽量与窗口边线相齐,在砌筑操作过程中,没有注意到丁砖的中线必须与下层条砖的中线相重合而造成游丁走缝,上下竖缝发生错位;没有在沿墙面每隔2m间距左右竖缝处用托线板吊直弹线向上引伸作为控制游丁走缝的基准。
④同一砖层的标高差一皮砖的厚度。造成原因:砌筑前由于基础顶面或楼面标高偏差过大而没有找平理顺,皮数杆不能与砖层吻合.在砌筑时,没有按皮数杆控制砖的皮数。
⑤墙面粗糙。造成原因:砌筑时半头砌集中使用造成通缝,一砖厚墙背面平直度偏差较大;溢出墙面的灰渍(舌头灰)未刮平顺。
⑥构造柱未按规范砌筑。造成原因:构造柱两侧砖墙没砌成马牙槎,没设置好拉结筋及从柱脚开始先退后进:当齿深120mm时上口一皮没按进60mm后再上一皮才进120mm;落入构造柱内的地灰、砖渣杂物没清理干净。
⑦墙体顶部与梁、板底连接处出现裂缝。造成原因:砌筑时墙体顶部与梁板底连接处没有用侧砖或立砖斜砌(60°)顶贴挤紧。
5、楼地面工程
(1)水泥砂浆面层
①起砂、起泡:
其原因有:水泥质量不好(过期或受潮至使强度降低),水泥砂浆搅拌不均匀,砂子过细或含泥量过大,水灰比过大,压光遍数不够及压光过早或过迟,养护不当等。因此,原材料一定要经试验合格才可使用:严格控制水灰比,用于地面面层的水泥砂浆稠度不宜大于5cm(以标准圆锥体沉入度计);掌握好面层的压光时间。水泥地面的压光一般不应少于三遍。第—遍随铺随进行,第二遍压光应在初凝后终凝前完成,第三遍主要是消除抹痕和闭塞细毛孔,亦切忌在水泥终凝后进行,连续养护时间不少于7昼夜。
②面层空鼓(起壳):
其原因有:砂子粒度过细,水灰比过大,基层清理干净,基层表面不够湿润或表面积水,未做到素水泥浆随扫随做面层砂浆。因此,在面层水泥砂浆施工前应严格处理好底层(清洁、平整、湿润),重视原材料质量,素水泥浆应与铺设面层紧密配合,严格做好随刷随铺。
(2)地砖面层
①面料与基层空鼓:主要是由于基层清理不够干净,不够湿润;水泥浆涂刷不均匀或结合层完成后放置时间过久,铺贴块料时没有洒水湿润;釉面砖、水泥花阶砖铺贴前没有浸水润湿;陶瓷锦砖铺贴前没有用毛刷沾水刷去表面尘土;水泥膏抹涂不均匀等。
②错缝:面料尺寸规格不一,事前没有认真挑选分类使用;铺贴时没有认真严格按挂线标准及对好缝。
③相邻两板高低不平:由于块料本身不平正,铺贴操作不当,铺贴后过早上人行走踩踏或堆物品(有时还出现松动现象)。
6、门窗工程
(1)木门窗制作
①窜角:门窗框装拼后有个别框不符合标准,因钉斜拉条时不仔细,漏钉或少钉,钉时不注意斜拉条厚度,用钉伸入框内深度不够,影响框四周牢固。
②翘曲:门窗框、扇装拼时用的台架不注意水平,堆放时不平稳,垫木距离过大。
③表面精光时不注意门窗框、扇面与台架接触部分突出的硬物,移动时磨损表面。
(2)木门安装
①有贴脸的门窗框安装后与抹灰面不平,主要因为立框时没掌握好抹灰层的厚度。
②门窗框与门窗洞缝隙过大或过小;安装门窗框时事先没有量一下洞口的尺寸,计算缝隙宽度,安装时心中无数。可以在安装时以缝隙、标高及平水线来调整,使之满足各要求,混水墙如果洞口尺寸小,可以把砖墙剔掉一部分再安装;清水墙不允许剔凿,偏差在2cm以内的,把框的两根立梃各修掉一部分再安装,超出20mm的,可把框、扇同时分匀改小。
③门窗框安装不牢:
a、由于预埋的木砖数量少或将木砖碰松木砖不牢,砌墙时直接木砖,干后木砖收缩活动,应在向砌体面钉上钉子,增加摩擦部分。为保证门窗框安装牢固要求,木砖的设置一定要满足数量和间距要求。2m以内高的门窗框每边不少于3块木砖,木砖间距应在0.8~0.9m为宜;2m高以上门窗框,每边木砖间距不得大于1.2m。
b、钉子伸入木砖及砌体深度不够,固定不牢,为满足门窗框安装牢固,钉子进入木砖或砌体内应有40~50mm。
④合页铰不平,螺丝松动,螺丝钉倾斜,缺少螺丝;合页铰槽深浅不一,安装时螺丝钉钉入太长,或倾斜拧入。因此合页铰槽应深浅一致,安装螺丝钉严禁一次钉入,钉入深度不得超过螺丝长度1/3,拧入深度不得小2/3,拧时不得倾斜;安装时如遇木节,应在木节上钻眼,重新塞入木塞处理后再拧螺丝。同时应注意拧足螺丝数。
(3)塑钢门窗安装
①门窗框固定不好,水平度、垂直度、对角线长度等超差,门窗框起鼓变形:门窗框临时固定后,在填塞与墙体缝隙时,注意不要使门窗框移位倾斜变形,应待门窗框安装固定牢固扣再除掉定位木楔或其它器具。
②铝门窗表面腐蚀变色:施工时严格做好产品保护,及时补封好破损掉的保护胶纸和薄膜,并及时清除溅落在铝门窗表面的灰浆污物。
③门窗扇玻璃密封条脱落:玻璃厚度与扇挺镶嵌槽及密封条的尺寸配合要符合国家标准及设计要求,安装密封条时应留有伸缩余量。
④门窗表面划痕:使用工具清理铝门窗表面时不得划伤、割伤塑钢型材表面。
⑤外观不整洁:门窗表面胶污尘迹应用专门溶剂或洁净的水及棉纱清洗掉,填嵌密封胶多余的胶痕要及时清理掉,确保完工的铝门窗表面整洁美观。
(4)玻璃安装
①渗水:因密封不好,构造处理不妥造成。其防治措施,应在横竖框的相交部位,注上防水密封胶。注胶时,杠的表面务必清理干净,否则会影响胶的密封性能,有些外露室外钻直径4mm的小孔,一旦有水渗入框内,可通过这个小孔排出。
②密封质量不好:要克服这种毛病,其一,要按设计要求,选择封缝材料,施工中漏封的缝要及时补上。其二,用橡胶条封缝的的窗扇,应在转角部位注上密封胶,使其粘结。窗外侧的封缝材料应使用密封胶。
③大块玻璃安装施工注意事项:
a、裁划5~6mm厚的大块玻璃,人站在地上无法裁划,因而有时需脱鞋站在玻璃上裁划,裁划前必须在工作台上垫绒布,使玻璃受压均匀,裁划后双手握紧玻璃,同时向下扳脱,不得粗心大意而造成整块玻璃破裂。
b、对大块玻璃来说,玻璃与框架的结合处留缝非常重要,不可忽视,否则在受热变化时,玻璃将会开裂。
c、安装大块玻璃时,应用玻璃吸盘吸住玻璃,然后手握吸盘器把玻璃提起来安装。根据玻璃大小,可同时由两人或几个人使用吸盘来一齐抬玻璃。
7、装饰工程
(1)、一般抹灰
1)、门窗洞口,墙面、踢脚板、墙裙上等抹灰空鼓、裂缝,其主要原因有如下几点:
①门窗框两边塞灰不严,墙体预埋木砖间距过大或木砖松动,经门窗开关振动,在门窗框周边处产生空鼓、裂缝。应重视门窗框塞缝工作,设专人负责堵塞实。
②基层清理不干净或处理不当,墙面浇水不透,抹灰后,砂浆中的水分很快被基层(或底灰)吸收。应认真清理和提前浇水。
③基底偏差较大,一次抹灰过厚,干缩率较大。应分层找平,每遍度宜为7~9mm。
④配制砂浆和原材料质量不好或使用不当,应根据不同基层本配制所需要的砂浆,同时要加强对原材料的使用管理工作。
2)、抹灰面层起泡,有抹纹、开花(爆灰)。主要原因有如下几点:
①抹完面层灰后,灰浆还未收水就压光,因而出现起泡现象。在基层为混凝土时较为常见。
②底灰过分干燥,又没有浇透水,抹面层灰后,水分很快被底层吸去,因而来不及压光,故残留抹纹。
③淋制石灰膏时,对过大灰颗粒及杂质没有过滤好,灰膏熟化时间短。抹灰后,继续吸收水分熟化,体积膨胀,造成抹灰面出现开花(爆灰)现象。
3)、抹灰表面不平,阴阳角不垂直,不方正。主要是抹灰前吊垂直,套方以及做坍饼、冲筋不认真,或冲筋后间隔时间过短或过长,造成冲筋被损坏,表面不平:冲筋与抹灰层收缩不同,因而产生高低不平,阴阳角不垂直,不方正。
4)、门窗洞口、墙面、踢脚板、等面灰接槎明显或颜色不一致。主要是操作时随间留施工缝造成。留施工缝应尽量在分格条、阴角处或门窗框边位置。
5)、踢脚板和窗台板上口出墙厚度不一致,上口毛刺和口角不方等。主要是操作不细,墙面抹灰时下部接近踢脚板等处不平整,凹凸偏差大,或踢脚板等施工时的没有拉线找直,抹完后又没有把上口赶平、压光。
6)、管道背后抹灰不平。主要是工作不认真细致,没有分层找平、压光。
(2)釉面砖工程
①空鼓:基层清理不够干净;抹底子灰时,基层没有保持湿润;面砖铺贴前没有事先泡浸或底子灰面没有保持湿润;面砖背抹水泥不够均匀或量不足;砂浆配合比不准,稠度控制不好,砂浆中含砂量过大,以及粘贴砂浆不饱满,面砖勾缝不严均可引起空鼓。
②墙面脏:主要因为铺贴完成后,没有及时将墙面清洗干净,贴砖用水泥膏粘着砖面,以及擦缝时没有将多余白水泥彻度清干净。此时可用棉纱蘸2%稀盐酸刷洗,然后用清水冲净即可。
(3)乳胶漆工程
①透底:产生原因是涂层薄,因此刷乳胶漆时除应注意不漏刷外,还应保持乳胶漆的稠度,不可随意加水过多。有时磨砂纸时磨穿腻子也会出现透底。
②接槎明显:涂刷时要上下顺刷,后一排笔紧接前一排笔,若间隔时间稍长,容易看出接头,因此大面积涂刷时,应配足人员,互相衔接。
③刷纹明显:乳胶漆稠度要适中,排笔蘸漆量要适当,多理多顺防止刷纹过大。
④刷分色线时,施工前认真划好粉线,用力均匀,起落要轻,排笔蘸漆量要适当,从上至下或从左至右刷。
第七章 工期保证措施
为了让这项重要工程早日发挥作用,我们决定提前将其交付使用。我们有信心、有决心打好这一硬仗,为用户提供满意产品,为建设单位争光,也为我们树立一块好牌子。为此,拟采取以下措施,在保证质量和安全的基础上,确保施工进度:
1、施工管理保证措施:
(1)加大施工管理力度,制定切实可行连续施工保证措施,发挥国有大型企业优势,依靠我司雄厚的施工技术力量,进行有效的科学管理,确保各项计划如期实现。在“项目管理”的基础上实行“目标管理”。
-
- 根据质量目标,安全目标,工期目标,新技术推广应用目标等,在工程施工中采取“工序管理”模式,随时随地按国家质量标准跟踪检查,力争一次完成,确保分项工程按期完成。
- 对班组实行经济责任承包,提高劳动效率,实行按劳分配,奖勤罚懒,奖优罚劣的规章制度和生产责任制制度。
2、设备投入保证措施:
-
-
- 本工程工期紧、工作量较大,为了保证本工程如期竣工,我们依据本工程结构特点,加大对本工程机械设备必要的投入。
- 垂直运输选用两台QTG400型塔吊和三台QTZ630型塔吊,两台程控升降机,三台SCD200/200施工电梯,三台HBT60C砼输送泵,五台液压式砼布料机,以及钢筋加工、焊接、机械连接等设备,并根据工程进度需要及时组织机械设备进场。
- 剪力墙模板全部采用全钢大模板,顶板模板采用双面覆塑住脚板模板,顶板模板投入量至少两层半,剪力墙模板为一层,分段组织流水施工,加快模板安装和拆除速度,从而加快了工程进度。
-
3、施工技术(工艺)保证措施:
(1) 坚持科学技术是第一生产力,积极推广先进的施工工艺和施工方法。在工程中,模板采用胶合板大模板和定型柱模板;主要受力钢筋采用HRB400级高强度钢筋,竖向钢筋选用机械连接施工工艺;砼采用砼一次泵送施工工艺等。严格贯彻施工操作规程、安全操作规程,坚持持证上岗制度,保证工程质量,加快施工进度。
-
- 发扬技术力量雄厚的优势,大力应用、推广“三新项目”(新材料、新技术、新工艺),运用GB/T 19001-2000(idt:ISO9001-2000)质量管理体系、网络计划、计算机等现代化的管理手段或工具为本工程的施工服务。
4、人力资源保证措施:
(1) 做好劳动力安排,根据工作面和实际情况,满足劳动力需要,确保下道工序按期或提前进入。在节假日及农忙季节,必须确保现场劳动力的充足,做到早预测、早安排、早落实,决不能造成施工停滞。
-
- 施工过程中加强劳动力的管理,提高工作效率,在基础、地下室及主体施工阶段要确保两班倒作业,以加快施工进度,为后期装饰装修留出充足时间。
- 装饰工程是建筑施工工期滞后的一个重要因素,我们决定采取分段作业方法施工,上足劳动力,以加快施工进度。
5、分段流水施工作业
-
- 按照进度计划组织分段流水和立体交叉施工,抓住关键工序,密切各方面配合,缩短工期。
- 根据工序要求组织连续施工,钢筋、模板、浇筑砼等工序组织二班(或三班)制连续施工。
- 在每个施工段内组织小流水施工,各工序之间穿插作业,要以施工工序为主线,安排工序穿插交接,施工一段,验收一段,交接一段,集中优势兵力打歼灭战,以满足施工进度需要。
- 对影响施工进度的关键工序,项目部经理亲自组织力量,加班加点进行突击,有关管理人员要跟班作业,确保关键工序按时完成.
6、计划管理措施:
(1)认真做好施工前期各项准备工作,严格执行计划管理,切实抓好各项计划的落实,保证网络计划确定的分阶段目标。
-
-
- 根据施工总进度计划,编制月、旬施工作业计划并及时向各级施工人员进行交底,明确各个阶段分项工期控制目标,按目标组织施工。
- 施工所需的机械设备、模板、钢化物资、材料、构配件要按形象进度提出计划,材料部门要保证提前供应到现场。
-
7、作好施工准备工作
-
- 配备专业技术骨干负责施工准备工作,及时准确的提出材料计划和构配件供应计划。
- 加强材料供应部门力量,保证材料及构配件如期供应到现场,以满足施工进度的需要。
8、认真执行调度会议制度
(1) 项目部每月对计划完成情况进行一次检查,每周召开一次施工进度会议,每天一次现场生产碰头会,保证生产中出现的问题及时得到解决。
(2) 与相关单位建立必要的协调会议制度,加强经常性的联系和协商,保证配合默契,顺利施工。
9、加强大型施工机械维修和保养工作
根据本工程实际需要,设机械维修班组,有计划地配备必要的机械另部件,对所有施工机械定期进行维护和保养,对机械故障及时进行抢修,保证施工顺利进行。
10、经常定期检查各项计划的执行情况,包括形象进度、物资供应及管理工作进展,针对存在问题及时采取措施加以解决,确保关键工序按预期计划执行。制定严格的奖惩措施,对工期有重大影响的工序实行重奖重罚。
11、搞好施工配合工作
- 安装与装饰工程施工,在控制性网络计划指导下,加强对专业施工分包单位的计划管理和协调配合,科学安排各工序,实现结构工程、安装工程、装饰工程与专业分包队伍的立体交叉和空间流水作业,加强现场质量管理,重视收尾工作。
- 土建、安装以及分包单位密切配合,互创条件,保持良好的团结协作氛围。在不影响总进度的条件下,土建应先作好卫生间内粉,为卫生器具安装和设备安装创造条件。安装应抢先作好竖井内电缆桥架及各种管道,为土建封闭创造条件,以保工期。
12、做好安全防护工作,不能因安全因素影响施工进度。
13、抓好测量工作,力争在最短的时间精确地放出各楼层的轴线和标高,提早给施工创造工作面。
14、抓好成品保护,减少返工造成的工时浪费。
15、搞好后勤保障工作
- 执行劳动保护制度,解决好职工的食宿、娱乐问题,确保职工精神愉快。
- 后勤服务人员要作好生活服务供应工作,重点抓好吃、住两大难题,工地食堂的饭莱要保证品种多、味道好,同时开饭时间要随时根据施工进度进行调整。
第八章 施工部署
第一节 施工指导思想
一、本工程的总体目标:
(1) 工程质量:确保“合格”工程,达到“长安杯”优质工程质量标准。
(2) 工程进度:按业主规定的460天工期提前完成。
(3) 安全生产:防止重伤,杜绝死亡,达到无重大伤亡事故,无重大机械事故,无食物中毒事故等“四无”要求。按建设部颁布的“一标三规范”达标。
(4) 文明施工:达到市级安全文明工地标准。
(5) 新技术应用:创建省级新技术示范应用工程。
(6) 按项目管理的要求组织各专业工种的平衡、交叉流水作业,通过有效的协调指挥,使整个工地自始自终保持最优化组合和最佳工效。
二、服务宗旨
贯彻“质量第一,用户至上”的服务宗旨,提供优秀的产品质量和优质的服务,从施工过程到工程回访,一切以顾客为关注焦点,展开质量活动,确保满足顾客要求。
第二节 总体部署及主要施工方案的选定
1、总体部署:
根据施工图纸的内容及建设单位招标书对工期质量的要求,通过现场察看工程施工环境和施工条件,综合考虑本工程的有利条件和不利因素以及工程特点,结合本公司拥有足够的施工机械设备的优势和其他有利条件,综合制定出切实可行、科学合理的施工组织方案。本工程拟定采取“突出重点、全面开展、纵横穿插”的立体交叉施工方案。
2、方案中心内容就是采用网络控制技术。计划不仅考虑了各工序的主次矛盾关系,也综合考虑了机械、设备、材料的相联关系,使各工种以及协作配合单位都能实施紧密的交叉流水搭接施工。
3、加强计划的平衡安排,特别是用料(包括设备周转)计划,要力求详尽、准确,杜绝停工待料现象,并根据每月、每周完成作业计划的实际情况,及时调整下月或下周计划。在工作安排上,千方百计保证关键线路、关键工序的作业。
4、配备足够的劳动力和施工管理人员,做到连续、均衡施工。
5、密切与各合作单位的联系协作,派专人对口,及时互通信息,保证施工顺利进行。
6、主要施工方案的选定
(1) 本工程为剪力墙结构,剪力墙模板全部采用全钢清水大模板,顶板模板采用双面覆塑竹胶板,支撑体系采用∅48钢管、50×100、100×10木方混合体系,确保砼表面达到清水不抹灰效果。
(2) 钢筋现场加工制作,钢筋接长∅18以下以搭接为主,∅18(含∅18)以上钢筋接长采用机械连接。
(3) 钢筋保护层控制采用塑料垫层专用卡,确保钢筋保护层厚度满足规范要求。
(4) 外脚手架采用双排扣件式钢管脚手架,密目式安全围网全封闭防护,人行通道搭设安全防护棚,满铺双层竹架板和安全网,并用竹笆片做护栏,以保证行人安全
(5)主要机械设备选用:垂直运输机械为两台QTG-400型施工塔吊,三台QTZ63型施工塔吊,两台高速程控升降机,三台SCD200/200施工电梯,三台HBT60C砼输送泵,钢筋调直机3台,钢筋弯曲机4台,钢筋切断机3台,闪光对焊机2台。
第三节 施工准备
一、 技术准备工作
1、 进场后做好施工测量与有关资料的接收和准备工作,详细复核有关红线点、水准点,布设现场临时用电线路、临时用水管线和其它的临时设施,施工塔吊基础,并尽早安装塔吊。
2、熟悉和会审施工图纸,组织工程技术人员认真学习施工图纸,了解施工图纸的设计意图,全面熟悉和掌握施工图纸的全部内容,检查各专业之间的预埋件、预留洞位置的尺寸是否统一或遗漏,提出改进设计便于施工的合理化建议。
3、 编制施工组织设计和施工方案,阐明施工工艺和主要项目施工方法,劳动力组织和工程进度,质量和安全的保证措施,收集以前施工的各种经验性的资料,针对本工程的特点和难点,编制切实可行的分项施工方案。
4、 技术交底。在工程开工前,工程技术负责人分别组织参加施工的人员进行技术交底,应结合具体操作部位,关键部位和施工难点的质量要求,操作要点及注意事项进行交底。技术交底采取“双层三级制”,即技术负责人同班组长和质检员接受交底后要认真反复地学习。班组长接受交底后要组织工人进行反复学习,认真贯彻执行。
5、 编制施工图预算。
二、 物资、机具准备
1、建筑材料及安全防护用品准备:对水泥、钢材、木材三大建筑材料,特殊材料等,均应根据实际情况做好计划,分批进场,编制各项材料计划表,对各种材料的入库,保管和出库制订完善的管理办法。
2、施工机具设备:施工中计划投入的大型施工机械包括塔吊、砼搅拌机、砼输送泵、双笼施工电梯、砼布料机等及施工中所需的各种中小型机具设备均齐备完好,进场前全面检测、保养,按计划及时进场就位。同时及时进行砼、砂浆配合比设计和各种原材料,试件、试块的送试检验和试验工作。
三、现场准备
施工管理人员进场后,做好如下准备工作:修整施工出入口,作好地面排水沟、车辆冲洗台,搭设平面布置图中的临建设施,施工塔吊基础等。
第九章 施工技术措施
第一节 确保工程质量的施工技术措施
一、施工技术措施:
除“施工方案”中叙述的施工技术措施以外,还将采取以下措施:
(1)、严格执行GB/T 19001-2000 (idt:ISO 9001-2000)质量管理体系标准,按程序文件进行质量管理,按作业指导书进行操作,是质量水平保持稳定、连续并不断上升的根本保证。
(2)、加强技术管理,认真贯彻执行国家规定、操作规程和各项管理制度,明确岗位责任制,认真做好技术交底工作,除进行书面交底外,还应组织各班组召开技术交底会,对施工难点和重点进行讲解。
(3)、各种不同材料必须合理分类、堆放整齐。对于钢筋须挂牌标示,避免锈蚀和污染。加强原材料检验工作,严格执行各项材料的检验制度,水泥、钢材及搭设架子的钢管、钢丝绳都必须有出厂合格证和试验资料。砼严格按配合比施工,认真做到开盘交底和拆模申请制度。
(4)、按照工程图纸会审与技术交底程序要求,项目部收到图纸和文件后,项目总工程师要组织有关部门人员对工程技术文件进行审查,提出意见,当参加由顾客主持的工程图纸会审后,会审结论由顾客形成纪要发给公司和项目部,设计单位以图纸或文件形式对所提意见予以确认后方可施工。
(5)、工序作业开始前,项目生产安全组应向有关作业班组人员进行技术交底,明确施工方法技术和质量要求,施工中须重点注意的内容,对作业人员提出的问题进行解答。交底应以口头交底和书面交底相结合,并填写工程技术交底书。
(6)、坚持图纸会审制度、技术复核和隐蔽验收制度、安全技术交底制度、自检互检(交接检)专检制度、重要工序挂牌制度、施工样板制度等。
(7)、实行砼浇灌令制度。在原材料证明、试验报告、砼配合比报告、隐蔽验收、技术复核等资料齐全后,由项目负责人填写砼浇灌命令,报质检部门审查,由总工程师批复签字,才能允许开盘浇灌砼。
(8)、加强定位放线的测量复核工作,制定测量控制方案,指定专业测量人员负责测量放线工作。重点控制轴线、标高、几何尺寸建筑物垂直度、电梯井垂直度、门窗洞口位置等,对高层垂直偏差和高程控制以及楼层放线,应设立专门测量放线小组。测量仪器及计量器具必须经检验后,方可使用,并定期对其进行校核,避免仪器偏差。
(9)、砼必须按规定现场取样留置规定数量的试件,并对砼坍落度进行随机抽检并作好记录。考虑到拆模需要,每次多留置一组同条件养护试件,测定拆模时的砼强度,确定拆模时间。
(10)加强工种间的配合与衔接,综合解决土建、设备安装、水电安装等预留孔洞等问题,杜绝因预留孔位置不准确再次錾凿砼。
(11)多水房间必须做渗水试验,尤其是卫生间、厨房间经过渗水试验后,房间不漏水,才能施工该间地坪。
(12)水池主体完工后,应进行水池满水试验,并作好记录,对渗漏部位认真作好处理,试水完毕后方可进行面层施工。
(13)装修工程严格贯彻“把关”和“积极预防”相结合的质量管理办法。坚持预先定标准,定样板,定材料和定做法。进场材料,半成品均应执行验收手续,无出厂合格证明的材料不得进场,不符合要求的材料不得使用。
(14)运用全面质量管理原理和方法,推行质量预控法,强化工序质量管理。确保主体优良的基础上,狠抓装修、安装工程质量,保证使用功能。在装修工程施工中要着重抓细部做法,以提高装饰水平。
(15)推行QC小组活动,进行技术质量攻关。执行行政和经济手段,奖优罚劣。积极开展技术比赛,推行样板制度,以推动工程质量的提高。
(16)认真作好本工程的技术资料、音像、图片资料收集和整理。工程技术资料应随工程进度同步进行,确保技术资料及时、准确、齐全完整,实际反映和记录工程质量情况。
二、主要工序施工技术措施
1、测量放线
设立专门的测量放线小组,测量仪器及工具事先检查、定期校正。测量控制的重点是保证建筑物垂直的控制。
2、模板工程
模板工程是影响工程质量好坏的重要环节,本工程拟采用“一次成优”的质量控制法,以便在结构工程施工时为装饰工程提供优越的条件。
(1)工程技术人员在工序开工前将各工序部位的模板安装图详细绘出,工人按图施工,质检员严格按图检查验收。
(2)认真做好工序交接检,当钢筋工程完工后应组织钢筋、木工班组长和技术员进行现场交接检,凡钢筋位置不符合要求的必须整改完后方可封模。
(3)提高模板施工质量标准,垂直平整度均要在规定范围之内,尤其要重视外墙垂直度,这是影响工程质量的一个重要因素。
(4)模板拆模后要进行清理修正,涂刷隔离剂后才能继续使用。
(5)为保证板缝能满足优良标准要求,在模板安装完毕后,应用透明胶纸粘贴板缝。
3、钢筋工程
(1)钢筋进场后要及时进行原材料检测试验,合格材料方可使用。
(2)钢筋工程施工前要认真做好翻样、交底工作。钢筋密集处既保证钢筋位置准确,又要保证砼顺利浇捣。
(3)钢筋工程安装后,工程质检人员应对钢筋进行检查,做好隐蔽验收。重点进行下列内容检查。根据设计图,检查钢筋的种类、直径、根数、间距是否正确,特别要检查负筋位置是否准确:检查钢筋接头位置及搭接长度是否符合要求;绑扎是否牢固、有无松动脱变现象,检查砼保护层是否符合要求,检查钢筋对焊接头是否符合要求。
(4)由于钢筋偏位历来是工程施工中的质量通病,因此本工程在施工中将采取在顶板模上进行二次放线的方法,对墙、柱筋进行重复校核,在浇砼前还要再三复核墙、柱筋位置是否正确。
(5)为确保钢筋的保护层厚度,采用塑料垫块,克服钢筋保护层厚度不均匀匀的现象,且方便施工。
4、砼工程
(1)严格执行材料进场验收制度,特别是对水泥要有计划地提前做好化验工作,杜绝不经化验而先使用的现象。
(2)预拌砼到现场后要有专职质检员进行检验。
(3)作业面设技术人员和专职质检员跟班作业,对振捣密实度、下料方法、高低差留置、平整度、墙柱钢筋进行监督检查,对不符合施工工艺标准的将行使质量否决权,有权下令停工修复,直至符合工艺标准才能继续施工。
5. 装饰工程
(1)坚持样板引路制度,在工程进入装修阶段后,要先作样板间或样板块,经有关人员验收认可后,方可大面积施工。
(2)实行跟班检查制度,在施工过程中施工员和质量检查员要随施工工序进行跟踪检查验收达不到质量验收标准,必须及时返工或整修。实行质量否决制度,在经济上要奖优罚劣。
第二节 安装与土建配合施工技术措施
安装工程预埋管工作内容有:电源引人预埋套管、通讯引入预埋套管、水源引人预埋套管、排水排污预埋套管,以及混凝土贮水池上预埋套管等。施工特点是数量多,分布面广,工作繁琐,加以土建施工为主,稍有疏忽,极易发生渗漏和位置不准等缺陷,影响工程质量。为此,安装应给予配合,并重点做好下述几项工作:
(1)在土建预埋过程中安装单位应指定专责人员进行复测和检查,包括数量、标高和位置尺寸,直至符合要求。
(2)电气配管的预埋施工
预埋的电管除应保证数量、材质、走向、标高符合设计要求外,还应保证以后电线能顺利从管内穿过、管口和接线盒不堵塞为此施工人员应做好各道施工作业,如电管弯头处不能弯扁,连续弯头不能过于集中,弯曲半径不能太小,外露管口和接线盒要加盖保护好,防止浇灌混凝土时被堵塞,质量检查员要及时进行检查,认真作好隐蔽工程验收签证。
(3)管井内立管安装施工
立管预制后需进行检查,符合质量要求后才能交付安装。如管口组对不好、焊接不符要求、直线度偏差过大,都应整改至符合要求为止。安装后的立管必须固定牢固,位置和垂直度正确,然后进行水压试验或通球试验,保证立管不漏不堵。井道内应做好施工人员站位、照明和防物件打击的隔离措施,保施工安全。
(4) 认真做好管道试漏、通球试验和试压,保证使用中不漏、不堵和承压不变形。这在民用建筑,尤其是民用高层建筑中,是很关键的一项工作,应予以重视,并采取切实有效措施,认真做好。首先,对安装完的每一套卫生洁具,逐一进行盛水试验,管道和接头均应畅通,严密不漏,作出记录后进行验收签证。试验合格后的每套卫生洁具,要有相应的产品防护措施,不使有遭受损坏的可能。当盛水试验发现有堵、有漏缺陷,必须整修完好,否则不能验收交工。排水管道必须逐根进行盛水试验和通球试验,以保证不漏不堵。通球试验的方法是用硬质橡胶圆球从立管上部吊入管内,逐段检查,至全部疏通为止。对于其他各系统承压管道,安装后必须逐一进行水压试验,以保证承压后管道严密不漏和足够的承压强度。由于管道系统多,分布面广,工作量大,需要全面规划,统筹安排,编好试压方案,划分系统,画出试压系统图,有计划地分区分系统进行。每一次试压应有一张试压系统图,图上表示出每一次试压的范围,标明水压试验压力、进水地点、排水场合、设盲板的管口、试验泵接口及压力表设置位置等。水压试验压力一般为该系统管道工作压力的1.25倍。试压的方法和顺序应按图所示曲线图进行,达到严密不漏(包括每一焊口和每一接口)、表压力不降、各处无变形为合格。
试压时应注意:从低处进水,最高处放空,有利于清除系统中积余空气,不影响试压。反之,系统中积有空气,会影响试压的进行,甚至由于空气的可压缩性,还会导致压力表读数失真。每次试压系统上至少应设置2个校验合格的压力表,其中1个设置在试验泵出口处,另1个设在系统管道上,读数应以系统上压力表为准。
试验升压应缓慢进行,不宜过快。当升至试验压力时,停泵稳压5min,如无压力下降现象,接着缓降至工作压力,并在稳压下进行全面检查,如无泄漏,表压力下降不大于0.049MPa为合格。但在试验压力下不能长期停留,也不能在试验压力下组织人员全面检查。必须按规范的要求实施。在试验压力下只能保持5min,降至工作压力后进行检查。
在寒冷季节试压应采取防冻措施,以防冻坏管道,下班时必须放净系统中存水。
试压结束放水时,应先打开最高点阀门卸压,然后再开下部放水阀排水,以免系统内形成负压遭受损坏。排水应用塑料管连接排至合适地点,不能随意排放在施工场所。
(5)弱电工程的防雷接地应设专用接地,不能与强电工程的接地和防雷接地有任何联系。弱电工程的导线连接,应将屏蔽层同时接通,在敷设弱电导线时要保持屏蔽层完好。对施工完毕的弱电线路要使用相应的器具进行测量验收。检测仪器的使用和保管需有专人负责。
第三节 季节性施工技术措施
一、冬季施工技术措施
1、凡室外日平均温度连续5天低于5℃即进入冬季施工,当室外日平均气温连续高于5℃时,解除冬季施工,根据陕西省历年的气候情况,一般在十一月中旬进入冬季施工,在春节过后可解除冬季施工,冬季施工应视当年的气候状况确定。
2、冬施前,根据本工程要进入冬期施工的分部分项工程,项目部制定适合本工程具体情况的冬季施工方案,提出冬期施工所需的保温、防冻、加热等材料计划,并制定出冬季施工安全技术措施及冬期施工管理和质量控制措施。
3、要切实加强冬季施工的组织,领导和施工管理,建立健全冬季施工管理制度,并经常对制度和措施的执行情况进行检查,发现问题及时解决。
4、组织所有施工人员对冬期施工技术和安全措施进行学习,对施工班组要进行冬季施工技术安全交底,对冬季施工有关的专业人员要进行培训。
5、认真做好冬施准备工作,搅拌站围护,炉灶砌筑,临时水管保温,脚手架检查加固,机械、电器设备、临时道路修护、临时管道、线路的检修等。
6、冬施中的砼原材料加热,砼搅拌运输,浇筑和养护等应按JGJ104-97《建筑工程冬期施工规范》进行热工计算,泵管采取保温措施,养护保温采用综合蓄热法,并应保证砼入模温度在+5℃以上,浇筑后即用保温材料覆盖保温,并派专人昼夜监测温度,掺防冻剂的砼在强度未达到受冻临界强度之前每隔2h测量一次,达到受临界强度以后每隔6h测量一次,同时应做好测温记录。
7、室内抹灰时,利用正式门窗或用木框钉双层塑料布封闭,同时做好施工洞口及出入口的封闭,必要时应生保暖炉,保证室内温度不低于+5℃,封闭时留一定数量的可开启窗户,以利于通风换气,抹灰用的砂浆应掺防冻剂,用热水拌和,随拌随用,保证砂浆上墙温度不低于+5℃。
8、钢筋冷拉,冷弯的环境温度不低于-20℃,钢筋闪光对焊应在室内进行,焊后的接头严禁立即碰到冰雪。
9、砌筑所用砖或砌块在砌筑前,应清除表面污物,冰雪等,不得使用遭水浸和受冻后的砖或砌块。砌筑所使用砂浆拌合时,水的温度不得超过80℃,砂的温度不得超过40℃,砂浆稠度宜较常温适当增大。砌筑时砂浆温度不应低于+5℃。砖砌体应按“三一”砌筑法施工,灰缝不应大于1cm,每日砌筑高度不宜超过1.2m,当天砌筑完毕,必须在砖表面覆盖保温材料,砌体表面不得留有砂浆,在继续砌筑前,应先将砌体表面的冰雪清扫干净。
10、加强对外加剂采购、保管以及使用过程中的质量和安全管理,对外加剂的选用要严格执行准用制度。在索取产品合格证书的同时进行检验,并严格按照试验配合比通知单控制其掺量的准确。
11、加强对职工、民工和外包工进行冬施的质量、安全生产教育、做好职工宿舍及工作场所的防寒保温,做好安全防火,防煤气中毒等工作。
12、施工现场要采取可靠的防滑措施,大雪过后必须及时将脚手架上的积雪清扫干净,加强现场电源、火源管理,防止触电,失火。
二、雨期施工技术措施:
(一)、雨期施技术措施
1、在雨期到来前,应根据本工程形象进度的情况,有针对性的编制雨期施工技术组织措施,并遵照执行。
2、加强雨期施工的组织领导和施工管理,建立健全雨期施工的各项管理制度,定期检查各项管理措施的执行情况,发现隐患及时解决。
3、雨期施工期间要根据现场的地形地势及已有排水系统的分布情况,确定排水流向,疏通排水沟,保证雨期施工的道路及排水畅通。
4、对雨期施工期间所需的材料及机具设备应提前组织进场,并应有较充足的储备。
5、做好基坑四周的临时排水沟和砌筑围堰,防止雨水流入基坑,保证施工顺利进行。
6、对水泥、电气、机具等不能受潮,淋雨的物品,应有可靠的防雨,防潮措施,水泥必须入库,不能露天堆放。
7、雨季施工应有专人负责发布天气预报,通报全体施工人员。砼浇捣期间随时注意气象台预报,尽量避开雨天施工砼。
8、如遇雨,注意雨后砂石含水量的变化,准确掌握砼配合比,现场备足雨布,以防雨天浇筑过程中砼被冲刷。
9、加强现场检查每次雨中和雨后,应派专人认真检查脚手架,模板支撑、地锚、塔吊基础等有无下沉、松动滑移等现象,发现问题应立即处理,同时,还应派电工仔细查看各种线路,及时排除隐患。
10、要及时掌握天气情报情况,做好防雷、防雨工作,对灾害性天气预防要立即采取针对性措施加以防范。施工期间塔吊顶端应设置防雷措施,六级以上大风应停止高空作业。
11、防水工程应避免在雨期进行施工。
12、组织相关人员进行一次全面检查施工现场的准备工作,包括临时设施、临电、机械设备防雨、防护等项工作,检查施工现场及生产生活基地的排水设施,疏通各种排水渠道,清理雨水排水口,保证雨天排水通畅。
13、在雨期到来前,作好高耸塔吊和高脚手架防雷装置,质量检察部门要对避雷装置作一次全面检查,确保防雷安全。
(二)、各分项工程雨季施工技术措施
1、混凝土施工
(1)混凝土施工应尽量避免在雨天进行。大雨和暴雨天不得浇筑混凝土,新浇混凝土应覆盖,以防雨水冲刷。防水混凝土严禁雨天施工。
(2)雨期施工,在浇筑板、墙混凝土时,可根据实际情况调整坍落度。
(3)浇筑板、墙、柱混凝土时,可适当减小坍落度。梁板同时浇筑时应沿次梁方向浇筑,此时如遇雨而停止施工,可将施工缝留在次梁和板上,从而保证主梁的整体性。
2、钢筋工程
(1)现场钢筋堆放应垫高,以防钢筋泡水锈蚀。有条件的应将钢筋堆放在钢筋骨架上。
(2)雨后钢筋视情况进行除锈处理,不得把锈蚀严重的钢筋用于结构上。
(3)下雨天避免钢筋焊接的施工,以免影响施工质量。
3、模板工程
(1)雨天使用的木模板拆下后应放平,以免变形。木模板拆下后及时清理,刷脱模剂,大雨过后应重新刷一遍。
(2)模板拼装后尽快浇筑混凝土,防止模板遇雨变形。若模板拼装后不能及时浇筑混凝土,又被雨水淋过,则浇筑混凝土前应重新检查、加固模板和支撑。
(3)大块模板落地时,地面应坚实,并支撑牢固。
4、脚手架工程
(1)雨期前对所有脚手架进行全面检查,脚手架立杆底座必须牢固,并加扫地杆,外用脚手架要与墙体拉接牢固。
(2)外架基础应随时观察,如有下陷或变形,应立即处理。
5、屋面工程
(1)保温层的铺设必须避开雨天,并及时做找平层和防水层,以免保温层含水过多,影响保温隔热效果。如做防水前遇雨,应将保温层或找平层覆盖。雨后继续施工时,必须对保温层进行取样测含水率,含水率低于9%方可施工。
(2)新做的防水层遇有天气有雨时,应用塑料薄膜盖牢,不得使新做的防水层遭到冲刷。
6、机电安装
(1)设备预留孔洞做好防雨措施。如施工现场地下部分设备已安装完毕,要采取措施防止设备受潮、被水浸泡。
(2)现场中外露的管道或设备,应用塑料布或其它防雨材料盖好。
(3)直埋电缆敷设完后,应立即铺沙,盖砖及回填夯实,防止下雨时,雨水流人沟槽内。
(4)室外电缆中间头、终端头制作应选择晴朗无风的天气,油浸纸绝缘电缆制作前须烫锡。
三〉、炎热天气施工措施
(1)试配砼配比时应考虑到天气炎热的情况,如加缓凝剂延缓砼的凝结时间,降低坍落度损失等。
(2)指派专人负责做好砼的养护工作,采用浇水养护,使砼表面经常处于湿润状态,防止发生龟裂现象。
(3)做好施工人员的防暑降温工作。现场配备凉茶,中午给工人以一定的休息时间,密切注意工人的饮食卫生。
第十章 施工机械设备配备情况
第一节 土建工程主要机械设备配备计划
土建工程主要施工机械设备计划表
| 序号 | 机械名称 | 型 号 | 单位 | 数量 | 总功率
(KW) |
备 注 |
| 1 | 塔式起重机 | TQG400 | 台 | 2 | 42.4 | 基础、主体阶段 |
| 2 | 塔式起重机 | QTZ63 | 台 | 3 | 79.8 | 基础、主体阶段 |
| 3 | 施工电梯 | SCD200/200 | 台 | 3 | 66 | 主体、装饰阶段 |
| 4 | 程控高速升降机 | DWP-JG2T | 台 | 2 | 30 | 主体、装饰阶段 |
| 5 | 砼输送泵(柴油机) | HBT60C | 台 | 3 | 0 | 基础、主体阶段 |
| 6 | 砂浆搅拌机 | 台 | 5 | 15 | 主体、装饰阶段 | |
| 7 | 插入式振动器 | AZ6X-50 | 台 | 15 | 16.5 | 基础、主体阶段 |
| 8 | 平板振动器 | 台 | 4 | 6 | 基础、主体、装饰阶段 | |
| 9 | 钢筋调直机 | 台 | 3 | 9 | 基础、主体阶段 | |
| 10 | 钢筋切断机 | GJ5-40 | 台 | 3 | 22.5 | 基础、主体阶段 |
| 11 | 钢筋弯曲机 | 台 | 4 | 12 | 基础、主体阶段 | |
| 12 | 钢筋对焊机 | UN-100 | 台 | 1 | 56 | 基础、主体阶段 |
| 13 | 电焊机 | BX3-300 | 台 | 2 | 52 | 基础、主体阶段 |
| 14 | 型材切割机 | 台 | 2 | 5.6 | 基础、主体、装饰阶段 | |
| 15 | 圆盘锯 | 台 | 2 | 6 | 基础、主体阶段 | |
| 16 | 木工电刨 | 台 | 3 | 6.6 | 基础、主体阶段 | |
| 17 | 冲击电锤 | 台 | 3 | 3 | 装饰阶段 | |
| 18 | 污水泵 | 台 | 2 | 3 | 基础阶段 | |
| 合 计 | 431.4 |
第二节 安装工程主要机械设备配备计划
安装工程主要施工机械设备计划表
| 序号 | 名称 | 型号规格 | 单位 | 数量 | 备注 |
| 1 | 交流电焊机 | BX-160~300 | 台 | 6 | |
| 2 | 氧乙炔焊工具 | 套 | 6 | ||
| 3 | 液压弯管机 | φ15—φ108 | 台 | 1 | |
| 4 | 空气压缩机 | 台 | 1 | ||
| 5 | 电动砂轮切割机 | φ300 | 台 | 3 | |
| 6 | 现场用配电箱 | 个 | 16 | ||
| 7 | 砂轮机 | 台 | 2 | ||
| 8 | 除锈机 | 台 | 2 | ||
| 9 | 电动切管套丝机 | DN15—100 | 台 | 2 | |
| 10 | 台钻 | φ5--16 | 台 | 2 | |
| 11 | 开孔器 | 台 | 2 | ||
| 12 | 电动试压泵 | 台 | 2 | ||
| 13 | 手动试压泵 | N12—16 | 台 | 3 | |
| 14 | 手动葫芦 | 1t—3t | 个 | 6 | |
| 15 | 滑轮 | 3t—4t | 只 | 8 | |
| 16 | 角磨机 | 台 | 2 | ||
| 17 | 手提电钻 | 13mm | 台 | 4 | |
| 18 | 手提电钻 | 6mm | 台 | 2 | |
| 19 | 冲击电锤 | φ16--26 | 台 | 4 | |
| 20 | 电烘箱 | 300℃~500℃ | 台 | 1 | |
| 21 | 型钢切割机 | 台 | 2 | ||
| 22 | 摇臂钻床 | φ16~30 | 台 | 1 | |
| 23 | 标准压力表 | 0.25级 | 台 | 4 |
第三节 安全防护用品投入计划
安全防护用品计划表
| 序号 | 名 称 | 规格 | 单位 | 数量 | 备 注 |
| 1 | 安全帽 | 塑料 | 顶 | 600 | |
| 2 | 安全带 | 尼龙 | 付 | 60 | |
| 3 | 安全网 | 尼龙 | m2 | 45000 | 密目式安全网 |
| 4 | 焊工手套 | 双 | 40 | ||
| 5 | 焊工面罩 | 个 | 8 | ||
| 6 | 砼工水鞋 | 双 | 50 | ||
| 7 | 砼工防护衣 | 套 | 50 | ||
| 8 | 竹架板 | 3000×250 | 块 | 20000 | |
| 9 | 安全标志牌 | 个 | 80 | ||
| 10 | 泡沫灭火器 | 个 | 45 | ||
| 11 | 漏电保护器 | 个 | 60 | ||
| 12 | 干粉灭火器 | 个 | 30 | ||
| 13 | 低压灯泡 | 只 | 100 |
第四节 周转材料计划
钢管脚手架等周转材料需用量计划一览表
| 序号 | 材料名称 | 规格型号 | 单位 | 数量 | 进场时间 |
| 1 | 钢 管 | 48×3.5 | t | 880 | |
| 2 | 模 板 | 19厚 | m2 | 15000 | |
| 3 | 方 木 | 50×100 | m3 | 870 | |
| 4 | 钢支撑 | 根 | 8000 | ||
| 5 | 钢丝绳 | m | 1200 | ||
| 6 | 扣 件 | 个 | 200000 | ||
第十一章 安全施工措施
第一节 危险性分析与控制内容
一、一般工程施工危险性分析
由于建筑业与其他行业有较大区别,具有产品固定,人员流动,露天高处、立体交叉作业多,建筑物变化大及形状不规则等特点,工作条件差,不安全因素点多面广且经常变化,因而危险性较大,加上大量农民工加入建筑行业,他们缺乏必要的安全知识和自我保护意识,增大了事故预防的难度。建筑施工生产过程中普遍存在的危险性主要体现为以下几个方面:
1、高处坠落。建筑施工是典型的高处作业,临边洞口多,易发生高处坠落事故。
2、物体打击。施工中的所有材料、架设工具,模板配件,机具都从地面往地下或高空进行组装、拆除、砌筑、振动,运行非常频繁,稍有疏忽,就会发生物体坠落。
3、机械伤害。现代建筑施工,投入大量机械设备。一方面提高了工作效率,另一方面增加了建筑工人接触机械设备的概率,增大了机械设备伤害的危险性。
4、触电。由于建筑施工现场的用电设备全部是临时性的,用电设备工作环境差,作业频繁,移动性大,易导致触电事故的发生。
5、坍塌、倒塌。坑壁防护、脚手架、模板支撑等如设置不符合要求,有可能发生坍塌。
6、火灾。施工现场动火作业多,动火部位不固定,可燃易燃材料堆积,可能引发火灾。以上种种,均为一般情况下建筑工程施工现场潜在的主要危险,也是我们预防控制的主要内容。
二、安全生产控制内容
生产中所发生的事故一般都是由于物的不安全状态和人的不安全行为二者相关联而发生的,而且管理上的不完善,则是造成这种不安全状态和不安全行为的间接原因。根据前述危险性分析和事故原理,我们从管理、技术及改善作业环境等方面来控制人的不安全行为、物的不安全状态和环境中的不安全因素,预防事故发生。
安全生产控制表
| 组成部分 | 控制对象 | 主要控制内容 |
| 安全管理 | 人的方面(人的不安全行为):
————管理者 ————操作者 |
进场必须进行全员安全教育,落实各级安全生产责任制。 |
| 安全技术 | 物的方面(物的不安全状态):
————施工手段 ————作业对象 |
安全检查、安全技术管理 |
| 职业卫生 | 现场环境条件 | 现场卫生检查 |
第二节 安全生产管理措施
l、确立目标
本工程施工安全生产总目标为:杜绝重大伤亡事故,实现“五无”(即无死亡、无重伤、无坍塌、无中毒、无火灾),轻伤事故频率控制在1‰以内。
2、安全生产管理机构及人员
公司安全管理委员会(简称安委会)是公司级的安全生产管理机构,总经理担任安委会主任,是公司安全生产第一责任人。公司安全部是公司安委会的常设办事机构,配备有安全管理、土建、机械、电气、消防等专业人员,具体负责日常的安全生产监督管理。工程项目部成立安全生产管理小组,项目经理担任组长,为工程项目的安全生产第一责任人。项目部设立生产安全组,配备专职安全员1人,具体负责工程项目日常的安全生产监督管理。各生产班组设兼职安全员,配合专职安全员的工作。
公司、项目部的工程技术、材料设备、人事劳资、工会组织、医疗卫生等部门和人员,履行各自的安全生产职责,并互相配合,形成专管成线、群管成网的安全管理网络。
3、建立并落实以安全生产责任制为核心的各项安全管理制度主要包括各级各类人员的安全生产责任制、安全生产目标管理制度、安全检查制度、安全教育制度、安全技术措施计划制度、安全交底制度、特种作业人员管理制度、安全验收制度、班组安全活动制度、事故报告与调查处理制度、安全奖罚制度等。为保证制度落实,将安全生产责任目标层层分解,落实到人,严格考核,考核结果与经济挂钩。
4、强化安全教育,加强人员管理
强化现场管理人员的安全意识,使每一个管理人员做到关心安全工作并在实际的管理工作中坚持做到安全第一,认真履行职责。严格执行新工人入场三级安全教育和安全技术交底制度,未经教育和交底的人员不准上岗作业。坚持经常性教育,教育职工由“要我安全”变为“我要安全,我会安全”,自觉遵章守纪。特种作业人员(如电工、焊工、起重工、架子工、场内机动车司机等)持有效操作证上岗。严格人员管理,规范用工,严肃查处违章行为,杜绝违章指挥、违章操作和违反劳动纪律的行为,使员工做到不伤害自己、不伤害他人、不被他人伤害。
5、严格监督检查,消除事故隐患
公司每季度定期检查,平时抽查:分公司每月定期检查,平时抽查;项目部每旬定期检查;项目经理和安全员坚持每日安全巡视检查。对检查发现的问题,定人、定时间、定措施进行整改,不留事故隐患。脚手架、施工用电、机械设备、防护设施等要经验收合格后才能投入使用。
6、加强安全技术管理,采用先进安全技术
在编制施工组织设计时制定有针对性的安全技术措施。在施工前将对本工程的下列作业编制专项施工方案和安全措施:脚手架及平台、较大型的防护设施、垂直运输设备(塔吊、井字架)安装拆除、施工用电、模板工程、起重吊装、拆除工程和其他有较大危险的作业等。采用“三新技术时,制定相应的安全措施。对制定的所有安全措施,加强监控,保证落实。
7、开展多种形式的安全生产活动和宣传
在施工现场适当位置布置表达提示、警告、禁止等安全信息的安全标志牌。认真开展班前安全活动,广泛开展安全生产宣传,推广安全生产先进经验,促进施工安全管理,保障施工安全。
第三节 安全生产技术措施
1、现场布置
在施工总平面设计中合理地规划人流和物流通道及临时设施、物料、机具的布置,使之符合安全卫生规定,落实消防和卫生急救设施。
2、施工机械安全
施工升降机等由公司专业队伍和专业人员安装,其它机械设备由项目部专业人员安装。所有机械安装前进行全面检查,保证状况良好,安全装置齐全,安装后进行验收,符合使用条件才允许使用,塔吊、施工升降机等由持证的专业起重工操作,其他机械由经公司培训的人员操作,所有机械做到定人定机。按照规定和规程经常对机械设备进行检查和保养,以保持良好的状况。
3、施工用电安全
施工用电应符合《施工现场临时用电安全技术规范》及其他用电安全规范的要求。采用TN-S系统(三相五线制),设专用保护零线(PE线),实行三级配电、两级保护。总配电箱设过载、短路保护和漏电保护,分配电箱设过载、短路保护,开关箱设过载、短路保护和漏电保护,做到一机一闸一漏一箱。各配电箱、开关箱均采用厚度不小于1.5mm板制作,有门有锁,专人管理,箱内电器选用准用的合格产品。干线架空或埋地敷设,支线敷设符合要求。危险场所及手持灯具采用安全电压照明。

4、防雨、防雷措施
井字架、外脚手架等高耸设施采取避雷措施,防雷接地与工程的避雷预埋件临时焊接连通,接地电阻达到规定要求,每月检测一次,发现问题及时整改。设专人掌握气象信息,及时作出大风,大雨预报,采取相应技术措施,防止发生事故。禁止在暴雨等恶劣的气候条件下施工。
5、脚手架安全
外脚手架采用落地式双排钢管脚手架,外侧采用密目式安全立网全封闭;脚手架按施工实际可能承受的最大荷载进行设计和计算;搭设脚手架的钢管、扣件符合要求,在安全人员和技术人员的监督下由持证的专业工人负责搭设,脚手架与建筑物按规定刚性拉结,搭设完进行验收,不合格不使用;使用中严格控制架子上的荷载,尽量使之均匀分布,以免局部超载或整体超载;使用时还应特别注意保持架子原有的结构和状态,不任意乱挖基脚、任意拆卸结构杆件和连墙拉结及防护设施,经常进行检查,发现问题及时处理。
6、安全防护
①安全防护棚:在人员通道、现场搅拌站和临近小区道路上方都应采用钢管搭设安全防护棚。
②“三宝、四口、五临边”防护:
现场人员坚持使用“三宝”。进入现场人员必须戴安全帽,穿胶底鞋,不得穿硬底鞋、高跟鞋、拖鞋或赤脚,高处作业必须系安全带。
做好“四口”的防护工作。在楼梯口、电梯口、预留洞口设置围拦、盖板,正在施工的建筑物出入口和井字架进出料口,必须搭设防护棚或防护栏杆。
做好“五临边”的防护工作。五临边指阳台周边,屋面周边,框架工程楼层周边,跑道,斜道两侧边,卸料平台的外侧边。“五临边必须设置1.2m以上的围栏。
③夜间施工:夜间操作要有足够的照明设备,坑、洞、沟、槽等除做好防护外,并设红灯示警。
第四节 分项工程安全技术措施
1、防水工程
①防水材料易燃品专库贮存在干燥、远离火源的地方,贮仓及施工现场禁止烟火。
②施工现场应通风排气,在通风条件差的地方作业时,施工作业人员每隔1~2小时到通风地点休息10~15min。施工过程操作人员感到不舒适,应马上离开施工现场,严重时应到保健站检验。
③施工时戴防护手套,避免防水涂料污染皮肤。
2、模板工程
①模板工程应编制方案,高支撑模板应进行设计计算。
②支模过程中应遵守安全操作规程,如遇途中停歇,应将就位的支顶、模板联结稳固,不得空架浮搁。
③支设4米以上的立柱模板,操作时要设操作台;不足4米的,可用马凳操作。支设独立梁模应设临时工作台。禁止利用拉杆、支撑攀登上下。
④拆模应经施工技术人员同意。操作按顺序分段进行,不猛撬、硬砸和大面积撬落和拉倒。工完前,不得留下松动和悬挂的模板。拆下的模板应及时运到指定地点集中堆放,防止钉子扎脚。
⑤模板吊装时吊车司机与安装人员应经常检查索具,密切配合做到稳起、稳落、稳就位,防止大模板大幅度摆动,碰撞其他物体造成倒塌事故。
⑥电锯、电刨等木工机械性能良好,防护装置齐全,工人按规程操作。木加工场所严禁烟火,木屑、刨花及时清理。
3、钢筋工程
(1)、钢筋加工
①机械必须设置防护装置,注意每台机械必须一机一闸并设漏电保护开关。
②工作场所保持道路畅通,危险部位必须设置明显标志。
③操作人员必须持证上岗,熟识机构性能和操作规程。
(2)、钢筋安装
①搬运钢筋时,要注意前后方向有无碰撞危险或被钩挂料物,特别是避免碰挂周围和上下方向的电线。人工抬运钢筋,上方卸料要注意安全。
②起吊或安装钢筋时,应和附近高压线路或电源保持一定安全距离,在钢筋林立的场所,雷雨时不准操作和站人。
③在高空安装钢筋应选好位置站稳,系好安全带。
(3)、钢筋对焊
①对焊前应清理钢筋与电极表面污泥、铁锈。使电极接触良好,以免出现“打火”现象。
②对焊完毕不要过早松开夹具,连接头处高温时不要抛掷钢筋接头,不准往高温接头上浇水,较长钢筋对接应安置台架上。
③对焊机选择参数,包括功率和二次电压应与对焊钢筋相匹配,电极冷却水的温度,不得超过40℃,机身应接地良好。
④闪光火花飞贱的要有良好的防护安全设施。
(4)、钢筋电弧焊
①焊机必须保护接零良好,不准在露天雨水的环境下工作。
②焊接施工场所不能使用易燃材料搭设,现场高空作业必须带安全带,焊工配戴防护用品。
③为防止弧焊机二次线引起触电,使用二次空载降压保护器。
4、砼工程
(1)、现场砼浇筑
①使用振动器的作业人员,应穿胶鞋,戴绝缘手套,使用带有漏电保护的开关箱。
②使用手推车倾倒混凝土时,应有挡车措施,不得用力过猛或撒把。
③垂直运输采用井架时,手推车放置要平衡,车把不得伸出笼外,车轮前后应挡牢。
④使用溜槽时,严禁操作人员直接站在溜槽邦上操作。
⑤浇筑单梁、柱混凝土时,应设操作台,操作人员严禁直接站在模板或支撑上操作,以免踩滑或踏断而坠落。
⑥楼面上的孔洞应予以遮盖或预埋间距200mm×200mm钢筋网作可靠性防护。
⑦夜间作业,应有足够照明设备,并防止眩光。
(2)、泵送砼
①泵机要随时检查乳化剂冷动润滑水箱中的水量是否足够和干净,一般每工作8小时要更换一次。
②当泵机运行声音变化、油压增大、管道振动是堵管的先兆,应该采取措施排除。
③经常检查泵机压力是否正常,避免经常处于高压下工作。
④泵机停歇后再启动时,要注意压力表压力是否正常,预防塞管。
⑤混凝土泵输出的混凝土在浇捣面处不要堆积过量,以免引起过载。
⑥拆除管道接头时,应先进行多次反抽,卸除管道内混凝土压力,以防混凝土喷出伤人。
⑦清管时,管端应设置挡板或安全罩,并严禁管端站立人员,以防喷射伤人。
⑧清洗管道可用压力水洗或压缩空气洗,但两种形式不允许同时采用。在水洗时,可以中途转换为气洗,但气洗中途约以对禁止转换为水洗。严禁用压缩空气清洗布料器,
5、装饰工程:
①清理楼面时,禁止从窗口、留洞口和阳台等处直接向外抛扔垃圾、杂物。
②剔凿地面时要带防护眼镜。
③危险场所及移动式照明应采用36V低压照明设备。
④非机电人员不准乱动机电设备。
⑤用卷扬机井架(上落笼)作垂直运输时,要注意联络信号,待吊笼平层稳定后再进行装卸操作。
⑥室内推手推车拐弯时,要注意防止车把挤手。
⑦室内抹灰时使用的木凳、金属脚手架等架设应平稳牢固,脚手板跨度不得大于2m,架上堆放材料不得过于集中,在同一跨度的脚手板内不应超过两人同时作业。
⑧不准在门窗、洗脸池等器件上搭设脚手板。阳台部位粉刷,外侧没有脚手架时,必须挂设安全网。
⑨使用砂浆搅拌机搅拌砂浆,往拌筒内投料时,拌叶转动时不得用脚踩或用铁铲、木棒等工具拨刮筒口的砂浆或材料。
⑩使用脚手架,应先检查是否牢靠。护身栏、挡脚板、平桥板是否齐全可靠,发现问题应及时修整好,才能在上面操作。脚手架上放置料具要注意分散并放平稳,不许超过规定荷载,严禁随意向下抛掷杂物。
⑾使用手提电动机具,应接好PE线及防漏电保护开关,使用前应试运转,检查合格后,才能操作。
⑿吊顶工程时所有龙骨不能作施工或其它重物悬吊支点。吊顶高度离楼地面超过3.6m应搭设固定脚手架。
6、门窗工程
(1)、门窗安装:
1)、安全防护用品及措施
①铝门窗安装人员进入施工现场必须佩戴安全帽,穿防滑的工作鞋,严禁穿拖鞋或光脚。
②高空室外安装门窗必须要有安全网、护身栏等防护设施,高处作业必须系好安全带。
2)、施工机具
①焊接机械的使用要符合《施工现场临时用电安全技术规范》(JGJ46-88)中“焊接机械”的规定,并注意电焊火花的防火安全。
②电动螺丝刀、手电钻、冲击电钻、曲线锯必须选用II类手持式电动工具,严格遵守《手持电动工具的管理、使用、检查和维修安全技术规程》(GB3787-83),每季度于少全面检查一次;现场使用要符合《施工现场临时用电安全技术规范》(JCJ46-88)第八章第六节“手持式电动工具”的规定,确保使用安全。
③射枪:
a.操作人员要经过培训,严格按规定程序操作,严禁枪口对人。工作时要戴防护眼镜。
b.射钉弹要按有关爆炸和危险物品的规定进行搬运、贮存和使用,存放环境要整洁、干燥、通风良好、温度不高于40℃,不得碰撞,用火烘烤或高湿加热射钉弹,哑弹不得随地乱丢。
c.墙体必须稳固、坚实并具承受射击冲力的刚度。在薄墙、轻质墙上射钉时,墙的另一面不得有人,以防射穿伤人。
④特种钢钉:钉特种钢钉应选用重量大的榔头,操作人员应戴防护眼镜。为防止钢钉飞跳伤人,可用钳子夹住再行敲击。
3)、玻璃的搬运与安装
①搬运玻璃前首先检查玻璃是否有裂纹,特别要注意暗裂,确认完好才搬运。
②搬运玻璃时必须戴手套、穿长袖衫,玻璃要竖向,以防玻璃锐边割手或玻璃断裂伤人。
③裁割玻璃,应在规定的场所进行。边角余料要集中堆放,并及时处理。
④安装玻璃时,所使用的工具应放入袋内,随安装随取用。
⑤独立悬空作业时必须拴好安全带。不准一手腋下挟着玻璃,一手扶梯攀登上下。
⑥高处安装玻璃时应稳妥置放,其垂直下方不得有人。
⑦安装窗扇玻璃时,不得在垂直方向的上下两层同时作业,以避免玻璃破碎掉落伤人。
⑧在天窗及安装玻璃时,施工点的下面及附近严禁行人通过,以防玻璃及工具掉落伤人。
⑨风力五级以上难以控制玻璃时,应停止搬运和安装玻璃。
4)、门窗的清洁
使用天那水清洁门窗时,室内要通风良好,戴好口罩,严禁吸烟,周围不准有火种,蘸有天那水的棉纱应收集在金属容器内及时处理。
第五节 消防措施
1、消防安全管理
①建立消防组织,设立防火小组,配备专职管理人员,建立群众性的义务消防队,并坚持学习和训练。
②建立完善的消防安全制度,严格落实消防责任制。
③施工前编制符合工程实际的消防方案。方案包括消防机构和措施,并附有临时设施、消防设施、防火器材、消防通道等平面布置图。
④开展各种形式的消防安全教育,使员工掌握基本的防火、灭火和逃生自救知识。
⑤在施工安全检查的同时进行消防安全检查,并开展专项消防安全检查,即使整改火险隐患。
⑥加强明火作业管理,明火作业要办理动火审批手续,防火灭火措施到位,作业前后要检查,作业时有监护。
⑦编制消防方案,必要时开展消防演习。
⑧建立领导值班制度,做到昼夜有人值班,及时处理问题。
2、现场消防措施
①现场的消防通道畅通,不得阻碍人员疏散和消防车辆通行,并设明显标志。
②临时设施搭设前须经过消防部门审批,搭设后进行验收。临时设施不得使用易燃材料搭设,间距符合消防要求,杜绝“三合一”现象。临时宿舍高度不低于2.5m,每25人至少设门一处,门宽大于1.2m,门向外开。
③易燃易爆物品专人管理,专库存放,有严格的领退手续。专门仓库符合防火防爆要求,严禁烟火。
④施工及生活用电均由专业电工接线,符合电气和消防安全要求,严禁私拉乱接。
⑤配备足够、有效的消防器材和消防设施,布置在合理位置。
a. 施工现场在施工前设置消火栓,消火栓的干管不小于4英寸,出水量达到5kg/s以上,消火栓的口径为2~4英寸,安装数量按占地面积每5000m2一个。
b. 施工现场和宿舍区设蓄水池和消防砂。
c. 临时设施、加工场所、施工作业层设置灭火器。临时宿舍每间或每 25m2不少于一个灭火器。灭火器失效应及时更换。
⑥工地门口及重点部位(宿舍、仓库、木工房、配电房等)设明显的消防安全标牌。
3、消防安全纪律
①所有作业人员必须经消防安全教育后才能上岗和入住,特种作业人员经专业安全技术培训后持证上岗。
②未经动火审批,严禁私自动火。严禁私拉电缆电线和私接用电设备。
③宿舍内严禁使用电热水器及大功率电器,严禁在宿舍内动火做饭,不得点蜡烛或焚烧信件、纸屑。
④施工现场严禁吸烟,吸烟要到专门的吸烟室。严禁乱扔烟头、火种。
⑤遵守操作规程和劳动纪律,不得有“三违”行为。
⑥不得私自把易燃易爆物品带入工地或私藏易燃易爆物品。
第十二章 文明施工措施
第一节 文明施工总目标
本工程文明施工总目标为:创建省级文明工地。
第二节 文明施工管理措施
1、组织机构及人员
文明施工实行公司、项目部分级管理,各级均建立文明施工领导小组和管理机构。
①公司文明施工领导小组由公司总经理、主管生产副总经理、总工程师及相关部门负责人组成;总经理为公司文明施工管理第一责任人,主管生产副总经理是公司文明施工管理直接责任人,安全监督部是公司文明施工管理的主管部门。
②项目部文明施工领导小组由项目经理、主管文明施工副经理、技术负责人、安全监督组长、安全员组成:项目经理为文明施工第一责任人,主管文明施工的项目副经理是项目文明施工的直接责任人。现场文明施工实行分区管理和班组管理相结合。现场划分施工、办公和生活三大责任区,各责任区再划分若干责任小区,各大小责任区设专人负责。各作业班组的班组长对班组作业区的文明施工负责。
2、管理制度
公司、项目部均制定完善的文明施工管理制度并严格落实。包括文明施工责任制、现场文明施工实施标准、文明施工检查制度、文明施工宣传教育制度、文明施工奖罚制度及宿舍管理规定、食堂管理规定、门卫制度等主要制度。
3、文明施工宣传教育
积极开展各种形式的文明施工宣传教育,使文明施工意识深入人心,树立创文明工地,先做文明人的观念,使文明施工成为每个员工自觉、习惯的行为。
4、文明施工检查
公司、项目部分别按照安全检查的频率进行文明施工检查。项目经理、安全员每日检查文明施工情况。各班组、各宿舍的文明卫生情况每日检查评分。
5、文明施工组织设计
在编制工程施工组织设计时,有文明施工和环境保护措施。施工前,编制专项文明施工组织设计。
6、物质后勤保障
严格按照市、公司和招标文件的要求进行文明施工组织设计和建设,从人力、物力、财力以全力保证投入,做到“硬件”过硬,“软件”跟上,设施一流,管理先进。
第三节 现场文明施工设计和标准
一、施工区域
1、工地大门:采用钢板门,门扇为密闭不透式,表面涂刷白色油漆,用红色油漆喷出公司名称,门头挂企业标牌。
2、门岗:大门口内侧设置铝合金门卫岗亭,门岗正面挂有门卫制度牌、安全保卫制度牌及门卫值班牌,对来访人员实行来访登记制度。值班门卫统一穿着保卫制服,服装整洁,风纪端正,礼貌待人。
3、工地围墙:采用甲方提供的围墙,临街大面涂刷白色防水漆,墙面上下装饰线刷蓝色防水漆,墙上用美观适当的字样书写建设单位、设计单位、监理单位、质监单位、施工单位的名字,字体要有艺术感。围墙内显露处全部涂刷白色防水漆。
4、“一图六牌”的设置:在大门入口内侧紧靠围墙明显处架设高于围墙的“一图六牌”,即:“施工公告”牌、“工程概况”牌、“组织网络”牌、“安全纪律”牌、“防火须知”牌、“文明施工管理”牌和“施工现场平面布置图”。图面要求蓝底白字铝边,字体为仿宋体。字体书写正确规范,工整美观,牌面经常保持整洁完好。各标牌均专门定制。
5、车辆冲洗平台:在出入口处设车辆冲洗平台,台四周设排水暗沟,沟宽200,上盖由∅28钢筋加工成的铁篦,铁篦涂刷兰色防锈漆。台侧设沉砂池。池的尺寸为500×500×600。土方开挖及回填土阶段,运输土方的车辆出工地前,轮胎、车身须冲洗干净。为了杜绝运输中泥浆、散体、流体、物料撒漏而污染市政道路,门口设专人检查自卸车装土量,若有超载,则要求车辆卸掉多余土后方可出工地。
6、硬地化做法:场内临时设施的地面、主要施工路面、通道等要实现硬地化,要求道路坚实,平整畅通,地面无积水、泥浆。硬化地面具体要求如下:
①场内主要车道:基层土要平整、压实,上面铺100mm厚石粉渣,并碾压结实,面层做C15砼150mm厚。道路宽5m,表面拉毛,每6m切3mm宽分隔缝。
②其它地面统一做法:地面经平整、找坡、压实后,作C15细石100mm。成型后的地面采用1%排水坡,全部坡向围墙边排水沟。为防止地面开裂,还需进行切缝分格,分格大小为6m×6m。
7、平面排水系统:围墙内侧、建筑物边缘设置由明沟、暗沟组成的平面排水系统,排水沟采用120厚红砖砌筑,沟宽400,25mm厚砂浆抹面,±0.00以下施工期间还在基坑底沿底板外围设一道临时排水沟,坑底水由排水沟汇集至集水井中,再用大扬程水泵抽至坑面排水沟。施工现场设沉淀池,厕所设化粪池。污水、废水须经沉淀处理,符合标准后,才能排入市政管网。
8、粉尘控制:施工现场严禁焚烧建筑垃圾、生活垃圾、废料、有毒、有害和有恶臭的物质;装卸有粉尘的材料,应撒水湿润和在仓库内进行。本工程采用预拌砼,能有效地减少粉尘。
9、料材、成品、半成品堆放:严格按施工平面布置图指定的位置存放,做到分门别类,挂牌标记,整齐划一,界线分明,不得混杂。堆放的物品不得占用市政道路及公共设施;如确需临时占用的,应事先申请,并经建设行政主管部门批准,且将批准号标志悬挂在现场。
10、特殊物品的存放:对贵重物品及易燃易爆和有毒物品,必要做好防雨、防潮、防晒、防火、防爆、防损坏的措施;专人专库专管,并加设明显标志,有严格的领退料手续。
11、材料库:各种物品归类存放,标记清楚,有严格的收发材料清单。
12、施工机具管理:施工机具要及时清理、修护,定期保养完好。
13、剩料的处理:施工后剩余的料具、包装容器、废料等及时回收,堆放整齐,及时清退或回收利用。
14、水泥库:防雨防潮设施完善,四周设排水沟,水泥堆垛整齐,挂牌标识;内外散落灰及时清用,水泥袋及时回收处理。
15、搅拌区:搅拌区四周及施工作业区内及时清理残积废弃的砂浆和砼,搅拌后的泥浆水经沉淀净化处理后重复利用或排入市政管网。
16、工完场清:施工楼层、作业面必须工完场清,楼层上的钢管、模板、方木堆放整齐,铁钉、铁丝等废料及时回收;作业面每天下班前清干净,加工场地、材料堆放场安排专人每天清扫两次,保持整个现场整洁卫生。
17、外脚手架:搭设整齐牢固,防护网布设严密,及时清理砂浆结块,修补缺口、孔洞。
18、井字架,在明显处均挂有楼层序号,序号牌规格统一,排列整齐。
19、楼层养护水:严格控制楼层砼养护水,防止养护过度,造成楼面积水,影响施工环境。
20、严禁在楼层上下方向抛掷垃圾。
2l、每隔两层在楼梯口附近设置便桶,严禁在施工现场随地大小便。
22、施工噪音控制:禁止中午(12AM至14PM)和夜间(23PM至7AM)进行产生噪音的施工作业,如果确需中午或夜间连续施工作业,或施工噪音可能超出限值时,应向建设行政主管部门和环保部门申报,核准后方能施工。
23、宣传标语:在建筑物外架及显目的部位,挂设统一制作的安全、质量和文明施工的宣传标语,以树立企业形象。
二、办公区
1、办公室、会议室:采用彩色钢结构,内墙刷白乳胶漆,石膏板吊顶,地面为地板砖,外墙为白色面砖,室内悬挂“工地文明施工管理”牌、“管理机构”牌、“进度管理”牌和“资源管理”牌等管理图牌。为了美化环境,改善工作环境,办公室、会议室门外设置花池或草坪,在会议室内摆放盆景。
2、标牌制作:办公室门牌、路牌、指示牌、材料标牌分别按统一的规格定制,以统一标志、统一形象。
3、工作卡、工作帽的分色管理:现场管理人员、作业人员应分别佩带分色的工作卡,管理人员工作卡为红底蓝字,作业人员工作卡为白底黑字;工作卡有本人相片、姓名、所属单位、工种、职务和发证单位公章。管理人员和作业人员的安全帽应分色区别,即管理人员为红色,安全员为白色,特殊工种为兰色,一般作业人员为黄色。
4、办公用具摆放有序,室内整洁,桌面干净,文明办公,文明管理。
5、办公室、会议室门口设置垃圾桶,不随地吐痰,经常保持环境卫生。
6、施工现场设简便保健医疗室,有医疗药箱、氧气瓶、担架等器材。
7、施工现场办公区和宿舍区设吸烟室,配备灭火器材。
三、生活区
1、生活区环境规划:生活区和施工区完全分隔,生活区内规划部分场地作为绿化用地,种植草坪和树木,设置宣传栏、读报栏和娱乐室,为员工提供一个优美舒适的生活和工作环境。
2、生活区大门:门柱为砖砌,外贴花岗岩,门旁设定制铝合金门卫岗亭,外挂门卫制度和保安人员轮班值勤表,门卫要严格值勤,对外来人员进入必须先登记放行,严禁家属和小孩留宿。
3、工人宿舍:采用砖砌房,石膏板吊顶,内墙为白乳胶漆墙面,水泥地面,墙壁挂吊扇,室内公共走道宽度大于1.0m,床铺采用统一的钢架双层床,面刷兰色油漆,床上蚊帐、棉被以及碗筷等个人用品全部统一购买,并按规定摆放整齐划一。
4、卫生管理:宿舍设卫生、防火负责人,室内挂设住房管理制度和卫生值日牌,严格落实“门前三包”,违反者予以重罚。
5、用水用电管理:节约用水用电,杜绝长流水长明灯,禁止乱拉乱接电线,严禁私自生火做饭。
6、宿舍安全管理:不得在宿舍内酗酒、赌博、看黄色录相、吸毒、聚众闹事和进行其它违法活动,晚上10点钟以后关闭生活区大门严禁外出。
7、食堂做法:灶台面、墙面、地面贴瓷砖、地砖,墙面砖高度1.6m。保持室内通风良好,室内有防蝇设施,所有门口、窗口均设纱门窗。
8、食品卫生管理:工地设专职领导主管食品卫生工作,有食品管理制度,有卫生许可证,伙房内外整洁,炊具干净卫生,无腐烂变质的食品,设铝合金密闭防蝇间,生、熟食品分开操作和保管,有防蝇罩;使用食用塑料制品作熟食容器。
9、炊事人员:经常保持个人卫生,工作时统一穿戴白色衣帽,衣着整洁,有合格有效的健康证和卫生知识培训证。
10、厕所、冲凉房:厕所便槽贴地面砖、墙面贴1.6m高磁片、地面贴地砖。有化粪池或集粪池,有厕所、冲凉房卫生管理制度,派专人保洁,每天清洗不少于两次,定时喷药,防止蚊蝇滋生,室内通风良好、无明显臭味。
11、防暑降温设施:夏季施工,工地现场设有若干茶水亭、茶水桶。
四、其它措施
1、建立计划生育管理制度,各班组责任人要签定计划生育责任书,把计划生育分包到班组和个人。
2、工地安全保卫:建立工地安全、保卫管理制度,落实安全、保卫责任制,加强工地安全保卫工作,防止打架偷窃和材料丢失现象,现场保安人员负责日常部分施工场地和生活区的卫生监督工作。
3、“除四害”:抓好工地卫生防疫工作,定时撒药灭鼠,定时喷药,防止蚊蝇滋生。
第十三章 新技术的推广与应用
建设部为推进整个建筑业的技术进步,不断增加对新技术应用的重视程度,一个重要的方式就是通过建筑业最高奖(鲁班奖)的评定。因此,鲁班奖的评审工作也不断向新技术、新工艺方向倾斜。根据历年来我公司及各兄弟单位创优情况分析,本着创新、先进、经济的原则,根据本工程的实际情况,我公司计划在该工程上推广应用以下的建筑新技术:
1、 砼“双掺”技术
本工程砼强度为C30~C35砼,在砼中掺用占水泥用量10%的高效微膨胀减水剂,为便于泵送,在砼中掺加砼泵送剂FDN,并掺加一定比例的粉煤灰取代部分水泥,采用(FDN)超塑化性和高效微膨胀剂的微膨胀作用达到了减水抗渗防裂缝效果,双掺技术的应用使砼的施工质量显著提高,不但满足泵送要求达到了强度指标,而且可以减少混凝土收缩,提高混凝土的耐久性和抗渗性能。
2、粗直径钢筋连接采用等强直螺纹套筒机械连接工艺
粗直径钢筋的滚压直螺纹套筒机械连接是近几年运用较广泛的钢筋连接技术,它是先将两钢筋接头用专用滚压直螺纹机进行直螺纹丝口的加工,然后再采用直螺纹套筒连接,由于滚压直螺纹是冷加工丝口,增加了丝口的应力,它具有工效高、质量易控制、易操作等特点。我公司在多个工程的施工中均己采用,具有成熟的经验和质控手段,获得了良好的经济和社会评价。本工程中,主要应用粗直径钢筋的纵向连接。
3、高强钢筋的应用
本工程受力钢筋采用高强度钢筋—HRB400级高强度钢筋和CRB550级冷轧带肋钢筋,减少了钢筋砼的用钢量,增强了钢筋砼构件的承载能力。
4、新型全钢清水大模板的使用
为达到质量的预期目标,我公司计划在剪力墙模板工程中采用新型全钢大模板。结构形式及规格如下:面板为5mm冷轧平板,横边框及横肋为[8槽钢,竖边框为L80×8角钢,构造竖肋为-60×6扁钢,模板竖楞为双[10槽钢。按塔吊起重能力,大模板单块最大重量按1.8吨控制设计,大模板最大宽度设计为6.0m,高度最大为4.5m。
新型钢大模集模板、支撑、作业平台于一体,具有刚度大、表面平整、操作简便、周转次数多等优点。我公司在多个工程中采用清水混凝土的钢大模,积累了丰富的施工经验,使用效果证明能够显著提高混凝土观感质量和施工工效,并具有较好的经济性。
5、早拆模体系的使用
模板快拆一般是指梁、板、拱之类的水平结构模板提早脱模。应用表明,一般情况下,模板及龙骨可由三层减少成一层;龙骨以下三层模板支架周转材料投入量(重量)可减少三分之二左右:进出场运输、丢失、损坏及维修费用等亦相应减少,经济效益显著。快拆体系与传统支模板系的比较具有以下特点:
(1)实现快速拆模,减少周转材料的投入量
(2)与传统的支模方式而言,提供了先进合理的支撑方式,施工安全可靠,工程质量易于保证。
(3)支拆快捷,工作效率高,该模板支架构造简单、操作方便、施工工艺容易掌握。支拆快捷,与传统支模方式<扣件式脚手架)比较,工作效率可提高三倍左右,为此可加快施工进度,缩短施工工期。
(4)功能多、适应能力强
快拆模板体系工程大小、房间的平面尺寸、竖向尺寸多变及周转材料规格变化等条件下有很强的适应能力。
(5)操作简单,使用方便灵活,一般情况下,工人只须带上一个钢卷尺和一把榔头即可完成全部支、拆模施工作业。对施工工人的技术水平、技术素质要求不高,适合国情。
(6)利于文明施工及现场管理,快拆模板体系在支拆模板施工过程中,避免了周转材料的中间堆放环节,模板支架整齐、规范化,立横杆用量少,施工人员通行方便,便于清扫,有利于文明施工及现场管理。
6、无框双面覆塑竹胶板模板技术
本工程楼层顶板模板均采用12mm厚双面覆塑多层胶合板模板,50×100木方作肋,模板支撑体系采用碗扣架和可调式早拆头快拆体系。所有模板的拼缝均采用企口缝,并用双面胶贴粘贴缝隙防止漏浆。采用该种技术施工,提高了砼表面的平整度,使砼表面基本达到清水砼的效果,节约了粉刷成本。
实践证明使用上述大模板及模板快拆支撑体系与组合钢模板散支方案相比,消除了容易出现的砼板底不平,模板缝漏浆等问题,还能提高工效,减少模板投入量,有效缩短模板安装施工周期,从而加快施工进度,降低施工成本。
7、建筑节能和新墙体应用技术
-
-
- 该工程填充墙采用200厚加气砼块,提高了建筑的保温隔热性能,即减轻了楼层的竖向荷载,又可起到保温、绝热、节能效果,完全能达到西北地区冬季保温要求。
- 本工程内隔墙采用轻质隔墙板,不仅减轻了楼层的竖向荷载,而且扩大了房屋的使用面积,又可起到保温、绝热、节能、耐火效果。
- 本工程住宅外墙窗采用单层双玻铝合金窗,单层双玻铝合金窗的应用既能起到美观、保温的效果,又节约了能源。
- 本工程外墙内保温采用MD复合保温材料,减少了墙体厚度,使外墙保温性能大大提高。
-
8、新型防水材料应用
本工程地下室和屋面采用聚乙烯丙纶高分子防水卷材,新型防水卷材的应用,即操作方便,简化施工工序,减轻了劳动强度,保证了工程质量,又加快了工程进度,且可提高防水层的耐久性。
9、新型管材的应用
①、本工程雨水水落管和空调冷凝水排水管采用硬质聚乙烯内螺旋塑料管材(UPVC),降低了排水噪音,确保了防水工程的质量;
②、给水管采用铝合金衬塑复合管(HK-LPP型),热水管道采用交联聚乙烯管(PEX),配套管件连接,管材致密性能好,耐压强度高,对防腐蚀具有良好的使用效果,保证了水的质量,从而进一步提高工程质量。
③、排水立管、横干管采用柔性抗震排水铸铁管,管材致密性能好,耐压强度高,使用寿命长等特点,保证了工程质量。
10、楼地面随打随抹取消找平层施工工艺
运用该工艺,可以为后期的楼地面装修减少湿作业,避免楼地面找平层出现空鼓现象,而且能加快施工进度,缩短工期,降低施工成本。本工艺我公司己在各工程中推广使用,实践结果证明在大面积楼面、大空间结构工程使用效果尤其明显,结构成型后观感甚佳,为“鲁班”工程的必要条件。
11、应用计算机进行项目管理
(1)采用计算机对施工进度实施动态管理和监控,能有效地适应施工现场的情况变化。
(2)通过应用梦龙项目管理软件,可以对材料、工序、人工、机械设备等资源进行优化,对重点分部分项工程进行重点调控,达到确保总工期目标的目的;此外,还可以分专业、分单位制订周计划、旬计划、月计划、季度计划及年度计划,具有现实性、准确性、科学性和灵活性,大大提高管理水平,从而使项目施工组织指挥更具科学性、保证性、有效性。
(3)利用梦龙管理软件对施工现场平面布置工作进行优化,对现场设备材料的堆放进行合理调配,突出平面布置的实效性。
(4)利用计算机对施工中的结构问题进行计算,确保施工方案的严密性。对施工中遇到的如支撑体系、脚手架体系等结构问题。
(5)利用计算机填写整编工程技术资料
我公司采用资料整编管理软件对工程资料进行整编、填写,使施工技术资料填写规范、整齐、方便,实现了资料整编的规范化。
(6)利用计算机进行钢筋抽样
我公司采用广联达专业的钢筋抽样软件进行钢筋下料工作,配合人工下料,避免了漏筋、少筋等人为失误,保证了钢筋工程施工与设计图纸的高度一致性。
第十四章 其他保证措施
第一节 总包管理协调配合施工措施
1、施工总承包管理的承诺
我公司作为总承建单位要对整个工程进行协调管理,对整个建筑物的施工质量、进度、和谐统一负有协调管理的责任,协助业主完成本工程的施工任务,向业主交付一个满意的工程。为此,我们将做好如下工作:
(1)积极主动地为业主的服务,有效协调工程各方的工作关系,争取政府相关部门的有力支持;
(2)对设备、材料的选型、定货、加工制造与监控,对设备、材料的质量标准和档次的严格界定和把关:
(3)对工程质量的严格、有效地控制,确保工程实现过程精品;
(4)在施工和管理方面大力采用先进的科学技术和运用计算机技术;
(5)对工程实施阶段进行科学合理的计划、安排和有效策划、组织与协调,确保关键线路和主导工期;
(6)对各专业分包商的严格控制、管理、协调以及各专业分包商相互之间的密切配合;
(7)珍惜总承包商的地位和作用,充分发挥总承包商的综合能力,全面实现项目的综合管理目标。
2、总体协调方案
(1)配合措施的中心是网络计划,建立完善的计划体系是掌握施工管理主动权、控制施工生产局面,保证工程各专业均衡、有节拍施工的关键二环。在施工过程特别是各专业展开施工后,各专业的施工会同时进行,形成立体交叉、穿插施工的现象,因而需要用计算机项目管理软件等先进管理手段对整个工程的施工进行统筹计划和监督控制,时刻会同甲方和监理单位,加强对现场各专业分包队伍的管理和调度。本项目的计划体系将以总控计划构成的工期计划为主线,并由此派生出一系列技术保障计划、商务保障计划、物资保障计划、质量检验与控制计划、安全防护计划、后勤保障计划,在各项工作中作到未雨绸缪,使进度管理形成了层次分明、深入全面、贯彻始终的特色。各专业分包商在总承包商的统一网络计划安排下进行有步骤、有条理的施工。
(2)在甲方和监理的统一管理下,总包单位将实行专人专项负责的管理办法,对每一个甲方分包的工程进行协调与管理,实行目标责任制。一切的管理、配合工作均以保证工程质量和工程进度为出发点,端正对专业分包单位的服务态度,做好服务工作,坚持做到服务及时、不扯皮、不推诿、不踢皮球。
(3)进场后,委派专人与质检站、安检站、公安部门联系,作好质量、安全受监,以及治安联防、暂住人口证件办理等工作。
(4)对甲方供应的材料设备,必须提早提供采购计划送达甲方,保证该材料设备及时到货,同时应提早作好现场材料设备堆放场地的计划,对运输的线路,装卸车的人员及早作出安排并及时通知监理、质检站有关人员送检。
3、现场保安方案
进场后,委派专人与公安部门联系,作好治安联防、暂住人口证件办理等工作。成立专门的保安队,统一管理进入现场的所有施工人员、分包单位。
4、与各专业具体的协调措施
1)、协调措施
(1)所有业主指定的分包单位进场均必须与项目经理部签定工程配合协议,严格按协议条款来检查、落实分包单位的责任、义务,尽量减少推诿扯皮现象的出现而贻误工期。
(2)责成分包单位严格按照总进度计划编制“实施进度计划”,各分包单位应建立健全安全、质量、保证体系,并纳入项目经理部统一领导,服从项目部及业主代表、监理工程师的领导,按总体安排进退场。
(3)各分包单位严格执行项目部制定的施工现场总平面布置和现场文明施工的管理制度,做好施工现场的标准化工作,
(4)各分包单位所选用的设备、材料必须经业主代表、监理工程师和总包单位的审定,严禁擅自代用材料和使用劣质材料。
(5)各分包单位认真执行行业标准和国家现行规范,施工过程中做好各种试验检查记录,随时接受业主、监理及总包职能部门的工作检查,特别是隐蔽工程检查验收,并认真改进工作。工程竣工后,要求及时提供完整、
(6)项目部在控制网络计划指导下,加强对专业施工分包单位的计划管理和协调配合,科学安排各工序,实现结构工程、安装工程、装饰工程与专业分包队伍的立体交叉和空间流水作业,确保实现业主要求工期目标。
(7)加强对各分包单位的教育,提请分包单位增强员工对产品的保护意识,做到上道工序对下道工序负责,完工产品对业主负责,使产品不污、不损。加强现场质量管理,重视收尾工作。
2)、协调方式
(1)项目部成立协调联络部,部内设多名联络员分别负责每个分包单位的联络和协调工作,做到职责分明,每项分包工作都有专人管理协调,职责明确,责任到人,做到凡事有人管,有人帮助解决。
(2)成立以专人主管各分包单位在生产、生活及消防安全方面的协调管理,并配以闭路电视监控系统,用于贵重设备、防火安全重点部位和已完成装修重要部位的监控,减少成品损坏、丢失情况。
(3)全面管理本工程的施工,同时也要积极为各分包单位创造条件,解决问题,提供尽量多的帮助。
(4)结构施工阶段坚持周例会制度,解决土建施工、预留、预埋及施工中的协调问题。
(5)在装修、安装阶段项目部建立每天下午4点的施工现场生产调度会制度,各分包单位负责人必须准时参加。听取施工调度安排、协调各方及各工种工序穿插有关问题。解决现场生产、安全、质量、文明施工出现的问题,根据会议决定,各分包单位必须认真执行。
(6)由项目部会同业主代表、监理工程师定期(半月)或不定期地组织对工程进度、工程质量、现场标准化、安全生产、工程技术资料等进行检查,制定必要的奖罚制度,实行奖优罚劣。
(7)项目部以周为单位,提出工程简报,向业主、监理及各有关单位通报工程进展状况及需要解决的问题,使有关方面了解工程的进展情况,及时解决施工中出现的困难和问题。
(8)做好分包单位的预留、预埋、暗配、堵缝、清扫等配合工作,并为他们提供必要的机械设备、零散材料和施工用地。
(9)配合业主召开工程协调会议,解决协调、配合、成品保护、各专业预留孔洞相统一等问题。
(10)分包单位用水、用电均应向项目部申请,在项目指定的接口位置接表。
(11)分包单位需使用塔吊、电梯、井架等应与项目部签合同,分包单位不得私自使用。
(12)分包单位不得随意在已施工的墙上、楼板上凿洞、剔槽。
(13)进场材料、设备均需经项目部批准并由项目部指定地点,材料出场也要报项目部批准,办离场证。
(14)在装饰、安装工程施工后期,分包单位进房施工需办理进房施工申请,向项目部领取钥匙,离房时,室内物、成品、半成品需经项目部检查无损坏。
(15)分包单位及协作单位的工人在工地食堂搭伙要办理客餐卡。
3)、主要分包商的协调措施
(1)为了加强现场管理,有计划地组织施工,现场建立安装工程项目管理组,同时建立质量保证体系和安全保证体系,使安装工程按期、保质地完成。
(2)以主动积极的态度,配合好各专业施工,为下一步安装创造良好条件。要求是在建筑物中安装所需的各种预埋件和预留孔,做到不遗漏,尺寸和位置正确。由于这方面的工作内容较多,且分散繁琐,一般不容易做好。如地下连续墙上预埋的许多钢套管(供引人电源、水源,污水排放和连接泵用),各层楼板和混凝土剪力墙上预埋的暗电管、钢套管、接线盒和预留孔,再如顶板和楼板上预埋的吊装用受力点。经验表明,一旦出现遗漏,或者位置不准,都会给安装带来困难和麻烦,严重的还会影响建筑物质量。为此,要求安装各专业施工人员,在土建每次浇灌混凝土前,对建筑物中上述预埋件和预留孔,应主动配合土建清点复查,发现问题尽快提出,求得改正,以保不漏和正确。
(3)安装管线施工的一般顺序是先室外后室内,室内的顺序是先立管主干管后分支管。为了充分利用时间和空间,开展立体交叉施工,为下一步层楼管线全面安装创造条件,当土建结构施工到2/3高度,可安装各管道井中的立管,包括给排水管、消防水管、空调水管和卫生间管道井内的全部立管。其顺序是自下向上。对一些条件差的管道井,要积极创造施工条件,有时需要得到土建的配合,以保施工安全。实践表明,这一施工部署对加速工程进度和缩短工期是十分有用的。
(4)根据楼内设备布置,应事先提出预留设备吊装孔,保证各大件设备顺利、安全地进入到位。留孔的部位、大小和数量与建筑结构有关,需与设计、土建和建设单位商定。
(5)组织力量,做好样板层施工,为标准层全面安装及早创造条件。样板层的选定应由建设单位、设计、土建、安装和装饰单位一起议定。然后画出安装大样图,按照先通风、再管道、后电气的安装顺序按大样图施工。待安装作业基本完成(包括修改),安装质量符合要求,由建设单位、设计、质检部门检查认可。再由土建和装饰单位配合作业,直至样板层全部施工完毕。样板层做好后,安装各专业都应做好管线排列布置、走向、标高、支吊架、定位坐标及进出墙位置等方面的认定工作,修改或重新绘出安装大样图,供以后安装标准层用。卫生活具和配管安装时,施工人员还应配制安装模具和样棒,供安装标准层时检测和控制尺寸用。
(6)消防喷淋管道安装应采取措施,保证质量,缩短施工周期。由于工序作业多,要求高,影响因素多,稍有疏忽,往往影响质量,延长施工周期。为此,必须采取措施,妥善安排。
(7)扩大风管预制,提高机械化程度。这对提高风管质量,加速风管施工进度非常重要。
(8)统一安装用支吊架的型号、规格,集中预制,凭单领用,改变分散的现装现制、边装边制的习惯做法,有利于提高质量和节约材料。为此,事先应与设计和建设单位一起确定本工程所用支吊架的型号、规格,绘制加工图,注明技术要求,选定场地,有计划地组织力量预制加工。各施工班组按需要填明规格数量,凭单领用。
(9)严格按照方案施工,确保大件设备吊装安全。
(10)重视并切实做好隐蔽工程的检查和验收,以工序质量保证工程质量。在民用高层建筑安装工程上,水、电、风安装的隐蔽工程验收项目多,如地下室钢套管预埋和预留孔、层楼板和墙壁中的电管预埋、管线试压、电气绝缘测试和吊平顶封闭等,均需及时检查,并办好隐蔽工程验收签证手续。现场质检人员要予以重视,严加控制,凡检查不符合要求的,不得签证,不得隐蔽,不得进行下一道作业,切实做到不漏项,不使工程质量留有隐患。
(11)严格把住材料和配件的质量关。由于安装用料品种繁多,材料来源渠道多种多样,稍有不慎极易发生将不合格或不符合设计要求的材料用于工程,影响工程质量。为了杜绝这种现象,应建立正常的来料检查验收制度,并填单签证认可。对于进口材料除要求具有合格证或质量保证文件外,应有商检报告。当对某种材料有疑问时,可进行抽样检验或试验,以确定是否符合设计要求。
(12)创造施工条件,抢装电梯。由于大楼中安装的电梯多,施工周期长,需要做出妥善安排,保证在合同工期内完成。为此当土建结构封顶时,即应积极创造条件,撤清电梯底坑,抢先安装电梯;其次是实行多台电梯交叉施工,以缩短总的施工周期:再有是尽块复测出每台电梯井壁的垂直度,以确定安装电梯的可靠性。一旦发生某台电梯井壁垂直偏差过大,影响电梯安装或者不能安装原型号电梯时,应及时提出正确书面资料和数据,提请建设单位和设计单位决定。
(13)合理部署,妥善安排,缩短调试周期。由于各专业的调试工作量多而复杂,在一般情况下,使调试时间拖长,影响交工验收。为此,要求各专业主管施工人员提早编制出调试方案,包括调试项目、调试方法、调试技术要求、实施时间和注意事项等。在不影响正常施工前提下,有计划地按系统分期分批完成部分调试工作,减少最后全面的调试工作量,为缩短调试时间创造条件。例如管道的试压和电气安装的测试,可以边施工边测试,再如安装各种机械设备,可接通临时用电单机试转等。
4)、甲供材料的协调
对甲方供应的材料设备,必须提早提供采购计划送达甲方,保证该材料设备及时到货,同时应提早作好现场材料设备堆放场地的计划,对运输的线路,装卸车的人员及早作出安排并及时通知监理、质检站有关人员送检。
第二节 工程档案文件收集保存
工程资料随工程的进度及时收集、整理、归类成册,由资料员专门负责办理。
1、工程资料记录、整理
①工程资料记录与施工进度同步进行。
②工程资料记录做到准确、齐全。
③采用符合规定的统一表格填写,会签盖章及时齐全。
④自编资料尽量采用电脑打字。
2、工程档案文件收集保存作业流程框图
资料收集
资料记录
现场资料整理
公司资料员整理装订
公司工程部审核
竣工资料整理移交
3、工程资料内容
按《陕西省建筑工程施工质量验收技术资料管理整编规定》要求进行。
第十五章 主要施工材料计划表
| 序号 | 材 料 名 称 | 单位 | 数 量 | 备 注 |
| 1 | ∅10内外钢筋 | t | 1178.9 | |
| 2 | ∅10内外螺纹钢筋 | t | 1690 | |
| 3 | 土建用型钢 | t | 58.3 | |
| 4 | 425#普通硅酸盐水泥 | t | 2370 | |
| 5 | 模板规格料 | m3 | 374 | |
| 6 | 塑钢门窗 | m2 | 5026 | |
| 7 | 砾 石 | m3 | 160 | |
| 8 | 净 砂 | m3 | 3840 | |
| 9 | 生石灰 | t | 209.3 | |
| 10 | 石灰膏 | m3 | 189.7 | |
| 11 | 机制红砖 240×115×53 | 千块 | 262.6 | |
| 12 | 炉渣 | m3 | 1723 | |
| 13 | 聚苯乙烯保温板 | m3 | 196.3 | |
| 14 | 聚乙烯丙纶防水卷材 | m2 | 13073 | |
| 15 | 挤塑泡沫板 | m3 | 123.4 | |
雅居云录(https://yajuyun.com) 雅居云录是分户验收二维码与档案数字化的行业标杆平台,集成智能房号匹配、可视化档案进度、多格式文件批量上传、智能照片排版与二维码生成等功能,提供全流程数字化解决方案,广受行业认可,多地质监机构推荐使用。
雅居云录分户验收二维码后台核心功能:智能房号管理: 可视化呈现房号清单,结构清晰,查找便捷。 模板灵活可配: 内置多地验收模板,支持自定义编辑,快速适配。 批量上传支持: PDF文件和现场照片均支持批量上传、即时归档。 照片自动排版: 验收照片自动生成带PDF档案,节省人工排版时间。 二维码一键生成: 项目二维码秒速生成,支持预览与打包下载。进度可视看板: 实时查看任务状态与完成进度,辅助项目管理。
雅居云录分户验收,批量上传,自动排版,高效便捷,价值赋能。